Изобретение относится к копрам, предназначенным для погружения свай забивным способом на суше и на воде. Технический результат - повышение производительности, расширение рабочей зоны копра, снижение трудоемкости позиционирования свай, повышение устойчивости копра, уменьшение габарита по высоте копра для транспортировки. Плавающий самоходный копер содержит базовый плавающий транспортер, опорную раму, портальную раму с тележками, свайные направляющие, копровые лебедки, поплавки, молота, гидрооборудование. В задней части транспортера установлены стойки с гидроцилиндрами их подъема, шарнирно-закрепленные к опорной раме, с другой стороны к стойкам закреплены телескопические стрелы с гидроцилиндрами их подъема. Телескопические стрелы связаны с портальной рамой, на которую навешаны свайные направляющие вместе с молотами и выдвижными аутригерами. С боковых сторон базового транспортера навешены поплавки, выполненные с возможностью перемещения вдоль борта транспортера и размещения в них закольных свай. Молота выполнены с возможностью поворота относительно вертикальной оси симметрии свайных направляющих на угол 90°. 6 ил.
Плавающий самоходный копер, содержащий базовый плавающий транспортер, опорную раму, портальную раму с тележками, свайные направляющие, копровые лебедки, поплавки, молота, гидрооборудование, отличающийся тем, что в задней части транспортера установлены стойки с гидроцилиндрами их подъема, шарнирно-закрепленные к опорной раме, с другой стороны к стойкам закреплены телескопические стрелы с гидроцилиндрами их подъема, при этом телескопические стрелы связаны с портальной рамой, на которую навешаны свайные направляющие вместе с молотами и выдвижными аутригерами, с боковых сторон базового транспортера навешены поплавки, выполненные с возможностью перемещения вдоль борта транспортера и размещения в них закольных свай, при этом молота выполнены с возможностью поворота относительно вертикальной оси симметрии свайных направляющих на угол 90°.
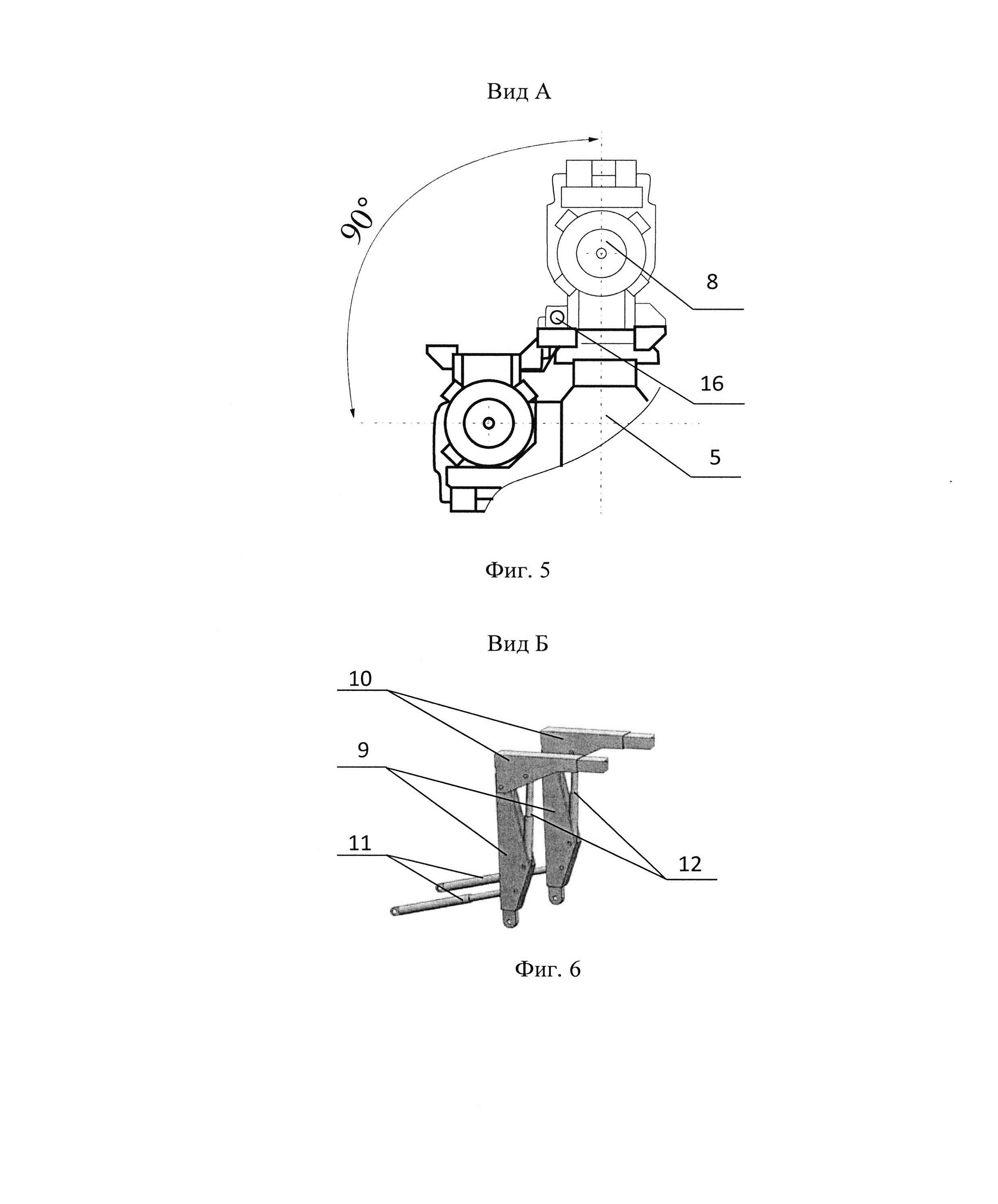
Изобретение относится к копрам, предназначенным для погружения свай забивным способом на суше и на воде. Известен свайный копер, содержащий базовый плавающий транспортер, свайную направляющую с задним и боковым подкосами, а также с горизонтальным гидроцилиндром бокового перемещения, двухбарабанную лебедку, гидрооборудование, опорную раму, дизель-молот, на пластинах скольжения опорной рамы установлена перемещаемая гидроцилиндрами выдвижная Г-образная рама, к фланцам которой закреплена на кронштейнах поворотная траверса квадратного сечения в центральной части с кареткой свайной направляющей. Для работы на плаву свайный копер снабжен двумя поплавками и четырьмя якорными лебедками с якорями [1]. Недостатком свайного копра является низкая производительность, так как конструктивно предусмотрена одна свайная направляющая. С одной стоянки копра можно забить только одну сваю. В качестве прототипа принят навесной двухстреловой плавающий самоходный копер ПСК-М-2х500, содержащий плавающий самоходный транспортер ПТС-М и копровое оборудование, включающее опорную раму, портальную раму, шарнирно закрепленную к заднему борту транспортера, две свайные направляющие с дизель-молотами. Удержание портальной рамы в вертикальном положении, а также ее наклоны вперед и назад осуществляются механизмом наклона в виде гидроцилиндра. Подъем сваепогружающих дизель-молотов и свай по свайным направляющим осуществляется гидрополиспастами, закрепленными на свайных направляющих. У плавающего транспортера откидная аппарель заменена задним бортом, герметично закрепленным к палубе и боковым бортам [2]. Недостатком двухстрелового плавающего самоходного копра является низкая производительность и ограниченность рабочей зоны копра из-за шарнирного закрепления портальной рамы к раме транспортера. При таком закреплении продольное перемещение направляющих без перемещения самого транспортера невозможно. Высокая трудоемкость позиционирования свай относительно места их погружения из-за сложности раскрепления копра на воде с помощью якорей, на суше - из-за креплений аутригеров к поплавкам. Невысокая остойчивость копра из-за шарнирно-поворотного крепления поплавков к задней части транспортера. Высокий габарит по высоте копра в транспортном положении из-за установленных дизель-молотов в нижней части свайных направляющих. В основу изобретения поставлена задача повышения производительности и расширения рабочей зоны копра при забивке свай с одной стоянки путем применения стоек, шарнирно-закрепленных к опорной раме, телескопических стрел и гидроцилиндров для подъема стоек и телескопических стрел, снижения трудоемкости позиционирования свай за счет установки закольных свай при работе на воде и применения выдвижных аутригеров на суше, повышения остойчивости копра за счет возможности перемещения поплавков вдоль борта транспортера, уменьшения габарита по высоте копра с целью обеспечения удобства перевозки копра на автомобильном полуприцепе-тяжеловозе в габарите по высоте до 4,0 м по автомобильным дорогам общего пользования за счет поворота молотов на свайных направляющих из транспортного положения в рабочее, без дополнительного переоборудования и технологических операций. Технический результат заявленного изобретения - повышение производительности и расширения рабочей зоны копра, снижение трудоемкости позиционирования свай, повышение устойчивости копра, уменьшение габарита по высоте копра для транспортировки. Технический результат достигается тем, что плавающий самоходный копер, содержащий базовый плавающий транспортер, опорную раму, портальную раму с тележками, свайные направляющие, копровые лебедки, поплавки, молота, гидрооборудование, в задней части транспортера установлены стойки с гидроцилиндрами их подъема, шарнирно-закрепленные к опорной раме, с другой стороны к стойкам закреплены телескопические стрелы с гидроцилиндрами их подъема, при этом телескопические стрелы связаны с портальной рамой, на которую навешаны свайные направляющие вместе с молотами и выдвижными аутригерами. С боковых сторон базового транспортера навешены поплавки, выполненные с возможностью перемещения вдоль борта транспортера и размещения в них закольных свай. Молота выполнены с возможностью поворота относительно вертикальной оси симметрии свайных направляющих на угол 90°. Сущность изобретения поясняется чертежами, где изображены: на фиг. 1 - плавающий самоходный копер в транспортном положении на суходоле вид сбоку, без обозначения борта, поплавков с закольными сваями и движителей транспортера; на фиг. 2 - плавающий самоходный копер в рабочем положении на суходоле вид сбоку, без обозначения борта, поплавков с закольными сваями и движителей транспортера; на фиг. 3 - плавающий самоходный копер в рабочем положении на суходоле, вид сзади; на фиг. 4 - плавающий самоходный копер в рабочем положении на воде с обозначением поплавков и закольных свай, вид сзади; на фиг. 5 - вид А на фиг. 2, размещение молота на свайной направляющей в рабочем и транспортном положениях, стрелкой показано направление поворота молота; на фиг. 6 - вид Б на фиг. 2, вид под углом на стойки, телескопические стрелы, гидроцилиндры для подъема стоек и телескопических стрел. Плавающий самоходный копер состоит из базового плавающего транспортера 1, опорной рамы 2, портальной рамы 3 с тележками 4, свайных направляющих 5, копровых лебедок 6, поплавков 7, молотов 8, гидрооборудования (на чертеже не обозначен). В задней части транспортера 1 установлены стойки 9 с гидроцилиндрами 11 их подъема, шарнирно-закрепленные к опорной раме 2, с другой стороны к стойкам 9 закреплены телескопические стрелы 10 с гидроцилиндрами 12 их подъема, при этом телескопические стрелы 10 связаны с портальной рамой 3, на которую навешаны свайные направляющие 5 вместе с молотами 8 и выдвижными аутригерами 13. С боковых сторон базового транспортера навешены поплавки 7, выполненные с возможностью перемещения вдоль борта транспортера 1 и размещения в них закольных свай 14. При этом молота 8 выполнены с возможностью поворота относительно вертикальной оси симметрии свайных направляющих на угол 90°. Плавающий самоходный копер приводится в рабочее положение следующим образом. К месту забивки свай плавающий самоходный копер транспортируется самоходом (на чертеже не обозначен), при необходимости поплавки 7 демонтированы и перевозятся в прицепе (на чертеже не обозначен). Движение на суходоле (на чертеже не обозначен) осуществляется с помощью гусеничных движителей (на чертеже не обозначен). Движение по воде (на чертеже не обозначен) - с помощью гребных винтов (на чертеже не обозначен), находящихся в задней части кормы (на чертеже не обозначен) плавающего транспортера 1. Плавающий самоходный копер устанавливается на месте (на чертеже не обозначен), позволяющее забивку двух свай 15 в каждом из двух рядов свайного фундамента (на чертеже не обозначен) одновременно с одной стоянки (на чертеже не обозначен). Забивка свай 15 выполняется с помощью молотов 8 с ударной частью (на чертеже не обозначен) не менее 500 кг. С помощью шарнирного соединения 16 поворачиваются молота 8 относительно вертикальной оси симметрии (на чертеже не обозначен) в нижнем положении (на чертеже не обозначен) свайных направляющих 5 на угол, равный 90° и закрепляются. Гидроцилиндры 11 подъема стоек 9 одновременно с гидроцилиндрами 12 подъема телескопических стрел 10 осуществляют подъем стоек 9 и телескопических стрел 10. С помощью телескопических стрел 10 выполняется продольное позиционирование (на чертеже не обозначен) осей (на чертеже не обозначен) молотов 8 с осями (на чертеже не обозначен) забивки свай 15. С помощью аутригеров 13 производится опирание портальной рамы 3 на грунт (на чертеже не обозначен). Поперечное позиционирование осей (на чертеже не обозначено) молотов 8 с осями (на чертеже не обозначен) забивки свай 15 осуществляется движением свайных направляющих 5 по ригелю 17 портальной рамы 3 с помощью кареток (на чертеже не обозначен). Затем следует подтаскивание и подъем свай 15 с последующей их забивкой. Для работы на воде (на чертеже не обозначен) на плавающий самоходный копер (на чертеже не обозначен) предварительно навешиваются поплавки 7 с закольными сваями 14. С помощью лебедок (на чертеже не обозначен) и роликов (на чертеже не обозначен) обеспечивается скольжение поплавков 7 вдоль борта (на чертеже не обозначен) транспортера 1, который служит направляющей (на чертеже не обозначен) для роликов (на чертеже не обозначен) поплавка 7. Это позволяет предотвратить возникновение крена и дифферента плавающего самоходного копра (на чертеже не обозначен) при съезде в воду, движении и работе на воде (на чертеже не обозначен). Перевод плавающего самоходного копра из транспортного положения (на чертеже не обозначен) в рабочее на воде (на чертеже не обозначен) осуществляется аналогично переводу из транспортного положения (на чертеже не обозначен) в рабочее на суходоле (на чертеже не обозначен) за исключением того, что перед подъемом портальной рамы 3 производится перемещение поплавков 7 в заднюю часть кормы (на чертеже не обозначен) транспортера 1. Поплавки 7 шарнирно (на чертеже не обозначен) закреплены с транспортером 1. Закрепление плавающего самоходного копра (на чертеже не обозначен) на месте забивки (на чертеже не обозначен) выполняется закольными сваями 14. Аутригеры 13 плавающего самоходного копра (на чертеже не обозначен) при работе на воде (на чертеже не обозначен) не выдвигаются. В рабочем положении плавающий самоходный копер (на чертеже не обозначен) способен обеспечивать забивку двух свай 15 в вертикальном положении (на чертеже не обозначен), с наклоном (на чертеже не обозначен) от копра (на чертеже не обозначен) и под копер (на чертеже не обозначен) как на суше (на чертеже не обозначен), так и на воде (на чертеже не обозначен). Портальная рама 3 представляет собой конструкцию (на чертеже не обозначен) из двух стоек коробчатого сечения (на чертеже не обозначен) и ригеля 17, по которому передвигаются каретки (на чертеже не обозначен) с навешенными на них свайными направляющими 5. Стойки (на чертеже не обозначен) связаны между собой опорной балкой 18, на которую опирается нижняя часть свайной направляющей 5. В опорной балке 18 имеются отверстия для фиксации направляющих 5 с помощью винтовых растяжек (на чертеже не обозначен). На портальную раму 3 навешиваются свайные направляющие 5 вместе с молотами 8 и аутригерами 13. При помощи механизма передвижения (на чертеже не обозначен), находящихся на портальной раме 3, свайные направляющие 5 могут сдвигаться вправо или влево (на чертеже не обозначен). В предлагаемом плавающем самоходном копре эффект повышения производительности при забивке свай и расширения рабочей зоны копра достигается за счет применения стоек, шарнирно-закрепленных к опорной раме, телескопических стрел и гидроцилиндров для подъема стоек и телескопических стрел, конструкция которых обеспечивает забивку двух свай в двух рядах свайного фундамента с одной стоянки. Снижение трудоемкости позиционирования свай обеспечивается за счет применения закольных свай при работе на воде при глубине до 2 м и выдвижных аутригеров на суше. Повышение остойчивости копра обеспечивается за счет перемещения поплавков вдоль борта транспортера, равномерно распределяющих нагрузку на транспортер при спуске и работе на воде. Уменьшение габарита по высоте копра для транспортировки по автомобильным дорогам общего пользования в габарите правил дорожного движения обеспечивается за счет поворота молота относительно вертикальной оси симметрии свайных направляющих на угол 90°. Применение плавающего самоходного копра на суше и мелководье обеспечивает одновременную забивку двух деревянных или металлических вертикальных или наклонных свай длиной до 8 м с одной стоянки.