патент
№ RU 2814446
МПК B07B1/40

ВИБРОСИТО

Авторы:
Теплыгин Алексей Владимирович Салахов Рафис Фассахович Голтышов Сергей Николаевич
Все (8)
Номер заявки
2023119669
Дата подачи заявки
25.07.2023
Опубликовано
28.02.2024
Страна
RU
Как управлять
интеллектуальной собственностью
Чертежи 
3
Реферат

[67]

Предложенное изобретение относится к технике просеивания сыпучего материала, преимущественно взрывоопасных порошкообразных материалов, применяемых для изготовления твердотопливных изделий, с целью исключения попадания посторонних предметов в смесительную установку. Вибросито содержит скрепленные между собой верхний короб с загрузочным патрубком и нижний короб с выгрузочным патрубком и решеткой, сито, зажатое между фланцами коробов, вибропобуждающее устройство. Вибропобуждающее устройство выполнено в виде пневматического вибратора, закрепленного на фланце нижнего короба, который состоит из корпуса и вращающегося в нем ротора. Последний выполнен в виде монолитной дебалансной турбины с лопатками, вращающейся в горизонтальной плоскости. Вибросито подвешено к опорным конструкциям с помощью гибких подвесов, закрепленных на фланце верхнего короба. Технический результат - упрощение конструкции вибропобуждающего устройства, а также повышение надежности конструкции вибросита и безопасности процесса просейки взрывоопасных порошкообразных материалов. 3 ил.

Формула изобретения

Вибросито, содержащее скрепленные между собой верхний короб с загрузочным патрубком и нижний короб с выгрузочным патрубком и решеткой, сито, зажатое между фланцами коробов, вибропобуждающее устройство, отличающееся тем, что вибропобуждающее устройство выполнено в виде пневматического вибратора, закрепленного на фланце нижнего короба, который состоит из корпуса и вращающегося в нем ротора, при этом ротор выполнен в виде монолитной дебалансной турбины с лопатками, вращающейся в горизонтальной плоскости, вибросито подвешено к опорным конструкциям с помощью гибких подвесов, закрепленных на фланце верхнего короба.

Описание

[1]

Изобретение относится к технике просеивания сыпучего материала, преимущественно взрывоопасных порошкообразных материалов, применяемых для изготовления твердотопливных изделий (ТТИ) с целью исключения попадания посторонних предметов в смесительную установку.

[2]

Попадание посторонних предметов вместе с порошкообразными материалами в смеситель недопустимо, так как может привести к аварийной ситуации. Однако множество операций, предшествующих операции просеивания, не исключают наличие посторонних предметов в порошкообразных материалах. Поэтому, непосредственно перед подачей в смеситель, порошкообразные материалы должны подвергаться контрольной просейке через сита, размер отверстий которых меньше зазоров между взаимно движущимися деталями смесителя.

[3]

Для просейки материалов, согласно различной литературной информации, применяются различные грохоты, вибросита, сепараторы и машины для просейки. Однако, при всем разнообразии названий, все эти аппараты объединяет одинаковая техническая суть и достигаемый технический результат, которые заключаются в просейке материала за счет придания ситу определенной амплитуды колебаний (вибрации) в вертикальной или горизонтальной плоскостях.

[4]

Для придания ситу амплитуды колебаний используются различные вибропобуждающие устройства, например инерционные (дебалансные), эксцентриковые, электромагнитные, гидравлические и прочие. Некоторые вибропобуждающие устройства включают в себя комплекс взаимодействующих между собой узлов и механизмов. Например, это могут быть, электродвигатели, ременные и карданные передачи, редуктор, эксцентрики, шарниры, опоры и т.д.

[5]

Из литературы известны просеивающие устройства (Гальперин Н.И. «Основные процессы и аппараты химической технологии» М.: Химия, 1981, том 2, стр. 790-797; А.Г. Касаткин «Основные процессы и аппараты химической технологии» М.: Химия, 1973, стр. 706-707), такие как качающийся грохот, гирационный грохот и вибрационный грохот. С точки зрения непосредственно просейки материала, во всех этих просеивающих машинах сито совершает колебательное движение в вертикальной плоскости. Качающийся грохот обладает высокой производительностью и простотой конструкции, однако при работе создает значительные динамические нагрузки на фундамент и опорные стойки, что вызывает их быстрый выход из строя. Гирационный грохот имеет высокие производительность и эффективность, спокойный режим работы, но при этом эксцентриковый вал усложняет конструкцию, сборку и ремонт. Вибрационный грохот обладает целым рядом преимуществ по сравнению с другими типами грохотов: высокой производительностью и эффективностью, высоким качеством грохочения, значительно меньшей возможностью забивания отверстий сита по сравнению с грохотами других типов, простотой и надежностью конструкции, компактностью.

[6]

Известен вибрационный грохот по патенту РФ на изобретение 2613210 В07В 1/40, состоящий из короба с ситом, который установлен посредством упругих элементов на раму. Придание амплитуды колебаний коробу с ситом осуществляется совокупностью взаимодействующих элементов: двигателя карданной передачи и вибровозбудителя, который выполнен в виде оснащенного дебалансом спаренного симметричного зубчато-планетарного механизма.

[7]

Известен вибрационный грохот по патенту РФ на полезную модель 166168 В07В 1/40 состоящий из короба с ситом, который посредством упругих элементов и кинематических связей взаимодействует с рамой. В этой конструкции грохота сито совершает одновременно колебания в вертикальной и горизонтальной плоскостях. Колебания сита в вертикальной плоскости обеспечивается виброприводом, а вибропобуждающий эффект ситу в горизонтальной плоскости придает взаимодействие элементов: кривошипного механизма, ременной передачи и электродвигателя.

[8]

Существенным недостатком этих двух грохотов, является сложность конструкции вибропобуждающих устройств, которая заключается в наличии электродвигателя, кривошипного механизма, ременной и карданной передач, подшипниковых опор.

[9]

Известен вибрационный грохот по патенту РФ на изобретение 2047400 В07В 1/40, который лишен вышеуказанных недостатков. Грохот состоит из короба с ситом, который посредством упругих элементов взаимодействует с рамой. В рассматриваемой конструкции вибропобуждающий эффект коробу с ситом придает устройство, выполненное в виде жидкостно-волнового электромагнитного вибратора. Такая конструкция грохота, не имеющего сложной, многоэлементной конструкции вибропобуждающего устройства, принята за аналог.

[10]

Известна машина для просеивания порошков по патенту РФ на изобретение 2325236 В07В 1/46, применяемая для просеивания взрывоопасного сыпучего материала, с круговым поступательным движением сита в горизонтальной плоскости, принятая авторами за прототип.

[11]

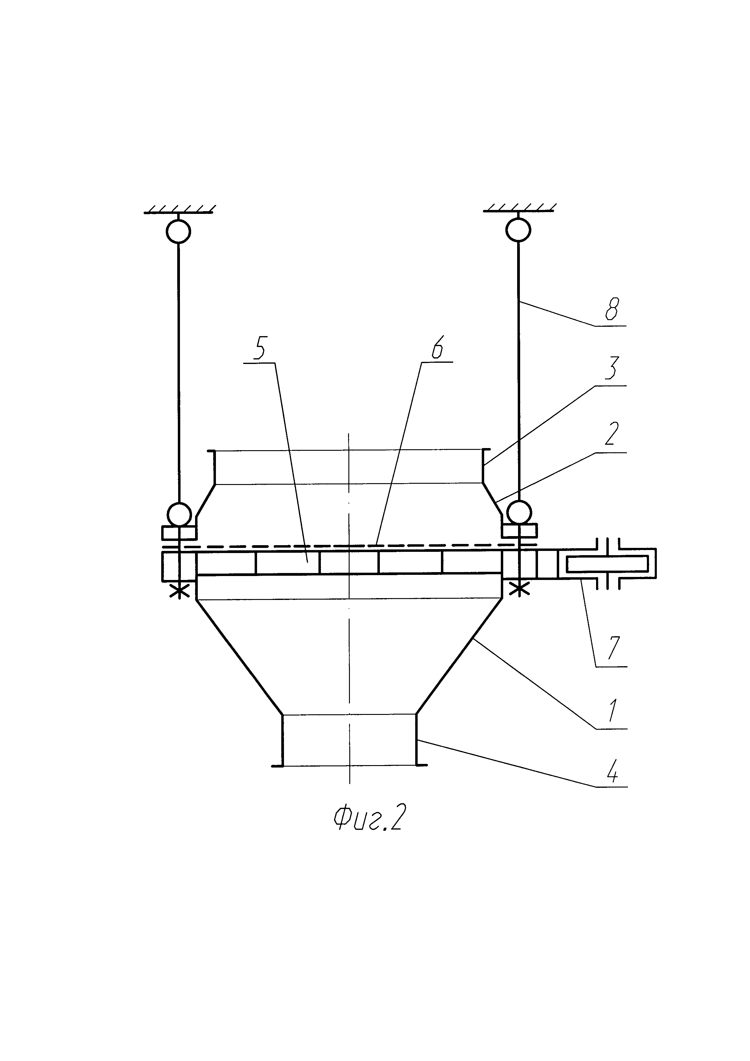
Машина для просеивания порошков, в соответствии с (Фиг. 1), состоит из скрепленных между собой верхнего короба 2 с загрузочным патрубком 3, и нижнего короба 1 с выгрузочным патрубком 4. Между фланцами скрепленных коробов расположено сито 6. Сито опирается на решетку 5, которой снабжен нижний короб 1. Собранные короба с ситом крепятся на опорный узел 8, который устанавливается на подшипниковый узел 13. Для компенсации изгибающего момента, действующего на подшипниковый узел 13 от консольно расположенных собранных коробов, на противоположной стороне опорного узла 8 размещен противовес 9. Вибропобуждающий эффект в прототипе обеспечивается совокупностью элементов: электродвигателем 10, редуктором 11, вертикальным эксцентриковым валом 12 с эксцентриситетом r, и установленным на эксцентриковый вал подшипниковым узлом 13.

[12]

Таким образом, по технически достигаемому результату, элементы 10, 11, 12 и 13 в прототипе являются вибропобуждающим устройством, которое рассмотрено в техническом решении предполагаемого изобретения.

[13]

При работе вибропобуждающего устройства 7 прототипа, опорный узел 8 вместе с собранными коробами 1, 2 и установленным между ними ситом 6, совершают круговое поступательное движение с эксцентриситетом r вертикального эксцентрикового вала 12. Просеиваемый материал поступает на сито 6 через загрузочный патрубок 3, распределяется по ситу, просеивается через него, и через выгрузочный патрубок 4 поступает в последующий технологический аппарат. Для предотвращения кругового вращательного движения опорного узла 8 используются гибкие тяги 14, которые одновременно не препятствуют круговому поступательному движению опорного узла 8.

[14]

Машина для просеивания порошков по технической сути и достигаемому техническому результату, является существенным признаком вибросита, которое рассматривается в техническом решении предполагаемого изобретения.

[15]

К недостаткам прототипа необходимо отнести следующее:

[16]

- наличие в конструкции сложного вибропобуждающего устройства, состоящего из электродвигателя, редуктора, подшипникового узла, эксцентрикового вала;

[17]

- надежность конструкции определяется стойкостью подшипниковых опор редуктора и, в большей степени, подшипников подшипникового узла, которые при высоких частотах вибрации и возникающих вследствие этого больших центробежных сил преждевременно выходят из строя (рассыпаются, клинятся), что может привести к возникновению аварийной ситуации в процессе просейки;

[18]

- применение конструкции прототипа ограничивает его использование в зданиях формования ТТИ, в технологическом процессе которых используется оборудование, оснащенное высокочувствительными тензометрическими датчиками, например высокоточные дозаторы. Это вызвано тем, что создаваемые значительные динамические (вибрационные) нагрузки, вызванные работой прототипа, несмотря на уравновешивание движущихся масс относительно подшипникового узла, оказывают значительное воздействие на опорные конструкции площадок, на которых он установлен, что вследствие вибрации снижает порог чувствительности тензометрических датчиков.

[19]

Технической задачей, на решение которой направлено предлагаемое изобретение, является упрощение конструкции вибропобуждающего устройства, повышение надежности конструкции вибросита посредством исключения подшипниковых опор, минимизация воздействия вибрационных нагрузок на опорные конструкции здания.

[20]

Технический результат достигается тем, что вибросито содержит скрепленные между собой верхний короб с загрузочным патрубком, и нижний короб с выгрузочным патрубком и решеткой, сито, зажатое между фланцами коробов, вибропобуждающее устройство. Вибропобуждающее устройство выполнено в виде пневматического вибратора, закрепленного на фланце нижнего короба, который состоит из корпуса и вращающегося в нем ротора. Ротор выполнен в виде монолитной дебалансной турбины с лопатками, вращающуюся в горизонтальной плоскости. Вибросито подвешено к опорным конструкциям с помощью гибких подвесов, закрепленных на фланце верхнего короба.

[21]

Предлагаемое изобретение поясняется Фиг. 2 и Фиг. 3.

[22]

На Фиг. 1 схематично изображена машина для просеивания порошков, принятая в качестве прототипа.

[23]

Где:

[24]

1 - нижний короб;

[25]

2 - верхний короб;

[26]

3 - загрузочный патрубок;

[27]

4 - выгрузочный патрубок;

[28]

5 - решетка;

[29]

6 - сито;

[30]

7 - вибропобуждающее устройство;

[31]

8 - опорный узел;

[32]

9 - балансир;

[33]

10 - электродвигатель;

[34]

11 - редуктор;

[35]

12 - вертикальный эксцентриковый вал;

[36]

13 - подшипниковый узел;

[37]

14 - гибкая тяга.

[38]

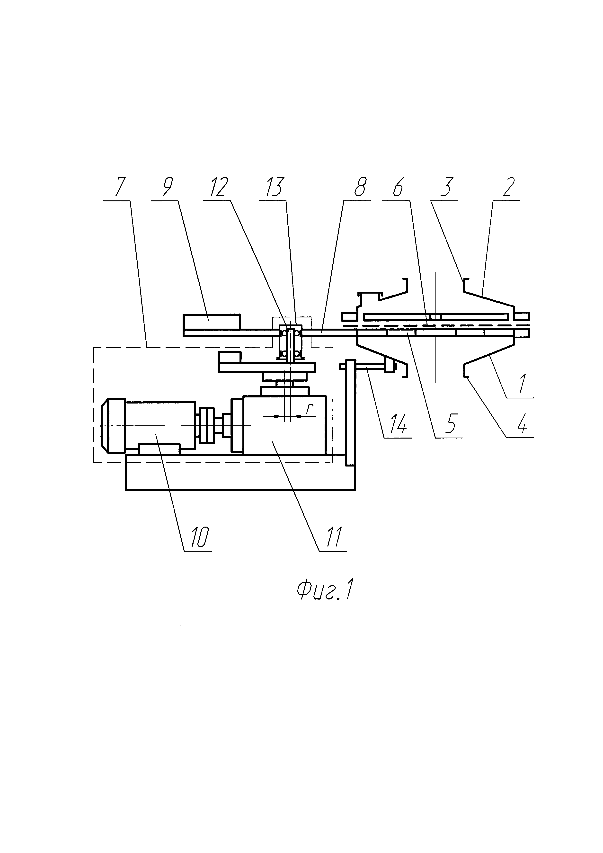
На Фиг. 2 схематично изображена конструкция предлагаемого вибросита.

[39]

Где:

[40]

1 - нижний короб;

[41]

2 - верхний короб;

[42]

3 - загрузочный патрубок;

[43]

4 - выгрузочный патрубок;

[44]

5 - решетка;

[45]

6 - сито;

[46]

7 - вибропобуждающее устройство;

[47]

8 - подвес.

[48]

На Фиг. 3 изображено вибропобуждающее устройство предлагаемого вибросита.

[49]

Где:

[50]

9 - корпус;

[51]

10 - ротор;

[52]

11, 12 - штуцер.

[53]

Вибросито (Фиг. 2) состоит из скрепленных между собой нижнего короба 1 с выгрузочным патрубком 4, и верхнего короба 2 с загрузочным патрубком 3, металлического перфорированного сита 6, зажатого между скрепленными фланцами нижнего и верхнего коробов. Нижний короб снабжен решеткой 5, которая предотвращает прогиб сита 6 при просейке материала. К фланцу нижнего короба 1 жестко прикреплено вибропобуждающее устройство 7, которое придает виброситу амплитуду колебаний в горизонтальной плоскости. К фланцу верхнего короба 2 крепятся четыре гибких подвеса 8, посредством которых вибросито подвешивается к силовой конструкции площадки.

[54]

Вибропобуждающее устройство (Фиг. 3) представляет собой пневматический вибратор, который состоит из разъемного корпуса 9 и установленного в нем на подшипниковых опорах ротора 10. Ротор представляет собой монолитную дебалансную турбину с лопатками. Дебаланс обеспечивается тем, что при изготовлении турбины один из участков между лопатками не вырезан. Вращение ротора осуществляется сжатым воздухом. Подвод и отвод сжатого воздуха осуществляется с использованием штуцеров 11 и 12 соответственно, которые закреплены на корпусе 1.

[55]

Работа вибросита осуществляется следующим образом. В вибропобуждающее устройство 7 осуществляют подачу сжатого воздуха, под действием которого начинает вращаться дебалансный ротор 10. Дебаланс ротора развивает постоянную по величине инерционную силу, которая передается всей конструкции, при этом возникающая частота колебаний всей конструкции равна числу колебаний ротора вибропобуждающего устройства 7. Вся конструкция, включая сито 6, начинает совершать круговое поступательное движение, при этом радиус вращения вибросита определяется выражением

[56]

rв=mp⋅rp/mв,

[57]

где rв - радиус вращения вибросита;

[58]

mp - масса ротора;

[59]

rp - радиус вращения центра тяжести ротора;

[60]

mB - масса вибросита.

[61]

Просеиваемый материал через загрузочный патрубок 3 равномерно подается в верхний короб 2, а далее поступает на сито 6, где под действием кругового поступательного движения распределяется по поверхности сита, просеивается через него и попадает в нижний короб 1, и через выгрузочный патрубок 4 выгружается в последующий технологический аппарат. При наличии в просеиваемом материале посторонних предметов, они остаются на сите 6, откуда убираются после завершения технологического цикла.

[62]

Таким образом, применение в конструкции вибросита вибропобуждающего устройства, выполненного в виде пневматического вибратора, и подвешивание вибросита к опорным конструкциям с помощью гибких подвесов позволит:

[63]

- упростить конструкцию вибропобуждающего устройства и вибросита в целом;

[64]

- повысить надежность конструкции вибросита и, как следствие, безопасность процесса просейки взрывоопасных порошкообразных материалов;

[65]

- минимизировать воздействие вибрационных нагрузок на опорные конструкции здания, и применить конструкцию в производственном цикле изготовления ТТИ, где используются технологические аппараты, оснащенные высокочувствительными тензометрическими датчиками.

[66]

Испытания предлагаемого изобретения в промышленных условиях ФКП «Пермский пороховой завод», в технологическом цикле изготовления ТТИ, подтвердили его эффективность и работоспособность.

Как компенсировать расходы
на инновационную разработку
Похожие патенты