Изобретение относится к пищевой и мясной промышленности. Способ производства белково-жировой эмульсии, предусматривающий обработку обогащенного антиоксидантами природного происхождения белково-жировой эмульсии в устройстве для тонкого измельчения-куттере соевого белкового изолята, растительного масла, жидкого компонента, отличающийся тем, что в качестве источника природных антиоксидантов используют растительное сырье из измельченных листьев черники, заливают их 40% водно-спиртовой смесью в соотношении 1:8, полученную смесь предварительно экстрагируют в условиях микроволнового излучения мощностью 700-800 Вт продолжительностью 4-7 минут с получением 40% водно-спиртового экстракта из листьев черники, полученную смесь охлаждают до температуры 10-25°С, в качестве жидкого компонента используют смесь воды в количестве 15% и приготовленного раствора из листьев черники в количестве 30%, взятых от общего количества эмульсии. Изобретение позволяет упростить и сократить длительность технологического цикла. 3 ил., 4 табл., 1 пр.
Способ производства белково-жировой эмульсии, предусматривающий обработку обогащенного антиоксидантами природного происхождения белково-жировой эмульсии в устройстве для тонкого измельчения-куттере соевого белкового изолята, растительного масла, жидкого компонента, отличающийся тем, что в качестве источника природных антиоксидантов используют растительное сырье из измельченных листьев черники, заливают их 40% водно-спиртовой смесью в соотношении 1:8, полученную смесь предварительно экстрагируют в условиях микроволнового излучения мощностью 700-800 Вт продолжительностью 4-7 минут с получением 40% водно-спиртового экстракта из листьев черники, полученную смесь охлаждают до температуры 10-25°С, в качестве жидкого компонента используют смесь воды в количестве 15% и приготовленного раствора из листьев черники в количестве 30%, взятых от общего количества эмульсии.
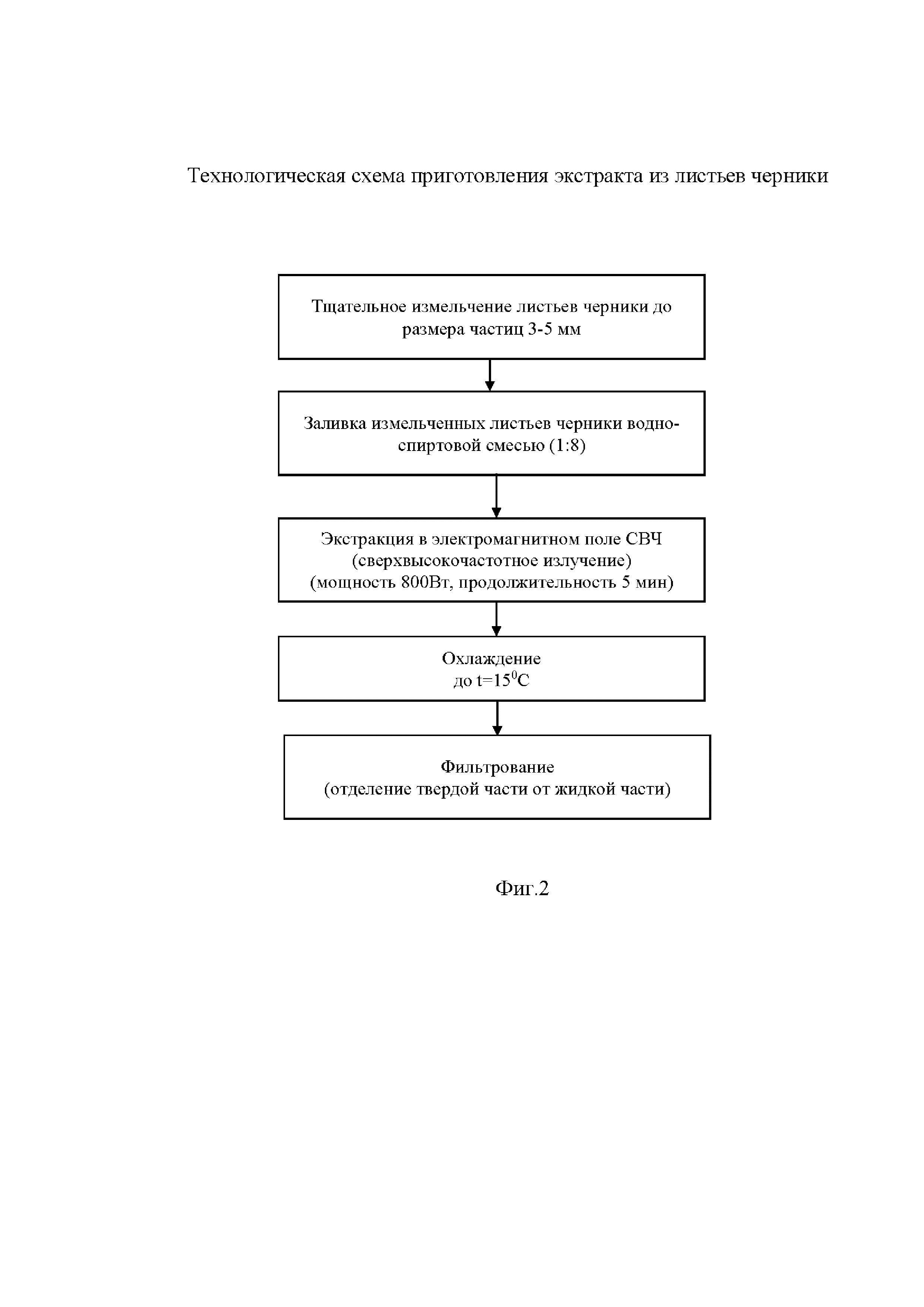
Предлагаемое изобретение относится к пищевой и мясной промышленности, а именно к производству белково-жировых эмульсий, обогащенных антиоксидантами природного происхождения. На сегодняшний день здоровье человека, является приоритетом государственной политики. Каждому человеку отведено определенное количество времени, но в процессе жизнедеятельности у него появляются моменты, где он уменьшает свое время. Это связано с современной обстановкой вокруг него: экологическая ситуация, быстрый темп жизни, вредные привычки и т.п. Существуют множество способов минимизировать причиненный вред от внешних факторов среды. Одним из таких способов является правильное питание. Правильное питание подразумевает потребление необходимых питательных веществ - белков, углеводов, жиров, воды, минеральных веществ и витаминов, в нужном для организма количестве и оптимальном соотношении. Однако, с развитием современного мира на организм человека все больше начинает воздействовать окружающая среда с последующим воздействием на него в виде ускорения имеющихся заболеваний и их причиной появления. В этом случае обычных продуктов питания, обеспечивающих требуемый минимум необходимых макро- и микронутриентов, становится недостаточно. Анализ литературных данных свидетельствует об экологической не благополучности республики Бурятия (см. Чимитдоржиева Галина Доржиевна, Чимитдоржиева Татьяна Намжиловна, Цыбенов Юрий Бадмажапович, Валова Елена Эрдэмовна Экологическая ситуация на территории г Улан-Удэ и анализ заболеваемости его населения злокачественными новообразованиями (ЗНО) // Вести. Том. гос. ун-та. Биология. 2015. №2 (30)). Постепенными шагами наука показала закономерность экологической обстановки и здоровьем человека, и выявила такую связь как природа-человек, из чего был сделан вывод, что с ухудшением окружающей среды будет ухудшаться и здоровье человека. Не благоприятная экологическая среда воздействует на организм человека не самым лучшим образом, подвергая тело окислительному стрессу, вызванным действием свободных радикалов. Присутствующие в организме человека свободные радикалы выполняют множество полезных функций таких как: разрушение вирусов и бактерий; участие в производстве важных гормонов и активизации необходимых для жизни ферментов; также они нужны организму для выработки энергии и некоторых субстанций, в которых нуждается организм, которые поддерживают состояние здоровья в нормальном состоянии. Однако их переизбыток ведет к дисбалансу между антиоксидантной и прооксидантной защитой организма, что вследствие приводит к множеству различных заболеваний. Исследования (см. Корнякова B.В., Бадтиева В.А., Баландин М.Ю. Использование биологически активных добавок с антиоксидантными свойствами при физическом утомлении и для повышения работоспособности в спорте // Вопросы питания. 2020. Т. 89. №3. C. 86-96) показали, что растительные биологически активные вещества с антиоксидантной активностью способны ингибировать свободнорадикальные реакции и восстанавливать процессы в организме человека. Ареал растительного сырья республики Бурятия, обладающего лечебными и профилактическими свойствами, очень обширен. Он представлен такими растениями, которые имеют возможность использования в пищевой промышленности: шиповник Даурский, льняная мука, брусника и т.д. В связи с этим перспективной и актуальной темой в пищевой промышленности является разработка пищевых продуктов питания с оздоровительным эффектом на основе растительного сырья, способствующих снижению риска развития онкологических, сердечно-сосудистых заболеваний, диабета 2-го типа, ожирения и множества других заболеваний, связанных с ухудшением экологической обстановки, стресса, приводящих к высокому содержанию свободных радикалов в организме человека. Наиболее близким по технической сущности и достигаемому результату к заявляемому изобретению является способ производства белково-жировой эмульсии (БЖЭ) на основе воды с белковым компонентом, который представлен белком животного происхождения Скинпрот А-105, смеси животного (говяжьего жира омега-6 и омега-3 жирные кислоты) и растительных (соевого и подсолнечного) масел и порошок из зрелых высушенных плодов шиповника для обогащения белково-жировой эмульсии витамином С. Жировой компонент - смесь топленого жира-сырца, подсолнечного и соевого масел взяты в соотношении 71:13:16 соответственно. В качестве водного компонента взят водный настой из плодов шиповника Даурского, при этом белково-жировая эмульсия, сбалансирована по соотношению ω6:ω3 ПНЖК (см. Баженова Б.А., Данилов М.Б., Забалуева Ю.Ю., Герасимов А.В., Бурханова А.Г. Белково - жировая эмульсия для производства функциональных мясопродуктов // Sciences of Europe. 2018. №33-1 (33). Однако, несмотря на то что БЖЭ обогащена антиоксидантами природного происхождения за счет введения водного настоя из плодов шиповника Даурского, длительность приготовления экстракта составляет более 5 часов, что увеличивает время приготовления обогащенной БЖЭ в общем и использование в качестве экстрагента воду приводит к неполному извлечению биологически активных веществ из плодов шиповника в том числе и антиоксидантов. Задачей, на решение которой направлено предлагаемое изобретение является создание технологии получения белково-жировой эмульсии, обогащенной антиоксидантами природного происхождения, необходимых в питании людей, в профилактических и лечебных целях. Техническим результатом предлагаемого изобретения является упрощение и сокращение длительности технологического цикла. Технический результат достигается тем, что в способе производства белково-жировой эмульсии, предусматривающем обработку обогащенного антиоксидантами природного происхождения белково-жировую эмульсию в устройстве для тонкого измельчения-куттере ее соевого белкового изолята, растительного масла, жидкого компонента-воду, согласно изобретению в качестве источника природных антиоксидантов используют растительное сырье из измельченных листьев черники, заливают 40% водно-спиртовой смесью в соотношении 1:8, полученную смесь предварительно экстрагируют в условиях микроволнового излучения мощностью 700-800 Вт продолжительностью 4-7 минут с получением 40% водно-спиртового экстракта из листьев черники, полученную смесь охлаждают до температуры 10-25°С, при этом часть жидкого компонента воды заменяют приготовленным раствором из листьев черники в количестве 30%, вода - 15%. Отличительной особенностью предлагаемого изобретения является изменение качественного состава белково-жировой эмульсии, а именно использование в качестве обогащенного антиоксидантами природного происхождения жидкого компонента водно-спиртового экстракта из листьев черники. Это способствует обеспечению высокого содержания антиоксидантов в 100 г готовой белково-жировой эмульсии. Для подбора мощности СВЧ-экстракции и ее продолжительности были проведены эксперименты и изучено значение суммарного содержания антиоксидантных и полифенольных соединений. Подбор мощности СВЧ поля были взяты из работы (см. Исследование возможности иммобилизации антиоксидантов шиповника Даурского включением в белково-липидный комплекс / Б. А. Баженова, А. Г. Бурханова, Ю. Ю. Забалуева, Р. А. Добрецкий // Техника и технология пищевых производств. - 2021. - Т. 51. - №2. - С.301-311), где при повышении мощности излучения в одинаковом временном отрезке времени повышалось извлечение полифенольных соединений, так оптимальной мощностью излучения для максимального извлечения полифенольных соединений было в диапазоне 750-800 Вт, увеличивая мощность излучения до 850 Вт снижалось и извлекаемость полифенольных соединений. Далее были проведены эксперименты по подбору продолжительности экстракции для максимального извлечения антиоксидантов при этом экономя энерго- временные ресурсы. Данные фиг. 1 показывают, что продолжительность экстракции в экстрагенте при воздействии СВЧ-поля мощностью 700-800 Вт оказывает влияние на степень извлечения. Отмечено, что увеличение продолжительности процесса экстракции с 4 до 7 мин повышает эффективность процесса, затем с 7 до 10 мин степень извлечения остается на одном высоком уровне, если количество полифенольных соединений после 7 мин остается на одном уровне, дальнейшее экстрагирование листьев черники не имеет смысла, для сохранения энерго- и временных ресурсов было принято использовать диапазон времени для экстракции листьев черники 4-7 мин. Исходя из полученных экспериментальных данных по подбору режимов экстракции полифенольных соединений, были приняты следующие параметры: мощность СВЧ- излучения 700-800 Вт, продолжительность экстракции 4-7 мин. Химический состав листьев черники не уступает ягодам, а где-то даже превосходит, так, например, значительное количество достигает содержание витамина С (до 250 мг %), а также конденсированных дубильных веществ (7-20%), имеются и другие фенольные соединения - гидрохинон (1%), арбутин (1-2%), флавоноиды, что позволяет обратить внимание на листья черники как на перспективное сырье с антиоксидантной активностью (см. диссертация на соискание ученой степени кандидата фармацевтических наук Рязановой Т.К. Фармакогностическое исследование плодов и побегов черники обыкновенной (Vaccinium myrtillus 1.), Самара, 2014, с. 20). Предлагаемый способ получения белково-жировой эмульсии поясняется схемами где, на фиг. 1 изображена динамика продолжительности экстракции 40% водно-спиртовой смеси для подбора оптимальной продолжительности экстракции листьев черники; на фиг. 2 изображена технология приготовления экстракта из листьев черники; на фиг. 3 - изображена технология приготовления белково-жировой эмульсии. Предлагаемый способ производства белково-жировой эмульсии с экстракцией растительного сырья осуществляют следующим образом: на первом этапе приготовления белково-жировой эмульсии подают воду с заранее приготовленным водно-спиртовым экстрактом из листьев черники в куттер и соевый белковый изолят, затем для обеспечения лучшей гидратации соевых белков смесь обрабатывают в куттере. На втором этапе подают растительное масло в куттер для получения однородной консистенции смеси. Приготовление экстракта из листьев черники осуществляют следующим образом: растительное сырье предварительно измельчают до размера частиц 3-5 мм, в массовом соотношении 1:8, заливают экстрагентом. Экстрагент, используемый в процессе экстракции, представляет собой 40% водно-спиртовой раствор, в качестве растительного сырья, обогащенного антиоксидантами природного происхождения, используют высушенные листья черники. Следующим шагом приготовления экстракта служит экстракция полученной смеси в условиях микроволнового излучения (СВЧ поле) при мощности 700-800 Вт. Смесь экстрагируют в условиях микроволнового излучения при частоте излучения 700-800 Вт продолжительностью 4-7 мин. Полученную смесь охлаждают до температуры 10-25°С и фильтруют для отделения твердой фазы (листья и пыль листьев черники) от жидкой (готовый экстракт). Технология приготовления экстракта из листьев черники представлена на фиг. 2, а в таблице 1 представлены качественные характеристики экстракта из листьев черники. Для использования полученного экстракта его вводят через белково-жировую эмульсию (БЖЭ) в рецептуру планируемого продукта. В качестве образца белково-жировой эмульсии, было принято использовать стандартную белково-жировую эмульсию, где белковая часть белково-жировой эмульсии представлена соевым белковым изолятом, для гидратации белков использовалась вода и жировая часть - растительным маслом. Соевые белковые изоляты - наиболее распространенные в мировой практике белковые препараты растительного происхождения. Они полноценны, относительно хорошо сбалансированы по соотношению незаменимых аминокислот, имеют высокое содержание белка, стабильные функционально-технологические свойства, обладают многоцелевым назначением, просты в использовании, экономически доступны. В рецептурах белково-жировых эмульсий соевый белковый изолят можно рассматривать в качестве корректирующего компонента, предназначенного для замены мясного сырья, улучшения функционально-технологических свойств фарша. Однако, соевые белки, так же, как и мышечные должны быть хорошо растворены и диспергированы, чтобы эффективно выполнять функцию эмульгатора, за счет образования структуированного белкового каркаса, являющегося основой эмульсии (см. Жаринов А.И. Эмульгированные и грубоизмельченные мясопродукты). Жиры в эмульгированном виде лучше усваиваются организмом. Введение в эмульсию растительного масла позволяет получить однородную стабильную эмульсию, также повысить биологическую ценность продукта, обеспечивающейся присутствием в масле витаминов А, Д и полиненасыщенных жирных кислот. Вода служит средой для гидратации и растворения белкового препарата. Максимальная растворимость соевых изолятов происходит при рН - 7,0 и - 2,5, минимальная - при рН - 4,6, что близко к изоэлектрической точке мышечных белков. В предлагаемом изобретении в производстве белково-жировой эмульсии часть жидкого компонента заменяют приготовленным экстрактом из листьев черники (с 45% до 15%), в связи с тем, что после экстракции растительного сырья содержащийся спирт испаряется в условиях высокой температуры, оставляя воду с биологически активными веществами, что позволяет заменить заданное количество воды экстрактом. В таблице 2 представлен состав белково-жировой эмульсии. Таблица 2 - Состав белково-жировой эмульсии Предлагаемый способ производства белково-жировой эмульсии поясняется примером конкретного выполнения. Пример.Получение белково-жировой эмульсии с введением экстракта из листьев черники, который приготавливают заранее. Для приготовления водно-спиртового экстракта из листьев черники, измельченные листья черники заливают 40% водно-спиртовой смесью в соотношении 1:8, полученную смесь помещают в условия микроволнового излучения мощностью 700 Вт продолжительностью 5 мин, горячую смесь охлаждают до температуры 10°С, охлажденную смесь фильтруют для отделения жидкого экстракта от листьев и твердых частиц. Для приготовления белково-жировой эмульсии в куттер подают 15 л воды и 30 л экстракта, 10 кг соевого белкового изолята и обрабатывают на куттере 4 минуты со скоростью V=4000 об/мин, затем струйкой добавляют 45 л растительного масла и после перемешивают в течение 4 минут со скоростью V=8000 об/мин. ВУС составляет 87,5%, ЖУС - 86,3%. В таблице 3 представлен химический состав обогащенной белково- жировой эмульсии, а в таблице 4 - функционально-технические свойства белково-жировой эмульсии с введением экстракта из листьев черники. Таблица 3 - Химический состав обогащенной белково-жировой эмульсии Таблица 4 - Функционально-технические свойства белково-жировой эмульсии с введением экстракта из листьев черники В результате проведенных экспериментальных исследований были изучены качественные характеристики экстракта из листьев черники, которые показали высокое содержание антиоксидантов (125,4-157,2 мг/г). Полученный экстракт имеет прозрачный светло-коричневый цвет, слегка терпкий вкус и травянистый запах. Было изучено влияние на функционально технические свойства белково-жировой эмульсии с введенным экстрактом, где показатели ВУС и ЖУС пошли на спад, но не значительно ВУС (-12,5%) и ЖУС (-13,7%). В ходе экспериментальных исследований получена рецептура белково-жировой эмульсии с внесением экстракта из листьев черники: белковый препарат 10%, экстракт листьев черники 30%, жировой компонент 45%, вода для гидратации 15%, обеспечивающая высокое содержание антиоксидантов (35,9-43,38 мг/г) в белково-жировой эмульсии. Разработана технология обогащенной белково-жировой эмульсии, которая рекомендована для внесения в рецептуру мясопродуктов. Использование заявляемого способа производства белково-жировой эмульсии позволит: - повысить пищевую ценность белково-жировой эмульсии; - сократить время приготовления экстракта из листьев черники посредством применения микроволнового излучения; - получить белково-жировую эмульсию с высоким содержанием антиоксидантов природного происхождения; - сократить количество воды посредством замещения ее готовым экстрактом из листьев черники; - возможность расширить ассортимент пищевых продуктов с повышенным содержанием антиоксидантов.
Компонент Количество, кг Контроль Опыт Соевый изолят 10 10 Растительное масло 45 45 Вода 45 15 Водно-спиртовой экстракт из листьев черники - 30 Итого 100 100 Содержание Белково-жировая эмульсия Массовая доля влаги, % 42,9±1,1 Массовая доля белка, % 9,2±0,5 Массовая доля жира, % 43,5±0,5 Массовая доля углеводов, % 4,7±0,2 ССП, мг/г 19,9-24,8±0,3 ССА, мг/г 35,9-43,38±0,5 Соотношение белок: жир: влага 1:4,73:4,66 Показатель Количество, % Влагосвязывающая способность 82,3±0,5 Влагоудерживающая способность 87,5±0,5 Жироудерживающая способность 86,3±0,5 Стабильность эмульсии 87±0,4 Эмульгирующая способность 88±0,4