патент
№ RU 2812971
МПК A01C1/06
Номер заявки
2023105877
Дата подачи заявки
13.03.2023
Опубликовано
06.02.2024
Страна
RU
Как управлять
интеллектуальной собственностью
Чертежи 
3
Реферат

[46]

Изобретение относится к сельскохозяйственному машиностроению, в частности к устройствам для предпосевной обработки семян. Линия для капсулирования несыпучих семян, содержит устройство прессования капсул в виде транспортера, с закрепленными на нём на одинаковом расстоянии друг от друга матрицами, приводимого в движение шаговым двигателем. Над матрицами расположены бункер-питатель поштучной выдачи семян, бункеры-питатели питательных смесей, пуансоны с выпуклой рабочей поверхностью для формирования в питательных смесях углублений и пуансоны с вогнутой рабочей поверхностью для формирования оболочек капсулы. Транспортер выполнен в виде бесконечной ленты, а матрицы установлены на столы, которые закреплены с наружной стороны ленты транспортера по всей ее длине с помощью болтового соединения. В каждой из матриц смонтирован выталкиватель капсулы, состоящий из ролика, толкателя и фиксатора толкателя. На ленте транспортера, под бункером-питателем поштучной выдачи семян, бункерами-питателями питательных смесей и пуансонами с выпуклой и вогнутой рабочими поверхностями, расположено не менее пяти столов с матрицами, при этом опора установлена с внутренней стороны ленты транспортера. Кроме того, линия снабжена распылителем клеящей жидкости, поступающей из емкости, устройством для опудривания изготовленных капсул, включающим емкость для порошка и вентилятор, камерой с подпружиненными клапанами на входе и выходе капсул, воздуховодом и распылителем порошка, камерой подогрева капсул, состоящей из кожуха и сетки, установленной с наклоном в сторону выгрузки капсул с возможностью колебательных движений с помощью вибратора, и нагревательного элемента, и бункером для сбора капсул. Дно последнего выполнено открывающимся. Бункер-питатель поштучной выдачи семян оборудован щеточным устройством с приводом от электродвигателя и дозирующей лентой с приводом от шагового двигателя, а бункеры-питатели питательных смесей оборудованы заслонками-дозаторами с приводом от шагового двигателя. Привод пуансонов осуществляется актуаторами. При этом шаговые двигатели и актуаторы связаны с блоком управления. Изобретение позволит обеспечить повышение производительности и качества капсулирования несыпучих семян. 2 з.п. ф-лы, 3 ил.

Формула изобретения

1. Линия для капсулирования несыпучих семян, содержащая устройство прессования капсул в виде транспортера, с закрепленными на нём на одинаковом расстоянии друг от друга матрицами, приводимого в движение шаговым двигателем, над которыми расположены бункер-питатель поштучной выдачи семян, бункеры-питатели питательных смесей, пуансоны с выпуклой рабочей поверхностью для формирования в питательных смесях углублений и пуансоны с вогнутой рабочей поверхностью для формирования оболочек капсулы, отличающаяся тем, что транспортер выполнен в виде бесконечной ленты, а матрицы установлены на столы, которые закреплены с наружной стороны ленты транспортера по всей ее длине с помощью болтового соединения, и в каждой из матриц смонтирован выталкиватель капсулы, состоящий из ролика, толкателя и фиксатора толкателя, причем на ленте транспортера, под бункером-питателем поштучной выдачи семян, бункерами-питателями питательных смесей и пуансонами с выпуклой и вогнутой рабочими поверхностями, расположено не менее пяти столов с матрицами, при этом опора установлена с внутренней стороны ленты транспортера, кроме того, линия снабжена распылителем клеящей жидкости, поступающей из емкости, устройством для опудривания изготовленных капсул, включающим емкость для порошка и вентилятор, камерой с подпружиненными клапанами на входе и выходе капсул, воздуховодом и распылителем порошка, камерой подогрева капсул, состоящей из кожуха и сетки, установленной с наклоном в сторону выгрузки капсул с возможностью колебательных движений с помощью вибратора, и нагревательного элемента, и бункером для сбора капсул, дно которого выполнено открывающимся, кроме того, бункер-питатель поштучной выдачи семян оборудован щеточным устройством с приводом от электродвигателя и дозирующей лентой с приводом от шагового двигателя, бункеры-питатели питательных смесей оборудованы заслонками-дозаторами с приводом от шагового двигателя, а привод пуансонов осуществляется актуаторами, при этом шаговые двигатели и актуаторы связаны с блоком управления.

2. Линия для капсулирования несыпучих семян по п. 1, отличающаяся тем, что бункеры-питатели питательных смесей выполнены как одно целое или разделены на две секции.

3. Линия для капсулирования несыпучих семян по п. 1, отличающаяся тем, что имеет несколько транспортеров, расположенных параллельно друг другу.

Описание

[1]

Изобретение относится к сельскохозяйственному машиностроению, в частности к устройствам для предпосевной обработки семян.

[2]

Наиболее близким по совокупности существенных признаков является установка для капсулирования семян, описание которой представлено в способе капсулирования семян (патент РФ №2264698, опубл. 27.11.2005, Бюл. №33), содержащая роторное устройство прессования капсул с закрепленными в нем матрицами, над которыми расположены бункер-питатель поштучной выдачи семян, бункеры-питатели первой и второй питательных смесей, пуансоны с выпуклой рабочей поверхностью для формирования в питательных смесях углублений и пуансоны с вогнутой рабочей поверхностью для формирования оболочек капсулы, причем роторное устройство выполнено в виде стола с вертикальной осью вращения, смонтированного с возможностью перемещения матриц и выталкивания готовых капсул из матрицы, при этом толкатель и/или пуансон с вогнутой рабочей поверхностью, формирующий вторую оболочку, содержит элемент для формирования канала во второй оболочке.

[3]

Основными недостатками установки для капсулирования семян являются:

[4]

- низкая производительность из-за нескольких цикличных поворотов стола роторного устройства на угол 45° при изготовлении каждой капсулы, т.е. изготовление следующей капсулы невозможно до завершения работы над формируемой в данный момент капсулой;

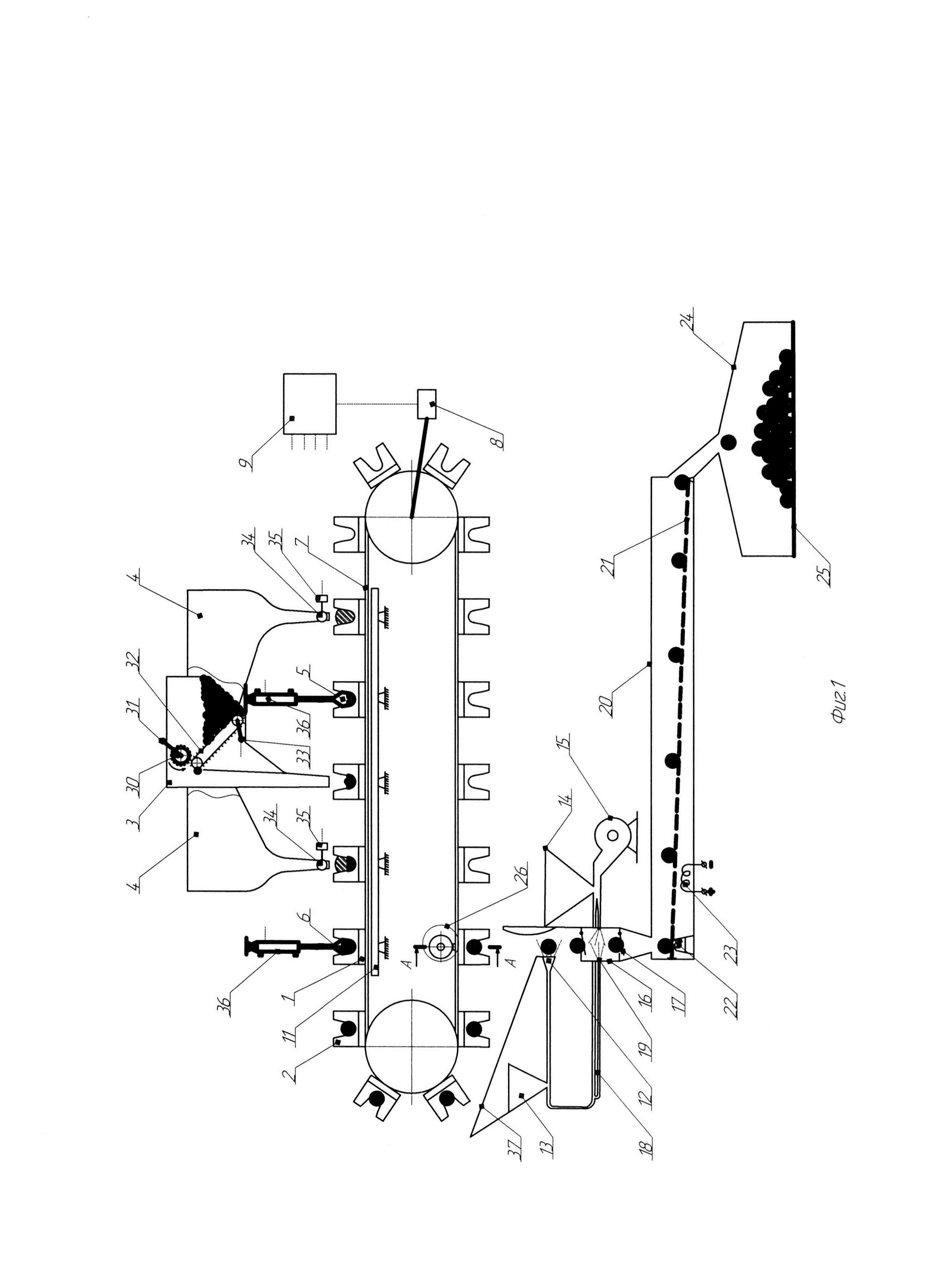
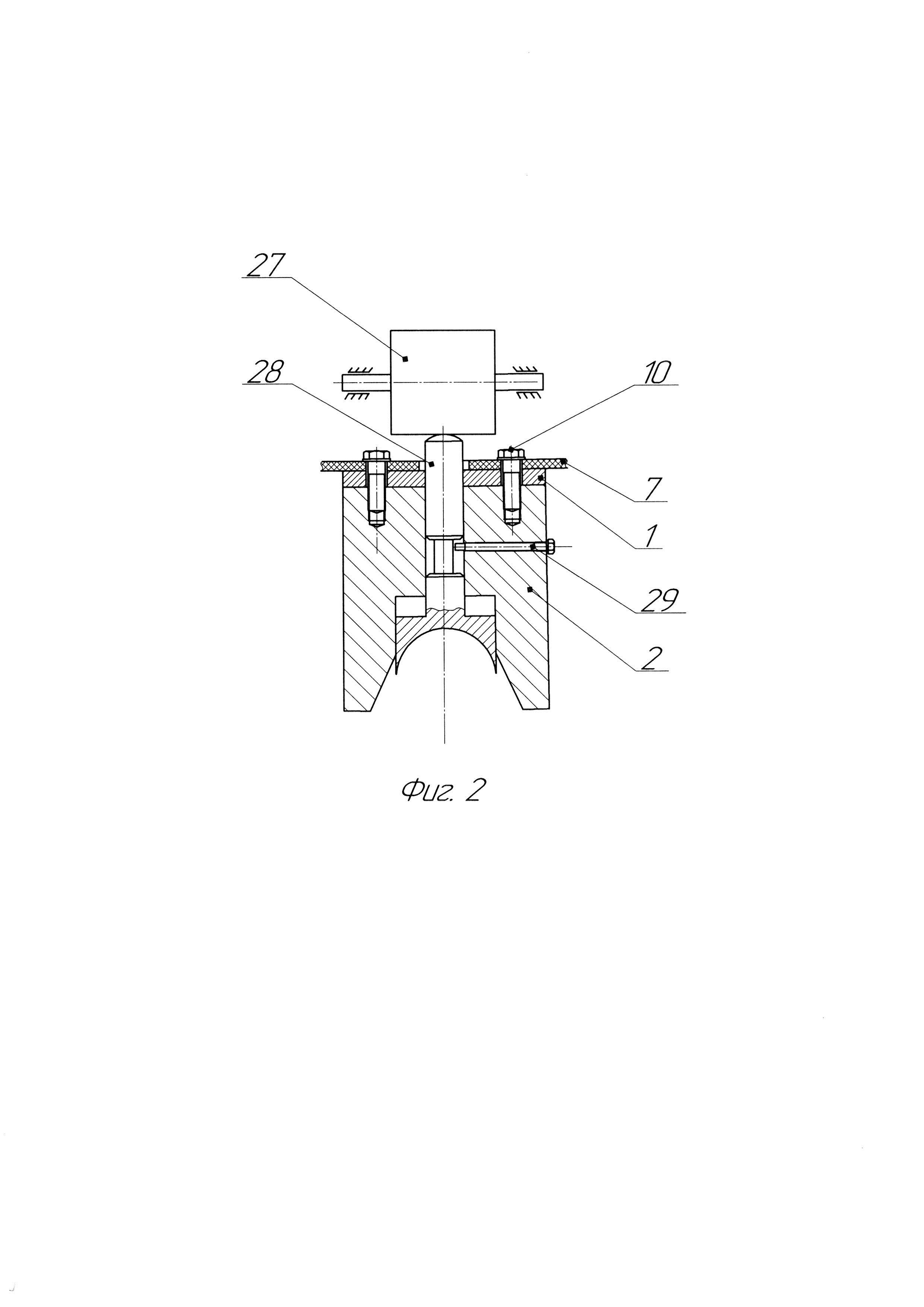
[5]

- возможность нарушения процесса поштучной выдачи несыпучих семян в сформированное пуансоном углубление в первой оболочке капсулы, что ведет к перерасходу семян;

[6]

- наличие канала в оболочках капсул дает возможность попадания к семенам вредных веществ, вредителей и влаги, что отрицательно сказывается на их сохранности;

[7]

- возможность образования слипшихся капсул при их выгрузке,

[8]

- возможность разрушения капсул при их транспортировке из-за отсутствия упрочненной корки на ее поверхности.

[9]

Сущность изобретения заключается в следующем.

[10]

Задача изобретения - капсулирование несыпучих семян.

[11]

Технический результат - повышение производительности и качества капсулирования несыпучих семян.

[12]

Указанный технический результат достигается линией для капсулирования несыпучих семян, содержащей устройство прессования капсул в виде стола с закрепленными в нем матрицами, над которыми расположены бункер-питатель поштучной выдачи семян, бункеры-питатели питательных смесей, пуансоны с выпуклой рабочей поверхностью для формирования в питательных смесях углублений и пуансоны с вогнутой рабочей поверхностью для формирования оболочек капсулы, при этом линия дополнительно оборудована транспортером, выполненным в виде бесконечной ленты, приводимой в движение шаговым двигателем, с наружной стороны ленты по всей ее длине с помощью болтового соединения на одинаковом расстоянии друг от друга закреплены столы с матрицами, а на ленте под бункером-питателем поштучной выдачи семян, бункерами-питателями питательных смесей и пуансонами с выпуклой и вогнутой рабочими поверхностями размещено не менее пяти столов с матрицами, под которыми с внутренней стороны транспортера установлена опора; распылителем клеящей жидкости, поступающей из емкости; устройством для опудривания изготовленных капсул, включающим емкость для порошка, вентилятор, камеру с подпружиненными клапанами на входе и выходе капсул, воздуховод и распылитель порошка; камерой подогрева капсул, которая состоит из кожуха, сетки, установленной с наклоном в сторону выгрузки капсул с возможностью выполнять колебательные движения с помощью вибратора и элемента для подогрева воздуха в камере; бункером для сбора капсул, который изготовлен с открывающимся дном, кроме того в каждой из матриц смонтирован выталкиватель капсулы, состоящий из ролика, толкателя и фиксатора толкателя, бункер-питатель поштучной выдачи семян оборудован щеточным устройством с приводом от электродвигателя и дозирующей лентой с приводом от шагового двигателя, бункеры-питатели питательных смесей оборудованы заслонками-дозаторами с приводом от шагового двигателя, привод пуансонов осуществляется актуаторами, при этом шаговые двигатели, а также актуаторы управляются блоком управления; бункеры-питатели питательных смесей могут быть выполнены как одно целое, так и разделенными на две секции, количество транспортеров линии для капсулирования несыпучих семян может быть несколько с возможностью размещения их параллельно друг другу.

[13]

Существенными признаками, влияющими на достижение заявленного технического решения, являются:

[14]

- выполнение транспортера в виде бесконечной ленты;

[15]

- управление движением транспортера шаговым двигателем;

[16]

- монтаж на ленте по всей ее длине с наружной стороны с помощью болтового соединения столов с матрицами;

[17]

- размещение на ленте столов с матрицами на одинаковом расстоянии друг от друга;

[18]

- размещение на ленте под бункером-питателем поштучной выдачи семян, бункерами-питателями питательных смесей и пуансонами с выпуклой и вогнутой рабочими поверхностями не менее пяти столов с матрицами;

[19]

- установка опоры с внутренней стороны транспортера под пятью столами с матрицами;

[20]

- оборудование линии для капсулирования несыпучих семян распылителем клеящей жидкости, поступающей из емкости;

[21]

- оборудование линии для капсулирования несыпучих семян устройством для опудривания изготовленных капсул, состоящим из емкости для порошка, вентилятора, камеры с подпружиненными клапанами на входе и выходе капсул, воздуховода и распылителя порошка;

[22]

- оборудование линии для капсулирования несыпучих семян камерой подогрева капсул, состоящей из кожуха, сетки, установленной с наклоном в сторону выгрузки капсул с возможностью выполнять колебательные движения с помощью вибратора и нагревательного элемента;

[23]

- изготовление бункера для сбора капсул с открывающимся дном;

[24]

- монтаж в каждой из матриц выталкивателя капсулы;

[25]

- выполнение выталкивателя капсулы из ролика, толкателя и фиксатора толкателя,

[26]

- оборудование бункера-питателя поштучной выдачи семян щеточным устройством и дозирующей лентой с приводом от шагового двигателя;

[27]

- оборудование бункеров-питателей питательных смесей заслонками-дозаторами с приводом от шагового двигателя;

[28]

- осуществление привода пуансонов актуаторами;

[29]

- выполнение бункеров-питателей питательных смесей как одно целое, так и разделенными на две секции;

[30]

- возможность оборудования линии для капсулирования несыпучих семян несколькими транспортерами с размещением их параллельно друг другу.

[31]

Сущность изобретения поясняется чертежами, где на фиг. 1 показана схема линии для капсулирования несыпучих семян; на фиг. 2 - разрез А-А, фиг. 1, на фиг. 3 - схема заслонки-дозатора бункера-питателя питательных смесей.

[32]

Линия для капсулирования несыпучих семян содержит устройство прессования капсул в виде стола 1 с закрепленными в нем матрицами 2, над которыми расположены бункер-питатель 3 поштучной выдачи семян, бункеры-питатели 4 питательных смесей, пуансоны с выпуклой рабочей поверхностью 5 для формирования в питательных смесях углублений и пуансоны с вогнутой рабочей поверхностью 6 для формирования оболочек капсулы. Линия дополнительно оборудована транспортером, выполненным в виде бесконечной ленты 7, приводимой в движение шаговым двигателем 8, при этом с наружной стороны ленты по всей ее длине с помощью болтового соединения 10 на одинаковом расстоянии друг от друга закреплены столы 1 с матрицами 2, а на ленте под бункером-питателем поштучной выдачи семян, бункерами-питателями питательной смеси и пуансонами с выпуклой и вогнутой рабочими поверхностями размещено не менее пяти столов с матрицами, под которыми с внутренней стороны транспортера установлена опора 11, распылителем 12 клеящей жидкости, поступающей из емкости 13, устройством для опудривания изготовленных капсул, включающим емкость 14 для порошка, вентилятор 15, камеру 16 с подпружиненными клапанами 17 на входе и выходе капсул, воздуховод 18 и распылитель 19 порошка, камерой подогрева капсул, которая состоит из кожуха 20, сетки 21, установленной с наклоном в сторону выгрузки капсул с возможностью выполнять колебательные движения с помощью вибратора 22 и нагревательного элемента 23. Камера подогрева капсул предназначена для их подсушивания и получения упрочненной корки на поверхности капсулы, что обеспечивает их сохранность при транспортировке и высеве. Кроме того, устройство оборудовано бункером 24 для сбора капсул, который изготовлен с открывающимся дном 25. В каждой из матриц 2 смонтирован выталкиватель 26 капсулы, состоящий из ролика 27, толкателя 28 и фиксатора толкателя 29. Бункер-питатель 3 поштучной выдачи семян оборудован щеточным устройством 30 с приводом от электродвигателя 31 и дозирующей лентой 32 с приводом от шагового двигателя 33, а бункеры-питатели 4 питательных смесей - заслонками-дозаторами 34 с приводом от шагового двигателя 35. Привод пуансонов 5 и 6 осуществляется актуаторами 36. Шаговые двигатели 8, 33 и 35, а также актуаторы 36 управляются блоком управления 9.

[33]

Кроме того, бункеры-питатели 4 питательных смесей могут быть выполнены как одно целое, так и разделенными на две секции. Из первой секции питательная смесь подается в матрицу 2 для формирования нижней части капсулы, а из второй секции - верхней части капсулы. Бункеры-питатели 4 питательных смесей, выполненные как одно целое, используются при формировании капсулы состоящей из двух частей - нижней и верхней. Количество транспортеров в линии для капсулирования несыпучих семян может быть несколько с размещением их параллельно друг другу.

[34]

Пример конкретного выполнения.

[35]

Перед началом процесса капсулирования несыпучих семян, например, джузгуна безлистного, семена которого обладают связностью из-за наличия крылышек, необходимо подобрать по производительности технические средства, обеспечивающие поточность технологической линии, исключив простои оборудования из-за отсутствия в какой-то момент времени, например, одной из применяемой для капсулирования несыпучих семян питательной смеси. Заполнить бункер-питатель 3 поштучной выдачи семян семенами. Подготовить питательную смесь, которая, например, для джузгуна безлистного может состоять из биокомпоста, полученного путем ферментационной обработки смеси навоза, торфа и очеса льна, карбоксимелицеллюлозы, активатора роста и вспученного перлита. Масса биокомпоста должна составлять 80-85% массы капсулы. Очес льна и карбоксимелицеллюлоза используются в качестве армирующих компонентов компонентов капсулы, а вспученный перлит - наполнителем. Заполнить бункеры-питатели 4 подготовленной питательной смесью, емкость 14 порошком для опудривания изготовленных капсул, а емкость 13 - клеящей жидкостью, включить нагревательный элемент 23 для подогрева воздуха в камере подогрева капсул, вентилятор 16, актуаторы 36 и шаговые двигатели 8, 33, 35.

[36]

Линия для капсулирования несыпучих семян работает следующим образом.

[37]

Управление шаговыми двигателями 8, 33 и 35, а также актуаторами 36 осуществляется блоком управления 9.

[38]

Несыпучие семена, как правило, находятся в связанном состоянии в виде отдельных порций, потоком перемещаются дозирующей лентой 32, имеющей привод от шагового двигателя 33. Щеточное устройство 30 в конце дозирующей ленты 32 счесывает часть семян назад в бункер, направляя только одно семя в матрицу 2.

[39]

Шаговый двигатель 8 управляет работой транспортера таким образом, что закрепленные на ленте 7 столы 1 с матрицами 2 перемещаются циклически на расстояние, равное расстоянию между вертикальными осями соседних матриц 2. Одновременно с остановкой ленты 7 блоком управления 9 включаются шаговые двигатели 35 бункера-питателя 4 питательных смесей, шаговый двигатель 33 бункера-питателя 3 поштучной выдачи семян и актуаторы 36. При этом заслонки-дозаторы 34 бункера-питателя 4 подачи питательной смеси для нижней и верхней частей капсулы поворачиваются на угол 90° и порции питательной смеси высыпаются в углубления соответствующих матриц 2; дозирующая лента 32 бункера-питателя 3 поштучной выдачи семян подает одно семя в углубление соответствующей матрицы 2; актуаторы 36 перемещают вниз пуансоны 5 и 6 соответственно с выпуклой и вогнутой рабочими поверхностями на расстояние, установленное для данного размера капсулы. После одновременного выполнения указанных операций подача питательной смеси из бункера-питателя 4 перекрыта, дозирующая лента 32 остановлена и пуансоны 5 и 6 возвращены в исходное верхнее положение. Затем включается шаговый двигатель 8 транспортера и столы 1 с матрицами 2 перемещаются на один шаг. Процесс повторяется. Аналогично повторяются следующие ходы.

[40]

Первые два хода транспортера после запуска линии для капсулирования несыпучих семян служат для настройки рабочих органов линии, например, ходов пуансонов 5 и 6 соответственно с выпуклой и вогнутой рабочими поверхностями, от величины которых зависит степень уплотнения питательной смеси для нижней и верхней долей капсулы в соответствующих матрицах 2, степени и качества распыления клеящей жидкости распылителем 12, температуры воздуха в камере подогрева капсул.

[41]

После последующих ходов транспортера, на его остановках одновременно выполняются пять технологических операций: подача первой порции питательной смеси для формирования нижней доли капсулы, уплотнение первой порции питательной смеси с выполнением углубления для семени, подача семени в углубление первой порции питательной смеси, подача второй порции питательной смеси для формирования верхней доли капсулы, уплотнение второй порции питательной смеси.

[42]

Матрица 2 с сформированной капсулой во время очередного хода транспортера перемещается, при этом лента 7 изменяет свое направление движения и матрица 2 поворачивается капсулой вниз. Капсула может выпасть из матрицы 2, а может и не выпасть. В первом случае капсула скатывается по желобу 37 к распылителю 12 в зону нанесения на нее клеящей жидкости. Во втором случае капсула извлекается из матрицы 2 выталкивателем 26 в момент совпадения вертикальных осей матрицы 2 с капсулой и ролика 27. При этом ролик 27 воздействует на толкатель 28, который выталкивает капсулу из матрицы 2. Исключение выпадания толкателя 28 из матрицы 2 обеспечивает фиксатора толкателя 29.

[43]

Капсула под действием силы тяжести перемещается вдоль распылителя 12, который наносит на нее клеящую жидкость, которая поступает из емкости 13 потоком воздуха от вентилятора 15. Далее капсула, покрытая клеящей жидкостью, при падении вниз воздействует на подпружиненный клапан 17, установленный на входе камеры 16, снижает скорость падения и в камере 16 покрывается порошком из распылителя 19. Порошок подается по воздуховоду 18 из емкости 14 воздушным потоком, создаваемым вентилятором 15. После опудривания капсула проходит через нижний подпружиненный клапан 17 и попадает в камеру подогрева капсул на сетку 21, которая установлена в кожухе 20. Подогрев капсул осуществляется воздухом, подогретым нагревательным элементом 23, до образования на капсуле упрочненной корки. Готовые капсулы перемещаются по сетке 21 за счет ее наклона в сторону выгрузки капсул и вибраций, создаваемых вибратором 22, и попадают в бункер 24, при заполнении которого выгружаются через открывающееся дно 25, например, в транспортное средство, которым перевозятся к месту хранения или посадки, например, картофелесажалкой.

[44]

Благодаря покрытию несыпучих семян питательной смесью, сформированной в капсулы, покрытию клеящей жидкостью, опудриванию и подогреву изготовленных капсул для образования упрочненной корки на их поверхности, а также использованию технических средств, обеспечивающих поточность технологической линии, достигается высокая производительность и качество капсулирования несыпучих семян.

[45]

Заявляемое конструктивное выполнение линии для капсулирования несыпучих семян обладает возможностью качественно и с высокой производительностью осуществлять покрытие несыпучих семян питательной смесью.

Как компенсировать расходы
на инновационную разработку
Похожие патенты