патент
№ RU 2812376
МПК A47B47/00

МЕБЕЛЬНЫЙ МОДУЛЬ

Авторы:
Романов Роман Артемьевич
Правообладатель:
Номер заявки
2023118512
Дата подачи заявки
13.07.2023
Опубликовано
30.01.2024
Страна
RU
Как управлять
интеллектуальной собственностью
Реферат

[99]

Заявленное техническое решение относится к удовлетворению жизненных потребностей человека, а именно к модульной мебели, состоящей из элементов, унифицированных для образования различных видов предметов обстановки жилых и общественных помещений. Мебельный модуль образован двумя противоположно расположенными конструктивными элементами, а также верхней частью и нижней частью, установленными на противоположных концах конструктивных элементов, посредством чего модуль образует несущую конструкцию. Противоположные конструктивные элементы, а также верхняя и нижняя части выполнены с монтажными отверстиями, расположенными на одинаковом расстоянии друг от друга и предназначенными для прикрепления дополнительных элементов. Противоположно расположенные конструктивные элементы, а также верхняя и нижняя части модуля являются базовыми элементами, выполненными в виде рамок. Монтажные отверстия выполнены сквозными и расположены равномерно в плоскости рамки по периметру ее контура на одинаковом расстоянии от ее краев. Имеются дополнительные сквозные монтажные отверстия, расположенные по углам рамки и находящиеся в точках пересечения линий расположения основных монтажных отверстий. Две рамки, расположенные друг напротив друга, оснащены крепежными отверстиями, расположенными в плоскости рамки на определенном расстоянии от ее края, равном половине ее толщины. Две другие рамки, также расположенные друг напротив друга, тоже оснащены крепежными отверстиями, расположенными на двух противоположных торцах в центре толщины стенки рамки, причем эти крепежные отверстия выполнены с возможностью сопряжения с крепежными отверстиями двух первых рамок. Технический результат заключается в создании универсальных и унифицированных облегченных и упрощенных мебельных модулей для использования в производстве мебели и предметах интерьера. 9 з.п. ф-лы, 14 ил.

Формула изобретения

1. Мебельный модуль, образованный двумя противоположно расположенными конструктивными элементами, а также верхней частью и нижней частью, установленными на противоположных концах конструктивных элементов, посредством чего модуль образует несущую конструкцию, причем противоположные конструктивные элементы, а также верхняя и нижняя части выполнены с монтажными отверстиями, расположенными на одинаковом расстоянии друг от друга и предназначенными для прикрепления дополнительных элементов, отличающийся тем, что противоположно расположенные конструктивные элементы, а также верхняя и нижняя части модуля являются базовыми элементами, выполненными в виде рамок, монтажные отверстия выполнены сквозными и расположены равномерно в плоскости рамки по периметру ее контура на одинаковом расстоянии от ее краев, имеются дополнительные сквозные монтажные отверстия, расположенные по углам рамки и находящиеся в точках пересечения линий расположения основных монтажных отверстий, две рамки, расположенные друг напротив друга, оснащены крепежными отверстиями, расположенными в плоскости рамки на определенном расстоянии от ее края, равном половине ее толщины, причем две другие рамки, также расположенные друг напротив друга, тоже оснащены крепежными отверстиями, расположенными на двух противоположных торцах в центре толщины стенки рамки, причем эти крепежные отверстия выполнены с возможностью сопряжения с крепежными отверстиями двух первых рамок.

2. Модуль по п. 1, отличающийся тем, что рамки выполнены прямоугольными.

3. Модуль по п. 1, отличающийся тем, что длина каждого противоположно расположенного конструктивного элемента больше длины каждой верхней и нижней частей модуля на две толщины ее стенки.

4. Модуль по п. 1, отличающийся тем, что рамки выполнены одинаковой толщины.

5. Модуль по п. 1, отличающийся тем, что ширина каемки каждой рамки выполнена одинаковой по всему ее периметру.

6. Модуль по п. 1, отличающийся тем, что оснащен уголками для крепления базовых элементов между собой.

7. Модуль по п. 1, отличающийся тем, что оснащен переходными панелями для крепления дополнительных элементов и фурнитуры.

8. Модуль по п. 1, отличающийся тем, что оснащен дополнительными элементами для создания видов мебели.

9. Модуль по п. 1, отличающийся тем, что является базовым элементом для создания мебельных конструкций с использованием дополнительных элементов.

10. Модуль по п. 1, отличающийся тем, что каждая рамка является самостоятельной единицей.

Описание

[1]

Заявленное техническое решение относится к удовлетворению жизненных потребностей человека, а именно к модульной мебели, состоящей из элементов, унифицированных для образования различных видов предметов обстановки жилых и общественных помещений.

[2]

Наиболее близким техническим решением (прототипом) является техническое решение по патенту РФ № 2639100, A47B 47/04, опубл. 19.12.2017 Бюл. № 35, содержащее мебельный модуль, образованный двумя противоположно расположенными конструктивными элементами, а также верхней частью и нижней частью, установленными на противоположных концах конструктивных элементов, посредством чего модуль образует несущую конструкцию, причем противоположные конструктивные элементы, а также верхняя и нижняя части выполнены с монтажными отверстиями, выполненными на одинаковом расстоянии друг от друга и предназначенными для прикрепления полок, ящиков, дверец и т.д.

[3]

Недостатки прототипа:

[4]

1) увеличенный вес собираемой мебели из-за монолитной конструкции панелей модуля;

[5]

2) ограниченные возможности использования мебельного модуля при перепроектировании корпусной мебели и невозможность его использования при сборке мягкой мебели;

[6]

3) ограниченные возможности размещения дополнительных переходных элементов (полок, ящиков, фурнитуры и т.д.);

[7]

4) невозможность создания разнообразных видом интерьера, в том числе имеющего элементы не ортогонального расположения в пространстве.

[8]

Технической проблемой, решаемой созданием нового устройства является то, что современный потребитель нуждается в универсальной модульной мебели, купив которую он приобретает безграничные возможности решать, в каком месте и что именно поставить в любой из жилых комнат квартиры, общественного помещения или различной зоны пребывания человека, т.е. мебели, напоминающей некий конструктор, элементы которого можно поменять местами, использовать по своему усмотрению в отдельности или составить собственные мебельные гарнитуры или создавать мягкую мебель, позволяя современному человеку проектировать индивидуальный дизайн предметов обстановки в соответствии с конкретными потребностями или пожеланиями.

[9]

Техническим результатом заявленного изобретения является создание универсальных и унифицированных облегченных и упрощенных мебельных модулей для использования в производстве мебели и предметах интерьера, также снижение себестоимости изготовления и стоимости перепроектирования, эксплуатации, изменения дизайна и ремонта мебели.

[10]

Технический результат достигается тем, что мебельный модуль, образованный двумя противоположно расположенными конструктивными элементами, а также верхней частью и нижней частью, установленными на противоположных концах конструктивных элементов, посредством чего модуль образует несущую конструкцию, причем противоположные конструктивные элементы, а также верхняя и нижняя части выполнены с монтажными отверстиями, расположенными на одинаковом расстоянии друг от друга и предназначенными для прикрепления дополнительных элементов, причем противоположно расположенные конструктивные элементы, а также верхняя и нижняя части модуля являются базовыми элементами, выполненными в виде рамок, монтажные отверстия выполнены сквозными и расположены равномерно в плоскости рамки по периметру ее контура на одинаковом расстоянии от ее краев, имеются дополнительные сквозные монтажные отверстия, расположенные по углам рамки и находящиеся в точках пересечении линий расположения основных монтажных отверстий, две рамки, расположенные друг напротив друга, оснащены крепежными отверстиями, расположенными на одинаковом расстоянии друг от друга и предназначенными для прикрепления полок, ящиков, дверец и т.д., причем противоположно расположенные конструктивные элементы, а также верхняя и нижняя части модуля являются базовыми элементами, выполненными в виде рамок, монтажные отверстия выполнены сквозными и расположены равномерно в плоскости рамки по периметру ее контура на одинаковом расстоянии от ее краев, имеются дополнительные сквозные монтажные отверстия, расположенные по углам рамки и находящиеся в точках пересечении линий расположения основных монтажных отверстий, две рамки, расположенные друг напротив друга, оснащены крепежными отверстиями, расположенными в плоскости рамки на определенном расстоянии от ее края, равного половине ее толщины, причем две другие рамки, также расположенные друг напротив друга, тоже оснащены крепежными отверстиями, расположенными на двух противоположных торцах в центре толщины стенки рамки, причем эти крепежные отверстия выполнены с возможностью сопряжения с крепежными отверстиями двух первых рамок. При этом рамки модуля выполнены прямоугольными. При этом длина каждого противоположно расположенного конструктивного элемента больше длины каждой верхней и нижней частей модуля на две толщины ее стенки. При этом рамки выполнены одинаковой толщины. При этом ширина каемки каждой рамки выполнена одинаковой по всему ее периметру. При этом модуль оснащен уголками для крепления базовых элементов между собой. При этом модуль оснащен переходным панелями для крепления дополнительных элементов и фурнитуры. При этом модуль оснащен дополнительными элементами для создания видов мебели. При этом модуль является базовым элементом для создания мебельных конструкций с использованием дополнительных элементов. При этом каждая рамка модуля является самостоятельной единицей.

[11]

Новыми существенными отличительными признаками заявляемого технического решения являются следующие признаки:

[12]

-противоположно расположенные конструктивные элементы, а также верхняя и нижняя части модуля являются базовыми элементами, выполненными в виде рамок;
-монтажные отверстия выполнены сквозными и расположены равномерно в плоскости рамки по периметру ее контура на одинаковом расстоянии от ее краев;
-имеются дополнительные сквозные монтажные отверстия, расположенные по углам рамки и находящиеся в точках пересечении линий расположения основных монтажных отверстий;
-две рамки, расположенные друг напротив друга, оснащены крепежными отверстиями, расположенными в плоскости рамки на определенном расстоянии от ее края, равного половине ее толщины, причем две другие рамки, также расположенные друг напротив друга, тоже оснащены крепежными отверстиями, расположенными на двух противоположных торцах в центре толщины стенки рамки, причем эти крепежные отверстия выполнены с возможностью сопряжения с крепежными отверстиями двух первых рамок.

[13]

Совокупность новых существенных отличительных признаков наряду с известными из уровня техники признаками достаточна для решения указанной технической проблемы и получения обеспечиваемого полезной моделью технического результата - создания универсальных и унифицированных облегченных мебельных модулей, используемых в производстве мебели и предметах интерьера.

[14]

Сущность предлагаемого изобретения, его реализуемость и возможность промышленного применения иллюстрируется чертежами (Фиг. 1, 2, 3, 4, 5, 6, 7, 8, 9, 10, 11, 12, 13, 14), где:

[15]

Фиг. 1 представляет собой вид на мебельный модуль в собранном состоянии в аксонометрии;

[16]

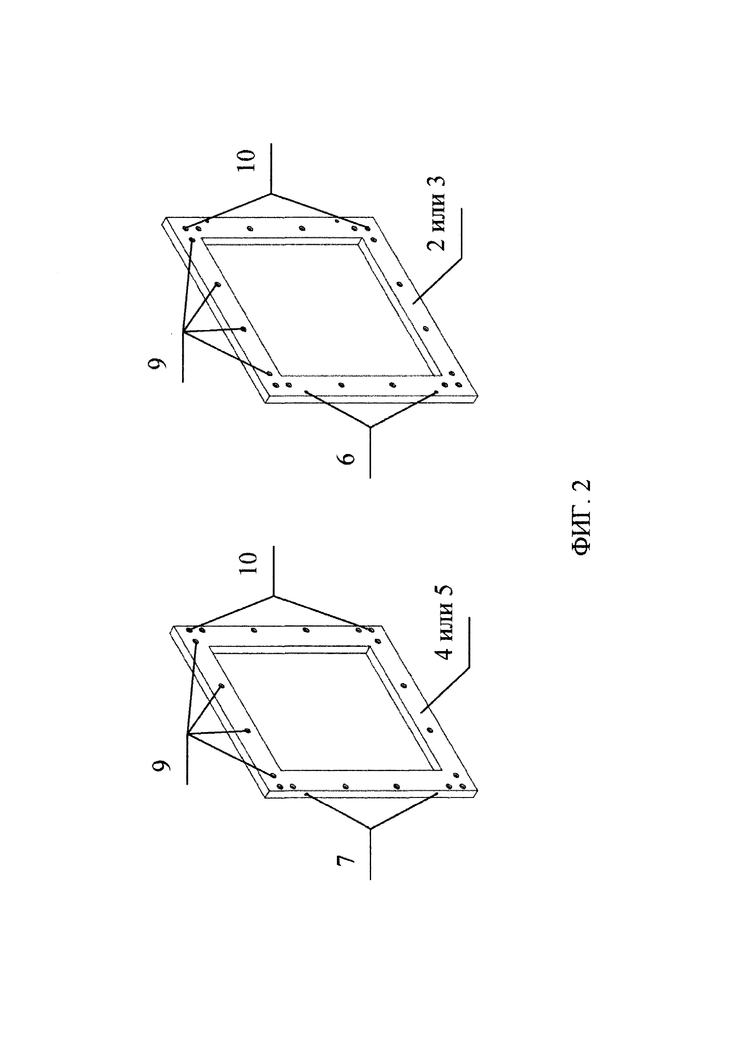
Фиг. 2 представляет собой вертикальную и горизонтальную рамки (базовые элементы рамочного типа) мебельного модуля;

[17]

Фиг. 3 представляет собой мебельный модуль в аксонометрии в собранном состоянии, который усилен уголком, монтируемым в отверстия;

[18]

Фиг. 4 представляет собой пример построения неперпендикулярных предметов мебели и интерьера с использованием базовых элементов рамочного типа;

[19]

Фиг. 5 представляет собой пример модуля шкафа в аксонометрии, собранного с использованием базовых элементов соответствующих размеров и установкой переходных панелей (плит) для крепления дверных петель;

[20]

Фиг. 6 представляет собой пример использования переходных панелей для создания угла между сопрягаемыми модулями;

[21]

Фиг. 7 представляет собой вариант сборки пуфа (с использованием модуля размером 400×400 мм);

[22]

Фиг. 8 представляет собойвариант сборки пуфа (с использованием дизайнерских подлокотников);

[23]

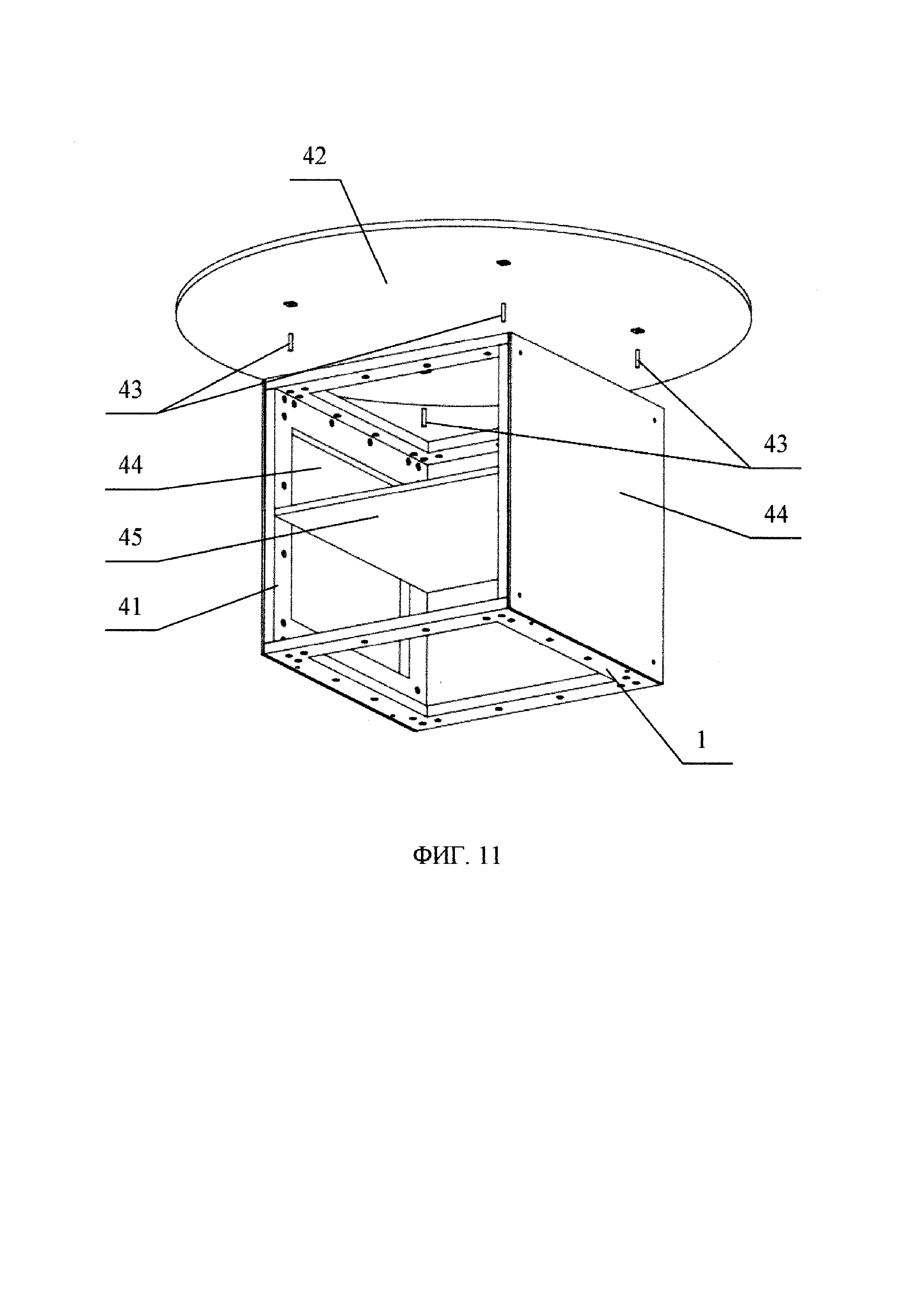
Фиг. 9 представляет собой пример сборки банкетки (с использованием базового горизонтального элемента размером 400×600 мм).

[24]

Фиг. 10 представляет собой пример сборки декоративной панели и кашпо;

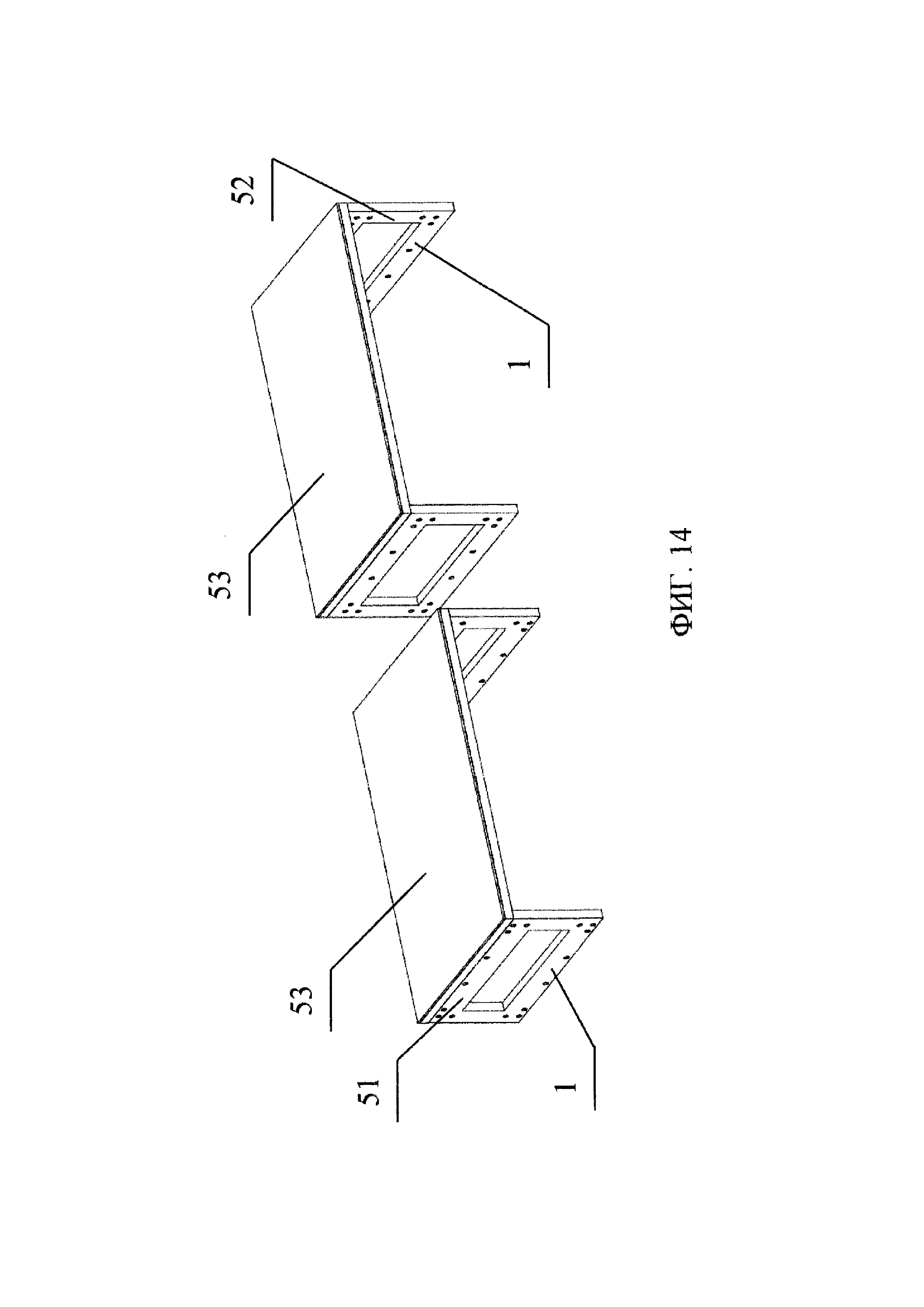
[25]

Фиг. 11 представляет собой пример сборки журнального столика;

[26]

Фиг. 12 представляет собой пример сборки различных видов корпусной мебели;

[27]

Фиг. 13 представляет собой пример сборки кровати из различных элементов и модулей;

[28]

Фиг. 14 представляет собой образец подставки под монитор.

[29]

На чертежах (Фиг. 1, 2, 3, 4, 5, 6, 7, 8, 9, 10, 11, 12, 13, 14) имеются следующие обозначения:

[30]

1мебельный модуль (каркас для мебели);
2базовый элемент рамочного типа прямоугольной формы;
3базовый элемент рамочного типа прямоугольной формы;
4базовый элемент рамочного типа прямоугольной формы;
5базовый элемент рамочного типа прямоугольной формы;
6крепежные отверстия;
7крепежные отверстия;
8усиливающие уголки;
9сквозные монтажные отверстия в стенках рамок модуля;
10дополнительные сквозные монтажные отверстия в стенках рамок модуля;
11брус;
12переходная панель;
13переходная панель;
14отверстия;
15переходная панель;
16переходная панель;
17пуф;
18крышка (сиденье);
19классический пуф;
20чехол тканевый;
21крепежные элементы;
22дно;
23пуф;
24стенка-панель;
25крепежные изделия;
26крепежные изделия;
27дно;
28пуф типа «честер»;
29подлокотники;
30дно;
31чехол;
32переходные плиты;
33петли;
34крепежные изделия;
35банкетка;
36ножки;
37декоративная панель;
38кашпо;
39декоративная стенка;
40крепежные изделия;
41журнальный столик;
42столешница;
43крепежные изделия;
44глухой фасад;
45полка;
46дополнительный элемент;
47дополнительный элемент;
48дополнительный элемент;
49дополнительный элемент;
50дополнительный элемент;
51, 52подставки;
53полка;
54монтажные отверстия.

[31]

Заявленное техническое решение, представленное на фиг. 1, 2, 3, 4, 5, 6, 7, 8, 9, 10, 11, 12, 13, 14, предназначенное для использования в корпусной мебели (шкафы, столы, этажерки, кровати и т.п.), мягкой мебели (банкетки, кресла, диваны, софы и т.п.) и предметах интерьера (кашпо, декоративные перегородки и панели, ширмы и т.п.), выполнено на основе мебельного модуля 1 (фиг. 1, 7, 8, 10, 11, 13, 14), собранного из двух противоположно расположенных конструктивных элементов 2, 3 (фиг. 1, 2, 3, 4) и двух противоположно расположенных частей (элементов) 4, 5 (верхней и нижней) - фиг. 1, 2, 3, 5, 9, 10. Элементы 2, 3, 4, 5 (фиг. 1, 2, 3, 4, 5, 9, 10) являются базовыми элементами, выполненными в виде прямоугольных рамок.

[32]

Элементы 2, 3 (Фиг. 1, 2, 3, 4), расположенные друг напротив друга, а также части (элементы) 4, 5 (Фиг. 1, 2, 3, 5, 9, 10), размещенные на противоположных концах сторон конструктивных элементов 2, 3 (Фиг. 1, 2, 3, 4), в совокупности образует прямоугольный несущий каркас (несущую конструкцию каркаса) мебельного модуля 1 (фиг. 1, 7, 8, 10, 11, 13, 14).

[33]

Две рамки 2, 3 (фиг. 1, 2, 3, 4), расположенные друг напротив друга, оснащены крепежными отверстиями 6 (фиг. 2, 3), расположенными в плоскости рамки на определенном расстоянии от ее края, равного половине ее толщины, причем две другие рамки 4, 5 (фиг. 1, 2, 3, 5, 9, 10), также расположенные друг напротив друга, тоже оснащены крепежными отверстиями 7 (фиг. 2), расположенными на двух противоположных торцах в центре толщины стенки рамки, причем эти крепежные отверстия выполнены с возможностью сопряжения с крепежными отверстиями 6 (фиг. 2, 3) двух первых рамок 2, 3 (фиг. 1, 2, 3, 4).

[34]

Также имеется возможность дополнительного крепления (фиксирования) базовых элементов 2, 3 и 4, 5 (фиг. 1, 2, 3, 5, 9, 10) между собой при помощи усиливающих уголков 8 (фиг. 3, 8) посредством отверстий 10 (фиг. 2, 3), что повышает прочность мебельного модуля 1 (фиг. 1, 7, 8, 10, 11, 13, 14).

[35]

В плоскостях стенок рамок 2, 3, 4, 5 (фиг. 1, 2, 3, 4, 5, 9, 10) модуля 1 (фиг. 1, 7, 8, 10, 11, 13, 14) по периметру их контура на одинаковом расстоянии от их краев равномерно расположены сквозные монтажные отверстия 9 (фиг. 1, 2, 3) круглой формы, а также имеются дополнительные сквозные монтажные отверстия 10 (фиг. 2, 3) круглой формы, расположенные по углам рамок и находящиеся в точках пересечения линий расположения основных монтажных отверстий 9 (фиг. 1, 2, 3).

[36]

Может быть использована любая другая подходящая форма сквозных монтажных отверстий 9, 10 (фиг. 1, 2, 3).

[37]

Так как отверстия 9, 10 симметрично расположены в плоскости базовых элементов 2, 3, 4, 5 (фиг. 1, 2, 3, 4, 5, 9, 10), то они также симметрично расположены на всех стенках заявленного модуля 1 (фиг. 1, 7, 8, 10, 11, 13, 14), что обеспечивает широкий спектр возможностей для крепления модулей 1 и установки дополнительных элементов (конструкционных, усиливающих, переходных, фурнитуры, фасадов и т.д.). Шаг (М) (на фиг. не показан) сквозных монтажных отверстий 9 (фиг. 1, 2, 3) сохраняется независимо от количества сопрягаемых модулей.

[38]

Основной (стандартный) шаг сквозных монтажных отверстий 9 базовых элементов 2, 3, 4, 5 (фиг. 1, 2, 3, 4, 5, 9, 10) определяется стандартными размерами модулей 1 (фиг. 1, 7, 8, 10, 11, 13, 14) и составляет 100 мм с отступом первого (условного) монтажного отверстия 9 (фиг. 2, 3) от края базового элемента условно собранного модуля, равным 50 мм.

[39]

Несколько модулей 1 (фиг. 1, 7, 8, 10, 11, 13, 14) можно размещать бок о бок и /или друг над другом с образованием более крупного блока с формированием мебели разных размеров и конструкций. Стандартизованные модули 1 можно комбинировать по разному в зависимости от конечного предмета мебели или обстановки.

[40]

Каждый (например, вертикальный) элемент 2, 3 (фиг. 1, 2, 3, 4) отличается от каждого из (например, горизонтального) элемента 4, 5 (фиг. 1, 2, 3, 5, 9, 10) тем, что длина вертикального элемента меньше длины горизонтального элемента на две толщины его стенки, что необходимо для обеспечения пространственной симметрии модуля 1 (фиг. 1, 7, 8, 10, 11, 13, 14).

[41]

Ширина каемки (на фиг. не показана) каждой рамки 2, 3, 4, 5 (фиг. 1, 2, 3, 4, 5, 9, 10) выполнена одинаковой по всему ее периметру.

[42]

Добиться изменения геометрических размеров и формы (куб, параллелепипед) модуля 1 можно заменой (например, вертикальных или горизонтальных) элементов 2, 3, 4, 5.

[43]

Геометрические размеры базовых горизонтальных элементов 4, 5 (фиг. 1, 2, 3, 5, 9, 10) можно выбрать, например, с шагом, составляющим 200 мм, из следующего ряда размеров (мм): 200×400; 400×400; 600×400 и т.д. 200×600; 400×600; 600×600 и т.д.

[44]

Геометрические размеры базовых вертикальных элементов 2, 3 (фиг. 1, 2, 3, 4) можно выбрать из следующего ряда размеров (мм), например: 168×400; 368×400; 568×400 и т.д.

[45]

Базовые элементы 2, 3, 4, 5 (фиг. 1, 2, 3, 4, 5, 9, 10) имеют одинаковую толщину, т.к. в случае использования различных толщин стенок базовых элементов снижается универсальность конструкции и усложняется сборка модуля 1 (фиг. 1, 7, 8, 10, 11, 13, 14).

[46]

Материал, используемый для изготовления базовых элементов 2, 3, 4, 5, (фиг. 1, 2, 3, 4, 5, 9, 10) важен с точки зрения его толщины, т.к. он должен предотвращать прогиб рамок модуля 1 (фиг. 1, 7, 8, 10, 11, 13, 14) в процессе эксплуатации мебельной конструкции.

[47]

Материалом базовых элементов 2, 3, 4, 5 (фиг. 1, 2, 3, 4, 5, 9, 10) является фанера, обеспечивающая легкость и прочность конструкции модуля 1 (фиг. 1, 7, 8, 10, 11, 13, 14). Также базовые элементы 2, 3, 4, 5 (фиг. 1, 2, 3, 4, 5, 9, 10) могут быть изготовлены из обладающих необходимой механической прочностью материалов, например, из дерева, пластмассы, металла и др.

[48]

При изготовлении базовых элементов 2, 3, 4, 5 из массива дерева, фанеры и других пиломатериалов предпочтительно выбирать значения их толщин, которые соответствуют номинальным значениям для ЛДСП (ламинированная древесно-стружечная плита) и фанеры, начиная с 12 мм. С точки зрения унификации, наиболее оптимальным является использование пиломатериалов с толщиной стенки 15 мм (фанера) и /или 16 мм (ЛДСП или мебельный щит и др.). В случае использования меньших толщин базовых элементов 2, 3, 4, 5 невозможно обеспечить необходимую прочность их стенок.

[49]

При использовании более прочных материалов при изготовлении рамок 2, 3, 4, 5, например, из металла, композитных материалов, необходимый уровень прочности заявленного модуля 1 (фиг. 1, 7, 8, 10, 11, 13, 14) может быть достигнут и при меньших значениях толщин базовых элементов 2, 3, 4, 5 (фиг. 1, 2, 3, 4, 5, 9, 10).

[50]

Максимальная унификация и универсальность базовых элементов 2, 3, 4, 5 обеспечиваются при следующих условиях:

[51]

- толщина стенок базовых элементов 2, 3, 4, 5 составляет 15 мм или16 мм;

[52]

- использование вертикальных и горизонтальных элементов 2, 3, 4, 5 с равными толщинами;

[53]

- расположение крепежных отверстий 7 (фиг. 2) в торцах вертикальных элементов по осевой линии.

[54]

Основное функциональное назначение модулей 1 (фиг. 1, 7, 8, 10, 11, 13, 14) рамочного типа и сборной мебели на их основе - это создание несущей конструкции и придание основных форм и очертаний сборочным мебельным единицам. Модули 1 можно устанавливать на поверхность как торцом рамы базового элемента, так и плоскостью. Каждая рамка модуля 1 может применяться в качестве самостоятельной единицы.

[55]

При необходимости, рамочные конструкции 2, 3, 4, 5 (фиг. 1, 2, 3, 4, 5, 9, 10) могут быть усилены установкой конструкционных и усиливающих элементов, например, стоек, перекладин, балок, уголков и т.п. (на фиг. не показаны). Соединения возможно осуществлять на всех стенках (поверхностях) модуля 1 (фиг. 1, 7, 8, 10, 11, 13, 14) со сквозными отверстиями 9, 10 (фиг. 1, 2, 3) с применением дополнительных элементов 8 (фиг. 3, 8).

[56]

Для создания модульных сборок сложной конфигурации с неперпендикулярными плоскостями достаточно использовать оригинальные конструктивные элементы 11 (фиг. 4) с не ортогональным расположением поверхностей, например, уголки, панели, балки. При этом исключается необходимость внесения изменений в конструкцию базовых элементов 2, 3, 4, 5 (фиг. 1, 2, 3, 4, 5, 9, 10) модулей 1 (фиг. 1, 7, 8, 10, 11, 13, 14), позволяя сохранить их высокую универсальность.

[57]

Рамочная конструкция исходных модулей 1 не позволяет создавать сборки с замкнутыми пространствами и глухими стенками без применения дополнительных элементов в виде стенок, панелей, фасадов, элементов декора и дизайнерских сборок. В то же время наличие прочного модульного каркаса позволяет применять для изготовления сборок более дешевые и тонкие материалы (например, ДВП и тканевые чехлы, вместо монолитных деталей из фанеры и ЛДСП). В сочетании с использованием деталей оригинальных форм и конструкций (переходных панелей, конструкционных элементов с неортогональными плоскостями) появляются неограниченные возможности для перепроектирования и создания индивидуальных дизайнерских решений на основе стандартных модулей и базовых элементов.

[58]

Благодаря наличию в стенках базовых элементах 2, 3, 4, 5 (фиг. 1, 2, 3, 4, 5, 9, 10) симметрично расположенных в пространстве отверстий 9, 10 (фиг. 1, 2, 3) обеспечивается высокая скорость сборки мебели и ее простота.

[59]

Отсутствие оригинальных элементов крепления и использованиестандартных крепежных изделий существенно повышает унификацию и универсальность деталей 2, 3, 4, 5 (фиг. 1, 2, 3, 4, 5, 9, 10) модуля 1 (фиг. 1, 7, 8, 10, 11, 13, 14).

[60]

Изменение шага отверстий для крепления дополнительных элементов и фурнитуры (петель, роликовых и телескопических направляющих и т.д.) обеспечивается применением переходных панелей 12,13 (фиг. 5) со стандартными отверстиями крепления панели к модулю и индивидуальных отверстий крепления дополнительных элементов фурнитуры к панели.

[61]

Другие переходные панели 15, 16 (фиг. 6) могут использоваться также для задания угла между сопрягаемыми модулями и модулей с дополнительными элементами, что создает неограниченные возможности для создания индивидуальных дизайнерских решений. При этом формы переходных панелей 15, 16 и конфигурации монтажных отверстий (на фиг. не показаны) могут быть различными.

[62]

Возможность осуществления заявленного технического решения подтверждается чертежами:

[63]

Сборку мебельного модуля 1 (фиг. 1, 7, 8, 10, 11, 13, 14), представленного на Фиг. 1, осуществляют на основе базовых элементов 2,3,4,5 (фиг. 1, 2, 3, 4, 5, 9, 10) в виде рамок, которые представлены на Фиг. 2.

[64]

Возможные варианты сборки модуля 1 (фиг. 1, 7, 8, 10, 11, 13, 14) на основе базовых элементов 2, 3, 4, 5 (фиг. 1, 2, 3, 4, 5, 9, 10) представлены на Фиг. 1, 3, 4.

[65]

Для упрочнения конструкции модуля 1 (фиг. 1, 7, 8, 10, 11, 13, 14) можно использовать дополнительные уголки 8 (фиг. 3, 8) усиления (Фиг. 3), которые монтируют в стандартные отверстия 10 (фиг. 2, 3).

[66]

Пример создания неортогональной сборки модуля 1 (фиг. 1, 7, 8, 10, 11, 13, 14) на основе бруса 11 (фиг. 4) с неперпендикулярной торцевой стороной представлен на Фиг. 4.

[67]

Возможность создания мебели из модулей 1 (фиг. 1, 7, 8, 10, 11, 13, 14) с использованием переходных панелей 12, 13 (фиг. 5) демонстрируется на Фиг. 5 (пример изготовления шкафа).

[68]

Переходные панели 12, 13 крепят с помощью монтажных отверстий 54 к вертикальным стенкам 2 или 3 (фиг. 1, 2, 3, 4) шкафа (на фиг. не показан), а к отверстиям 14 (фиг. 5) осуществляют крепление дверных петель (на фиг. не показаны).

[69]

На Фиг. 6 представлен пример использования переходных панелей 15,16 (фиг. 6), используемых при монтаже сопрягаемых модулей 1 (фиг. 1, 7, 8, 10, 11, 13, 14) под определенным углом друг к другу, что создает неограниченные возможности для создания индивидуальных дизайнерских решений.

[70]

На фиг. 7, 8, 9, 10, 11, 12, 13 представлены варианты сборки различных видов мебели и предметов интерьера с использованием базовых элементов 2, 3, 4, 5 (фиг. 1, 2, 3, 4, 5, 9, 10) и модулей 1 (фиг. 1, 7, 8, 10, 11, 13, 14).

[71]

На фиг. 7, 8 представлены варианты сборки пуфа 17 с использованием модуля 1 размером 400×400 мм:

[72]

1) упрощенная рамная конструкция пуфа 17 в стиле «лофт», где на модуль 1 установлена декоративная крышка (сиденье) 18 (фиг. 7, 8, 9) с мягким основанием, что образует максимально простую и дешевую конструкцию;

[73]

2) максимально простая и дешевая конструкция классического пуфа 19 (фиг. 7) с использованием внутреннего пространства в качестве ящика для хранения вещей, где на модуль 1 (фиг. 1, 7, 8, 10, 11, 13, 14) установлена декоративная крышка (сиденье) 18 (фиг. 7, 8, 9) с мягким основанием. На модуль 1 (фиг. 1, 7, 8, 10, 11, 13, 14) надевают тканевый чехол 20 (фиг. 7). Снизу посредством стандартных крепежных элементов 21 устанавливают дно 22;

[74]

3) конструкция пуфа 23, где вместо тканевого чехла 20 сборку ящика осуществляют с использованием боковых стенок - панелей 24, которые крепят к модулю 1 (фиг. 1, 7, 8, 10, 11, 13, 14) с использованием стандартных крепежных изделий 25 (фиг. 7). При этом сменой легко монтируемых стенок-панелей 24 можно добиться изменения вида и стиля пуфа 23. Снизу посредством стандартных крепежных элементов 26 устанавливают дно 27.

[75]

Стенки-панели 24 могут быть изготовлены из различных материалов с гладкой поверхностью с нанесением плоских и рельефных рисунков (с использованием методов гравирования, выжигания, полиграфии, фрезерования и т.п.), а также иметь мягкую поверхность.

[76]

На Фиг. 8 представлен пример сборки пуфа 28 (фиг. 8) типа «честер» с подлокотниками 29, которые крепят к модулю 1 (фиг. 1, 7, 8, 9, 10, 11, 13, 14). Снизу к модулю 1 крепят трехсторонние уголки 8 (фиг. 3, 8), на которые затем устанавливают дно 30 (фиг. 8). Каркас модуля 1 (фиг. 1, 7, 8, 10, 11, 13, 14) закрывают чехлом 31 (фиг. 8). Сверху на каркас модуля 1 (фиг. 1, 7, 8, 10, 11, 13, 14) устанавливают переходные плиты 32 (фиг. 8) с установленными на них петлями 33, на которые крепят крышку 18 (фиг. 7, 8, 9).

[77]

Все соединения конструктивных элементов осуществляют с применением стандартных крепежных изделий 34 (фиг. 8).

[78]

Пример сборки банкетки 35 (фиг. 9) с использованием базового элемента 4 или 5 (фиг. 1, 2, 3, 5, 9, 10) размером 400×600, на который устанавливают два сиденья 18 (фиг. 7, 8, 9) и четыре ножки 36 (фиг. 9) представлен на Фиг. 9.

[79]

Варианты сборки предметов интерьера (декоративной панели 37 (фиг.10) и кашпо 38) представлены на Фиг. 10. При этом к базовому элементу 4 или 5 (фиг. 1, 2, 3, 5, 9, 10) крепят декоративную стенку 39 (фиг. 10) с использованием крепежных изделий 40. На другом рисунке (Фиг. 10) к модулю 1 (фиг. 1, 7, 8, 10, 11, 13, 14) декоративные элементы 39 (фиг. 10) крепят с четырех сторон.

[80]

Вариант изготовления журнального столика 41 (фиг. 11) представлен на Фиг. 11. Столешницу 42 журнального столика 41 крепят к модулю 1 (фиг. 1, 7, 8, 10, 11, 13, 14) при помощи крепежа 43 (фиг. 11). По бокам каркаса модуля 1 (фиг. 1, 7, 8, 10, 11, 13, 14) крепят глухие фасады 44 (фиг. 11), а с внутренней стороны на стенки 4 или 5 (фиг. 1, 2, 3, 5, 9, 10) устанавливают полку 45 (фиг. 11).

[81]

Различные сборки и компоновки модулей 1 (фиг. 1, 7, 8, 10, 11, 13, 14) и дополнительных элементов 46,47,48,49,50 (фиг. 12) для сборки шкафов и этажерок представлены на Фиг. 12.

[82]

Различные модульные комбинации для сборки кроватей представлены на Фиг. 13.

[83]

На Фиг. 14 - образец подставок 51, 52 (фиг. 14) для мониторов с использованием одного модуля 1 (фиг. 1, 7, 8, 10, 11, 13, 14) и полки 53 (фиг. 14).

[84]

В отличие от прототипа, где модуль собираемой мебели имеет увеличенный вес из-за монолитной конструкции панелей модуля, предложенное техническое решение имеет облегченную конструкцию (сниженный вес), что снижает себестоимость изготовления, а также - стоимость перепроектирования в процессе эксплуатации, изменения дизайна и ремонта мебели; облегчается производство и сборка модульных конструкций.

[85]

В отличие от прототипа, характеризующегося ограниченными возможностями использования мебельного модуля при перепроектировании корпусной мебели и невозможностью его использования при сборке мягкой мебели, предложенное техническое решение позволяет использовать один или несколько модулей или их базовых элементов при создании универсальной и унифицированной корпусной мебели (шкафов, столов, этажерок, кроватей и т.д.), а также предметов интерьера (кашпо, декоративных перегородок, панелей, ширм и т.п.), мягкой мебели (пуфов, банкеток, кресел, диванов, соф и т.д.).

[86]

В отличие от прототипа, характеризующегося ограниченными возможностями, предложенное техническое решение позволяет крепить на модуль дополнительные элементы (столешницы, декоративные крышки/сиденья, переходные панели и т.п.), образуя различные виды мебели.

[87]

В предложенном техническом решении:

[88]

- модули собираются из взаимозаменяемых и совместимых базовых элементов рамочного типа;

[89]

- сопряжение модулей и/или других элементов может обеспечиваться как непосредственно, так и с помощью переходных плит;

[90]

- ряды и шаги сквозных монтажных отверстий расположены таким образом, что обеспечивается абсолютная симметричность их расположения как в плоскости рамы базового элемента, так и в трехмерном объеме модуля;

[91]

- монтажные отверстия расположены таким образом, что основной шаг между ними сохраняется независимо от количества сопрягаемых модулей;

[92]

- внешний вид, стиль и дизайн мебели обеспечивается принципом построения модульной мебели и формируется базовыми элементами, сопрягаемыми с переходными плитами, элементами декора и фасадами, представляющими отдельные единицы модульной конструкции.

[93]

В предложенном техническом решении модули собираются из взаимозаменяемых и совместимых базовых элементов рамочного типа, где сопряжение модулей и/или других элементов обеспечивается непосредственно самими модулями или с помощью переходных плит. Использование упрощенной конструкции базовых элементов и стандартных переходных плит, для сборки которых между собой требуются стандартные крепежные изделия, способствует унификации и универсальности заявленного технического решения.

[94]

Наряду с изложенным, универсальность и унифицированность предложенного технического решения заключается также в том, что модульный принцип можно использовать в некоторых архитектурных и строительных конструкциях (перегородках, лесах, ограждающих конструкциях и т.п.).

[95]

Осуществление предложенного изобретения позволяет решить заявленную техническую проблему и обеспечить достижение заявленного технического результата.

[96]

Предложенное техническое решение, имеющее конструктивное единство, реализует общее функциональное назначение (функциональное единство).

[97]

В уровне техники не обнаружен аналог, характеризующийся признаками, идентичными всем существенным признакам заявленного изобретения.

[98]

Заявитель апробировал (испытал) предложенное устройство, что подтвердило назначение, реализуемость и работоспособность, в связи с чем заявленная полезная модель соответствует условию патентоспособности "промышленная применимость».

Как компенсировать расходы
на инновационную разработку
Похожие патенты