Способ производства выстрела из баллистической установки с использованием кумулятивного и гидродинамического эффекта, при котором инициируют пороховой заряд, создают давление метающего газа для перемещения по штоку баллистической установки гильзы с присоединенным зарядом в сторону ствола с установленным в нем снарядом. Присоединенный заряд содержит две кумулятивные воронки. При движении гильзы от метающих газов воспламеняется топливо. При достижении конического канала установки кумулятивные воронки присоединенного заряда формируют кумулятивную струю горящего топлива для воздействия на снаряд. Технический результат - увеличение дульной скорости снаряда. 10 ил.
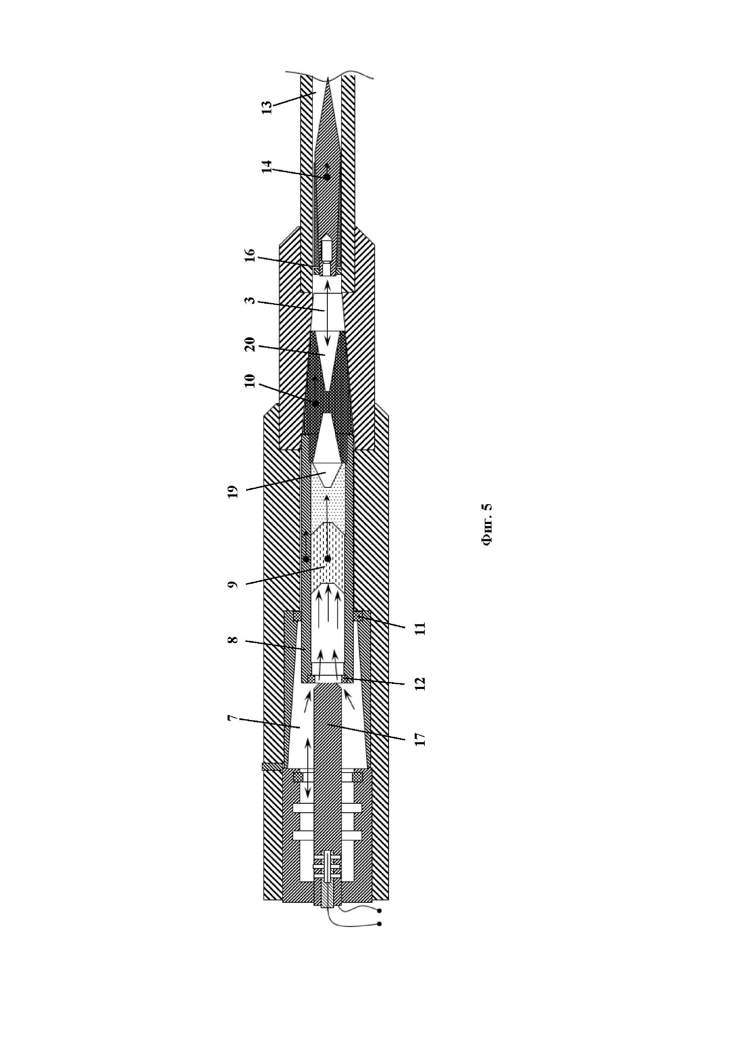
Способ производства выстрела из баллистической установки, при котором инициируют пороховой заряд 4, создают давление метающего газа для перемещения гильзы 8 с присоединенным зарядом 10 в сторону ствола 13 с установленным в нем снарядом 14, при этом, в результате ускоренного движения гильзы 8 с присоединенным зарядом 10 и снарядом 14 относительно топлива 9, размещённого в гильзе 8, формируется волна разряжения, а в окрестности кумулятивной воронки 19 и дна присоединённого заряда 10 образуется вакуум, при этом часть топлива 9, в результате понижения давления, испаряется внутрь кавитационных пузырьков, которые, увеличиваясь в размерах и сливаясь, формируют кавитационную полость, при этом, в результате выхода гильзы 8 из зацепления со штоком 17, давление метающего газа используется для разгона топлива 9 в сторону присоединённого заряда 10, его воспламенения с последующим горением топлива 9, при этом при перемещении присоединенного заряда 10 через конический канал 3 он испытывает деформацию и получает приращение скорости, при этом кавитационная полость схлопывается, при этом топливо 9 вызывает ударное нагружение стенок кумулятивной воронки 19 и дна присоединённого заряда 10, при этом топливо 9 заполняет объём кумулятивной воронки 19 присоединённого заряда 10, при этом происходит смесеобразование топлива 9 с сжатым при деформации кумулятивной воронки 19 присоединённого заряда 10 газом, при этом формируется кумулятивная струя горящего жидкого топлива 9, которую используют для воздействия на снаряд 13 с ведущим устройством 16, при этом обжимается коническая облицовка 20 присоединённого заряда 10 и формирует канал в присоединённом заряде 10, при этом значительно возрастают давление и температура сжатых газов в заснарядном объёме, при этом скорость снаряда 14 с ведущим устройством 16 увеличивается.
Изобретение относится к баллистическим установкам высокоскоростного метания. Известен способ метания из ствольной пороховой баллистической установки, включающий размещение порохового заряда в ее зарядной камере, введение в установку метаемого объекта, инициирование заряда и метаемый объект установленный в стволе на расстоянии 2400 мм от выхода из зарядной камеры (см., на пример, патент РФ №2613639, МПК F41F 1/00 от 16.10.2015). Основным недостатком данного способа метания является то, что не реализован механизм снижения пиковых давлений метающего газа действующего на баллистическую установку. Известен способ производства выстрела из безгильзового оружия, где подают газ(ы) под давлением в область пониженного давления с последующей детонацией парогазовой смеси. (см., на пример, патент РФ №2766614, МПК F41B 11/00 от 07.06.2021). Основным недостатком данного способа производства выстрела является то, что не реализован нагрев газов перед подачей их в область пониженного давления. Известна также методика проектного синтеза баллистических установок с гидродинамическим эффектом на основе генетического алгоритма (см., DOI: 10.18698/0236-3941-2016-4-128-143, ISSN 0236-3941. Вестник МГТУ им. Н.Э. Баумана. Сер. Машиностроение. 2016. № 4), данная работа выбрана в качестве прототипа. Основным недостатком данного способа метания является то, что не реализован механизм снижения пиковых давлений метающего газа действующего на баллистическую установку. Технический результат заключается в увеличение дульной скорости снаряда без повышения максимального давления метающего газа действующего на баллистическую установку. Технический результат достигается за счет производства выстрела из баллистической установки, при котором инициируют пороховой заряд, создают давление метающего газа для перемещения гильзы с присоединенным зарядом в сторону ствола с установленным в нем снарядом. При этом, в результате ускоренного движения гильзы с присоединенным зарядом и снарядом относительно топлива, размещённого в гильзе, формируется волна разряжения, а в окрестности кумулятивной воронки и дна присоединённого заряда образуется вакуум. При этом, часть топлива, в результате понижения давления, испаряется во внутрь кавитационных пузырьков которые увеличиваясь в размерах и сливаясь формируют кавитационную полость. При этом, в результате выхода гильзы из зацепления со штоком, давление метающего газа используется для разгона топлива, в сторону присоединённого заряда, его воспламенения с последующим горением топлива. При этом при перемещении присоединенного заряда, через конический канал, он испытывает деформацию и получает приращение скорости. При этом, кавитационная полость схлопывается. При этом топливо 9 вызывает ударное нагружение стенок кумулятивной воронки и дна присоединённого заряда. При этом, топливо заполняет объём кумулятивной воронки присоединённого заряда. При этом, происходит смесеобразование топлива с сжатым, при деформации кумулятивной воронки присоединённого заряда, газом. При этом, формируется кумулятивная струя горящего жидкого топлива, которую используют для воздействия на снаряд с ведущим устройством. При этом, обжимается коническая облицовка присоединённого заряда и формирует канал в присоединённом заряде, при этом, значительно возрастает давление и температура сжатых газов в заснарядном объёме. При этом скорость снаряда с ведущим устройством увеличивается. Технические решения с признаками, отличающими заявляемые решения от прототипов, не известны и явный образом из уровня техники не следуют. На основании изложенного можно сделать вывод, что предлагаемое техническое решение обладает «новизной» и «изобретательским уровнем». Сущность изобретения поясняется чертежами, где: на фиг.1 - показана принципиальная схема устройства в момент заправки окислителем; на фиг.2 - показана принципиальная схема устройства в момент воспламенения пороха; на фиг.3 - показана принципиальная схема устройства в момент воспламенения высокоплотного топлива; на фиг.4 - показана принципиальная схема устройства в момент горения пороха и высокоплотного топлива в среде окислителя; на фиг.5 - показана принципиальная схема устройства в момент выхода гильзы из зацепления со штоком; на фиг.6 - показана принципиальная схема устройства в момент формирования кумулятивной струи топлива; на фиг.7 - показана принципиальная схема устройства в момент когда присоединённый заряд получает приращение скорости; на фиг.8 - показана принципиальная схема устройства в момент выноса частичек присоединённого заряда и распыления топлива в заснарядном объёме; на фиг.9 - показана принципиальная схема устройства в момент послойного горения присоединённого заряда и запуска МИРД; на фиг.10 - показана принципиальная схема устройства в момент отделения ведущего устройства от снаряда. Устройство способа производства выстрела из баллистической установки состоит из следующих элементов: - корпус 1 баллистической установки, - цилиндрическая часть 2 корпуса 1, - конический канал 3, - порох 4, - плазматрон 5, - канал 6 подачи окислителя, - уширение 7 цилиндрической части 2, - гильза 8, - топливо 9, - присоединённый заряд 10, - манжета 11, - манжета 12 гильзы 8, - канал ствола 13, - снаряд 14, - малогабаритный импульсный реактивный двигатель (МИРД) 15, - ведущее устройство 16, - шток 17, - высокоплотное топливо 18, - кумулятивная воронка 19 присоединённого заряда 10, - коническая облицовка 20 присоединённого заряда 10, - волна разряжения 21, - вакуум 22. Способ производства выстрела из баллистической установки реализуется следующим образом. Перед производством выстрела (См. фиг. 1) осуществляется заправка баллистической установки окислителем (в сжиженном либо в газообразном агрегатном состоянии) по каналу канал 6 подачи окислителя в объём образованный стенками: уширения 7 цилиндрической части 2, манжеты 11, гильзы 8 и манжеты 11. С последующей герметизацией канала 6 подачи окислителя. При этом, со стороны казённой части, размещён порох 4, в штоке 17 выполнен плазматрон 5 (электротермохимической технологии воспламенения пороха). При этом порох 4 изолирован манжетой 12 гильзы 8 от топлива 9 (в жидком либо пастообразном агрегатном состоянии), а от окислителя, находящегося в уширении 7 цилиндрической части 2, манжетой 11. При этом, между порохом 4 и манжетой 11 размещено высокоплотное топливо 18. При этом, внутренний объём гильзы 8 заполнен топливом 9. При этом, в гильзе 8, со стороны конического канала 3, закреплён присоединённый заряд 10. Присоединённый заряд 10 (См. фиг. 3) размещён в пластиковом контейнере (нумерация не присвоена), изготовленном методом послойного наплавления SBS-пластика. В пластиковом контейнере, со стороны штока 17, выполнена кумулятивная воронка 19 присоединённого заряда 10, а со стороны канала ствола 13 коническая облицовка 20 присоединённого заряда 10. Данный контейнер необходим для предотвращения воспламенения присоединённого заряда 10 по боковой поверхности при движении по цилиндрической части 2 корпуса 1, коническому каналу 3 и каналу ствола 13. Стенки кумулятивной воронки 19 присоединённого заряда 10 могут быть изготовлены методом послойного наплавления SBS-пластика либо выполнены из металла. При этом, внутренний объём кумулятивной воронки 19 присоединённого заряда 10 заполнен горючим или инертным газом. При этом, объём образованный стенками: цилиндрической части 2 корпуса 1, конической облицовки 20 присоединённого заряда 10, конического канала 3, канала ствола 13, ведущего устройства 16 и дном снаряда 14 заполнен горючим либо инертным газом. Для производства выстрела (с использованием электротермохимической технологии воспламенения пороха) (См. фиг. 2) подаётся напряжение на плазматрон 5. Плазматрон 5 воспламеняет порох 4. Пороховые газы давят на дно гильзы 8. При этом, манжета 12 гильзы 8 не пропускает пороховые газы во внутренний объём гильзы 8. В результате воздействия давления пороховых газов на дно гильзы 8, гильза 8 с присоединённым зарядом 10 начинает движение, по цилиндрической части 2 корпуса 1, в сторону конического канала 3. В результате высокого давления и температуры пороховых газов (См. фиг. 3) загорается высокоплотное топливо 18. Сгорание продуктов горения пороха и высокоплотного топлива 18 (См. фиг. 4) происходит в уширение 7 цилиндрической части 2 в среде окислителя. Давление метающего газа (См. фиг. 2-4), образованное в результате воспламенения, горения пороха 4 и высокоплотного топлива 18 с последующим их сгоранием в среде окислителя, выталкивает сборку, состоящую из: гильзы 8 с манжетой 12, топлива 9 и присоединённого заряда 10, по цилиндрической части 2 корпуса 1 в сторону конического канала 3. При этом, в результате ускоренного движения сборки и разности скоростей гильзы 8 и присоединённого заряда 10 относительно топлива 9, формируется волна разряжения, а в окрестности кумулятивной воронки 19 присоединённого заряда 10 и дна присоединённого заряда 10 образуется вакуум. При этом, часть топлива 9, в результате понижения давления, испаряется во внутрь кавитационных пузырьков которые увеличиваясь в размерах и сливаясь формируют кавитационную полость. При этом, присоединённый заряд 10 вытесняет газ из цилиндрической части 2 корпуса 1 в конический канал 3. При этом, в результате уменьшения заснарядного объёма, возрастает температура и давление газа в этом объёме образованным стенками: конического канала 3, присоединённого заряда 10, конической облицовки 20 присоединённого заряда 10, канала ствола 13, ведущего устройства 16 и снаряда 14. В результате выхода гильзы 8 из зацепления со штоком 17 (См. фиг. 5), давление метающего газа используется для разгона топлива 9 в сторону присоединённого заряда 10. При этом, топливо 9 воспламеняется от воздействия высокого давления и температуры метающих газов. При этом, происходит послойное горение диспергированных частиц топлива 9. При этом, при прохождении конического канала 3, присоединённый заряд 10 испытывает деформацию, При этом, обжимается коническая облицовка 20 присоединённого заряда 10. При этом, значительно возрастает давление и температура сжатых газов в заснарядном объёме. При этом, снаряд 14 с ведущим устройством 16 начинает движение по каналу ствола 13. При этом (См. фиг. 6), кавитационная полость схлопывается. При этом топливо 9 вызывает ударное нагружение стенок кумулятивной воронки 19 присоединённого заряда 10 и дна присоединённого заряда 10. При этом, стенки кумулятивной воронки 19 присоединённого заряда 10 деформируются, топливо 9 заполняет объём кумулятивной воронки 19 присоединённого заряда 10. При этом, происходит смесеобразование топлива 9 с сжатым, при деформации кумулятивной воронки 19 присоединённого заряда 10, газом. При этом формируется кумулятивная струя топлива 9. При этом гильза 8, при движении по коническому каналу 3, обжимается стенками конического канала 3. При этом происходит обтюрация конического канала 3 гильзой 8 и остановка гильзы 8. При этом присоединённый заряд 10 выходит из зацепления с гильзой 8. При прохождении конического канала 3 (См. фиг. 4-7) присоединённый заряд 10 испытывает деформацию и получает приращение скорости. При этом обжимается коническая облицовка 20 присоединённого заряда 10 и формирует канал в присоединённом заряде 10. При этом, значительно возрастает давление и температура сжатых газов в заснарядном объёме. При этом скорость снаряда 14 с ведущим устройством 16 увеличивается. При этом (См. фиг. 7, 8) кумулятивная струя топлива 9 пробивает присоединённый заряд 10 и по сформированному каналу, в результате обжатия конической облицовки 20 присоединённого заряда 10, поступает в заснарядный объём. При этом происходит вынос частичек присоединённого заряда 10 и распыление топлива 9 в заснарядный объём. При этом топливо 9 воспламеняется от воздействия высокого давления и температуры сжатых газов в заснарядном объёме. При этом в результате высокого давления и температуры метающих газов действующих на заднюю часть присоединённого заряда 10 происходит послойное горение диспергированных частиц присоединённого заряда 10. При этом (См. фиг. 9), горение присоединённого заряда 10 осуществляется и по сформированному каналу от пробития присоединённого заряда 10 кумулятивной струёй. При этом, в случае использования снаряда 14 с малогабаритным импульсным реактивным двигателем (МИРД) 15, в результате высокого давления и температуры газов в заснарядном объёме, осуществляется запуск МИРД 15 снаряда 14. При вылете снаряд 14 с ведущим устройством 16 (См. фиг. 10) из канала ствола 13 происходит отделение ведущего устройства 16 от снаряда 14. Преимущества способа производства выстрела из баллистической установки заключаются в увеличении дульной скорости снаряда без повышения максимального давления метающего газа действующего на баллистическую установку. Данные преимущества реализуются за счёт многократного повышения давления газов. Поэтапное повышение давление газов осуществляется: в момент воспламенения пороха (См. фиг. 2), в момент воспламенения высокоплотного топлива (См. фиг. 3), в момент горения пороха и высокоплотного топлива в среде окислителя (См. фиг. 4), в момент воспламенения топлива 9 (См. фиг. 5) от воздействия высокого давления и температуры метающих газов, в момент (См. фиг. 5 и 6) послойного горения диспергированных частиц топлива 9, в момент послойного горения (См. фиг. 7 и 8) диспергированных частиц присоединённого заряда 10, в момент (См. фиг. 8) выноса частичек присоединённого заряда 10 и распыления топлива 9 в заснарядный объём с последующим воспламенением их, в момент горения присоединённого заряда 10 (См. фиг. 9) по сформированному каналу от пробития присоединённого заряда 10 кумулятивной струёй и запуска МИРД 15 снаряда 14. При этом (См. фиг. 2-4) в результате ускоренного движения сборки и разности скоростей гильзы 8 и присоединённого заряда 10 относительно топлива 9, формируется волна разряжения, а в окрестности дна присоединённого заряда 10 образуется вакуум. При этом, часть топлива 9, в результате понижения давления, испаряется во внутрь кавитационных пузырьков которые увеличиваясь в размерах и сливаясь формируют кавитационную полость. При этом (См. фиг. 5 и 6) в результате разницы давления действующее на топливо 9 со стороны уширения 7 цилиндрической части 2 и со стороны присоединённый заряд 10 значительно возрастает скорость топлива 9 с последующим схлопыванием кавитационной полости. При этом, топливо 9 вызывает ударное нагружение стенок кумулятивной воронки 19 присоединённого заряда 10 и дна присоединённого заряда 10. При этом, присоединённый заряд 10 выходит из зацепления с гильзой 8. При этом (См. фиг. 6-8) формируется кумулятивная струя топлива 9 в последующем пробивает присоединённый заряд 10 и поступает в заснарядный объём. При этом (См. фиг. 4-7) присоединённый заряд 10 испытывает деформацию и получает приращение скорости. При вылете снаряд 14 с ведущим устройством 16 (См. фиг. 10) из канала ствола 13 происходит увеличение скорости снаряд 14 в результате работы МИРД 15 снаряда 14. Все указанные выше отличия являются достоинством и преимуществом предлагаемого технического решения по сравнению с прототипом.