Группа изобретений относится к отрасли сельского хозяйства. Раскрыто устройство для отбора проб почвы, включающее пробоотборник, установленный на штанге, стопорные якоря, опорную плиту с пазами для стопорных якорей и фиксаторами, силовое приспособление для заглубления пробоотборника в почву и извлечения его из скважины, которое соединено со втулкой, надетой на штангу. При этом силовое приспособление выполнено в виде направляющей стойки и двух вспомогательных стоек, жестко закрепленных на опорной плите, на которых, в свою очередь, закреплена верхняя опора, подвижной каретки, установленной на направляющей стойке и снабженной рамкой заглубления и роликом извлечения, лебедки с передаточным механизмом от реверсивного электродвигателя и двухсекционным барабаном с перегородкой между секциями и с двумя тросами, один из которых одним концом закреплен на одной из секций барабана, а другим концом через промежуточный ролик, установленный на нижнем конце одной из вспомогательных стоек, и ролик заглубления закреплен фиксатором на нижнем конце другой вспомогательной стойки, другой же трос одним своим концом закреплен на другой секции барабана, а другим концом через промежуточный ролик, установленный на верхнем конце первой вспомогательной стойки, и ролик извлечения закреплен фиксатором на верхнем конце другой вспомогательной стойки, а также ограничителя заглубления, закрепленного на верхнем конце штанги, выключателя электродвигателя, установленного на каретке, и выключателя электродвигателя, установленного на верхней опоре, пульта управления и аккумуляторной батареи. Также раскрыт способ отбора проб почвы с использованием указанного устройства. Группа изобретений позволяет эффективно осуществлять отбор проб почвы в автоматическом режиме без применения ручного труда оператора и транспортного средства в процессе заглубления пробоотборника в почву и извлечения его из скважины глубиной более 0,5 м, в том числе и на опытных делянках селекционных посевов. 2 н.п. ф-лы, 3 ил.
1. Устройство для отбора проб почвы, включающее пробоотборник, установленный на штанге, стопорные якоря, опорную плиту с пазами для стопорных якорей и фиксаторами, силовое приспособление для заглубления пробоотборника в почву и извлечения его из скважины, которое соединено со втулкой, надетой на штангу, отличающееся тем, что силовое приспособление выполнено в виде направляющей стойки и двух вспомогательных стоек, жестко закрепленных на опорной плите, на которых, в свою очередь, закреплена верхняя опора, подвижной каретки, установленной на направляющей стойке и снабженной рамкой заглубления и роликом извлечения, лебедки с передаточным механизмом от реверсивного электродвигателя и двухсекционным барабаном с перегородкой между секциями и с двумя тросами, один из которых одним концом закреплен на одной из секций барабана, а другим концом через промежуточный ролик, установленный на нижнем конце одной из вспомогательных стоек, и ролик заглубления закреплен фиксатором на нижнем конце другой вспомогательной стойки, другой же трос одним своим концом закреплен на другой секции барабана, а другим концом через промежуточный ролик, установленный на верхнем конце первой вспомогательной стойки, и ролик извлечения закреплен фиксатором на верхнем конце другой вспомогательной стойки, а также ограничителя заглубления, закрепленного на верхнем конце штанги, выключателя электродвигателя, установленного на каретке, и выключателя электродвигателя, установленного на верхней опоре, пульта управления и аккумуляторной батареи. 2. Способ отбора проб почвы, включающий операцию заглубления пробоотборника в почву, операцию извлечения его из скважины, для осуществления которых используют силовое приспособление в виде реверсивного устройства, приводимого в действие от источника силы, отличающийся тем, что используют устройство по п.1 с автоматическим силовым приспособлением в виде лебедочного устройства с реверсивным электродвигателем и автономным источником питания от аккумуляторной батареи.
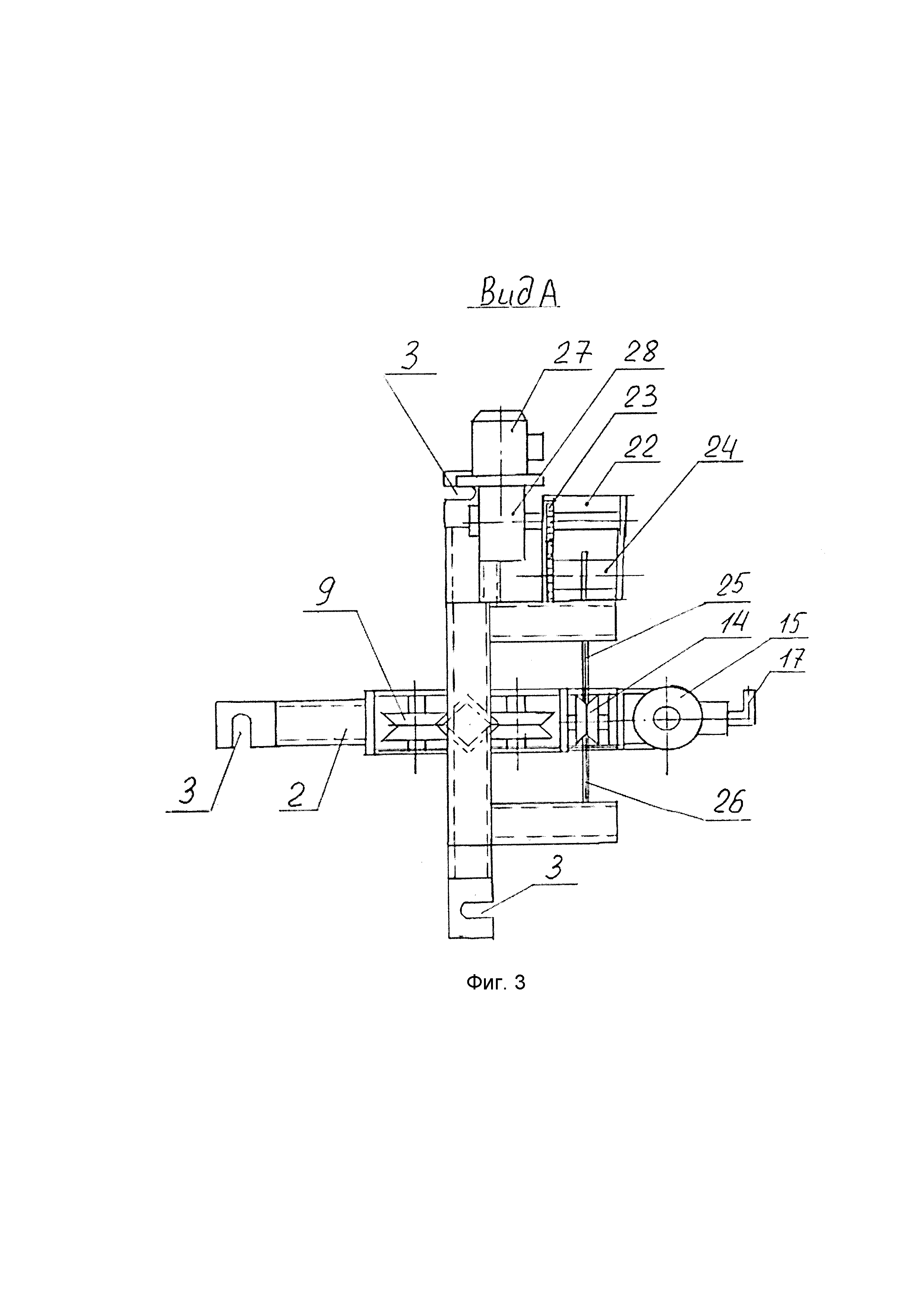
Группа изобретений относится к отрасли сельского хозяйства и может использоваться для отбора проб почвы с различной глубины более 0,5 м и на опытных делянках селекционных посевов без использования транспортного средства и мускульной силы оператора. Из уровня техники известно устройство для взятия проб почвы, включающее транспортное средство с силовой установкой, на котором размещен пробоотборник. На транспортном средстве расположено неподвижное установочное устройство, к которому шарнирно прикрепляется подвижное установочное устройство, обеспечивающее перемещение пробоотборника. Независимое силовое устройство обеспечивает опускание подвижного устройства в землю и извлечение его из почвы (патент США №3331249, G01N 1/20). Недостатки этого устройства - сложная конструкция, не используется мощность транспортного средства, а создано специальное силовое устройство, а также использование транспортного средства (трактора) ограничивает возможность отбора проб почвы с опытных делянок в селекционной работе из-за повреждения растений колесами энергетического средства. Известно устройство для отбора проб, включающее самоходное транспортное средство, несущую колонну, установленную на транспортном средстве, механизм вдавливания в виде гидроцилиндра со штоком, механизм подъема в виде лебедки с тросом и роликом, съемные штанги-удлинители, расположенные между пробоотборником и механизмом вдавливания, поворотные стрелы, установленные на несущей колонне (а.с. СССР №645050, G01N 1/08)/ Недостатки этого устройства: для выполнения технологического процесса используются два разных механизма: для заглубления пробоотборника - гидроцилиндр, а для извлечения - лебедочный механизм, а также то, что использование транспортного средства (трактора) ограничивает возможность отбора проб почвы с опытных делянок в селекционной работе из-за повреждения растений колесами энергетического средства. Известно устройство для отбора проб (А.с. №947682, G01N 1/08), включающее самоходное транспортное средство, установленную на нем несущую колонну, механизм вдавливания, выполненный в виде гидроцилиндра со штоком, штангу, пробоотборник, механизм подъема, выполненный в виде направляющей, закрепленной на несущей колонне, штанга установлена в направляющей, кинематически связана со штоком гидроцилиндра и расположена параллельно ему. В этом устройстве гидроцилиндр выполняет функции механизма вдавливания и подъема штанги вместе с пробоотборником. Недостатки этого устройства: низкая производительность труда из-за того, что обслуживают устройство 2 человека: машинист и лаборант, кроме того для взятия пробы почвы необходимо проделать несколько операций со штоком гидроцилиндра и пробоотборником по присоединению пробоотборника к штанге для заглубления, отсоединения его от штанги после извлечения его из скважины, подсоединения второго пробоотборника для опускания его в скважину, извлечения второго пробоотборника в два этапа: на первом этапе опущенный шток гидроцилиндра поднимают в верхнее положение, закрепляют штангу фиксатором, выводят из защепления со штангой фиксатор и шток гидроцилиндра опускают в нижнее положение до самофиксации штанги с фиксатором. А также то, что использование транспортного средства ограничивает возможность отбора проб почвы с опытных делянок в селекционной работе из-за повреждения растений колесами энергетического средства. Наиболее близким к заявляемому является устройство для отбора проб почвы, включающее пробоотборник, установленный на штанге, и силовое приспособление для заглубления и извлечения пробоотборника из скважины, установленной на штанге втулки с подпружиненным стержнем, и других элементов конструкции. Рычагом производят заглубление штанги вместе с пробоотборником в почву. При движении рычага вверх стрежень заходит в одно из отверстий штанги, а при движении рычага вниз вместе с ним передвигается и штанга, увлекаемая соединившимся с ней стержнем. При последующих движениях рычага процесс работы повторяется. После заглубления пробоотборника на всю его длину движением рычага извлекают пробоотборник из скважины и отсоединяют его от штанги. При необходимости получения проб почвы с большей глубины со штангой соединяют другой пробоотборник или ранее извлеченный из скважины, освобожденный от почвы (А.с. №1089457, G01N 1/04). Недостатком известного устройства является его недостаточная эффективность из-за того, что силовое приспособление выполнено в виде ручного рычажного механизма. Из уровня техники известен способ отбора проб почвы, согласно которому используют транспортное средство с установленным на него независимым силовым устройством, обеспечивающим опускание пробоотборника в землю и извлечение его из почвы (Патент США №3331249, G01N 1/20). Недостатки известного способа: используется специально созданное силовое устройство вместо использования мощности транспортного средства, что снижает эффективность способа. И кроме того, использование транспортного средства ограничивает возможность отбора проб почвы с опытных делянок в селекционной работе из-за повреждения растений колесами транспортного средства. Известен способ отбора проб почвы, согласно которому используют транспортное средство и два разных механизма для выполнения технологического процесса: механизм вдавливания пробоотборника в почву - в виде гидроцилиндра этого транспортного средства, а механизм извлечения пробоотборника - в виде лебедки с тросом и роликом, что недостаточно эффективно. И, кроме того, использование транспортного средства нежелательно для отбора проб почвы на опытных делянках (а.с. №645050, G01N 1/08). Известен способ отбора проб почвы, осуществляемый устройством по а.с. №947682, G01N 1/08, согласно которому используют транспортное средство, гидроцилиндр которого выполняет функции механизма вдавливания и подъема штанги с пробоотборником. Недостатки известного способа: недостаточная эффективность способа из-за того, что необходимо проделывать несколько этапов по подсоединению - отсоединению пробоотборников для завершения технологического процесса. И, кроме того, использование транспортного средства нежелательно для отбора проб с опытных делянок. Известен способ отбора проб почвы, включающий операцию заглубления пробоотборника в почву, операцию извлечения его из скважины, для осуществления которых используют силовое приспособление в виде реверсивного устройства, приводимого в действие от источника силы с автономным источником питания. Устройство монтируется на транспортном средстве, таком как пикап (Патент US №4685339, 11.08.1997). Недостатком известного способа является использование транспортного средства, ограничивающего возможность отбора проб почвы с опытных делянок в селекционной работе (повреждение растений колесами транспортного средства). Наиболее близким к заявляемому СПОСОБУ ОТБОРА ПРОБ ПОЧВЫ является СПОСОБ, осуществляемый устройством для отбора проб почвы по а.с. №1089457, включающий операцию заглубления пробоотборника в почву, операцию извлечения его из скважины, для ручного осуществления которых используют силовое приспособление в виде реверсивного устройства, представляющего собой рычажный механизм, приводимый в действие от мускульной силы оператора. Для заглубления пробоотборника в почву поворачивают рабочий стержень во втулке скошенной частью вверх и рычагом производят заглубление штанги вместе с пробоотборником. После заглубления пробоотборника на всю его длину стержень поворачивают на 180° и движением рычага извлекают пробоотборник из скважины. Недостатком известного способа является его недостаточная эффективность из-за того, что вручную осуществляют операцию вдавливания пробоотборника в почву и операцию извлечения его из скважины, что требует очень больших трудозатрат при использовании в селекционной работе, где требуется характеристика состояния почвы, взятой с глубины до 3 м, например для работы с культурой подсолнечника. Задачей заявляемой группы изобретений является создание автоматического устройства для отбора проб почвы с глубины до 3 м, эффективной технологии для применения и на опытных делянках в селекционной работе, т.е. без использования транспортного средства и ручного труда оператора для вдавливания пробоотборника в почву и извлечения его из скважины. Технический результат заявляемого устройства для отбора проб почвы достигается тем, что в известном устройстве для отбора проб почвы включающем пробоотборник, установленный на штанге, стопорные якоря, опорную плиту с пазами для стопорных якорей и фиксаторами, силовое приспособление для заглубления пробоотборника в почву и извлечения его из скважины, которое соединено со втулкой, надетой на штангу, согласно изобретению силовое приспособление выполнено в виде направляющей стойки и двух вспомогательных стоек, жестко закрепленных на опорной плите, на которых, в свою очередь, закреплена верхняя опора, подвижной каретки, установленной на направляющей стойке и снабженной роликом заглубления и роликом извлечения, лебедки с передаточным механизмом от реверсивного электродвигателя и двухсекционным барабаном с перегородкой между секциями и с двумя тросами, один из которых одним своим концом закреплен на одной секции барабана, а другим концом через промежуточный ролик, установленный на нижнем конце одной вспомогательной стойки, и ролик заглубления закреплен фиксатором на нижнем конце другой вспомогательной стойки, другой же трос одним своим концом закреплен на другой секции барабана, а другим концом через промежуточный ролик, установленный на верхнем конце первой вспомогательной стойки, и ролик извлечения закреплен фиксатором на верхнем конце другой вспомогательной стойки, а также ограничителя заглубления, закрепленного на верхнем конце штанги, ограничителя подъема каретки, установленного на каретке, выключателей электродвигателя, пульта управления и аккумуляторной батареи. Технический результат заявляемого способа обеспечивается тем, что в известном способе отбора проб почвы, включающем операцию заглубления пробоотборника в почву, операцию извлечения его из скважины, для осуществления которых используют силовое приспособление в виде реверсивного устройства, приводимого в действие от источника силы, согласно изобретению используют автоматическое силовое приспособление в виде лебедочного устройства с реверсивным электродвигателем и автономным источником питания от аккумуляторной батареи. Исследуя уровень техники в процессе проведения патентного поиска по всем видам сведений, общедоступных в печати, мы не выявили технических решений, близких по своей сути к заявляемым. Заявляемое техническое решение поясняется чертежами. На фиг. 1 схематично представлено заявляемое устройство (вид спереди); на фиг. 2 - вид Б-Б на фиг. 1; на фиг. 3 - вид по стрелке А (вид сверху). Устройство для отбора проб почвы содержит: стопорные якоря 1, опорную плиту 2 с пазами 3 для стопорных якорей и фиксаторами 4, направляющую стойку 5, жестко закрепленную на опорной плите, вспомогательные стойки 6 и 7, верхнюю опору 8, подвижную каретку 9, ограничитель 10 подъема каретки, ролик 11 заглубления, ролик 12 извлечения, промежуточные ролики 13 и 14. втулку 15, штангу 16, фиксатор 17 штанги, муфту 18 соединительную, пробоотборник 19, ограничитель 20 заглубления, выключатель 21 реверсивного электродвигателя, лебедку 22, передаточный механизм 23 лебедки, барабан 24 двухсекционный, трос 25 заглубления, трос 26 извлечения, электродвигатель 27, передаточный механизм электродвигателя 28, пульт 29 управления, батарея 30 аккумуляторная. Устройство работает следующим образом. В заданном месте устанавливают стопорные якоря 1, подводят к ним пазами 3 фиксации опорную плиту 2 и закрепляют ее фиксаторами 4. Затем пропускают штангу 16 через втулку 15, закрепленную на подвижной каретке 9, и стопорят ее фиксатором 17. Закрепляют на штанге, в соответствии с заданной глубиной взятия пробы почвы, ограничитель 20 заглубления пробоотборника и присоединяют к штанге пробоотборник 19 через соединительную муфту 18, проворачивая пробоотборник против часовой стрелки до упора. Исходное положение барабана 24 лебедки: трос 25 заглубления размотан с барабана, а трос 26 извлечения намотан на барабан. Нажатием кнопки «Пуск» на пульте 29 управления включается электродвигатель 27 привода лебедки, посредством передаточного механизма 23 лебедки приводится во вращение двухсекционный барабан 24 лебедки, во время вращения которого трос 25 заглубления наматывается на одну из секций барабана 24 через ролик 11 заглубления и промежуточный ролик 13, перемещая каретку 9 вместе со штангой 16 и пробоотборником 19 вниз для заглубления последнего. При этом трос 26 извлечения разматывается с барабана 24 через вспомогательный ролик 14 и ролик 12 извлечения. При достижении пробоотборником 19 заданной глубины отбора пробы ограничитель 20 заглубления соприкасается с выключателем 21 реверсивного электродвигателя 27 и выключает его. Каретка 9 с подсоединенной к ней через втулку 15 штангой 16 и пробоотборником 19 останавливается. Для извлечения пробоотборника из скважины нажимают кнопку «Подъем» на пульте 29 управления, реверсивно включается электродвигатель 27, барабан 24 начинает вращаться в другую сторону, осуществляя движение каретки 9 с пробоотборником 19 вверх за счет того, что трос 26 извлечения наматывается на другую секцию барабана, через ролик 12 извлечения и промежуточный ролик 14. При этом трос 25 заглубления разматывается с барабана 24 и в верхней точке подъема каретки 9 последняя соприкасается с ограничителем 10 подъема каретки, который выключает электродвигатель 27 через выключатель 10а. Извлеченный из скважины пробоотборник 19 с керном почвы внутри поворачивают по часовой стрелке относительно штанги 16, отделяют от штанги, вынимают керн из пробоотборника и помещают в специальный контейнер для образцов почвы. Признаки заявляемых изобретений необходимы и достаточны для того, чтобы эффективно осуществить отбор проб почвы на глубину более 0,5 м без использования транспортного средства, т.е. без травмирования растений на опытных делянках селекционных посевов, а также без использования ручного труда оператора, т.е. для достижения поставленной цели и решения поставленной задачи.