Изобретение относится к стереолитографическому устройству для генерирования трехмерного объекта. Устройство содержит оптический блок для проецирования изображения на фотоотверждаемое вещество для отверждения фотоотверждаемого вещества, осажденного в фокусном слое; блок управления. Устройство дополнительно содержит блок обнаружения, который содержит средство обнаружения, размещенное с возможностью перемещения на участке обнаружения для обнаружения в процессе генерирования или на протяжении паузы в генерировании изображения, проецируемого оптическим блоком, и для вывода сигнала обнаружения. Устройство содержит первое приводное средство для перемещения средства обнаружения в участок обнаружения или из него. Оптический блок содержит второе приводное средство, связанное с оптическим блоком для перемещения фокусного слоя в участок обнаружения или из него. Блок управления регулирует оптический блок и/или изменяет изображение, подлежащее проецированию, на основании сигнала, указывающего обнаруженное изображение. Изобретение обеспечивает стереолитографическое устройство, которое может избирательно осуществлять оптическую регулировку и изменение изображения в процессе генерирования или на протяжении паузы в генерировании универсальным, экстенсивным и гибким способом. 14 з.п. ф-лы, 9 ил.
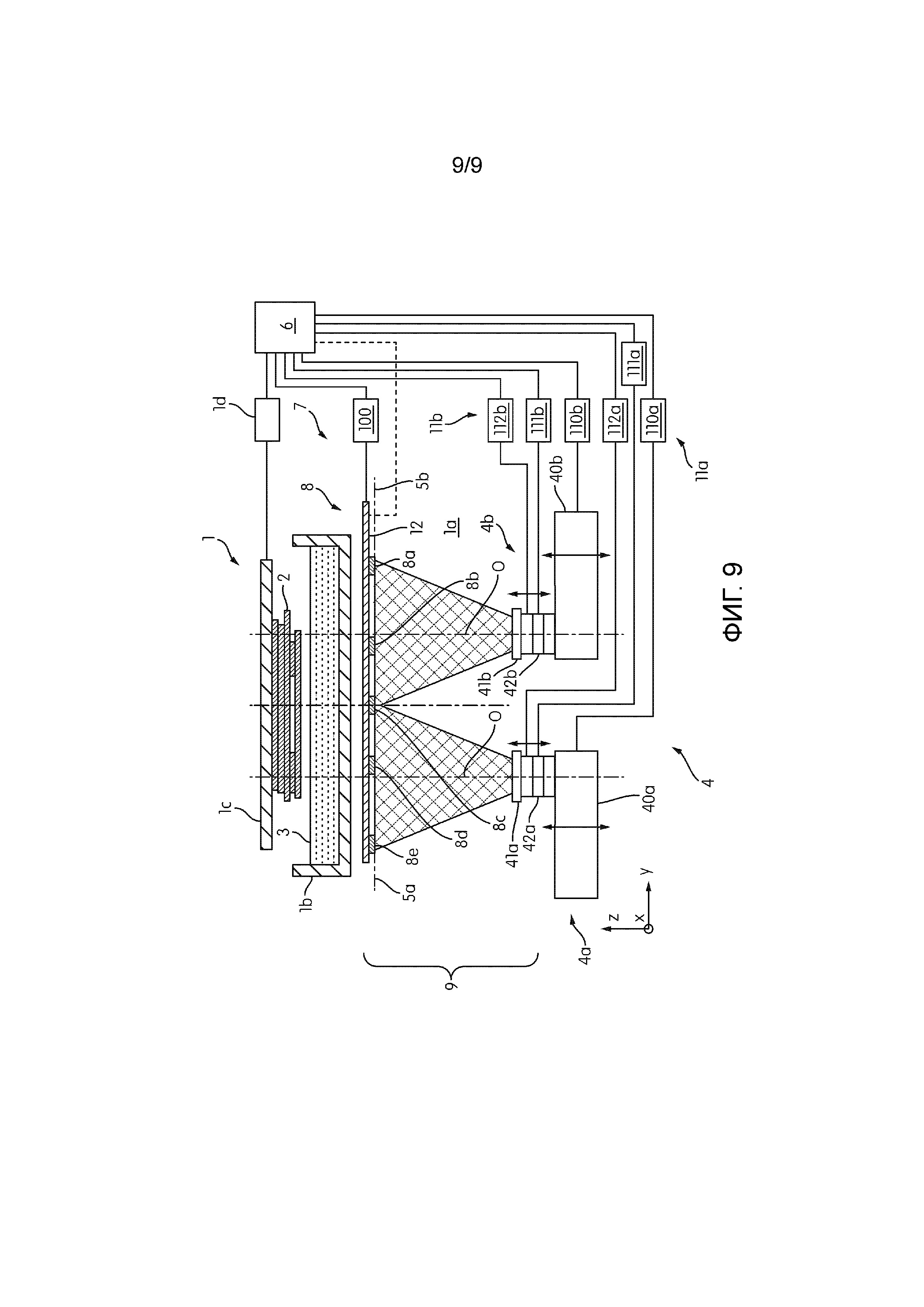
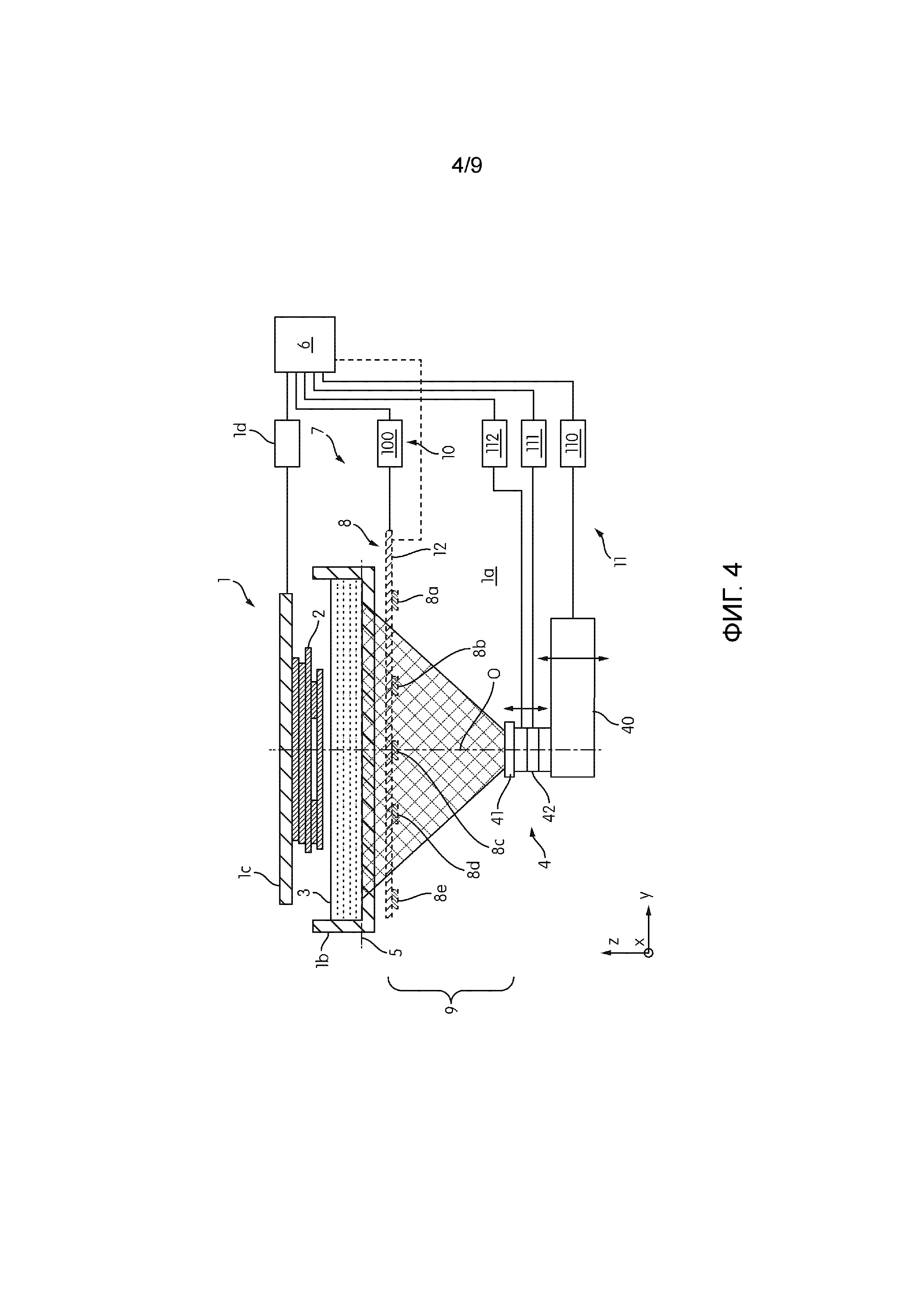
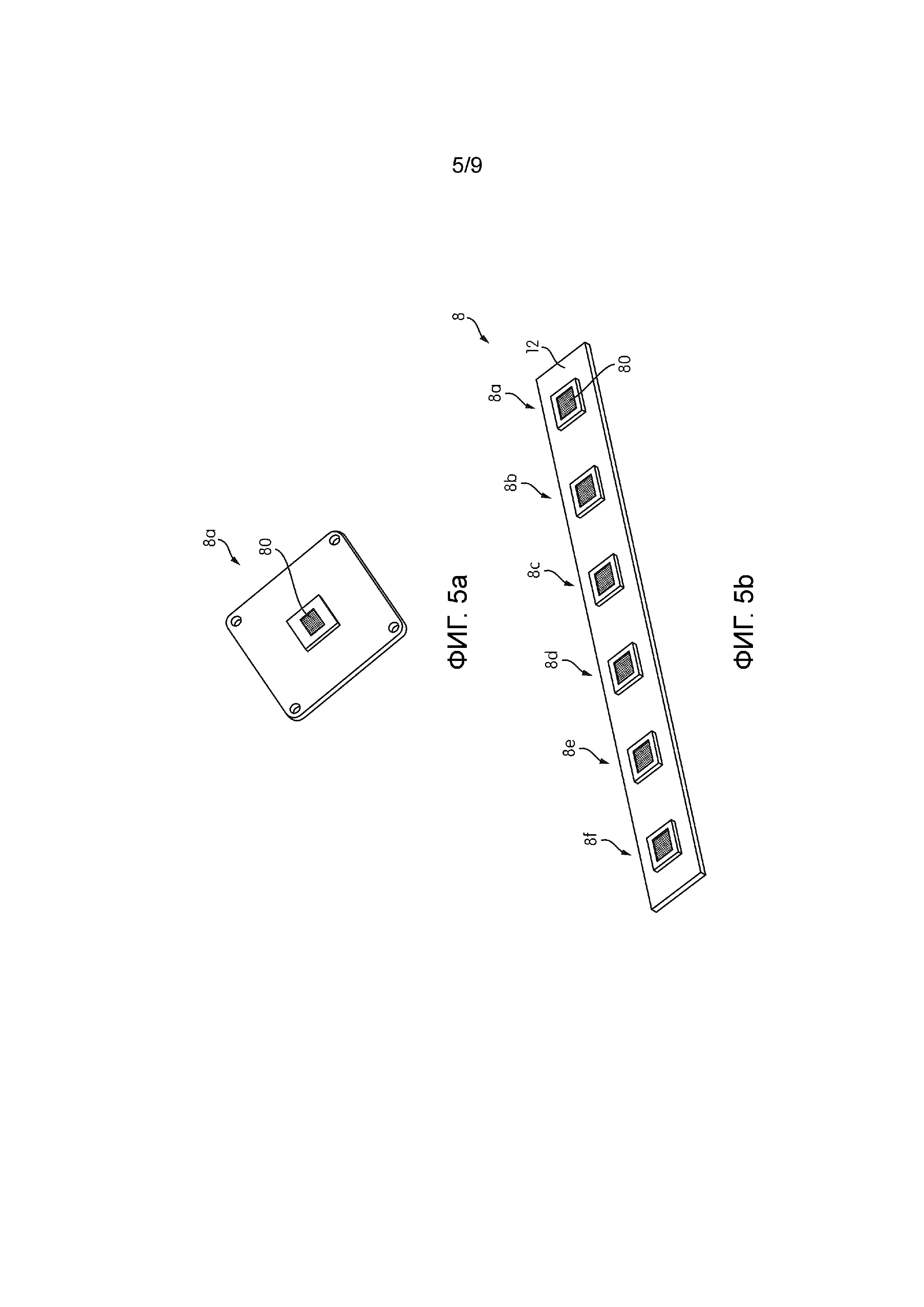
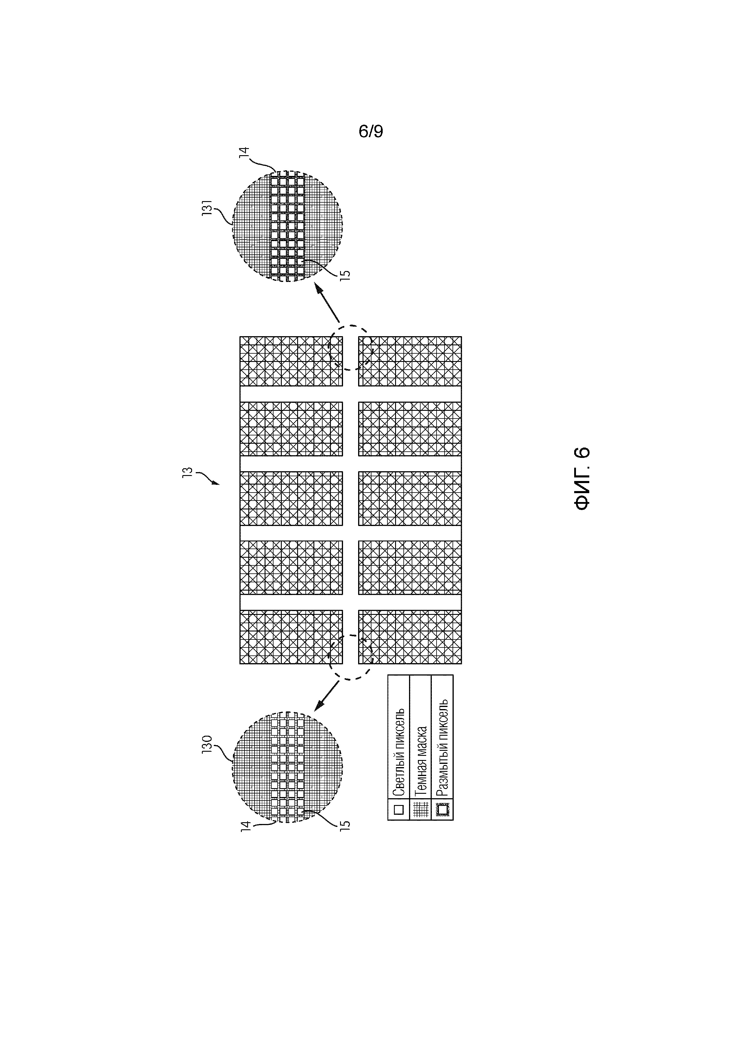
1. Стереолитографическое устройство (1) для генерирования трехмерного объекта (2) из фотоотверждаемого вещества (3), содержащее: оптический блок (4) для проецирования изображения на фотоотверждаемое вещество (3) для отверждения фотоотверждаемого вещества (3), осажденного в фокусном слое (5); блок (6) управления для управления оптическим блоком (4), отличающееся тем, что дополнительно содержит: блок (7) обнаружения, который содержит: средство (8) обнаружения, которое размещено с возможностью перемещения на участке (9) обнаружения для обнаружения в процессе генерирования или на протяжении паузы в генерировании по меньшей мере части изображения, проецируемого оптическим блоком (4), и для вывода сигнала, указывающего обнаруженное изображение, на блок (6) управления; и первое приводное средство (10) для перемещения средства (8) обнаружения в участок (9) обнаружения или из него, и при этом оптический блок (4) дополнительно содержит: второе приводное средство (11), которое связано с оптическим блоком (4) для перемещения фокусного слоя (5) в участок (9) обнаружения или из него, причем блок (6) управления дополнительно выполнен с возможностью управления первым приводным блоком (10) и вторым приводным средством (11) и регулировки оптического блока (4) и/или изменения изображения, подлежащего проекции, на основании сигнала, указывающего обнаруженное изображение. 2. Стереолитографическое устройство (1) по п. 1, отличающееся тем, что первое приводное средство (10) дополнительно выполнено с возможностью перемещения средства (8) обнаружения в участок (9) обнаружения или из него в направлении (X), перпендикулярном оптической оси (O). 3. Стереолитографическое устройство (1) по п. 1 или 2, отличающееся тем, что второе приводное средство (11) выполнено с возможностью перемещения фокального слоя (5) в участок (9) обнаружения или из него вдоль оптической оси (O). 4. Стереолитографическое устройство (1) по любому из пп. 1-3, отличающееся тем, что блок (7) обнаружения является съемным. 5. Стереолитографическое устройство (1) по любому из пп. 1-4, отличающееся тем, что средство (8) обнаружения содержит один или более датчиков (8a-8e). 6. Стереолитографическое устройство (1) по п. 5, отличающееся тем, что один или более датчиков (8a-8g), каждый из которых содержит активную зону (80) датчика, например CMOS-камеру, и/или один или более датчиков (8a-8g) пригодны для обнаружения длины волны экспозиции оптическим блоком (4). 7. Стереолитографическое устройство (1) по п. 5 или 6, отличающееся тем, что средство (8) обнаружения содержит кронштейн (12) для поддержки датчиков (8a-8e) в матрице, причем первое приводное средство (10) связано с кронштейном (12) и дополнительно выполнено с возможностью перемещения кронштейна (12) в участок (9) обнаружения или из него, причем кронштейн (12) располагается параллельно поверхности фотоотверждаемого вещества (3), которая обращена к оптическому блоку (4). 8. Стереолитографическое устройство (1) по любому из пп. 1-7, отличающееся тем, что второе приводное средство (11) дополнительно выполнено с возможностью независимого вращения оптического блока (4) относительно трех взаимно перпендикулярных направлений (X, Y, Z), причем одно из упомянутых направлений (Z) перпендикулярно поверхности фотоотверждаемого вещества (3), обращенной к оптическому блоку (4), и блок (6) управления дополнительно выполнен с возможностью регулировки оптического блока (4) для устранения наклона оптической оси (O) путем управления вторым приводным средством (11). 9. Стереолитографическое устройство (1) по любому из пп. 1-8, отличающееся тем, что первое приводное средство (10) выполнено с возможностью перемещения средства (8) обнаружения из участка, подлежащего активной экспозиции оптическим блоком (4) на участке (9) обнаружения, и средство (8) обнаружения выполнено с возможностью обнаружения по меньшей мере рассеянного излучения, обусловленного изображением, проецируемым оптическим блоком (4) в активно экспонируемый участок и для вывода сигнала, указывающего обнаруженное рассеянное излучение. 10. Стереолитографическое устройство (1) по любому из пп. 1-9, отличающееся тем, что оптический блок (4) выполнен с возможностью проецировать, в процессе генерирования или на протяжении паузы в генерировании, на фотоотверждаемое вещество (3) относительно малое изображение, которое будет полностью заграждено средством (8) обнаружения для предотвращения отверждения фотоотверждаемого вещества (3) в ходе обнаружения, и при этом средство (8) обнаружения выполнено с возможностью обнаружения по меньшей мере части изображения и вывода сигнала, указывающего обнаруженное изображение, на блок (6) управления, и блок (6) управления дополнительно выполнен с возможностью регулировки оптического блока (4) или изменения изображения, подлежащего проекции, на основании сигнала, указывающего обнаруженное изображение. 11. Стереолитографическое устройство (1) по любому из пп. 1-10, отличающееся тем, что оптический блок (4) выполнен с возможностью проецировать калибровочное изображение (13) на фокусный слой (5), причем калибровочное изображение (13) содержит: одну или более строк (14) перемежающихся пикселей (15), подлежащих освещению для обеспечения возможности обнаружения интенсивности и резкости проецируемого калибровочного изображения (13), и при этом калибровочное изображение (13) содержит по меньшей мере левый и правый участок (130, 131) упомянутых пикселей (15), соответствующих противоположным концам фокального слоя (5) для обеспечения возможности обнаружения наклона в фокусном слое (5). 12. Стереолитографическое устройство (1) по любому из пп. 1-11, отличающееся тем, что средство (8) обнаружения выполнено с возможностью обнаружения по меньшей мере части изображения, проецируемого оптическим блоком (4), пока первое приводное средство (10) пошагово или непрерывно перемещает средство (8) обнаружения в направлении (X), перпендикулярном оптической оси (O) на участке (9) обнаружения, и для вывода сигнала, указывающего обнаруженное изображение, на блок (6) управления; и блок (6) управления дополнительно выполнен с возможностью определения компенсационной матрицы на основании обнаруженного изображения, и изменения изображения, подлежащего проецированию, на основании компенсационной матрицы. 13. Стереолитографическое устройство (1) по любому из пп. 1-12, отличающееся тем, что блок (6) управления дополнительно выполнен с возможностью регулировки масштаба увеличения, резкости изображения слоя и позиции фокусного слоя оптического блока (4) и компенсации оптического искажения на основании сигнала, указывающего обнаруженное изображение. 14. Стереолитографическое устройство (1) по любому из пп. 1-13, отличающееся тем, что оптический блок (4) содержит два или более оптических подблоков (4a, 4b) для независимого проецирования двух или более изображений соответственно на фотоотверждаемое вещество (3) для отверждения фотоотверждаемого вещества (3), осажденного в фокусных слоях (5a, 5b), причем средство (8) обнаружения выполнено с возможностью обнаружения в процессе генерирования или на протяжении паузы в генерировании по меньшей мере части каждого из двух или более изображений, проецируемых оптическими подблоками (4a, 4b), и вывода сигнала, указывающего обнаруженные изображения, на блок (6) управления, и при этом второе приводное средство (11) содержит два вторых приводных подсредства (11a, 11b), каждое из которых связано с оптическими подблоками (4a, 4b) для перемещения фокусных слоев (5a, 5b) в участок (9) обнаружения или из него, вторые приводные подсредства (11a, 11b) взаимносвязаны для продвижения фокусных слоев (5a, 5b) в участок (9) обнаружения или из него одновременно, при этом блок (6) управления дополнительно выполнен с возможностью регулировки оптических подблоков (4a, 4b) и/или изменения изображений, подлежащих проецированию, на основании сигнала, указывающего обнаруженные изображения, и получения одних и тех же свойств формирования изображения в фокусных слоях (5a, 5b), например однородности, размера пикселя и пр. 15. Стереолитографическое устройство (1) по п. 14, отличающееся тем, что блок (6) управления дополнительно выполнен с возможностью регулировки двух или более оптических подблоков (4a, 4b) на основании сигнала, выводимого для проецирования соответствующих изображений в фокальных слоях (5a, 5b), соседствующих без зазоров и нахлестов.
ОБЛАСТЬ ТЕХНИКИ, К КОТОРОЙ ОТНОСИТСЯ ИЗОБРЕТЕНИЕ Настоящее изобретение относится к стереолитографическим устройствам. В частности, настоящее изобретение относится к методам калибровки для стереолитографических устройств. УРОВЕНЬ ТЕХНИКИ Стереолитографическое устройство используется для процесса производства трехмерного объекта желаемой формы путем экспонирования, пошагового или непрерывного, фотоотверждаемого вещества, например, жидкого мономера, с возможностью генерирования многослойных изображений, например, с помощью цифровых масок или путем сканирования лазерным пучком. Базовый принцип стереолитографии также именуется быстрым макетированием или 3D печатью. Для стереолитографического производственного процесса, помимо пиксельного дисплея, который создает цифровые маски, также можно использовать альтернативный лазерный пучок совместно с управляемыми микрозеркалами для проецирования многослойных изображений, в частности пиксельных многослойных изображений, в опорную поверхность в фотоотверждаемом веществе для пошагового или непрерывного его отверждения. Эта опорная поверхность задается через фокальный слой, в котором происходит отверждение фотоотверждаемого вещества. В зависимости от применения, отвержденный слой может иметь жесткую или гибкую согласованность и также может находиться в объеме жидкого фотоотверждаемого вещества. Для отделения отвержденного слоя от опорной поверхности, до следующего этапа процесса генерирования, он первоначально переносится посредством адгезии в процессе полимеризации на платформу, которая относительно подвижна относительно опорной поверхности. На следующих этапах процесса генерирования, гарантируется, что свежее фотоотверждаемое вещество течет между последним отвержденным слоем т.е. фронтом полимеризации и опорной поверхности. Этого можно добиться, например, путем простого относительного перемещения платформы или комбинаций перемещений. Затем поступающее фотоотверждаемое вещество может отверждаться последующей экспозицией. Этапы процесса генерирования повторяются, пока объект не будет сгенерирован в соответствии с проецируемыми многослойными изображениями. Оптический блок играет важную роль в процессе производства трехмерных объектов. Оптический блок проецирует многослойные изображения в форме электромагнитного излучения на фотоотверждаемое вещество. Чтобы гарантировать стабильные и точные размеры объекта в течение всего срока службы стереолитографического устройства, важно, чтобы фактическое состояние оптического блока т.е. источника света, средства проекции, цифровые зеркальные устройства и пр., сохраняли первоначальную калибровку и установленные позиции. Таким образом, в стереолитографическом производственном процессе, возникает проблема, связанная с изменением свойств оптического блока, например, масштаба увеличения. В результате 3D объекты из партии могут иметь дефекты, которые пользователь сможет заметить только спустя определенное время, например, изменение размера объекта. В уровне техники, стабильность масштаба увеличения и, соответственно, правильность размера объекта время от времени контролируется пользователем посредством генерирования калибровочных тел и их измерения. Эти калибровочные тела обычно должны оставаться в распоряжении пользователя и доставляться с партией. С этой целью в качестве калибровочных объектов используются объекты наподобие игральных костей или лестниц, которые имеют различные измерительные поверхности. В уровне техники, свойства оптического блока, например, позиция фокусного слоя стереолитографического устройства калибруется на фабрике и позже может калиброваться только путем вмешательства в стереолитографическое устройство со стороны обслуживающего персонала. Некоторые методы калибровки для стереолитографических устройств также известны из уровня техники. В EP1726927A1 раскрыто проекционное устройство, в котором для калибровки проецируемого изображения используется датчик, который обнаруживает свет, не связанный с формированием изобретения. В US2003/0179435A1 раскрыто проекционное устройство, в котором для калибровки источника света используется датчик, который обнаруживает отклоненный свет. В EP1849587A1 раскрыто стереолитографическое устройство которое использует постоянная компенсационная матрица шкалы серого, которая накладывается на каждую одиночную маску битовой карты для достижения однородного распределения света. В WO 2016016443A1 раскрыто стереолитографическое устройство, имеющее гомогенизатор света для повышения интенсивности света. US 2009/0184444A1 раскрывает оптическое формовочное устройство, которое обнаруживает свет обратной связи, отраженный смолой, отверждаемой ультрафиолетом. В EP1106332 A2 раскрыто стереолитографическое устройство и стереолитографическое формирование профиля пучка с использованием калибровочной пластины с булавочными отверстиями, которая располагается в точном положении поверхности УФ-отверждаемой жидкость до отгрузки или после повреждения стереолитографического устройства. СУЩНОСТЬ ИЗОБРЕТЕНИЯ Задачей настоящего изобретения является преодоление недостатков уровня техники и обеспечение стереолитографического устройства, которое может избирательно осуществлять оптическую регулировку и изменение изображения в процессе генерирования или на протяжении паузы в генерировании универсальным, экстенсивным и гибким способом. Настоящее изобретение обеспечивает стереолитографическое устройство для генерирования трехмерного объекта из фотоотверждаемого вещества. Стереолитографическое устройство содержит: оптический блок для проецирования изображения на фотоотверждаемое вещество для отверждения фотоотверждаемого вещества осажденного в фокусном слое; и блок управления для управления оптическим блоком. Стереолитографическое устройство дополнительно содержит: блок обнаружения, который содержит: средство обнаружения, размещенное с возможностью перемещения на участке обнаружения для обнаружения в процессе генерирования или на протяжении паузы в генерировании по меньшей мере части изображения, проецируемого оптическим блоком и для вывода сигнала, указывающего обнаруженное изображение, на блок управления; и первое приводное средство для перемещения средства обнаружения в участок обнаружения или из него, причем оптический блок дополнительно содержит: второе приводное средство, которое связано с оптическим блоком для перемещения фокусного слоя в участок обнаружения или из него, и при этом блок управления дополнительно выполнен с возможностью управления первым приводным блоком и вторым приводным средством, и избирательной регулировки оптического блока и/или изменения изображения, подлежащего проекции, на основании сигнала, указывающего обнаруженное изображение. Главный полезный результат настоящего изобретения состоит в том, что физические свойства оптического блока, например, изменение позиции оптического блока или его компонентов, изменение в фокусном слое, изменение резкости изображения, изменение масштаба увеличения, изменение распределения интенсивности, изменение однородности освещения, оптическое искажение, любые пиксельные ошибки и пр., которые негативно влияют на процесс производства 3D объектов, можно обнаруживать в процессе генерирования или на протяжении паузы в генерировании, избирательно посредством встроенного блока обнаружения на разных глубинах проекции и при разных размерах изображения и немедленно удалять путем оптической регулировки и/или изменения изображения. Таким образом, необходимость в 3D печати калибровочных объектов и измерении этих калибровочных объектов в ходе производственного процесса можно устранять, и, таким образом, процесс калибровки становится менее сложным и в основном цифровым. Согласно настоящему изобретению, участок обнаружения может располагаться над оптическим блоком и под ванной, где хранится фотоотверждаемое вещество, для достижения малогабаритной, компактный конструкции наподобие башни. Участок обнаружения может альтернативно располагаться над оптическим блоком и над ванной, где хранится фотоотверждаемое вещество. Ванна может быть съемной, и участок обнаружения может располагаться на месте удаленной ванны. Первое приводное средство перемещает средство обнаружения в участок обнаружения или из него в направлении, перпендикулярном оптической оси. Это направление может быть параллельно любой из сторон прямоугольной ванны, где хранится фотоотверждаемое вещество. Таким образом, средство обнаружения может перемещаться относительно оптической оси в слое проекции, или фокальном слое внутри участка обнаружения. Второе приводное средство перемещает фокальный слой в участок обнаружения или из него вдоль оптической оси. Фокальный слой может перемещаться в участок обнаружения или из него путем перемещения либо всего оптического блока, либо его оптических компонентов, например, линзы формирования изображения. Как первое, так и второе приводные средства имеют механические приспособления, в том числе двигатели и связанные с ними исполнительные механизмы для эксплуатации двигателей. Согласно настоящему изобретению, блок обнаружения может быть либо стационарным, либо, предпочтительно, встроенным с возможностью удаления в стереолитографическое устройство. Блок обнаружения может размещаться на подвижной и функциональной части, например, ванне, где хранится фотоотверждаемое вещество. Альтернативно, может использоваться дополнительный прозрачный выдвижной ящик. Выдвижной ящик может обмениваться с ванной, или приниматься под или над ванной. Механические части, которые направляют средство обнаружения в процессе сканирования, могут располагаться на подвижной ванне /выдвижном ящике и/или корпусе стереолитографического устройства. Таким образом, блок обнаружения может вытягиваться из стереолитографического устройства совместно с подвижной ванной или выдвижным ящиком. Блок обнаружения может использовать те же механический и электрический интерфейсы, которые используются для присоединения, передачи данных и управления функциональным компонентом съемной ванны. Такой функциональный компонент может быть протирщиком вращательного/перемещательного действия, используемым для протирки фотоотверждаемого вещества. Согласно настоящему изобретению, средство обнаружения содержит один или более датчиков, предпочтительно, одну или более матриц датчиков или линию датчиков. Датчики могут объединяться в одну или более групп датчиков. Одна или более матриц датчиков могут располагаться на кронштейне, который связан с первым приводным средством для перемещения в участок обнаружения или из него. Кронштейн может располагаться под ванной, параллельно поверхности фотоотверждаемого вещества, которая обращена к оптическому блоку. Кронштейн может иметь длину, меньшую или равную ширины ванны. Один или более датчиков могут представлять собой фотодиоды или иметь активную зону датчика, например, в CCD-камере или CMOS-камере. Один или более датчиков может иметь оптический элемент, например, линзу, фильтр, апертуру, отражатель на активной зоне датчика. Один или более датчиков может использоваться для обнаружения оптически распознаваемого символа источников света оптического блока, т.е. по меньшей мере части спектра длин волны, относящегося к внешнему излучению или температуре, и по меньшей мере части спектра длин волны, необходимого для процесса фотоотверждения. Таким образом, старение источника света, фактический световой выход источника света в пределах разрешенного допуска и увеличение температуры в помещении можно обнаруживать и соответственно компенсировать. Один или более датчиков могут использоваться для обнаружения плотности энергии в объеме вокселя путем изменения фокальной позиции по глубине поля в ходе обнаружения. Уровни серого в изображениях слоев, подлежащих экспонированию, можно оптимизировать для процесса отверждения фотоотверждаемого вещества на основании температуры источника света, мощности источника света и лучистой энергии, поступающей в фотоотверждаемое вещество, и пр. Согласно настоящему изобретению, блок управления регулирует оптический блок для устранения наклона оптической оси путем управления вторым приводным средством. Второе приводное средство может независимо поворачивать оптический блок относительно трех взаимно перпендикулярных направлений, причем одно из этих направлений перпендикулярно поверхности фотоотверждаемого вещества, обращенной к оптическому блоку. Оптический блок может быть подвешен на универсальном шарнире или опираться на него. Наклон в фокусном слое можно обнаружить, например, с использованием калибровочного изображения, подлежащего проецированию на фокусный слой. Строки перемежающихся пикселей в калибровочном изображении, которые выровнены между противоположными концами фокального слоя, позволяют обнаруживать изменение интенсивности и резкости, которые указывают наклон относительно соответствующего направления. Калибровочное изображение может проецироваться на протяжении паузы в генерировании. Альтернативно, калибровочное изображение может проецироваться в процессе генерирования на участие, который не подлежит активной экспозиции для генерирования 3D объекта. В любом случае калибровочное изображение может проецироваться только в одной или более активных зонах датчиков для предотвращения отверждения фотоотверждаемого вещества. Таким образом, становится возможным непрерывный мониторинг оптических признаков оптического блока посредством блока обнаружения. Согласно настоящему изобретению, средство обнаружения также может обнаруживать рассеянное излучение, обусловленное изображением, проецируемым оптическим блоком на активно экспонируемый участок для генерирования объекта. В ходе обнаружения рассеянного излучения, первое приводное средство может перемещать средство обнаружения из участка, активно экспонируемого оптическим блоком, но не из участка обнаружения. Таким образом, можно обнаруживать рассеянное излучение на участке обнаружения в процессе генерирования, например, в определенной позиции, где располагается по меньшей мере один датчик, с помощью первого средства продвижения, чтобы не мешать процессу генерирования. Таким образом, дозу облучения фотоотверждаемого вещества, обусловленную рассеянным излучением, можно обнаруживать и сравнивать с допустимой дозой. В зависимости от уровня дозы рассеянного излучения, фотоотверждаемое вещество может циркулировать и/или обновляться путем добавления нового фотоотверждаемого вещества. Также по меньшей мере один датчик для обнаружения рассеянного излучения может на постоянной основе размещаться на участке обнаружения, будучи неотъемлемой частью машинного отделения, которое не обязательно доступно пользователю. Согласно настоящему изобретению, оптический блок может проецировать на фотоотверждаемое вещество относительно малое изображение, которое будет полностью заграждено средством обнаружения для предотвращения отверждения фотоотверждаемого вещества в ходе обнаружения. Затем средство обнаружения обнаруживает по меньшей мере часть этих малых изображений, и блок управления регулирует оптический блок или изменяет изображение, подлежащее проецированию для процесса генерировании на основании обнаружения. Эти малые изображения могут проецироваться на датчики на протяжении паузы в генерировании, например, в перерывах экспозиции двух последовательных изображений слоев. Альтернативно, малые изображения могут проецироваться на датчики, которые перемещаются в положение на участке обнаружения, которое не нуждается в активной экспозиции через оптический блок с изображением слоя и, таким образом, непрерывный мониторинг оптических признаков оптического блока посредством блока обнаружения также может происходить в процессе генерирования. Таким образом, возможен непрерывный мониторинг не приводящий к избыточному излучению. Согласно настоящему изобретению, средство обнаружения может обнаруживать по меньшей мере часть изображения, проецируемого оптическим блоком, когда первое приводное средство пошагово или непрерывно перемещает средство обнаружения в направлении, перпендикулярном оптической оси на участке обнаружения. В ходе этого процесса сканирования, средство обнаружения может выводить на блок управления сигнал, указывающий отсканированное изображение. Затем блок управления может определять компенсационную матрицу на основании обнаруженного изображения и изменять изображение, подлежащее проецированию, на основании компенсационной матрицы. Таким образом можно компенсировать оптическое искажение. Согласно настоящему изобретению, блок управления может регулировать масштаб увеличения, резкость изображения слоя, позицию фокусного слоя, и компенсировать оптические искажения оптического блока на основании обнаруженного изображения. Однако, когда обнаружение невозможно, можно прийти к заключению о сбое в оптическом блоке, например, в источнике света. Первое/второе приводное средство может осуществлять процесс сканирования для определения положения фокального слоя и определения его оптических признаков. Стереолитографическое устройство может изменять масштаб увеличения, резкость изображения слоя, позицию фокального слоя или расстояние проекции посредством относительных перемещений одной или более линз формирования изображения/трансфокации в оптическом блоке по меньшей мере в определенном диапазоне. Стереолитографическое устройство также может иметь по меньшей мере одну ломаную траекторию пучка, что позволяет регулировать позицию фокусного слоя посредством относительного перемещения соответствующего оптического элемента, например, по меньшей мере одного зеркала. Ошибки формирования изображения, например, оптические искажения, которые могут возникать из оптического блока, можно обнаруживать не только глобально, но и локально, для каждого участка, для разных размеров проекции и можно использовать для изменения параметров, определяющих работу стереолитографического устройства или изменять изображения слоев путем установления компенсационной матрицы для компенсации оптических искажений. Согласно настоящему изобретению, оптический блок может содержать два или более оптических подблоков для независимого проецирования двух или более изображений на фотоотверждаемое вещество для отверждения фотоотверждаемого вещества, осажденного в фокусных слоях, соответственно. Средство обнаружения может обнаруживать в процессе генерировании или на протяжении паузы в генерировании по меньшей мере часть каждого из этих двух или более изображения и вывода сигнала, указывающего обнаруженные изображения на блок управления. Второе приводное средство может содержать два вторых приводных подсредства, каждое из которых связано с оптическими подблоками для перемещения фокусных слоев в участок обнаружения или из него. Вторые приводные подсредства могут быть взаимосвязаны для одновременного перемещения фокусных слоев в участок обнаружения или из него. Блок управления может регулировать оптические подблоки и/или изменять изображения, подлежащие проецированию, на основании сигнала, указывающего обнаруженные изображения и получать одни и те же свойства формирования изображения в фокусных слоях, например, однородность, размер пикселя и пр. Таким образом, оптические признаки отдельных экспозиций могут быть согласованными. Калибровочное изображение может включать в себя маску со светлыми и темными пикселями, которые задают по меньшей мере один или два измерительных пункта и/или участка локальные расстояния и размеры которых заранее известны и используются для калибровки оптического блока или оптических подблоков и изменения многослойных изображений. Согласно настоящему изобретению, блок управления может предписывать второму приводному блоку регулировать два или более оптических подблоков на основании сигнала, выводимого средством обнаружения для генерировании соответствующих изображений в фокальных слоях, соседствующих без зазоров, скачков и нахлестов. Таким образом, можно устранять разнесение между отдельными экспозициями, и можно сглаживать переход. Согласно настоящему изобретению, блок управления может предписывать ванне наклоняться или совершать возвратно-поступательное движение относительно платформы, удерживающей 3D объект. Таким образом, можно способствовать процессу отсоединения отвержденных слоев, и можно ускорить процесс генерирования. Согласно настоящему изобретению, стереолитографическое устройство осуществляет калибровку без необходимости в каком-либо активном измерении пользователем. Таким образом, характерные признаки оптического блока, например, источника света, могут оставаться стабильными или в заранее заданном конкретном диапазоне. Кроме того, процедура предупредительной калибровки может осуществляться до каждого процесса генерирования и/или по завершении некоторого количества процессов генерирования, автоматически или по запросу пользователя. В стереолитографическом устройстве также может храниться протокол обнаружения/сканирования, важный для процесса генерирования в отношении по меньшей мере одного важного признака оптического блока для различных одного или более этапов процесса генерирования и в необязательном порядке для его переноса на периферийное устройство по LAN/WLAN и т.п. для обеспечения протокола полной обработки сгенерированного 3D объекта. Их можно переносить на модуль CAD CAM. Стереолитографическое устройство также может разрешать онлайновую калибровку а также диагностику сбоев и проводить/отслеживать калибровку и диагностику сбоев локально или дистанционно. КРАТКОЕ ОПИСАНИЕ ЧЕРТЕЖЕЙ В нижеследующем описании, дополнительные аспекты и полезные результаты настоящего изобретения будут более подробно описаны с использованием иллюстративных вариантов осуществления и со ссылкой на чертежи, на которых: фиг. 1 - схема стереолитографического устройства согласно первому варианту осуществления настоящего изобретения, в состоянии, где фокусный слой отводится в позицию, совпадающую со средством обнаружения; фиг. 2 - схема стереолитографического устройства на фиг. 1, в состоянии, когда фокусный слой находится в позиции под средством обнаружения; фиг. 3 - схема стереолитографии на фиг. 1, в состоянии, когда фокусный слой наклонен и в позиции, которая по меньшей мере частично располагается на средстве обнаружения; фиг. 4 - схема стереолитографического устройства на фиг. 1, когда фокусный слой находится на дне ванны в процессе генерирования, и средство обнаружения перемещается из участка обнаружения; фиг. 5a - схема датчика, используемого в средстве обнаружения стереолитографического устройства согласно варианту осуществления настоящего изобретения; фиг. 5b - схема матрицы датчиков, используемой в средстве обнаружения стереолитографического устройства согласно варианту осуществления настоящего изобретения; фиг. 6 - схема калибровочного изображения, используемого для регулировки стереолитографического устройства и изменения многослойных изображений согласно варианту осуществления настоящего изобретения; фиг. 7 - схема обнаруженного изменения интенсивности в проецируемом калибровочном изображении согласно варианту осуществления настоящего изобретения; фиг. 8 - схема искаженного изображения, обнаруженного блоком обнаружения стереолитографического устройства согласно варианту осуществления настоящего изобретения; фиг. 9 - схема стереолитографического устройства согласно второму варианту осуществления настоящего изобретения, в котором оптический блок имеет два независимых оптических подблока. Ссылочные позиции, показанные в чертежах, обозначают нижеперечисленные элементы и будут применяться в нижеследующем описании иллюстративных вариантов осуществления: 1. Стереолитографическое устройство 1a. Машинное отделение 1b. Ванна 1c. Платформа 1d. Исполнительный механизм 2. Объект 3. Фотоотверждаемое вещество 4. Оптический блок 40. Шасси 41. Линза формирования изображения 42. Трансфокационная линза 4a. Оптический подблок 40a. Шасси 41a. Линза формирования изображения 42a. Трансфокационная линза 4b. Оптический подблок 40b. Шасси 41b. Линза формирования изображения 42b. Трансфокационная линза 5. Фокусный слой 5a. Фокусный слой 5b. Фокусный слой 6. Блок управления 7. Блок обнаружения 8. Средство обнаружения 8a-8f. Датчики 80. Активная зона датчика 9. Участок обнаружения 10. первое приводное средство 100. Исполнительный механизм 11. Второе приводное средство 110. Исполнительный механизм 111. Исполнительный механизм 112. Исполнительный механизм 11a. второе приводное подсредство 110a. Исполнительный механизм 111a. Исполнительный механизм 112a. Исполнительный механизм 11b. Второе приводное подсредство 110b. Исполнительный механизм 111b. Исполнительный механизм 112b. Исполнительный механизм 12. Кронштейн 13. Калибровочное изображение 130. Левый участок 131. Правый участок 14. Строка 15. Пиксель На фиг. 4 показано стереолитографическое устройство (1) согласно первому варианту осуществления в процессе генерирования 3D объекта. Как показано на фиг. 4 стереолитографическое устройство (1) имеет машинное отделение (1a) для пошагового и/или непрерывного генерирования по меньшей мере 3D объекта (2). 3D объект (2) генерируется из фотоотверждаемого вещества (3), которое хранится в ванне (1b). Фотоотверждаемое вещество (3) находится в жидкой форме и может пребывать в различных консистенциях, оно также может быть, например, вязким. Фотоотверждаемое вещество (3) прилипает к платформе (1c) после его отверждения. Платформа (1c) может продвигаться вверх или вниз относительно ванны (1b) с помощью по меньшей мере одного двигателя и исполнительного механизма (1d). Все процессы в стереолитографическом устройстве (1) управляются и регулируются блоком (6) управления. Стереолитографическое устройство (1) также имеет интерфейс для беспроводной и/или проводной связи с модулем CAD CAM. Стереолитографическое устройство (1) имеет оптический блок (4) для проецирования изображения на фотоотверждаемое вещество (3) для отверждения фотоотверждаемого вещества (3), осажденного в фокусном слое (5). Оптический блок (4) имеет источник света, цифровые зеркальные устройства (DMD), линзу (41) формирования изображения, трансфокационную линзу (42) и т.д. Шасси (40) вмещает в себя все необходимые компоненты для проекции изображений. Источник света испускает электромагнитное излучение, предпочтительно, УФ-излучение, имеющее длину волны, например, 365 нм или 385 нм. Как показано на фиг. 4, оптический блок (4) располагается под ванной (1b), но это не обязательно. На фиг. 1 показано стереолитографическое устройство (1) согласно первому варианту осуществления, осуществляющее процесс обнаружения для обнаружения изображения, проецируемого оптическим блоком (4). Как показано на фиг. 1, стереолитографическое устройство (1) имеет блок (7) обнаружения, который содержит средство (8) обнаружения, которое подвижно размещено на участке (9) обнаружения для обнаружения, в процессе генерирования или на протяжении паузы в генерировании, по меньшей мере части изображения, проецируемого оптическим блоком (4) и для вывода сигнала, указывающего обнаруженное изображение, на блок (6) управления. Средство (8) обнаружения имеет предпочтительно множество датчиков (8a-8e). Как показано на фиг. 5a, каждый датчик (8a-8f) предпочтительно имеет активную зону (80) датчика например, CMOS-камеру. Как показано на фиг. 1 и на фиг. 5b, средство (8) обнаружения имеет кронштейн (12) для поддержки датчиков (8a-8f) в матрице. Блок (7) обнаружения также имеет первое приводное средство (10) для перемещения средства (8) обнаружения в плоскости x-y. Первое приводное средство (10) связано с кронштейном (12) и может перемещать кронштейн (12) посредством двигателя и исполнительного механизма (100) в участок (9) обнаружения или из него в направлении (X, Y), перпендикулярном оптический оси (O). Таким образом, проецируемое изображение может частично или полностью сканироваться, и данные могут переноситься посредством сигнала на блок (6) управления. Кронштейн (12) располагается параллельно поверхности фотоотверждаемого вещества (3), которая обращена к оптическому блоку (4). Оптический блок (4) имеет второе приводное средство (11), которое связано с оптическим блоком (4) посредством двигателей и исполнительных механизмов (110,111,112) для перемещения фокусного слоя (5) в участок (9) обнаружения или из него. Линза (41) формирования изображения и трансфокационные линзы (42) могут перемещаться посредством двигателей и связанных с ними исполнительных механизмов (111,112) для задания резкости и масштаба увеличения. Весь оптический блок (4) может перемещаться вдоль оптической оси (O) посредством двигателя и связанного исполнительного механизма (110). Как показано на фиг. 1, фокусный слой (5) идеально выровнен, а именно параллелен ванне (2), но отведен в позицию, совпадающую с активными зонами (80) датчиков для датчиков (8a-8f), что позволяет обнаруживать резкое изображение, проецируемое оптическим блоком (4). Проецируемое изображение может быть калибровочным изображением, например, тестовым шаблоном, шахматным рисунком и т.п., который может выглядеть резким по глубине фокуса. Блок (7) обнаружения может обнаруживать масштаб увеличения, оптическое искажение, резкость проецируемого изображения и позицию фокусного слоя (5). Блок (6) управления также управляет первым приводным блоком (10) и вторым приводным средством (11) и может регулировать оптический блок (4) и/или изменять изображение, подлежащее проецированию, на основании сигнала, указывающего обнаруженное изображение. Таким образом, масштаб увеличения, резкость изображения слоя и позицию фокусного слоя (5) оптического блока (4) может правильно регулироваться для процесса генерирования, и оптическое искажение можно компенсировать в изображениях, подлежащих проецированию, для отверждения фотоотверждаемого вещества (5). На фиг. 9 показано стереолитографическое устройство (1) согласно второму варианту осуществления, осуществляющее процесс обнаружения для обнаружения изображения, проецируемого оптическим блоком (4). Как показано на фиг. 9, оптический блок (4) стереолитографического устройства (1) имеет два независимых оптических подблока (4a,4b). Конечно, для получения более крупных зон изображения в стереолитографическое устройство (1) может быть встроено больше оптических подблоков (4a,4b). Каждый оптический подблок (4a,4b) имеет оптические компоненты, например, источник света, цифровое зеркальное устройство, линзу (41a,41b) формирования изображения и трансфокационную линзу (42a,42b) для проецирования соответствующего изображения на фотоотверждаемое вещество (3) для отверждения фотоотверждаемого вещества (3), осажденного в соответствующем фокусном слое (5a,5b). Два отдельных шасси (40a,40b) вмещают в себя все необходимые компоненты соответственно для проекции двух изображений. Средство (8) обнаружения второго варианта осуществления аналогично средству (8) обнаружения, описанному для первого варианта осуществления, и может обнаруживать по меньшей мере частично изображения, проецируемые оптическими подблоками (4a,4b). Второе приводное средство (11) имеет два вторых приводных подсредства (11a,11b), каждое из которых связано с оптическими подблоками (4a,4b) соответственно посредством двигателей и исполнительных механизмов (110a,111a,112a; 110b,111b,112b) для перемещения фокусных слоев (5a,5b) в участок (9) обнаружения или из него. Линзы (41a,41b) формирования изображения, и трансфокационные линзы (42a,42b) могут перемещаться посредством двигателей и связанных с ними исполнительными механизмами (111a,112a) для задания резкости и масштаба увеличения. Весь оптический блок (40a,40b) может перемещаться вдоль оптической оси (O) посредством двигателя и связанного исполнительного механизма (110a,110b). При этом вторые приводные подсредства (111a,111b) могут быть связаны друг с другом для одновременного перемещения фокусных слоев (5a,5b) в участок (9) обнаружения или из него. Этого можно добиться с использованием общего двигателя. Как показано на фиг. 9, фокусные слои (5a,5b) идеально выровнены, а именно параллельны ванне (2), соседствуя друг с другом без зазоров, скачков и нахлестов, и отведены в позицию в активных зонах (80) датчиков для датчиков (8a-8f), что позволяет обнаруживать изображения, резко проецируемые оптическими подблоками (4a,4b). Проецируемые изображения могут быть калибровочными изображениями, например, тестовыми шаблонами, шахматными рисунками и т.п., которые позволяют определять относительное расположение фокусных слоев (5a,5b) и резкость по глубине фокуса. Блок (6) управления регулирует оптические подблоки (4a,4b) и/или изменяет изображения, подлежащие проецированию, на основании сигнала, указывающего обнаруженные изображения, для получения одних и тех же свойств формирования изображения в обоих фокусных слоях (5a,5b) посредством технологии датчиков, включающей в себя двигатели и исполнительные механизмы (110a,111a,112a; 110b,111b,112b). Блок (6) управления регулирует два оптических подблока (4a,4b) на основании результата обнаружения, благодаря чему, соответствующие изображения в фокальных слоях (5a,5b) находятся рядом без скачков, зазоров и нахлестов. На фиг. 2 показано стереолитографическое устройство (1) согласно первому варианту осуществления, когда в оптическом блоке (4) происходит сбой формирования изображения, где фокальный слой (5) находится под ванной (2). На фиг. 2, глубина фокуса где существует резкое изображение, располагается снаружи, в частности под активной зоной (80) датчика. Изображение, обнаруженное средством (8) обнаружения, размыкается, поскольку активная зона (80) датчика не совпадает с фокусным слоем (5). Для коррекции сбоя формирования изображения на фиг. 2, блок (6) управления может продвигать оптический блок (4) посредством технологии датчиков, благодаря чему фокусный слой (5) располагается на средстве (8) обнаружения, как на фиг. 1, и затем оптический блок (4) может продвигать фокусный слой (5) в зону отсчета в ванне (2) для процесса генерировании, как на фиг. 4. На фиг. 3 показано стереолитографическое устройство (1) согласно первому варианту осуществления, где в оптическом блоке (4) происходит сбой формирования изображения, где фокусный слой (5) немного наклонен и находится под ванной (2). Поскольку фокусный слой (5) частично совпадает с активной зоной (80) датчика для по меньшей мере одного датчика (8b), формируется резкое изображения от участка к участку. Другие датчики (8a,8c,8d,8e) обнаруживают размытое изображение. Блок (6) управления предписывает второму приводному средству (11) с помощью исполнительных механизмов регулировать оптический блок (4) для удаления наклона оптической оси (O). Второе приводное средство (11) может независимо поворачивать оптический блок (4) посредством двигателей относительно трех взаимно перпендикулярных направлений (X, Y, Z), причем одно из упомянутых направлений (Z) перпендикулярно поверхности фотоотверждаемого вещества (3), обращенной к оптическому блоку (4). На фиг. 4 показано стереолитографическое устройство (1) согласно первому варианту осуществления в процессе генерировании, в котором первое приводное средство (10) переместило средство (8) обнаружения из участка, подлежащего активной экспозиции оптическим блоком (4), но не из участка (9) обнаружения. Кронштейн (12) не всегда нужно перемещать из всего участка (9) обнаружения. Это возможно, когда участок, подлежащий активной экспозиции меньше максимального участка, который может экспонироваться, и, таким образом проецируемое изображение не заграждается кронштейном (12). Но даже когда средство (8) обнаружения находится вне активно экспонируемого участка, оно может использоваться для обнаружения по меньшей мере рассеянного излучения, обусловленного изображением, проецируемым оптическим блоком (4) в активно экспонируемый участок, и вывода сигнала, указывающего обнаруженное рассеянное излучение. Кронштейн (12) также может непрерывно перемещаться внутри участка (9) обнаружения, благодаря чему он остается снаружи н активно экспонируемого участка и обнаруживать как можно больше рассеянного излучения. Возможно также, что оптический блок (4) проецирует на протяжении паузы в генерировании на фотоотверждаемое вещество (3) только относительно малое изображение, которое будет полностью заграждено средством (8) обнаружения для предотвращения отверждения фотоотверждаемого вещества (3) в ходе обнаружения. Средство (8) обнаружения обнаруживает по меньшей мере часть этого относительно малого изображения и выводит на блок (6) управления сигнал, указывающий оптические свойства оптического блока (4). Блок (6) управления регулирует оптический блок (4) для изменения изображения, подлежащего проекции, на основании выводимого сигнала. На фиг. 6 показано калибровочное изображение (13), проецируемое оптическим блоком (4) на фокусный слой (5). Калибровочное изображение (13) имеет одну или более строк (14) перемежающихся пикселей (15), подлежащих освещению для обеспечения возможности обнаружения интенсивности и резкости проецируемого калибровочного изображения (13). Левый участок (130) демонстрирует резкое изображение, в котором строки (14) пикселей (15) являются светлыми и отчетливо отделены от темной маски. Правый участок (131) демонстрирует нерезкое изображение, в котором строки (14) пикселей (15) размыты и не отчетливо отделены от темной маски. В правом участке (131) пиксельное изображение нельзя отчетливо распознать. Однако, если рассматривать все калибровочное изображение (13), включающее в себя левый и правый участки (130,131), сбой формирования изображения указывает наклон, как на фиг. 3. Таким образом, калибровочное изображение (13) может включать в себя по меньшей мере левый и правый участок (130,131) упомянутых пикселей (15), выровненные вдоль противоположных концов фокального слоя (5) для обеспечения возможности обнаружения наклона в фокусном слое (5). На фиг. 7 показан профиль интенсивности (I) измеренный в направлении (Y) вдоль пунктирной линии, соединяющей левый и правый участки (130,131) в обнаруженном калибровочном изображении (13). Профиль интенсивности (I) имеет два пика, каждый из которых имеет локальные максимумы и минимумы, соответствующие светлым/размытым пикселям (15) в левом и правом участках (130,131). Левый и правый участки (130,131) отличаются резкостью, которая проявляется более низким пиком на правом участке. Локальные максимумы и минимумы в двух пиках отчетливо наблюдаются и связаны взаимно-однозначное соответствием с пикселями (15) в строках (14) левого и правого участков (130,131). На фиг. 7 показано наклоненное изображение, имеющее ту или иную степень резкости. Из фиг. 7 следует, что датчики (8a-8f) по существу не нужны для формирования изображения. Такой же профиль интенсивности также можно получать с помощью фотодиодов и т.п. и анализировать математическими методами для определения размера, резкости и количества пикселей. Как показано на фиг. 7, значения ширины двух пиков пропорциональны значениям ширины соответствующих пикселей (15) в левом и правом участках (130,131). Таким образом, можно определить локальное увеличение. Пунктирная линия, соединяющая два пика демонстрирует изменение интенсивности (I). Как показано на фиг. 7, локальные максимумы и минимумы в правом пике меньше, чем левом пике, что обусловлено нарушением резкости в калибровочном изображении (13) в правом участке (131). Несмотря на частично нерезкое изображение, может наблюдаться изменение интенсивности, а также переход между темной маской и светлыми/размытыми пикселями (15). Можно также наблюдать неравномерное распределение света, которое связано с наклонном в фокусном слое (5). На фиг. 8 показано, как проецируемое изображение сканируется блоком (7) обнаружения. Средство (8) обнаружения перемещается пошагово или непрерывно первым приводным средством (10) на участке (9) обнаружения по всему полю проекции оптического блока (4) в направлении (X), перпендикулярном оптической оси (O). Средство (8) обнаружения выводит сигнал, указывающий обнаруженное изображение в процессе сканирования. Таким образом, компенсационная матрица определяется на основании искажения обнаруженного изображения или изменения масштаба локального увеличения. После этого блок (6) управления изменяет изображения, подлежащие проецированию, на основании этой компенсационной матрицы для компенсации искажения.