Изобретение относится к медицинской технике и может быть использовано при хирургическом лечении дегенеративных заболеваний позвоночника. Набор инструментов для проведения транспедикулярной фиксации позвоночника с моделированием стержней и фиксацией транспедикулярных и стопорных винтов содержит рукоятку, шило для перфорации кортикального слоя позвонка и формирования костного канала в ножке позвонка, щуп для проверки целостности стенок костного канала, отвертку с многогранным наконечником для введения и извлечения транспедикулярных винтов, отвертку с многогранным наконечником для введения и извлечения стопорных винтов, ключ стопорного винта для затяжки стопорных винтов и отламывания их шестигранной части и изгибатель для моделирования балок и фиксации мультиаксиальных транспедикулярных и стопорных винтов. Шило, отвертка с многогранным наконечником для введения и извлечения транспедикулярных винтов и отвертка с многогранным наконечником для введения и извлечения стопорных винтов выполнены на заднем конце в форме многогранника от торца на части длины, за которым расположена кольцевая канавка. Ключ стопорного винта включает хвостовик и наконечник. Хвостовик с одной стороны выполнен от торца на части длины в форме многогранника, за которым расположена с отступом кольцевая канавка для соединения с рукояткой, а с другой стороны соединен с наконечником ключа стопорного винта, имеющего цилиндрическую форму. Внутри наконечника ключа стопорного винта со стороны, противоположной хвостовику, выполнено продольное осевое шестигранное отверстие, переходящее в цилиндрическое отверстие, в продольном осевом шестигранном отверстии со стороны торца наконечника образована поперечная кольцевая канавка в стенке, в которую вставлено кольцо из упругого материала, а с противоположной стороны наконечника на участке цилиндрического отверстия со стороны хвостовика выполнено прямоугольное поперечное сквозное отверстие в стенке наконечника для удаления отломанных частей стопорных винтов и расположенное напротив него симметрично относительно его центра цилиндрическое поперечное сквозное отверстие, а рукоятка выполнена с наконечником с возможностью захвата задних концов шила и отверток и с возможностью захвата хвостовика ключа. Использование изобретения позволяет обеспечить многофункциональность и более эффективное и быстрое проведение операции. 12 з.п. ф-лы, 36 ил.
1. Набор инструментов для проведения транспедикулярной фиксации позвоночника с моделированием стержней и фиксацией транспедикулярных и стопорных винтов, содержащий рукоятку, шило для перфорации кортикального слоя позвонка и формирования костного канала в ножке позвонка, щуп для проверки целостности стенок костного канала, отвертку с многогранным наконечником для введения и извлечения транспедикулярных винтов, отвертку с многогранным наконечником для введения и извлечения стопорных винтов, ключ стопорного винта для затяжки стопорных винтов и отламывания их шестигранной части и изгибатель для моделирования балок и фиксации мультиаксиальных транспедикулярных и стопорных винтов, отличающийся тем, что шило, отвертка с многогранным наконечником для введения и извлечения транспедикулярных винтов и отвертка с многогранным наконечником для введения и извлечения стопорных винтов выполнены на заднем конце в форме многогранника от торца на части длины, за которым расположена кольцевая канавка, при этом ключ стопорного винта включает хвостовик и наконечник, причем хвостовик с одной стороны выполнен от торца на части длины в форме многогранника, за которым расположена с отступом кольцевая канавка для соединения с рукояткой, а с другой стороны соединен с наконечником ключа стопорного винта, имеющего цилиндрическую форму, при этом внутри наконечника ключа стопорного винта со стороны, противоположной хвостовику, выполнено продольное осевое шестигранное отверстие, переходящее в цилиндрическое отверстие, в продольном осевом шестигранном отверстии со стороны торца наконечника образована поперечная кольцевая канавка в стенке, в которую вставлено кольцо из упругого материала, а с противоположной стороны наконечника на участке цилиндрического отверстия со стороны хвостовика выполнено прямоугольное поперечное сквозное отверстие в стенке наконечника для удаления отломанных частей стопорных винтов и расположенное напротив него симметрично относительно его центра цилиндрическое поперечное сквозное отверстие, а рукоятка выполнена с наконечником с возможностью захвата задних концов шила и отверток и с возможностью захвата хвостовика ключа. 2. Набор по п. 1, отличающийся тем, что для соединения с задними концами шила, отвертки с многогранным наконечником для введения и извлечения транспедикулярных винтов, отвертки с многогранным наконечником для введения и извлечения стопорных винтов, и ключа стопорного винта, рукоятка включает наконечник рукоятки цилиндрической формы, одна сторона которого жестко соединена со стержнем ручки и имеет кольцевой выступающий наружу фланец, а другая сторона наконечника цилиндрической формы на части длины от торца заужена и выполнена с продольной осевой многоугольной полостью с уступом в средней части, причем в стенке незауженной части выполнена пара расположенных напротив друг друга поперечных сквозных отверстий, суживающихся в направлении к продольной осевой многоугольной полости, в каждом из которых помещен шар с возможностью расположения в кольцевой канавке на заднем конце шила, отверток и ключа стопорного винта, при этом шары охвачены втулкой, опирающейся, с одной стороны, на кольцевой выступающий наружу фланец наконечника, а также на зауженную часть наконечника посредством кольцевого выступа на конце втулки и на незауженную часть наконечника посредством промежуточного кольцевого выступа втулки, в полости между кольцевым выступающим наружу фланцем наконечника и промежуточным кольцевым выступом втулки, опирающимся на незауженную часть наконечника, помещена пружина, а полость между промежуточным кольцевым выступом втулки, опирающимся на незауженную часть наконечника, и кольцевым выступом на конце втулки выполнена с уширением в направлении к наружной поверхности на части длины со стороны конца втулки, и при этом на втулке со стороны, опирающейся на фланец наконечника, с отступом от торца выполнен фланец втулки, причем во втулке между фланцем втулки и торцом втулки, примыкая к фланцу втулки, образована пара расположенных напротив друг друга сквозных отверстий, в которых размещены выступы плоской упругой шпильки, соединенные между собой перемычкой, с возможностью контакта одной боковой стороной с боковой стороной фланца наконечника. 3. Набор по п. 2, отличающийся тем, что сторона наконечника цилиндрической формы выполнена с продольной осевой четырехгранной полостью с уступом в средней части. 4. Набор по п. 2, отличающийся тем, что на наружной поверхности втулки рукоятки выполнены кольцевые канавки. 5. Набор по п. 1, отличающийся тем, что кольцо из упругого материала выполнено из силикона. 6. Набор по п. 1, отличающийся тем, что отвертка с многогранным наконечником для введения и извлечения транспедикулярных винтов имеет тело цилиндрообразной формы, причем ее задний конец выполнен от торца на части длины в форме многогранника, за которым расположена с отступом кольцевая канавка для соединения с рукояткой. 7. Набор по п. 6, отличающийся тем, что отвертка для введения и извлечения транспедикулярных винтов имеет шестигранный наконечник размером 3,5 мм, а ее задний конец выполнен со стороны торца на части длины четырехгранной формы. 8. Набор по п. 1, отличающийся тем, что отвертка с многогранным наконечником для введения и извлечения стопорных винтов имеет тело цилиндрообразной формы, причем ее задний конец выполнен от торца на части длины в форме многогранника, за которым расположена с отступом кольцевая канавка для соединения с рукояткой. 9. Набор по п. 8, отличающийся тем, что отвертка для введения и извлечения стопорных винтов имеет шестигранный наконечник размером 4,0 мм, а ее задний конец выполнен со стороны торца на части длины четырехгранной формы. 10. Набор по п. 1, отличающийся тем, что шило имеет тело цилиндрообразной формы с заостренным наконечником, а его задний конец выполнен от торца на части длины в форме многогранника, за которым расположена с отступом кольцевая канавка для соединения с рукояткой. 11. Набор по п. 10, отличающийся тем, что задний конец шила выполнен со стороны торца на части длины четырехгранной формы. 12. Набор по п. 1, отличающийся тем, что щуп имеет тело цилиндрообразной формы с отогнутым концом, а на его заднем конце выполнены кольцевые канавки. 13. Набор по п. 1, отличающийся тем, что все инструменты набора стерилизованы, размещены в герметичном блистере, покрытом прозрачной пленкой с возможностью снятия пленки вручную.
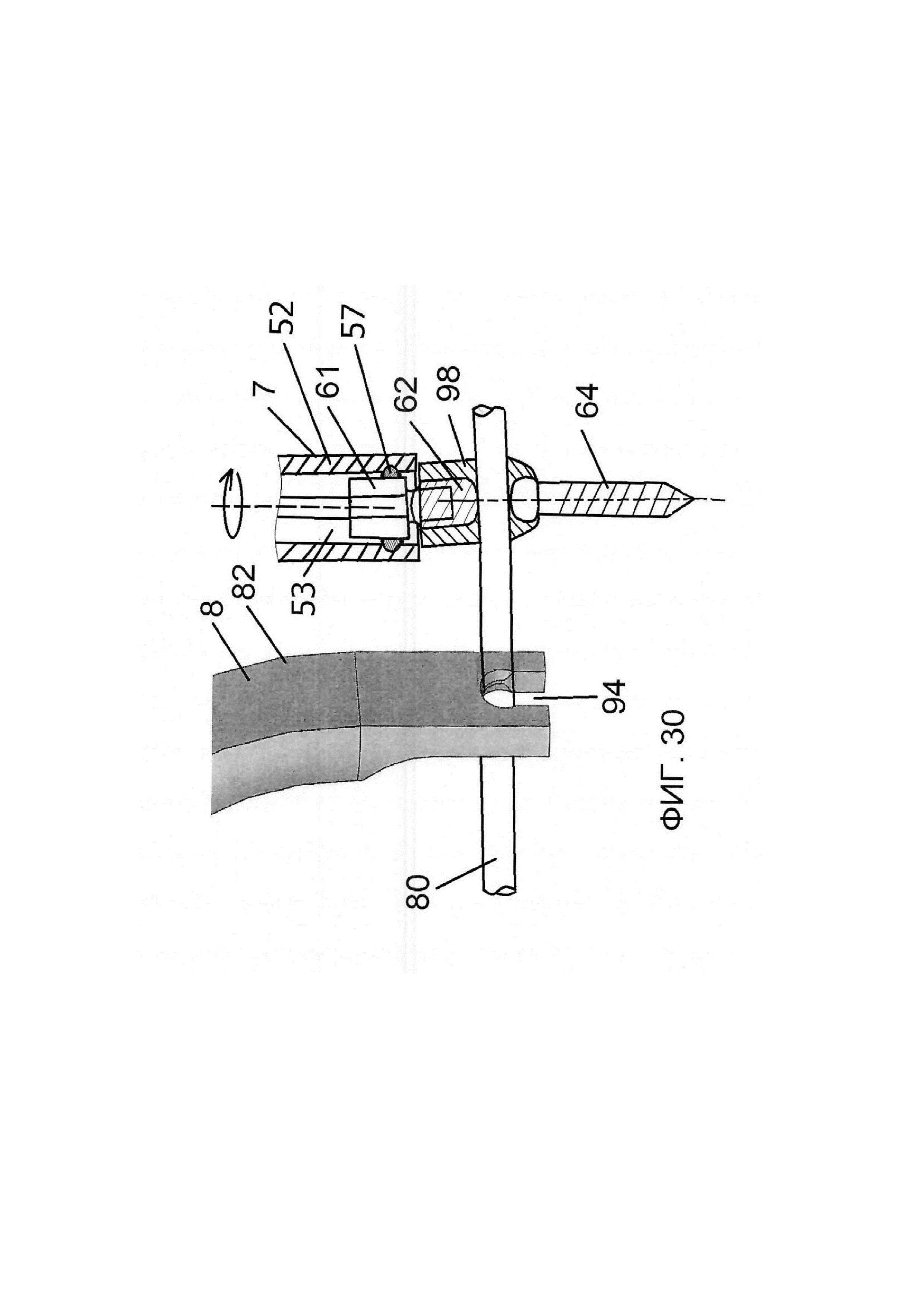
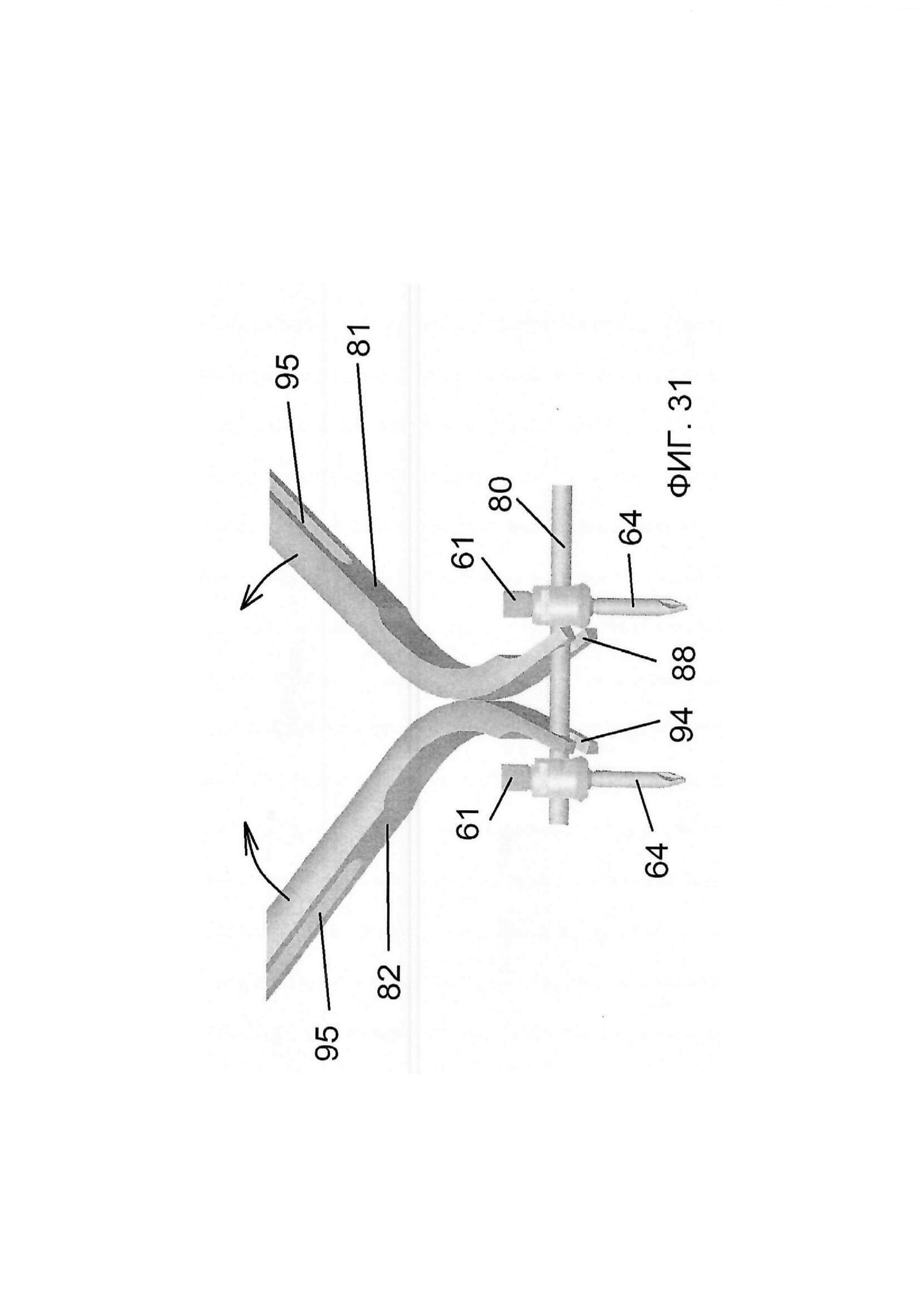
Изобретение относится к медицине, в частности к ортопедии и травматологии, конкретно касается устройства хирургической задней транспедикулярной стабилизации позвоночника при травмах, и может быть использовано при хирургическом лечении дегенеративных заболеваний позвоночника. В медицине транспедикулярная фиксация применяется уже около 50 лет. Суть операции заключается в жестком соединении между собой соседних позвонков посредством вкручивания транспедикулярных винтов и соединения их между собой стержнями. Показаниями для проведения этого вида хирургического вмешательства зачастую выступают: переломы позвоночника; смещения позвонков; стеноз позвоночного канала, нестабильность позвоночно-двигательного сегмента и другие заболевания, требующие фиксации. Транспедикулярная фиксация выполняется из заднего доступа под общим наркозом. Для обеспечения полноценного контроля над ходом процедуры используется ЭОП или КТ. Нейрохирург скелетирует (оголяет) отростки и задние структуры позвонков, находит место пересечения суставного отростка с поперечным и вкручивает в эту точку титановый винт. Эта манипуляция повторяется с противоположной стороны позвоночника и на всех интересующих уровнях. Винты существуют разных форм и размеров, что позволяет подобрать оптимальный вариант как для шейного или поясничного, так и для грудного отдела позвоночника. В шляпке каждого винта присутствует глухое отверстие с винтовой резьбой, в которое погружают металлический стержень, тем самым соединяя все позвонки с обеих сторон посредством пары металлических стержней. Сверху каждый стержень фиксируется при помощи стопорных винтов, вкрученных в винтовую резьбу каждого глухого отверстия шляпки. Результатом операции является достижение ограничение подвижности в нестабильных сегментах за счет прочного скрепления двух и более позвонков. В течение 3-6 месяцев они срастаются между собой и превращаются в единый костный фрагмент позвоночника. Поэтому после операции возможность совершения движений в зафиксированных сегментах отсутствует. Это не сильно сказывается на общей подвижности человека, если транспедикулярная система установлена на 2-3 позвонках. В большинстве случаях люди практически не замечают изменений, могут нормально ходить и заниматься повседневными делами, не испытывая при этом дискомфорта и присутствовавших ранее симптомов. Поиск и разработка оптимальных средств для проведения вышеописанной операции является актуальной задачей. Требования к данной группе медицинских инструментов были определены с самого начала их появления: простота использования и стерилизация, надежность, химическая нейтральность, безопасность. В настоящее время инструменты для проведения выше упомянутой операции производят разные фирмы в разных странах: ООО «КОНМЕТ» (Россия), Johnson & Johnson (США), MEDTRONIC (США), Stryker (США) и другие. Как правило, фирмы предлагают различные индивидуальные наборы инструментов для проведения операции. Приобретение инструмента, обучение хирурга и прохождение сертификации требует значительных финансовых затрат, отнимает много времени. Из существующего уровня техники известно, что контейнер является эффективным и универсальным средством для хранения, транспортировки и презентации инструментов в простой и компактной форме (см. WO 2005/016183 A1, US 5732821, WO 2014116229 (А1). Проведенный патентный поиск выявил отдельные виды инструментов, имплантатов и протезов. Все выявленные наборы содержат несколько ящиков инструментов, чтобы охватить все виды операций, что ограничивает их мобильность. Однако не были выявлены относительно компактные наборы с унифицированным комплектом инструментов для проведения транспедикулярной фиксации. Известен набор имплантатов металлофиксаторов и инструментов для фиксации проксимального отдела бедренной кости у детей (см. патент на полезную модель №79411, А61В 17/58, 2009, РФ), разработанный ФГБУ «ЦИТО им. Н.Н. Приорова» Минздрава России совместно с ФГУП «ЦИТО» для хирургического лечения различных патологий тазобедренного сустава у детей. Металлофиксаторы, включенные в предлагаемый набор, разработаны с учетом возрастного аспекта от 1,5 до 15 лет. Номенклатура металлофиксаторов предусматривает: 38 типоразмеров пластин угловых клинковых, 40 типоразмеров пластин угловых клинковых медиализирующих Г-образных, фиксаторы для межвертельной остеотомии по Троценко - 4 типоразмера, а также соответствующий комплект кортикальных винтов 44 шт. Для обеспечения проведения операции по установке металлофиксаторов, предусмотрен необходимый комплект оригинального медицинского инструмента, включающий в себя: спицы Киршнера, долота установочные канюлированные, экстракторы-импакторы, импакторы, ключи для сгибания пластин, защитники тканей, костодержатели. Недостаток полезной модели заключается в том, что предложенные имплантаты предназначены только для лечения патологий тазобедренного сустава у детей и не учитывают анатомии и биомеханики других частей тела человека. Однако, как и предыдущее техническое решение, она сравнительно громоздка. Задачей заявленного изобретения «Набор инструментов для проведения транспедикулярной фиксации позвоночника с моделированием стержней и фиксацией транспедикулярных и стопорных винтов» является создание компактного набора с унифицированным комплектом инструментов для проведения транспедикулярной фиксации, содержащего необходимый и достаточный набор инструментов для проведения операции данного типа, позволяющий значительно облегчить и ускорить проведение операций. Техническим результатом заявленного изобретения в соответствии с поставленной технической задачей, является: - значительное уменьшение размера комплекта за счет того, что в него входит минимально необходимые инструменты для проведения операции транспедикулярной фиксации позвоночника с моделированием балок и фиксацией транспедикулярных и стопорных винтов, а также за счет наличия общей ручки у четырех инструментов с унифицированным захватом; - более эффективное и быстрое проведение операции, в том числе точный изгиб стержней; - возможность моделирования стержней; - наличие заводской стерилизации; - многофункциональность в результате совмещения функций шила (короткое острие) и развертки (длинное острие) в одном инструменте шило-развертка (в наборе шило одновременно используется и как шило, и как развертка, за счет удлинения острия шила) (два инструмента в одном сразу); - простота транспортировки набора и повышение его мобильности (можно перевезти, положив в рюкзак или в ручную кладь); - упрощение хирургической процедуры и сокращение времени операции из-за хранения инструментов в одном наборе, простого обращения с ними; - расширение арсенала средств для лечения данного заболевания. Поставленная техническая задача и технический результат достигаются благодаря тому, что предлагается набор инструментов для проведения транспедикулярной фиксации позвоночника с моделированием стержней и фиксацией транспедикулярных и стопорных винтов, содержащий рукоятку, шило, щуп, отвертку с многогранным наконечником для введения и извлечения транспедикулярных винтов, отвертку с многогранным наконечником для введения и извлечения стопорных винтов, ключ стопорного винта и изгибатель для моделирования стержня и фиксации транспедикулярных и стопорных винтов, причем, согласно изобретению, шило, отвертка с многогранным наконечником для введения и извлечения транспедикулярных винтов, отвертка с многогранным наконечником для введения и извлечения стопорных винтов и ключ стопорного винта, выполнены на заднем конце в форме многогранника от торца на части длины, за которым расположена кольцевая канавка сферической формы в сечении, а рукоятка выполнена с наконечником с возможностью захвата их задних концов. Данная совокупность общих существенных признаков представляет собой сущность заявляемого изобретения. Она необходима и достаточна во всех случаях его реализации. Такое техническое решение имеет следующие преимущества по сравнению с прототипом: - в комплект входят только инструменты, необходимые для проведения операции транспедикулярной фиксации позвоночника с моделированием стержней и фиксацией транспедикулярных и стопорных винтов, причем за счет наличия общей ручки у четырех инструментов значительно уменьшен размер комплекта что позволит хирургу осуществить эффективное и быстрое проведение операции, в том числе точный изгиб стержней; - упрощение хирургической процедуры и сокращение времени операции из-за хранения инструментов в одном наборе, простого обращения с ними, разового использования, без необходимости специальной дополнительной стерилизации; - Возможность его экстренного использования (инструменты полностью готовы для использования для проведения операции, стерильны, хирург приехал и может сразу проводить операцию); - Повышение мобильности набора инструментов (простота и облегчение его транспортировки); - расширении арсенала средств для лечения данного заболевания. Особенность изобретения заключается также в том, что в наборе сосредоточены различные виды инструментов крайне необходимых для быстрого и эффективного проведения операции данного типа. Рукоятка, ключ стопорного винта, изгибатели, представленные в наборе, позволяет повысить удобство проведения операции и сократить время ее проведения. Достижение технического результата «возможность проведения широкого спектра операций по транспедикулярной фиксации позвоночника с моделированием стержней и фиксацией транспедикулярных и стопорных винтов, чтобы позволить хирургу осуществить эффективное и быстрое проведение операции, в том числе точный изгиб балок» достигается за счет отличительных признаков, состоящих в наличии всех необходимых инструментов компактно в одном наборе, исключающий их продолжительный поиск. Достижение технического результата «получение положительной клинической картины и повышение эффективности оперативных вмешательств» достигается за счет отличительных признаков, состоящих в наличии всех необходимых инструментов компактно в одном наборе, исключающий их продолжительный поиск. Достижение технического результата «упрощение хирургической процедуры и сокращение времени операции» достигается за счет отличительных признаков, состоящих в наличии всех необходимых инструментов компактно в одном стерильном наборе и простого обращения с ними. Достижение технического результата «расширении арсенала устройств для лечения данного заболевания» достигается за счет отличительных признаков, состоящих в наличии всех необходимых инструментов компактно в одном наборе, расширяющий возможности выбора набора инструментов, наиболее подходящих для данного медицинского случая. Кроме того, применительно к заявленному устройству необходимо выделить следующие развития и/или уточнения совокупности его общих существенных признаков, относящихся к частным случаям использования изобретения. Соединение наконечника рукоятки с задними концами шила, отверток и ключа стопорного винта можно выполнить различно. Однако, по мнению заявителя, желательно, чтобы наконечник рукоятки был бы цилиндрической формы, одна сторона которого жестко соединена со стержнем ручки и имеет кольцевой выступающий наружу фланец, а другая сторона на части длины от торца заужена и выполнена с продольной осевой многоугольной полостью с уступом в средней части, причем в стенке незауженной части выполнена пара расположенных напротив друг друга поперечных сквозных отверстий, суживающихся в направлении к продольной осевой многоугольной полости, в каждом из которых помещен шар с возможностью расположения в кольцевой канавке сферической формы в сечении на заднем конце шила, отверток и ключа стопорного винта, при этом шары охвачены втулкой, опирающейся, с одной стороны, на кольцевой выступающий наружу фланец наконечника, а также на зауженную часть наконечника посредством кольцевого выступа на конце втулки и на незауженную часть наконечника посредством промежуточного кольцевого выступа втулки, в полости между кольцевым выступающим наружу фланцем наконечника и промежуточным кольцевым выступом втулки, опирающимся на незауженную часть наконечника, помещена пружина, а полость между промежуточным кольцевым выступом втулки, опирающимся на незауженную часть наконечника, и кольцевым выступом на конце втулки выполнена с уширением в направлении к наружной поверхности на части длины со стороны конца втулки, и при этом на втулке со стороны, опирающейся на фланец наконечника, с отступом от торца выполнен фланец втулки, причем во втулке между фланцем втулки и торцом втулки, примыкая к фланцу втулки, образована пара расположенных напротив друг друга сквозных отверстий, в которых размещены выступы плоской упругой шпильки, соединенные между собой перемычкой, с возможностью контакта одной боковой стороной с боковой стороной фланца наконечника. Такая конструкция характеризуется простотой и надежностью в эксплуатации. Техническим результатом такой конструкции рукоятки является сокращение габаритов набора и удобство смены инструментов набора (шило, отвертки, ключ стопорного винта), имеющих вышеописанные задние концы. Оно является следствием вышеперечисленной совокупности существенных признаков В результате резко сокращены объем набора, при сохранении всех необходимых функций у инструментов и возможности быстрой, простой и легкой замены инструмента на конце рукоятки. Важно также, что расширяется арсенал устройств для осуществления проведения транспедикулярной фиксации позвоночника с моделированием стержней и фиксацией мультиаксиальных транспедикулярных и стопорных винтов. Не нужно часто менять инструмент. Один инструмент обеспечивает решение нескольких задач, например, шило-развертка. Другой пример: изгибатели. Они используются как для моделирования формы стержней, так и для контракции и дистракции позвонков, и, кроме того, для деротации металлоконструкции при фиксации и отрыве головок стопорных винтов. Для предотвращения скольжения руки хирурга при проведении операции, предпочтительно, чтобы на наружной поверхности втулки рукоятки были бы выполнены кольцевые канавки. Ключ стопорного винта может иметь различную конструкцию. Однако, по мнению заявителя, целесообразно, чтобы он включал бы хвостовик и наконечник, причем хвостовик с одной стороны выполнен от торца на части длины в форме многогранника (4-гранной формы), за которым расположена с отступом кольцевая канавка сферической формы в сечении для соединения с рукояткой, а с другой стороны соединен с наконечником ключа стопорного винта, имеющего цилиндрическую форму, при этом внутри наконечника стопорного винта со стороны, противоположной хвостовику, имеется продольное осевое шестигранное отверстие, переходящее в цилиндрическое отверстие, в продольном осевом шестигранном отверстии вблизи торца наконечника образована поперечная кольцевая канавка в стенке, в которое вставлено кольцо круглого поперечного сечения из упругого материала, например, силикона, а с противоположной стороны наконечника на участке цилиндрического отверстия со стороны хвостовика имеется прямоугольное поперечное сквозное отверстие в стенке наконечника и расположенное напротив него симметрично относительно его центра цилиндрическое поперечное сквозное отверстие. Такая конструкция характеризуется тем, что позволяет накапливать внутри нее головки стопорных винтов, непрерывно переходя от одного стопорного винта к другому при фиксации балки и не тратя лишнего времени на эвакуацию по одной головке стопорного винта. Желательно, чтобы отвертка набора с многогранным наконечником для введения и извлечения транспедикулярных винтов имела бы тело цилиндрообразной формы, причем ее задний конец выполнен от торца на части длины в форме многогранника, за которым расположена с отступом кольцевая канавка сферической формы в сечении для соединения с рукояткой, например, отвертка для введения и извлечения транспедикулярных винтов имеет шестигранный наконечник размером 3,5 мм, а ее задний конец выполнен со стороны торца на части длины четырехгранной формы. Предпочтительно, чтобы отвертка набора с многогранным наконечником для введения и извлечения стопорных винтов имела бы тело цилиндрообразной формы, причем ее задний конец выполнен от торца на части длины в форме многогранника, за которым расположена с отступом кольцевая канавка сферической формы в сечении для соединения с рукояткой, в частности, отвертка для введения и извлечения стопорных винтов имеет шестигранный наконечник размером 4,0 мм, а ее задний конец выполнен со стороны торца на части длины четырехгранной формы. Целесообразно, чтобы шило набора имело бы тело цилиндрообразной формы с заостренным наконечником, причем ее задний конец выполнен от торца на части длины в форме многогранника, за которым расположена с отступом кольцевая канавка сферической формы в сечении для соединения с рукояткой. Шило, за счет удлиненного наконечника, используется как развертка для формирования канала для проведения транспедикулярных винтов в теле позвонка. Этому способствует также то обстоятельство, что длина шила увеличивается при присоединении рукоятки. Желательно, чтобы щуп имел бы тело цилиндрообразной формы с отогнутым концом, причем на ее заднем конце были бы выполнены кольцевые канавки для предотвращения скольжения пальцев хирурга при проведении операции. Для экономии времени для проведения операции, желательно, чтобы все инструменты набора были бы стерилизованы, размещены в герметичном блистере, покрытом снимаемой вручную прозрачной пленкой. Для дополнительного экономии времени, предпочтительно, чтобы набор был разового использования. Для повышения удобства пользования набором, целесообразно, чтобы каждый инструмент для проведения транспедикулярной фиксации позвоночника был бы расположен в выемке для инструмента корпуса блистера, к которому примыкает дополнительная выемка на одном уровне с уровнем выемки для инструмента. Дополнительно набор оснащен изгибателем для моделирования стержней и фиксации транспедикулярных и стопорных винтов. Конкретно изгибатель предназначен для: • изгибания балок, • проведения деротации при установке стопорных винтов и • осуществления дистракции (обеспечивает раздвижение позвонков) и контракции (обеспечивает сближение) позвонков. Изгибатель содержит пару стержней прямоугольного поперечного сечения, каждый из которых состоит из рукоятки в центральной части и рабочих участков по концам, один из которых отогнут по отношению к продольной оси стержня на угол от 10° до 30° со сквозным поперечным пазом на конце и сквозным поперечным кольцевым отверстием в начале изгиба, а другой отогнут по отношению к продольной оси стержня на угол от 55° до 75° со сквозным продольным пазом от торца, причем при расположении каждого стержня на плоской поверхности с обращенным в противоположную от нее сторону сквозным поперечным пазом на конце, то рабочие участки по концам, отогнутые по отношению к продольной оси каждого стержня на угол от 55° до 75° со сквозным продольным пазом на торцах направлены в противоположные друг от друга стороны. Для повышения удобства пользования, целесообразно, чтобы угол одного стержня изгибателя, на который он отогнут по отношению к продольной оси со сквозным поперечным пазом на конце, равен углу другого стержня изгибателя, на который он отогнут по отношению к продольной оси со сквозным поперечным пазом на конце, а угол одного стержня изгибателя, на который он отогнут по отношению к продольной оси со сквозным продольным пазом от торца, равен углу другого стержня изгибателя, на который он отогнут по отношению к продольной оси со сквозным продольным пазом от торца. Для облегчения веса изгибателя и предотвращения скольжения руки хирурга по инструменту каждый из пары стержней изгибателя имеет продольные сквозные отверстия. Иначе говоря, можно сформулировать следующие преимущества заявленного технического решения: Набор включает в себя весь необходимый специализированный инструментарий для выполнения транспедикулярной фиксации позвоночника; Набор стерилизуется в заводских условиях, что позволяет использовать его сразу по прибытии бригады хирургов в клинику, где находится пациент; Количество инструментов в наборе снижено за счет унификации, когда один инструмент имеет общие узлы: рукоять и «насадки»; Один инструмент выполняет несколько функций: 1. Шило - развертка для формирования канала для установки винта, 2. Изгибатели, деротаторы, контракторы, дистракторы. Небольшое количество инструментов обусловливает низкий вес набора; При необходимости выполнения нескольких вмешательств на выезде бригада может компоновать стерильные наборы различным сочетанием винтов и балок в зависимости от потребности; Данный комплект инструментов позволяет выполнить любую транспедикулярную фиксацию различной протяженности, компоновки системы в грудном и пояснично-крестцовом отделах позвоночника; Изгибатель является многофункциональным инструментом: он обеспецивают функции деротации, контракции, дистракции, моделирования (сгибания/разгибания) стержня. Изобретение иллюстрируется следующими чертежами. На фиг. 1 изображен набор инструментов, размещенный в блистере, вид сверху; На фиг. 2 - то же, вид сбоку, изометрия (без инструментов); На фиг. 3 изображена рукоятка, продольное сечение; На фиг. 4 изображена в увеличенном масштабе часть рукоятки в области наконечника, продольное сечение; На фиг. 5 - то же, изометрия; На фиг. 6 изображен вид со стороны наконечника рукоятки, изометрия; На фиг. 7 изображен отдельно наконечник рукоятки, изометрия; На фиг. 8 изображена отдельно втулка рукоятки, изометрия; На фиг. 9 - то же, вид сбоку; На фиг. 10 - то же, продольное сечение; На фиг. 11 изображена шпилька, изометрия; На фиг. 12 изображена рукоятка со стороны ручки, изометрия; На фиг. 13 изображена пружина, изометрия; На фиг. 14 изображен ключ стопорного винта, изометрия со стороны наконечника для отломки стопорных винтов; На фиг. 15 - то же, со стороны хвостовика; На фиг. 16 изображен наконечник, продольное сечение; На фиг. 17 - то же, продольное сечение, изометрия; На фиг. 18 изображен наконечник со стороны, к которой присоединяется хвостовик; На фиг. 19 изображено продольное сечение наконечника с вставленным полимерным кольцом и с присоединенным к наконечнику хвостовиком; На фиг. 20 изображено кольцо из упругого материала, изометрия; На фиг. 21 изображен хвостовик, аксонометрия; На фиг. 22 изображена конструкция, состоящая из транспедикулярных винтов с продольными и поперечными балками, зафиксированными при помощи стопорных винтов с головками, которые удаляются при помощи ключа стопорного винта из набора, изометрия; На фиг. 23 изображена отвертка с многогранным (4-гранным) наконечником размером 3,5 мм для введения и извлечения транспедикулярных винтов, изометрия; На фиг. 24 изображена отвертка с многогранным (4-гранным) наконечником размером 4,0 мм для введения и извлечения стопорных винтов, изометрия; На фиг. 25 изображено шило, изометрия; На фиг. 26 изображен щуп, изометрия; На фиг. 27 изображен изгибатель в виде пары стержней, изометрия; На фиг. 28 изображен изгибатель в виде пары стержней, в положении при моделировании (изгибании) балки (1 вариант), изометрия; На фиг. 29 изображен изгибатель в виде пары стержней, в положении при моделировании (изгибании) балки (2 вариант), изометрия; На фиг. 30 схематично изображено использование изгибателя как деротатора (например, для предотвращения нежелательного поворота транспедикулярных винтов), изометрия. На фиг. 31 изображено использование изгибателя при осуществлении дистракции позвонков, изометрия. На фиг. 32 изображено использование изгибателя при осуществлении контракции позвонков, в увеличенном масштабе в области транспедикулярных винтов, боковая проекция, изометрия. На фиг. 33 - то же, вид сверху в целом всего устройства, изометрия. На фиг. 34 - то же, вид сверху в увеличенном масштабе в области транспедикулярных винтов, изометрия. На фиг. 35 - то же, вид сбоку всего устройства в другом ракурсе, изометрия. На фиг. 36 - то же, вид сбоку всего устройства еще в одном ракурсе, изометрия. Набор 1 инструментов для проведения транспедикулярной фиксации позвоночника с моделированием балок и фиксацией мультиаксиальных транспедикулярных и стопорных винтов, содержит рукоятку 2, шило 3, щуп 4, отвертку 5 с многогранным наконечником для введения и извлечения транспедикулярных винтов, отвертку 6 с многогранным наконечником для введения и извлечения стопорных винтов, ключ стопорного винта 7 и изгибатель 8 для моделирования балок и фиксации мультиаксиальных транспедикулярных и стопорных винтов, причем шило 2, отвертка 5 с многогранным наконечником для введения и извлечения транспедикулярных винтов, отвертка 6 с многогранным наконечником для введения и извлечения стопорных винтов и ключ 7 стопорного винта, выполнены на заднем конце 9 в форме многогранника 10 от торца 11 на части длины, за которым расположена кольцевая канавка 12 сферической формы в сечении, а рукоятка 2 выполнена с наконечником 13 с возможностью захвата их задних концов 9. Итак, техническим результатом заявленного изобретение является то, что - в комплект входят только инструменты, необходимые для проведения операции транспедикулярной фиксации позвоночника с моделированием балок и фиксацией мультиаксиальных транспедикулярных и стопорных винтов, причем за счет наличия общей ручки у четырех инструментов значительно уменьшен размер комплекта, что позволяет хирургу осуществить эффективное и быстрое проведение операции, в том числе точный изгиб балок; - упрощена хирургическая процедура и сокращено время операции из-за хранения инструментов в одном наборе, простого обращения с ними, разового использования, без необходимости специальной дополнительной стерилизации; - расширен арсенал средств для лечения данного заболевания. Из выше приведенного абзаца следует значимость отличительных признаков, заключающихся в компактности набора и удобства пользования им. В результате хирург не испытывает необходимость постоянной замены инструментов при проведении операции, расходуя на это время. Тем самым удалось добиться: повышение удобства проведения операции, снижение времени на ее проведение, повышение качества проведения операции, а также расширение арсенала устройств для лечения данного заболевания. Далее рассмотрим конструкции отдельных инструментов набора, которые вместе позволяют эффективно проводить транспедикулярную фиксацию позвоночника с моделированием балок и фиксацией мультиаксиальных транспедикулярных и стопорных винтов. Как отмечено выше шило 3, отвертка 5 с многогранным наконечником для введения и извлечения транспедикулярных винтов, отвертка 6 с многогранным наконечником для введения и извлечения стопорных винтов и ключ 7 стопорного винта, выполнены на заднем конце 9 в форме многогранника 10 от торца 11 на части длины, за которым расположена кольцевая канавка 12 сферической формы в сечении, а рукоятка 2 выполнена с наконечником 13 с возможностью захвата их задних концов 9. Рассмотрим конструкцию рукоятки 2 с наконечником 13 для захвата задних концов 9 выше перечисленных четырех инструментов набора 1. Рукоятка 2 включает наконечник 13 рукоятки цилиндрической формы, одна сторона 14 которого жестко соединена со стержнем 15 ручки 16 и имеет кольцевой выступающий наружу фланец 17, а с другой стороны 18 наконечника 13 цилиндрической формы на части длины от торца 19 имеется зауженная снаружи часть 20 с продольной осевой многоугольной полостью 21 с уступом 22 в средней части, причем в стенке незауженной части 23 наконечника 13 цилиндрической формы выполнена пара расположенных напротив друг друга поперечных сквозных отверстий 24, суживающихся в направлении к продольной осевой многоугольной полости 21, в каждом из которых помещен шар 25 с возможностью расположения в кольцевой канавке 12 сферической формы в сечении на заднем конце 9 шила 3, отвертки 5 с многогранным наконечником для введения и извлечения транспедикулярных винтов, отвертки 6 с многогранным наконечником для введения и извлечения стопорных винтов и ключа 7 стопорного винта, при этом шары 25 охвачены втулкой 26, опирающейся с одной стороны 27 на кольцевой выступающий наружу фланец 17 наконечника 13, а с другой стороны 28 также на зауженную снаружи часть 20 наконечника 13 посредством кольцевого выступа 29 на конце втулки 26 и на незауженную часть 23 наконечника 13 посредством промежуточного кольцевого выступа 30 втулки 26, в полости 31 которой между кольцевым выступающим наружу фланцем 17 наконечника 13 и промежуточным кольцевым выступом 30 втулки 26, опирающимся на незауженную часть 23 наконечника 13, помещена пружина 32, а полость 33 между промежуточным кольцевым выступом 30 втулки 26, опирающимся на стенку незауженной части 23 наконечника 13, и кольцевым выступом 29 на конце втулки 26 выполнена с уширением 34 в направлении к наружной поверхности втулки на части длины со стороны кольцевого выступа 29 втулки 26, и при этом на втулке 26 со стороны, опирающейся на фланец 17 наконечника 13, с отступом от торца выполнен фланец 35 втулки 26, причем во втулке 26 между фланцем 35 втулки 26 и торцом 36 втулки 26, примыкая к фланцу 35 втулки 26, образована пара расположенных напротив друг друга сквозных отверстий 37, в которых размещены выступы 38 плоской упругой шпильки 39, соединенные между собой перемычкой 40, с возможностью контакта одной боковой стороной 41 плоской упругой шпильки 39 с боковой стороной 42 фланца 17 наконечника 13. Для установки плоской упругой шпильки 39 сначала ее выступы 38 разводят в разные стороны и вставляют в сквозные отверстия 37, а затем выступы 38 отпускают, которые за счет сил упругости сходятся и оказываются внутри сквозных отверстий 37, фиксируя втулку 26 на наконечнике 13. На наружной поверхности втулки 26 рукоятки 2 выполнены кольцевые канавки 43, для предотвращения скольжения пальцев хирурга по поверхности наконечника. Такова конструкция рукоятки в статике. Рукоятка 2 является универсальным инструментом набора 1 и предназначена для периодического, по мере необходимости, при проведении операции крепления на ней шила 3, отвертки 5 с многогранным наконечником для введения и извлечения транспедикулярных винтов, отвертки 6 с многогранным наконечником для введения и извлечения стопорных винтов и ключа 7 стопорного винта. Крепление обеспечивается тем, что задний конец этих инструментов выполнен у всех одинаково для возможности соединения с наконечником рукоятки, а именно, их задний конец 9 имеет форму многогранника 10 от торца 11 на части длины, за которым расположена кольцевая канавка 12 сферической формы в сечении, а рукоятка 2 выполнена с наконечником 13 с возможностью захвата их задних концов 9. Для этого задний конец в виде многогранника 10 вводится в продольную осевую многоугольную полость наконечника 13, причем перед введением сначала смещают до упора подпружиненную втулку 26, освобождая шарики, вводят задний конец шила, отвертки или ключ стопорного винта до упора и отпускают втулку 26, которая под действие пружины 32 смещается вдоль наконечника 13, блокируя шары в кольцевой канавке 12 сферической формы в сечении шила, отвертки 5 с многогранным наконечником для введения и извлечения транспедикулярных винтов, отвертки 6 с многогранным наконечником для введения и извлечения стопорных винтов и ключа 7 стопорного винта. Рассмотрим подробно сборку рукоятки 2, а затем ее работу. Сначала наконечник 13 напрессовывают на выступ 44 стержня 15 ручки 16 и дополнительно фиксируют штифтом 45; Берут пружину 32 и надевают ее на наружную поверхность наконечника 13 до упора во фланец 17 наконечника 13, точнее одевают ее снаружи на стенку 23 незауженной части наконечника 13; Берут два шара 25 и вкладывают их в пару поперечных сквозных отверстий 24, суживающихся в направлении к продольной осевой многоугольной полости 21 наконечника на его противоположных сторонах, при этом, поскольку отверстия с сужениями, то шары не проваливаются; Придерживая шары 25 снаружи втопленными в их поперечные сквозные отверстия 24, одевают на наконечник 13 втулку 26, сжимая ПРИ ЭТОМ пружину 32 до тех пор, пока сквозные отверстия 37 на втулке 26 не выйдут за наружную поверхность наконечника 13; После выхода сквозных отверстий 37 на втулке 26 за наружную поверхность наконечника 13 берут плоскую упругую шпильку 39 и вставляют ее сверх охватывая втулку 26, двигая ее поперек втулки 26 и наконечника 13 так, чтобы выступы 38 упруго раздвинулись и вошли в сквозные отверстия 37. Шпилька должна в конце движения упереться перемычкой 40 в поверхность 46 втулки 26 (шпилька садится и таким образом защелкивается на втулке 26); Ручка 16 напрессовывают на другой конец 47 стержня 15 и фиксируется штифтом 48 для надежности. Как отмечено выше, на наружной поверхности втулки 26 выполнены (имеются) кольцевые канавки 43 для исключения скольжения руки хирурга при проведении операции, когда надо поменять инструмент. На штифтах есть фаски, для удобства вставления в отверстия и чтобы не было задиров. Вставление заднего конца 9 инструмента, например, заднего конца 9 шила 3, в наконечник 13 рукоятки 2 осуществляют следующим образом. Втулку 26 сдвигают до упора, пока промежуточный кольцевой выступ 30 втулки 26 не сожмет полностью пружину 32. Уширение 34 полости 33 между промежуточным кольцевым выступом 30 втулки 26, опирающимся на стенку незауженной части 23 наконечника 13, и кольцевым выступом 29 на конце втулки 26, оказывается над шарами 25 и шары имеют возможность разойтись (сдвинуться) в противоположных направлениях. Удерживая втулку в таком положении вставляют требуемый инструмент задним концом 9, например, шила 3 до упора, вдвигая многогранник 10 (четырехгранник) на инструменте в продольную осевую многоугольную полость 21(четырехугольную полость) в наконечнике 13. В результате чего кольцевая канавка 12 сферической формы в сечении на заднем конце 9 инструмента, например, шила 3, оказывается напротив расположения шаров. После чего втулка 26 отпускается и за счет силы пружины 32 она возвращается в свое первоначальное положение, а кольцевой выступ 49 внутри полости втулки 26 наезжает на шар 25, фиксируя их в кольцевой канавке 12 сферической формы в сечении, предотвращая выпадение инструмента из рукоятки, а задний конец 9 шила 3 в форме многогранника (например, четырехгранника) обеспечивает надежную передачу усилия момента на инструмент. Очевидно, что количество граней у многогранника 10 инструмента должно совпадать с числом граней многоугольной полости 21 наконечника 13. Технологически удобно многоугольную полость 21 изготавливать образуя сначала цилиндрическую полость, образуя, например, четыре уступа 50 для введения заднего конца инструмента в форме многогранника (в частности, четурехгранника). Удаление инструмента из наконечника 13 рукоятки 2 или его замена производится аналогично в обратном порядке: Втулка 26 сдвигается до упора, пружина 32 сжимается; Шары 25 освобождаются; Инструмент вытаскивается, выдавливая шар 25. Далее рассмотрим конструкцию следующего инструмента, а именно, ключа стопорного винта. Ключ стопорного винта предназначен для затяжки стопорных винтов и отламывания их шестигранной части. Ключ 7 стопорного винта включает хвостовик 51 и наконечник 52, соединенные между собой. Хвостовик 51 имеет возможность одной стороной быть соединенным с рукояткой 2. Крепление обеспечивается тем, что задний конец 9 хвостовика 51 ключа 7 стопорного винта имеет форму многогранника 10 от торца 11 на части длины, за которым расположена кольцевая канавка 12 сферической формы в сечении, а рукоятка 2 выполнена с наконечником 13 с возможностью захвата их задних концов 9. Для этого задний конец в виде многогранника 10 вводится в продольную осевую многоугольную полость наконечника 13, причем перед введением сначала смещают до упора подпружиненную втулку 26, освобождая шарики, вводят задний конец хвостовика ключа стопорного винта до упора и отпускают втулку 26, которая под действие пружины 32 смещается вдоль наконечника 13, блокируя шары в кольцевой канавке 12 сферической формы в сечении заднего конца хвостовика ключа стопорного винта так, как это было показано выше (см. выше). Хвостовик 51 другой стороной соединен с наконечником 52 ключа стопорного винта, имеющего цилиндрическую форму, при этом внутри наконечника 52 ключа стопорного винта со стороны, противоположной хвостовику, имеется продольное осевое шестигранное отверстие 53, переходящее в цилиндрическое отверстие 54, в продольном осевом шестигранном отверстии 53 вблизи торца 55 наконечника 52 образована поперечная кольцевая канавка 56 в стенке, в которое вставлено кольцо 57 , например, круглого поперечного сечения, из упругого материала, например, силикона, а с противоположной стороны наконечника 52 на участке цилиндрического отверстия 54 со стороны хвостовика 51 имеется прямоугольное поперечное сквозное отверстие 58 в стенке наконечника для удаления отломанных частей стопорных винтов и расположенное напротив него симметрично относительно его центра цилиндрическое поперечное сквозное отверстие 59. Прямоугольное поперечное сквозное отверстие 58 имеет также второе название «ревизионное отверстие», поскольку через нее производится проверка (ревизия) заполнения продольного осевого шестигранного отверстия 53 и цилиндрического отверстия 54 ключа стопорного винта. СБОРКА ключа стопорного винта: наконечник 52 напрессовывают на хвостовик 51 и фиксируют штифтом 60. Использование ключа стопорного винта. При описании работы с ключом стопорного винта будем исходить из того, что транспедикулярная фиксация при помощи винтов и балок общеизвестна и не требует дополнительного пояснения (см. фиг. 22). Сначала надевают хвостовик 51 ключ стопорного винта со стороны торца 55 на 6-гранную часть 61 стопорного винта 62 так, чтобы кольцо 57 из упругого материала охватило 6-гранную часть 61 стопорного винта 62. Стенки продольного осевого шестигранного отверстия 53 плотно охватывают 6-гранную часть 61 стопорного винта 62. Затягивают стопорный винт путем вращения ключа 7 стопорного винта до момента отламывания 6-гранной части 61 стопорного винта. При этом изгибатель удерживает балку от ротации (см. ниже описание изгибателя). После отламывания 6-гранной части 61 стопорного винта 62 отломанная часть удерживается внутри продольного осевого шестигранного отверстия 53 ключа 7 стопорного винта за счет кольца 57 из упругого материала, например, из силикона. Отводят ключ 7 стопорного винта от стопорного винта 62 вместе с оставшейся внутри него отломанной 6-гранной частью стопорного винта, удерживаемой кольцом 57 из упругого материала, например, из силикона. Упругое эластичное кольцо 57 необходимо для предотвращения выпадения отломанной 6-гранной части стопорного винта после фиксации (затягивания), которое остается внутри наконечника. Переходят к другому стопорному винту и там производят аналогичную операцию, при этом отломанная часть другого стопорного винта смещает внутрь продольного осевого шестигранного отверстия 53 ключа 7 стопорного винта отломанную ранее часть другого стопорного винта, оставаясь при этом зафиксированной силиконовым кольцом. В результате внутри продольного осевого шестигранного отверстия 53 ключа стопорного винта окажется пара отломанных частей стопорного винта. Всего внутри полости стопорного винта может находиться максимум восемь отломанных частей (головок) стопорных винтов. Через прямоугольное поперечное сквозное отверстие 58 в стенке ключа стопорного винта отломанные 6-гранные части (головки) стопорных винтов могут быть удалены наружу из продольного осевого шестигранного отверстия 53 ключа стопорного винта. Если отломанные части (головки) стопорных винтов застряли в прямоугольном поперечном сквозном отверстии 58 в стенке ключа стопорного винта, то они могут быть вытолкнуты, например, отверткой, через расположенное напротив него симметрично относительно его центра цилиндрическое поперечное сквозное отверстие 59. Ключ стопорного винта заявленной конструкции повышает удобство удаления отломанных частей стопорных винтов, поскольку за счет полости происходит их накопление внутри ключа стопорного винта, одновременно решается проблема утилизации отломанных частей стопорных винтов, сокращаются сроки проведения операции. Это достигается за счет следующих отличительных признаков: ключ стопорного винта включает хвостовик и наконечник, причем хвостовик с одной стороны выполнен от торца на части длины в форме многогранника (4-гранной формы), за которым расположена с отступом кольцевая канавка сферической формы в сечении для соединения с рукояткой, а с другой стороны соединен с наконечником ключа стопорного винта, имеющего цилиндрическую форму, при этом внутри наконечника ключа стопорного винта со стороны, противоположной хвостовику, имеется продольное осевое шестигранное отверстие, переходящее в цилиндрическое отверстие, в продольном осевом шестигранном отверстии вблизи торца наконечника образована поперечная кольцевая канавка в стенке, в которое вставлено кольцо из упругого материала, а с противоположной стороны наконечника на участке цилиндрического отверстия со стороны хвостовика имеется прямоугольное поперечное сквозное отверстие в стенке наконечника для удаления отломанных частей стопорных винтов и расположенное напротив него симметрично относительно его центра цилиндрическое поперечное сквозное отверстие. Далее рассмотрим конструкцию следующего инструмента, а именно, отвертки. В наборе присутствует две отвертки, которые были ранее обозначены позициями 5 и 6. Однако, для удобства охарактеризовывания изобретения на фиг. 23 и 24 им будут присвоены другие позиции, а именно, отвертка 5 будет обозначена как позиция 63, а отвертка 6 - как позиция 67. Итак, одна отвертка 63 (фиг. 23) предназначена для введения и извлечения транспедикулярных винтов 64 (фиг. 22). Она имеет тело 65 цилиндрообразной формы, причем ее задний конец выполнен от торца на части длины в форме многогранника, за которым расположена с отступом кольцевая канавка сферической формы в сечении для соединения с рукояткой. В частности, отвертка 63 для введения и извлечения транспедикулярных винтов может иметь шестигранный наконечник 66 размером 3,5 мм, а ее задний конец может быть выполнен со стороны торца на части длины четырехгранной формы. Крепление обеспечивается тем, что задний конец 9 тела 65 отвертки 63 имеет форму многогранника 10 от торца 11 на части длины, за которым расположена кольцевая канавка 12 сферической формы в сечении, а рукоятка 2 выполнена с наконечником 13 с возможностью захвата их задних концов 9. Для этого задний конец в виде многогранника 10 вводится в продольную осевую многоугольную полость наконечника 13, причем перед введением сначала смещают до упора подпружиненную втулку 26, освобождая шарики, вводят задний конец хвостовика ключа стопорного винта до упора и отпускают втулку 26, которая под действие пружины 32 смещается вдоль наконечника 13, блокируя шары в кольцевой канавке 12 сферической формы в сечении заднего конца хвостовика ключа стопорного винта так, как это было показано выше (см. выше). Другая отвертка 67 (фиг. 23) предназначена для введения и извлечения стопорных винтов 62 (фиг. 22). Она имеет тело 68 цилиндрообразной формы, причем ее задний конец выполнен от торца на части длины в форме многогранника, за которым расположена с отступом кольцевая канавка сферической формы в сечении для соединения с рукояткой. В частности, отвертка 67 для введения и извлечения стопорных винтов может иметь шестигранный наконечник 69 размером 4,0 мм, а ее задний конец может быть выполнен со стороны торца на части длины четырехгранной формы. Крепление обеспечивается тем, что задний конец 9 тела 68 отвертки 67 имеет форму многогранника 10 от торца 11 на части длины, за которым расположена кольцевая канавка 12 сферической формы в сечении, а рукоятка 2 выполнена с наконечником 13 с возможностью захвата их задних концов 9. Для этого задний конец в виде многогранника 10 вводится в продольную осевую многоугольную полость наконечника 13, причем перед введением сначала смещают до упора подпружиненную втулку 26, освобождая шарики, вводят задний конец хвостовика ключа стопорного винта до упора и отпускают втулку 26, которая под действие пружины 32 смещается вдоль наконечника 13, блокируя шары в кольцевой канавке 12 сферической формы в сечении заднего конца хвостовика ключа стопорного винта так, как это было показано выше (см. выше). Рассмотрим конструкцию шила 3. Шило 3 предназначено для перфорации кортикального слоя позвонка и развертывания отверстия в его губчатом веществе. Шило 3 имеет тело 70 цилиндрообразной формы с заостренным наконечником 71, причем ее задний конец выполнен от торца на части длины в форме многогранника, за которым расположена с отступом кольцевая канавка сферической формы в сечении для соединения с рукояткой, в частности, задний конец шила выполнен со стороны торца на части длины четырехгранной формы. Крепление обеспечивается тем, что задний конец 9 тела 70 шила 3 имеет форму многогранника 10 от торца 11 на части длины, за которым расположена кольцевая канавка 12 сферической формы в сечении, а рукоятка 2 выполнена с наконечником 13 с возможностью захвата их задних концов 9. Для этого задний конец в виде многогранника 10 вводится в продольную осевую многоугольную полость наконечника 13, причем перед введением сначала смещают до упора подпружиненную втулку 26, освобождая шарики, вводят задний конец хвостовика ключа стопорного винта до упора и отпускают втулку 26, которая под действие пружины 32 смещается вдоль наконечника 13, блокируя шары в кольцевой канавке 12 сферической формы в сечении заднего конца хвостовика ключа стопорного винта так, как это было показано выше (см. выше). Рассмотрим конструкцию щупа 4. Щуп 4 имеет тело 72 цилиндрообразной формы с отогнутым концом 73, причем на ее заднем конце 74 выполнены кольцевые канавки 75 на цилиндрическом утолщении для предотвращения скольжения пальцев хирурга при проведении операции. Щуп 4 предназначен для контроля перфораций и ревизии костного канала в корне дуги и в теле позвонка. У щупа имеется отогнутый конец 73. Он загнут для выше упомянутого контроля отверстия костного канала в теле позвонка. ПРИМЕЧАНИЕ: Для упрощения и удешевления набора щуп 4 может представлять собой прямолинейную спицу с отогнутым концом 73, а на противоположном конце отсутствует утолщение с кольцевыми канавками. После подробного анализа каждого инструмента рассмотрим набор в целом. Его особенностью является то, что все инструменты набора стерилизованы, размещены в герметичном блистере 76, покрытом снимаемой вручную прозрачной пленкой 77. Набор является прибором разового использования, что делает его очень удобным, поскольку инструменты набора не надо повторно стерилизовать. Набор имеет возможность упрощенной транспортировки (поскольку он легкий, компактный) и может быть использован бригадой хирургов на выезде. Для повышения удобства отбора хирургом конкретного инструмента из блистера каждый инструмент для проведения транспедикулярной фиксации позвоночника расположен в выемке 78 для инструмента корпуса блистера, к которому примыкает дополнительная выемка 79 для удобства захвата пальцами инструмента из блистера, например, ногтями пальцев. Еще одним инструментом набора является изгибатель 8, наличие которого позволяет эффективно проводить операцию на ее различных стадиях. Конкретно изгибатель 8 предназначен для: • Моделирования (изгибании) балок 80 (фиг. 28, фиг. 29), • проведения деротации при установке стопорных винтов 62 (фиг. 30), • осуществления дистракции позвонков, путем перемещения транспедикулярных винтов 64 друг от друга, вкрученных перед этим в позвонки (фиг. 31), • осуществления контракции позвонков, путем перемещения транспедикулярных винтов 64 друг к другу, вкрученных перед этим в позвонки (фиг. 32). Изгибатель 8 состоит из пары стержней 81 и 82. Стержень 81 состоит из рукоятки 83 в центральной части и рабочих участков 84 и 85 по концам, причем рабочий участок 84 отогнут по отношению к продольной оси стержня центрального участка на угол α от 10° до 30° (оптимальный угол 20°) со сквозным поперечным пазом 86 на конце и сквозным поперечным кольцевым отверстием 87 в начале изгиба, а рабочий участок 85 отогнут по отношению к продольной оси стержня центрального участка на угол β от 55° до 75° (оптимальный угол 65°) со сквозным продольным пазом 88 от торца, стержень 82 состоит из рукоятки 89 в центральной части и рабочих участков 90 и 91 по концам, причем рабочий участок 90 изогнут по отношению к продольной оси стержня центрального участка на угол от 10° до 30° со сквозным поперечным пазом 92 на конце и сквозным поперечным кольцевым отверстием 93 в начале изгиба, а рабочий участок 91 отогнут по отношению к продольной оси стержня центрального участка на угол от 55° до 75° со сквозным продольным пазом 94 от торца. Стержни 81 и 82 почти одинаковы. Отличие состоит в том, что при расположении каждого стержня 81 и 82 на плоской поверхности с обращенным в противоположную от нее сторону сквозными поперечными пазами 86 и 92 на конце, то рабочие участки по концам, отогнутые по отношению к продольной оси центрального участка каждого стержня на угол от 55° до 75° со сквозными продольными пазами 88 и 94 на торцах направлены в противоположные друг от друга стороны. Заявитель особо отмечает, что наиболее предпочтительна конструкция стержней 81 и 82, при которой угол одного стержня изгибателя, на который он отогнут по отношению к продольной оси центрального участка со сквозным поперечным пазом 86 на конце, равен углу другого стержня изгибателя, на который он отогнут по отношению к продольной оси со сквозным поперечным пазом 92 на конце, а угол одного стержня изгибателя, на который он отогнут по отношению к продольной оси со сквозным продольным пазом 88 от торца, равен углу другого стержня изгибателя, на который он отогнут по отношению к продольной оси со сквозным продольным пазом 94 от торца. Целесообразно также, чтобы каждый из пары стержней 81 и 82 изгибателя 8 имел бы продольные сквозные отверстия 95. Это предотвращает проскальзывание пальцев хирурга по поверхности стержней при проведении операции, а также снижает их вес. Рассмотрим возможные примеры использование изгибателя 8 при проведении операции. Использование изгибателя при моделировании (изгибании) балки (фиг. 22) 1 вариант (фиг. 28) Один конец балки 80 вставляют (кладут) в сквозной поперечный паз 92 стержня 82, А другой конец балки вставляют (кладут) в сквозной поперечный паз 86 стержня 81. После этого доктор посредством им контролируемого усилия изгибает балку как требуется, прикладывая руками усилия в направлениях, обозначенных позициями 96 и 97. Использование изгибателя при моделировании (изгибании) балки 2 вариант (фиг. 29) Один конец балки 80 также вставляют (кладут) в сквозной поперечный паз 92 стержня 82, а второй конец балки вставляют в сквозное поперечное кольцевое отверстие 87 в начале изгиба. После этого доктор посредством им контролируемого усилия изгибает балку как требуется, прикладывая руками усилия, в направлениях, обозначенных позициями 96 и 97. В этом случае балка 90 не выскочит из пазов при изгибании. При моделировании балки 90 по варианту 2 необходимо контролировать изгиб балки 90, поскольку при значительном изгибе балки она не может быть извлечена из сквозного поперечного кольцевого отверстия 87 (произойдет ее заклинивание). Использование изгибателя 8 как деротатора (фиг. 30) Такое использование изгибателя 8 возможно, например, для предотвращения нежелательной ротации транспедикулярного винта 64 при окончательной затяжке стопорного винта 62 (фиг. 22). В этом случае сквозной продольный паз 94 стержня 82 изгибателя 8 помещают на балку 80 в непосредственной близости от головки транспедикулярного винта 64 и удерживают стержень 82 изгибателя на балке 80 при затяжке стопорного винта 62. Рассмотрим это более подробно. Сначала надевают ключ 7 стопорного винта на шестигранную часть 61 стопорного винта, то есть охватывают продольным осевым шестигранным отверстием 53 наконечника 52 ключа 7 стопорного винта шестигранную часть 61 стопорного винта 62 до упора. Затем проводят окончательную затяжку последнего вращательными движениями ключа 7 стопорного винта по часовой стрелке до момента отламывания шестигранной части 61стопорного винта 62. Для предотвращения нежелательной ротации транспедикулярного винта 64 при окончательной затяжке стопорного винта помещают продольный паз 94 изгибателя на балку 80 в непосредственной близости от головки 98 транспедикулярного винта 64 и неподвижно удерживают стержень 82 изгибателя на балке 80 при затяжке, например, противоположный конец стержня 82 захватывается рукой хирурга и удерживается от поворота, а другой рукой доктор вращательным движением кисти с усилием поворачивает рукоятку 2 для фиксации стопорного винта. Заявитель обращает внимание экспертизы на то, что предварительно рукоятка 2 была одета на хвостовик 51 ключа стопорного винта 7 (на фиг. 30 не показано), при этом наконечник 52 своим продольным осевым шестигранным отверстием 53 охватил 6-гранную часть 61 стопорного винта 62 (фиг. 30). В этом случае при повороте рукоятки 2 происходит отрыв 6-гранной части 61 стопорного винта 62 без поворота транспедикулярного винта при затяжке. Использование изгибателя для дистракции позвонков (фиг. 31) В этом случае продольные пазы 88 и 94 стержней изгибателя помещаются на стержень 80 между установленными в позвонках транспедикулярными винтами 64 на смежных уровнях таким образом, чтобы вогнутая поверхность каждого изгибателя была бы обращена по направлению к головкам 98 транспедикулярных винтов 64 и упирались бы в них. Взаимно наклоняя стержни изгибатели друг к другу осуществляют разгибание тел позвонков на требуемую величину. Использование изгибателя для контракции позвонков (фиг. 32 - фиг. 36) В этом случае продольные пазы 88 и 94 стержней изгибателя помещаются на стержень 80 снаружи установленных в позвонках транспедикулярных винтов 64 на смежных уровнях таким образом, чтобы вогнутая поверхность каждого изгибателя была бы обращена по направлению к головкам 98 транспедикулярных винтов 64 и упирались бы в них, причем плоскость одного изгибателя, проходящая через его продольную ось, располагается под острым углом к вертикальной плоскости, проходящей через вертикальную продольную ось стержня 80 с одной стороны от транспедикулярного винта 64, а плоскость другого изгибателя, проходящая через его продольную ось, располагается под острым углом к вертикальной плоскости, проходящей через вертикальную продольную ось стержня 80 с другой стороны от другого транспедикулярного винта 64. Взаимно наклоняя стержни изгибатели относительно друг друга осуществляют сближение тел позвонков на требуемую величину. Использование изгибателя, если надо разобрать систему балок и транспедикулярных винтов Если надо удалить (разобрать) систему, например, если не корректно поставили или если обнаружилось, что необходимо что-то поменять, то Это осуществляют следующим образом: Берут стержень 81 изгибателя 8 и продольным сквозным пазом 88 на конце одевают на балку 80 и неподвижно удерживают противоположный конец стержня 81. Берут отвертку 67, предназначенную для введения и извлечения стопорных винтов 62, имеющую шестигранный наконечник 69 размером 4,0 мм и вставляют внутрь 6-гранной полости головки стопорного винта. Удерживая стержнем изгибателя балку 80 от ротации (поворота) стопорный винт выкручивают отверткой 4,0 мм и затем его удаляют. Аналогично повторяют со всеми остальными стопорными винтами, в результате чего их всех удаляют. После этого удаляют балку 80. Порядок использования набора для сборки пространственной конструкции (пример) 1. Оперативное вмешательство проводят задним доступом при положении пациента на операционном столе лежа на животе. 2. Закрепляют шило 3 на рукоятке 2, сдвинув подпружиненную втулку 26 по направлению к ручке 16 до упора. В результате пара шаров 25 освободится и войдет в полость между наконечником 13 и подпружиненной втулкой 26. Затем введят 4-гранный задний конец шила 3 до его упора внутрь продольной многоугольной полости 21 наконечника 13. Шары 25 окажутся напротив кольцевой канавки 12 сферической формы в сечении на теле шила 3. После этого отпускают подпружиненную втулку 26 и она, отходя, надвигается на шары 25 в кольцевую канавку 12 сферической формы в сечении на теле шила 3, фиксируя их в кольцевом пазу. Шило оказывается прочно зафиксированным в наконечнике рукоятки. Создают шилом пилотное отверстие в кортикальной части позвонка в месте запланированного введения транспедикулярного винта и проводят перфорацию кортикального слоя. Формируют шилом костный канал в ножке позвонка требуемой длины и траектории, определяемых на этапе операционного планирования. В данном случае шило используется также в качестве развертки на следующем этапе операции для формирования костного канала. Рабочая часть шила имеет градуированную шкалу с шагом 10 мм. Проверку правильности позиционирования шила проводят с использованием флюороскопии и/или хирургической навигации. После этого извлекают шило 3 из рукоятки 2. Для этого, опирая ручку рукоятки, например, в поверхность операционного стола, отводят подпружиненную втулку 26 в направлении ручки рукоятки, сжимая пружину. При этом шары 25 освобождаются от контактного охвата внутри подпружиненной втулки 26 и могут перемещаться от наконечника 13 в поперечном направлении. В этой позиции хирург вытаскивает конец шила, раздвигая шары 25 в разные стороны. После отпускания подпружиненной втулки 26 она под воздействием пружины возвращается в исходное положение, перемещая шарики внутрь полости наконечника. Рукоятка готова для новой фиксации на ней других хирургических инструментов. 3. Проводят с помощью щупа 4 проверку целостности стенок созданного костного канала на предмет возможного наличия перфораций. 4. После этого закрепляют отвертку 63 (фиг. 23) на рукоятке 2, сдвинув подпружиненную втулку 26. Данная отвертка предназначена для введения и извлечения транспедикулярных винтов 64 с многогранным (4-гранным) наконечником размером 3,5 мм. Устанавливают рабочую часть отвертки с наконечником 3,5 мм в головку транспедикулярного винта 64 выбранного типоразмера и вводят винт в костный канал вращательными движениями отвертки с наконечником 3,5 мм по часовой стрелке. Проверку правильности позиционирования винта транспедикулярного проводят с использованием флюороскопии и/или хирургической навигации. Извлекают отвертку с наконечником 3,5 мм из рукоятки 2. Это осуществляют аналогично тому, как извлекают шило из рукоятки универсальной, поскольку конструкции этих частей одинаковы. 5. После введения транспедикулярных винтов 64 (фиг. 22) на всех запланированных уровнях производят моделирование балки для объединения винтов в единую конструкцию с использованием изгибателей 8. Моделирование балки подробно описано выше. 6. Закрепляют отвертку 67, предназначенную для введения и извлечения стопорных винтов 62, с наконечником 4,0 мм, на рукоятке 2, сдвинув подпружиненную втулку 26. Итак, устанавливают отвертку 4,0 мм в отверстие шестигранной части стопорного винта до упора. Помещают смоделированную балку в прорези головок винтов транспедикулярных и закрепляют её стопорными винтами 62 вращательными движениями отвертки 67 по часовой стрелке, не прилагая чрезмерных усилий. 7. В случае необходимости проведения дистракции позвонков необходимо ее провести. Подробно это изложено выше. 8. Извлекают отвертку 67 из рукоятки 2. 9. Закрепляют ключ 7 стопорного винта на рукоятке 2. Надевают ключ 7 стопорного винта на шестигранную часть 61 стопорного винта 62 и проводят окончательную затяжку последнего вращательными движениями ключа стопорного винта по часовой стрелке до момента отламывания шестигранной части стопорного винта (подробнее см. выше). 10. Последовательно повторяют указанную процедуру для всех установленных стопорных винтов. Фрагментированные, в результате окончательного затягивания, шестигранные части стопорных винтов в количестве не более 8 штук размещаются в корпусе ключа стопорного винта. В случае использования большего количества винтов необходимо освободить корпус ключа стопорного винта от находящихся внутри корпуса фрагментированных частей. Порядок разборки: 1. Сначала закрепляют отвертку 67, предназначенную для введения и извлечения стопорных винтов 62, размером 4,0 мм на рукоятке 2 (см. выше). Затем ею откручивают стопорные винты 62 вращательными движениями против часовой стрелки и извлекают балки. 2. После этого снимают отвертку 67, предназначенную для введения и извлечения стопорных винтов 62, с размером наконечника 4,0 мм с рукоятки 2 и закрепляют на ней отвертку 63, предназначенную для введения и извлечения транспедикулярных винтов, с размером наконечника 3,5 мм. После этого, откручивают транспедикулярные винты данной отверткой вращательными движениями против часовой стрелки. Промышленная применимость В набор входят только инструменты, необходимые для проведения операции транспедикулярной фиксации позвоночника с моделированием балок и фиксацией мультиаксиальных транспедикулярных и стопорных винтов, причем за счет наличия общей ручки у четырех инструментов значительно уменьшен размер комплекта что позволит хирургу осуществить эффективное и быстрое проведение операции, в том числе точный изгиб балок; При этом за счет набора происходит упрощение хирургической операции и сокращение времени операции из-за хранения инструментов в одном наборе, простого обращения с ними, разового использования, без необходимости специальной дополнительной стерилизации; Кроме того, расширяется арсенал средств для лечения данного заболевания. Преимущество изобретения заключается также в том, что в наборе сосредоточены различные виды инструментов крайне необходимых для быстрого и эффективного проведения операции данного типа. Рукоятка, ключ стопорного винта, изгибатели, представленные в наборе, позволяет повысить удобство проведения операции и сократить время ее проведения. Источники информации, принятые во внимание: Патент на полезную модель №79411, А61В 17/58, 2009 (РФ) (ближайший аналог).