Изобретение предназначено для осушки сжатого газа. Описана сушилка сжатого газа, содержащая сосуд высокого давления, содержащий зону сушки и зону регенерации, барабан во вращающейся симметричной части, содержащий регенерируемый сушильный агент, приводное средство для вращения вышеупомянутого барабана, так что сушильный агент последовательно перемещается через зону сушки и зону регенерации, впуск для подачи сжатого воздуха, подлежащего осушке, в зону сушки, выпуск для удаления осушенного сжатого газа и первую соединительную линию для отвода частичного потока осушенного сжатого газа и перемещения этого частичного потока в зону регенерации. Первая соединительная линия содержит нагревательное устройство для нагрева частичного потока, отведенного для регенерации. Первая соединительная линия и нагревательное устройство расположены в сосуде высокого давления. Описаны также компрессорная установка, содержащая компрессор и сушилку, и способ сушки сжатого газа с помощью сушилки. Технический результат - улучшение характеристик осушенного сжатого газа, компактность устройства. 3 н. и 12 з.п. ф-лы, 7 ил.
1. Сушилка (10; 20; 30; 40) для сжатого газа, содержащая сосуд (11) высокого давления, содержащий вращающуюся симметричную часть, включающую в себя зону (12) сушки и зону (13) регенерации; барабан (14), установленный во вращающейся симметричной части, снабженный регенерируемым сушильным агентом; приводное средство для вращения упомянутого барабана относительно вращающейся симметричной части или наоборот, так что сушильный агент последовательно перемещается через зону сушки и зону регенерации; впуск (15) для подачи сжатого газа, подлежащего осушке; выпуск (16) для выпуска осушенного сжатого газа; первую соединительную линию для отвода частичного потока осушенного сжатого газа и направления частичного потока в зону регенерации, причем первая соединительная линия снабжена нагревательным устройством для нагрева частичного потока, отведенного для регенерации; причем первая соединительная линия (27) и нагревательное устройство (29) расположены в сосуде высокого давления, отличающаяся тем, что выпускная сторона зоны сушки разделена с помощью средства (18) для разделения потока осушенного газа в положении, в котором он удаляется из барабана (14), на первую зону (31) выпуска, с которой соединен выпуск для осушенного сжатого газа, и вторую зону (32) выпуска, с которой соединена первая соединительная линия; и нагревательным устройством является теплообменник (29), предусмотренный для нагрева частичного потока, отведенного для регенерации, сжатым газом, подлежащим осушке, подаваемым в сушилку, причем теплообменник образует средство для разделения потока осушенного газа в положении, в котором он удаляется из барабана (14). 2. Сушилка по п. 1, отличающаяся тем, что впуск (15) для подачи сжатого газа, подлежащего осушке, в сушилку расположен на уровне теплообменника (29), и в сосуде высокого давления расположена вторая соединительная линия (38) для подачи сжатого газа, подлежащего осушке, из теплообменника к впускной стороне зоны сушки. 3. Сушилка по п. 2, отличающаяся тем, что во второй соединительной линии содержится эжектор (58) Вентури для объединения частичного потока, используемого для регенерации, с потоком сжатого газа, подлежащего осушке. 4. Сушилка по п. 3, отличающаяся тем, что эжектор (58) Вентури имеет регулируемое отверстие и сушилка включает в себя привод для управления регулируемым отверстием. 5. Сушилка по одному из предыдущих пунктов, отличающаяся тем, что сушилка содержит охлаждающий элемент для охлаждения подаваемого сжатого газа, подлежащего осушке, причем охлаждающий элемент расположен в сосуде высокого давления на впускной стороне зоны сушки. 6. Сушилка по одному из предыдущих пунктов, отличающаяся тем, что первая зона выпуска, если смотреть от направления вращения барабана, расположена сзади второй зоны выпуска. 7. Сушилка по одному из предыдущих пунктов, отличающаяся тем, что первая зона выпуска, если смотреть от направления вращения барабана, расположена рядом со второй зоной выпуска. 8. Сушилка по одному из предыдущих пунктов, отличающаяся тем, что вращающаяся симметричная часть дополнительно содержит зону (19) охлаждения для охлаждения барабана, причем зона охлаждения, если смотреть в направлении вращения барабана, расположена сзади зоны (13) регенерации и спереди зоны (12) сушки. 9. Сушилка по одному из предыдущих пунктов, отличающаяся тем, что сушилка дополнительно содержит охлаждающий элемент (57) для охлаждения газа, подлежащего осушке, который направляется в зону сушки, с помощью первого хладагента, и упомянутый охлаждающий элемент (57) содержит первый контур охлаждения, предусмотренный для охлаждения газа, подлежащего осушке, первым хладагентом, и второй контур охлаждения ниже по потоку от первого контура охлаждения, предусмотренный для дополнительного охлаждения газа, подлежащего осушке, вторым хладагентом более низкой температуры, чем первый хладагент. 10. Сушилка по п. 9, отличающаяся тем, что упомянутые первый и второй хладагенты упомянутого охлаждающего элемента являются одними и теми же хладагентами, и сушилка содержит дополнительный второй контур для охлаждения второго хладагента до второго контура охлаждения. 11. Сушилка по одному из предыдущих пунктов, отличающаяся тем, что сушилка содержит каплеуловитель, установленный на впускной стороне зоны сушки, для удаления капель из газа, подлежащего осушке, и сосуд высокого давления содержит люк для технического обслуживания в стенке сосуда высокого давления в местоположении каплеуловителя. 12. Сушилка по одному из предыдущих пунктов, отличающаяся тем, что источник питания для вращения упомянутого барабана относительно вращающейся симметричной части содержит двигатель, содержащий переключатель пуск-стоп. 13. Сушилка по п. 12, отличающаяся тем, что переключатель пуск-стоп предусмотрен для включения и выключения двигателя, так что двигатель можно переключать между максимальной скоростью вращения двигателя и остановкой. 14. Компрессорная установка, содержащая компрессор (50) и сушилку (10; 20; 30; 40) по одному из предыдущих пунктов. 15. Способ сушки сжатого газа с помощью сушилки по одному из предыдущих пунктов 1-13, содержащей сосуд высокого давления, содержащий вращающуюся симметричную часть, окружающую зону сушки и зону регенерации, и барабан, установленный во вращающейся симметричной части, снабженный регенерируемым сушильным агентом, причем способ включает в себя следующие этапы: - вращение упомянутого барабана относительно вращающейся симметричной части или наоборот с помощью приводного средства, так что сушильный агент перемещается последовательно через зону сушки и зону регенерации; - подачу сжатого газа, подлежащего осушке, через впуск на впускную сторону зоны сушки сосуда высокого давления; - выпуск осушенного сжатого газа через выпуск с выпускной стороны сосуда высокого давления; - отвод частичного потока осушенного сжатого газа и направление этого частичного потока в зону регенерации через первую соединительную линию, причем первая соединительная линия снабжена нагревательным устройством для нагрева частичного потока, отведенного для регенерации; отличающийся тем, что первая соединительная линия и нагревательное устройство расположены в сосуде высокого давления, так что нагрев частичного потока для регенерации происходит в сосуде высокого давления.
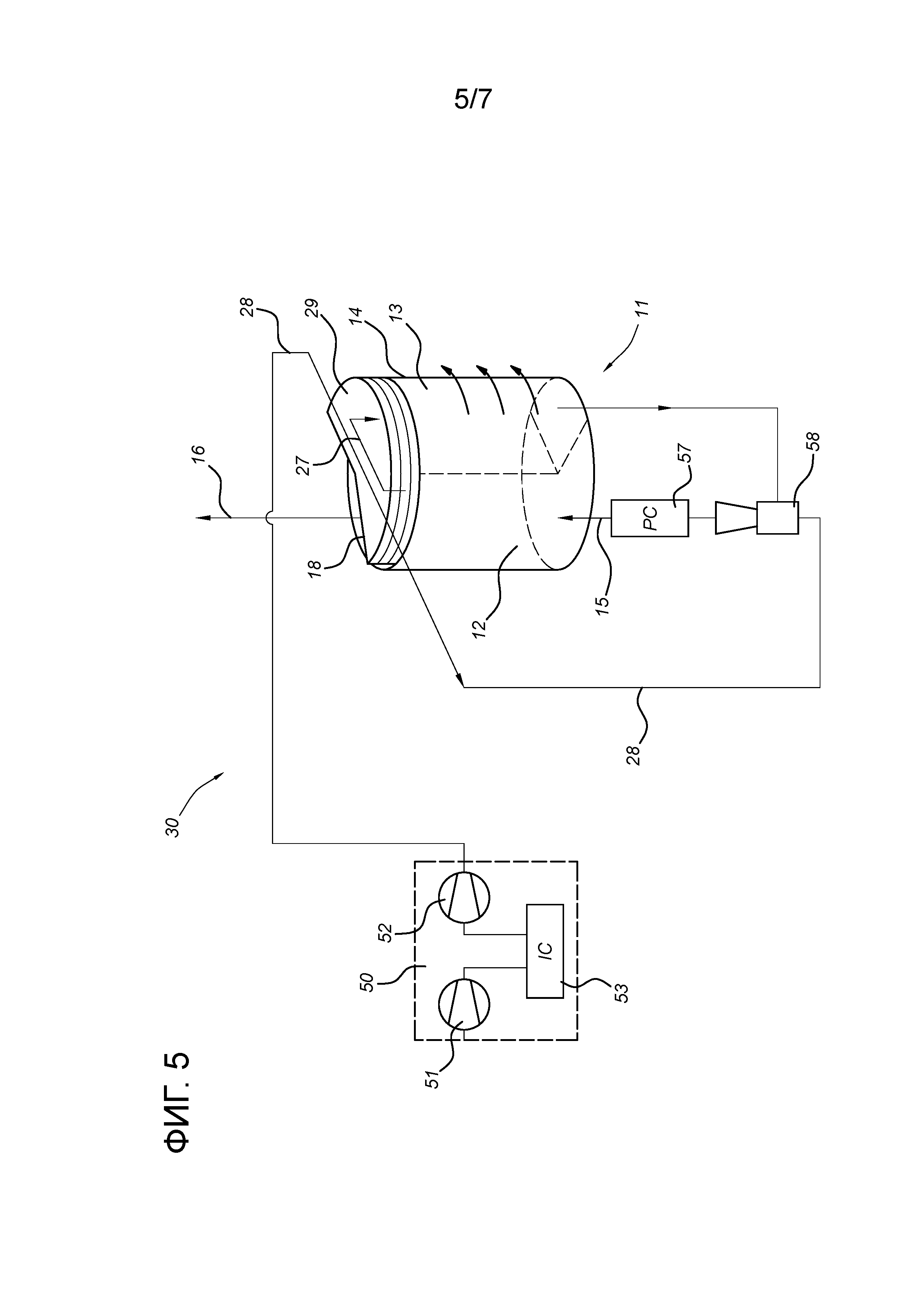
Область техники, к которой относится изобретение Настоящее изобретение включает в себя сушилку сжатого газа, компрессорную установку, содержащую этот тип сушилки, и способ осушки сжатого газа, такого как воздух. Уровень технологии Уже известны сушилки сжатого газа, такие сушилки, которые оснащены сосудом высокого давления с зоной сушки и зоной регенерации и, возможно, зоной охлаждения, и вращающимся барабаном в сосуде высокого давления с регенерируемым сушильным агентом. Сосуд высокого давления содержит впуск для подачи сжатого газа, подлежащего осушке, в зону сушки и выпуск для удаления осушенного газа. Теплый регенерационный газ подается в зону регенерации для регенерации сушильного агента. Сушилка также содержит приводные узлы для вращения барабана таким образом, чтобы сушильный агент последовательно перемещался через зону сушки и зону регенерации. Сжатый газ, нагретый посредством сжатия и, следовательно, имеет низкую относительную влажность, может быть использован в качестве регенерационного газа для регенерации сушильного агента. В первой известной конструкции часть питающего потока сжатого газа отводится для регенерации и затем повторно добавляется к потоку сжатого газа через соединительную линию. Во второй известной конструкции часть подаваемого потока сжатого газа отводится и нагревается для регенерации и затем повторно добавляется к потоку сжатого газа через соединительную линию. В третьей известной конструкции весь питающий поток должен быть осушен, сжатый газ сначала проходит через зону регенерации и затем через зону сушки. Известны другие конструкции, такие как в WO 2015/039193 A2. Описание изобретения Одной целью изобретения является устранение одного или нескольких недостатков существующего уровня техники. Также целью изобретения является создание сушилки или сушильной установки для сжатого газа, с помощью которой можно улучшить характеристики (например, точку росы под давлением) осушенного сжатого газа и/или функцию (например, эффективность) сушилки. Дополнительной целью изобретения является создание сушилки или сушильной установки для сжатого газа, которая имеет более компактную конструкцию. Сжатым газом является, например, воздух, но может быть также другой газ. Осушенный газ может быть использован в сети сжатого воздуха ниже по потоку для всех видов использований, таких как для пневматического транспорта, приведения в действие пневматических инструментов и тому подобного. В соответствии с первым аспектом в сочетании или нет с другими аспектами или конструкциями, описанными в данном документе, изобретение описывает сушилку или сушильную установку для сушки сжатого газа, содержащую сосуд высокого давления с вращающейся симметричной (такой как цилиндрическая) частью, содержащей зону сушки и зону регенерации, барабан внутри вращающейся симметричной части, оснащенный регенерируемым сушильным агентом, приводное средство для вращения вышеупомянутого барабана во вращающейся симметричной части, предназначенное для вращения барабана и/или вращающейся симметричной части, так что сушильный агент последовательно перемещается через зону сушки и зону регенерации, впуск для подачи сжатого воздуха, подлежащего осушке, в зону сушки, выпуск для удаления осушенного сжатого газа и первую соединительную линию для отвода частичного потока осушенного сжатого газа и передачи этого частичного потока в зону регенерации. Зона сушки находится на выпускной стороне, разделена с помощью разделителя на первую зону выпуска, с которой соединен выпуск для осушенного сжатого газа, и вторую зону выпуска, с которой соединена первая соединительная линия. Первая и вторая зоны выпуска являются, другими словами, разделенными частями или областями внутри сосуда высокого давления на выпускной стороне зоны сушки. Изобретатели установили, что разделение выпускной стороны зоны сушки на первую зону выпуска и вторую зону выпуска, или, другими словами, разделение частичного потока, используемого для регенерации, и потока осушенного сжатого газа, перемещаемого к выпуску, уже находится в положении, в котором общий поток осушенного газа удаляется из барабана, характеристики осушенного сжатого газа, перемещаемого к выпуску, могут быть улучшены или, по меньшей мере, могут быть определены с большей точностью. Изобретатели также установили, что разделение выпускной стороны зоны сушки на первую зону выпуска и вторую зону выпуска, или, другими словами, разделение частичного потока, используемого для регенерации, и потока осушенного сжатого газа, перемещаемого к выпуску, уже находится в положении, в котором общий поток осушенного газа удаляется из барабана, может улучшить функцию сушилки. Это может быть достигнуто, с одной стороны, за счет оптимального использования собственного тепла в подаваемом сжатом газе, и с другой стороны, может быть достигнута глубокая сушка сушильного агента, в результате чего относительная влажность сжатого газа, который выходит из сушилки, может поддерживаться как можно ниже. Кроме того, изобретение может гарантировать максимально оптимальную эффективность сушилки во многих условиях использования. Вышеупомянутые и другие эффекты могут быть достигнуты за счет конкретного выбора расположения первой и второй зон выпуска относительно друг друга с учетом их объема, как будет описано ниже. Моделирование, например, показало, что за счет заранее конкретного выбора расположения первой и второй зон выпуска относительно друг друга, и их объема и/или взаимного соотношения точка росы под давлением обрабатываемого газа может быть снижена и/или поддерживаться более стабильной. В конструкциях в соответствии с изобретением первая зона выпуска, если смотреть от направления вращения барабана, может быть расположена позади второй зоны выпуска. Это означает, что выпуск для осушенного сжатого газа соединен с частичной зоной зоны сушки, из которой удаляется относительно более сухой газ. В конструкциях в соответствии с изобретением первая зона выпуска, если смотреть от направления вращения барабана, может быть расположена сзади второй зоны выпуска. Это означает, что первая соединительная линия для частичного потока в зону регенерации соединена с частичной зоной зоны сушки, из которой удаляется относительно более сухой газ. Сушилка в соответствии с изобретением может быть оснащена позиционирующими элементами для расположения первой зоны выпуска, второй зоны выпуска и/или разделителя в зоне выпуска зоны сушки. С помощью этого типа позиционирующих элементов, например, могут быть определены четко определенные положения или установки для разделителя (разделителей), которые образуют зоны внутри сосуда высокого давления. Таким образом, конструкция сушилки упрощена. В конструкциях в соответствии с изобретением зона регенерации и/или вторая зона выпуска могут охватывать сектор 45-135° от барабана. Предпочтительно, зона регенерации и вторая зона выпуска (частичный поток для регенерации) охватывают секторы почти одинакового объема. Зона регенерации предпочтительно охватывает сектор 80-100°. Первая зона выпуска предпочтительно охватывает сектор 90-180°. В конструкциях в соответствии с изобретением вращающаяся симметричная часть может также иметь зону охлаждения для охлаждения барабана, в результате чего зона охлаждения, если смотреть в направлении вращения барабана, предпочтительно расположена позади зоны регенерации и перед зоной сушки. Предпочтительно для этого охлаждения отводится частичный поток, который предпочтительно перемещается с соседней стороны зоны сушки в зону охлаждения. В соответствии со вторым аспектом в сочетании или нет с другими аспектами или конструкциями, описанными в данном документе, изобретение описывает сушилку или сушильную установку для сушки сжатого газа, содержащую сосуд высокого давления с вращающейся симметричной (такой как цилиндрическая) частью, содержащей зону сушки и зону регенерации, барабан внутри вращающейся симметричной части, оснащенный регенерируемым сушильным агентом, приводное средство для вращения вышеупомянутого барабана во вращающейся симметричной части, предназначенное для вращения барабана и/или вращающейся симметричной части, так что сушильный агент последовательно перемещается через зону сушки и зону регенерации, впуск для подачи сжатого воздуха, подлежащего осушке, в зону сушки, выпуск для удаления осушенного сжатого газа и первую соединительную линию для отвода частичного потока осушенного сжатого газа и передает этот частичный поток в зону регенерации. Первая соединительная линия оснащена нагревательным устройством для нагрева частичного потока, отведенного для регенерации. Первая соединительная линия и нагревательное устройство расположены внутри сосуда высокого давления. За счет встраивания первой соединительной линии и нагревательного устройства в сосуд высокого давления можно достичь более компактной конструкции. В конструкции в соответствии с изобретением нагревательным элементом может быть теплообменник, предусмотренный для нагрева частичного потока, отведенного для регенерации, сжатым газом, подлежащим сушке, подаваемым в сушилку. В конструкциях в соответствии с изобретением впуск для подачи сжатого газа, подлежащего сушке, в сушилку расположен на уровне теплообменника, и внутри сосуда высокого давления расположена вторая соединительная линия для подачи сжатого газа, подлежащего осушке, из теплообменника на впускную сторону зоны сушки. Встраивание второй соединительной линии в сосуде высокого давления может дополнительно способствовать более компактной конструкции сушилки. В конструкциях в соответствии с изобретением вторая соединительная линия может быть оснащена эжектором Вентури для объединения частичного потока, используемого для регенерации, с потоком сжатого газа, подлежащего осушке. Встраивание эжектора Вентури в сосуд высокого давления может дополнительно способствовать более компактной конструкции сушилки. Эжектор Вентури может быть оснащен регулируемым отверстием, и сушилка может включать в себя привод для управления регулируемым отверстием. В конструкциях в соответствии с изобретением сушилка также имеет охлаждающий элемент для охлаждения подаваемого сжатого газа, подлежащего осушке, в результате чего охлаждающий элемент расположен в сосуде высокого давления на впускной стороне зоны сушки. Встраивание охлаждающего элемента в сосуд высокого давления может дополнительно способствовать более компактной конструкции сушилки. Дополнительными аспектами сушилки в соответствии с изобретением являются аспекты, которые представлены в прилагаемой формуле изобретения. В конструкциях в соответствии с изобретением сушилка дополнительно содержит охлаждающий элемент для охлаждения газа, подлежащего осушке, который направляется в зону сушки, с использованием первого хладагента, и упомянутый охлаждающий элемент содержит первый контур охлаждения, предусмотренный для охлаждения газа, подлежащего осушке, с помощью первого хладагента, и второй контур охлаждения ниже по потоку от первого контура охлаждения, предусмотренный для дополнительного охлаждения газа, подлежащего осушке, с помощью второго хладагента более низкой температуры, чем первый хладагент. В конструкциях в соответствии с изобретением упомянутые первый и второй хладагенты упомянутого охлаждающего элемента являются одними и теми же хладагентами, и сушилка содержит дополнительный второй контур для охлаждения второго хладагента перед вторым контуром охлаждения. В конструкциях в соответствии с изобретением сушилка содержит каплеуловитель, установленный на впускной стороне зоны сушки для удаления капель из газа, подлежащего осушке, и сосуд высокого давления содержит люк для технического обслуживания в стенке сосуда высокого давления в месте расположения каплеуловителя. В конструкциях в соответствии с изобретением источник питания для вращения упомянутого барабана относительно вращающейся части содержит двигатель, содержащий переключатель пуск-стоп. В конструкциях в соответствии с изобретением предусмотрен переключатель пуск-стоп для включения и выключения двигателя, так что двигатель может переключаться между максимальной скоростью вращения двигателя и остановкой. Дополнительный аспект изобретения включает в себя компрессорную установку, содержащую компрессор и сушилку в соответствии с одним из аспектов или конструкций, описанных в данном документе. Дополнительный аспект изобретения включает в себя способ сушки сжатого газа с помощью сушилки в соответствии с одним из аспектов или конструкций, описанных в данном документе. Согласно формуле изобретения заявляется сушилка для сжатого газа, содержащая сосуд высокого давления, содержащий вращающуюся симметричную часть, включающую в себя зону сушки и зону регенерации; барабан, установленный во вращающейся симметричной части, снабженный регенерируемым сушильным агентом; приводное средство для вращения упомянутого барабана относительно вращающейся симметричной части или наоборот, так что сушильный агент последовательно перемещается через зону сушки и зону регенерации; впуск для подачи сжатого газа, подлежащего осушке; выпуск для выпуска осушенного сжатого газа; первую соединительную линию для отвода частичного потока осушенного сжатого газа и направления частичного потока в зону регенерации, причем первая соединительная линия снабжена нагревательным устройством для нагрева частичного потока, отведенного для регенерации; причем первая соединительная линия и нагревательное устройство расположены в сосуде высокого давления, причем выпускная сторона зоны сушки разделена с помощью средства для разделения потока осушенного газа в положении, в котором он удаляется из барабана, на первую зону выпуска, с которой соединен выпуск для осушенного сжатого газа, и вторую зону выпуска, с которой соединена первая соединительная линия; и нагревательным устройством является теплообменник, предусмотренный для нагрева частичного потока, отведенного для регенерации, сжатым газом, подлежащем осушке, подаваемым в сушилку, причем теплообменник образует средство для разделения потока осушенного газа в положении, в котором он удаляется из барабана. Предпочтительно впуск для подачи сжатого газа, подлежащего осушке, в сушилку расположен на уровне теплообменника, и в сосуде высокого давления расположена вторая соединительная линия для подачи сжатого газа, подлежащего осушке, из теплообменника к впускной стороне зоны сушки. Предпочтительно во второй соединительной линии содержится эжектор Вентури для объединения частичного потока, используемого для регенерации, с потоком сжатого газа, подлежащего осушке. Предпочтительно эжектор Вентури имеет регулируемое отверстие, и сушилка включает в себя привод для управления регулируемым отверстием. Предпочтительно сушилка содержит охлаждающий элемент для охлаждения подаваемого сжатого газа, подлежащего осушке, причем охлаждающий элемент расположен в сосуде высокого давления на впускной стороне зоны сушки. Предпочтительно первая зона выпуска, если смотреть от направления вращения барабана, расположена сзади второй зоны выпуска. Предпочтительно первая зона выпуска, если смотреть от направления вращения барабана, расположена рядом со второй зоной выпуска. Предпочтительно вращающаяся симметричная часть дополнительно содержит зону охлаждения для охлаждения барабана, причем зона охлаждения, если смотреть в направлении вращения барабана, расположена сзади зоны регенерации и спереди зоны сушки. Предпочтительно сушилка дополнительно содержит охлаждающий элемент для охлаждения газа, подлежащего осушке, который направляется в зону сушки, с помощью первого хладагента, и упомянутый охлаждающий элемент содержит первый контур охлаждения, предусмотренный для охлаждения газа, подлежащего осушке, первым хладагентом, и второй контур охлаждения ниже по потоку от первого контура охлаждения, предусмотренный для дополнительного охлаждения газа, подлежащего осушке, вторым хладагентом более низкой температуры, чем первый хладагент. Предпочтительно упомянутые первый и второй хладагенты упомянутого охлаждающего элемента являются одними и теми же хладагентами, и сушилка содержит дополнительный второй контур для охлаждения второго хладагента до второго контура охлаждения. Предпочтительно сушилка содержит каплеуловитель, установленный на впускной стороне зоны сушки, для удаления капель из газа, подлежащего осушке, и сосуд высокого давления содержит люк для технического обслуживания в стенке сосуда высокого давления в местоположении каплеуловителя. Предпочтительно источник питания для вращения упомянутого барабана относительно вращающейся симметричной части содержит двигатель, содержащий переключатель пуск-стоп. Предпочтительно переключатель пуск-стоп предусмотрен для включения и выключения двигателя, так что двигатель можно переключать между максимальной скоростью вращения двигателя и остановкой. Согласно формуле изобретения также заявляется компрессорная установка, содержащая компрессор и вышеупомянутую сушилку. Кроме того, согласно формуле изобретения заявляется способ сушки сжатого газа с помощью вышеупомянутой сушилки, содержащей сосуд высокого давления, содержащий вращающуюся симметричную часть, окружающую зону сушки и зону регенерации, и барабан, установленный во вращающейся симметричной части, снабженный регенерируемым сушильным агентом, причем способ включает в себя следующие этапы: - вращение упомянутого барабана относительно вращающейся симметричной части или наоборот с помощью приводного средства, так что сушильный агент перемещается последовательно через зону сушки и зону регенерации; - подачу сжатого газа, подлежащего осушке, через впуск на впускную сторону зоны сушки сосуда высокого давления; - выпуск осушенного сжатого газа через выпуск с выпускной стороны сосуда высокого давления; - отвод частичного потока осушенного сжатого газа и направление этого частичного потока в зону регенерации через первую соединительную линию, причем первая соединительная линия снабжена нагревательным устройством для нагрева частичного потока, отведенного для регенерации; причем первая соединительная линия и нагревательное устройство расположены в сосуде высокого давления, так что нагрев частичного потока для регенерации происходит в сосуде высокого давления. Краткое описание чертежей Изобретение будет объяснено более подробно с помощью чертежей примеров конструкции в соответствии с изобретением. Фиг. 1 - схематичный вид компрессорной установки с сушилкой в соответствии с существующим уровнем техники; фиг. 2 - схематичный вид компрессорной установки с сушилкой в соответствии с первым вариантом осуществления, не охваченным заявленным изобретением; фиг. 3a-c - схематичное сравнение сушилки в соответствии с существующим уровнем техники с сушилками в соответствии с изобретением. фиг. 4 - схематичный вид компрессорной установки с сушилкой в соответствии со вторым вариантом осуществления, не охваченным заявленным изобретением; фиг. 5 - схематичный вид компрессорной установки с сушилкой в соответствии с третьей конструкцией изобретения; фиг. 6 - схематичный вид компрессорной установки с сушилкой в соответствии с четвертой конструкцией изобретения; фиг. 7 - схематичный вид в разрезе сосуда высокого давления сушилки в соответствии с четвертой конструкцией. Подробное описание чертежей Настоящее изобретение будет описано относительно конкретных конструкций и со ссылкой на конкретные чертежи, но изобретение не ограничивается этим и определяется только выводами. Описанные чертежи являются только схематичными и неограничивающими. На чертежах размер конкретного элемента увеличен и не вычерчен в масштабе в иллюстративных целях. Размеры и относительные размеры не обязательно соответствуют фактическим практическим конструкциям изобретения. Кроме того, термины "первый", "второй", "третий" и тому подобное используются в описании и выводах для различения между подобными элементами и не обязательно для описания последовательной или хронологической последовательности. Термины являются взаимозаменяемыми при соответствующих обстоятельствах, и конструкции изобретения могут применяться в последовательностях, отличных от последовательностей, описанных или показанных в данном документе. Кроме того, термины верхний, нижний, над, под и тому подобное в описании и выводах используются для наглядности и не обязательно для описания относительных положений. Используемые термины являются взаимозаменяемыми при соответствующих обстоятельствах, и конструкции описанного изобретения могут применяться в других ориентациях по сравнению с описанными или показанными в данном документе. Кроме того, различные конструкции, даже если называются «предпочтительными конструкциями», должны рассматриваться скорее, как пример того, как может быть разработано изобретение, чем как ограничение диапазона изобретения. Термин «охватывающий», используемый в выводах, не следует толковать как ограниченный средствами или этапами, перечисленными после него. Этот термин не исключает другие элементы или этапы. Термин следует толковать как указание на наличие перечисленных функций, элементов, этапов или компонентов, на которые ссылаются, но не исключает наличия или добавления одной или нескольких других функций, элементов, этапов или компонентов или их групп. Таким образом, диапазон выражения «средства A и B, охватывающие конструкцию», не должен таким образом ограничиваться конструкциями, которые состоят только из A и B. Намерение состоит в том, чтобы относительно настоящего изобретения были приведены только компоненты A и B конструкции, и вывод должен быть дополнительно истолкован, поскольку они также содержат эквиваленты этих компонентов. На фиг. 1 показана известная конструкция, содержащая компрессорную установку с сушилкой 1 сжатого газа. Сушилка 1 содержит сосуд высокого давления с зоной 2 сушки и зоной 3 регенерации, вращающийся барабан 4 в сосуде высокого давления, оснащенный регенерируемым сушильным агентом, приводное средство для вращения вышеупомянутого барабана таким образом, чтобы сушильный агент последовательно проходил через зону сушки и зону регенерации, впуск 5, соединенный с впускной стороной зоны сушки сосуда высокого давления и предназначенный для перемещения сжатого газа, подлежащего осушке, и выпуск 6, соединенный с выпускной стороной зоны сушки сосуда высокого давления и предназначенный для выпуска осушенного сжатого газа. Нагнетаемый газ, подлежащий осушке, подается компрессором 50, который может включать в себя первую ступень 51 сжатия и вторую ступень 52 сжатия и промежуточный охладитель (IC) 53. Подающая линия пропускает сжатый газ сначала по теплообменнику (HE) и охлаждающий элемент (послеохладитель AC). На выпуске 6 сушилки расположена соединительная линия 7, предусмотренный для отвода частичного потока осушенного сжатого газа. Этот частичный поток проходит через теплообменник HE для нагрева с использованием тепла, присутствующего в питающем потоке, путем сжатия, и затем дополнительно проходит в зону 3 регенерации. После регенерации частичный поток повторно объединяется с питающим потоком сжатого газа, подлежащего осушке. Это происходит при помощи охлаждающего элемента с использованием сепаратора конденсата (охладителя RC регенерации) и эжектора 8 Вентури. На фиг. 2 показана первая конструкция устройства, содержащего компрессорную установку 50 с сушилкой 10 сжатого газа. Сушилка 10 содержит сосуд 11 высокого давления, содержащий вращающуюся симметричную часть, в которой образованы зона 12 сушки и зона 13 регенерации, барабан 14, установленный в вращающейся симметричной части и оснащенный регенерируемым сушильным агентом, приводное средство для вращения вышеупомянутого барабана во вращающейся симметричной части, предназначенное для вращения барабана 14 во вращающейся симметричной части или вращающее вращающуюся симметричную часть вокруг неподвижного барабана 14, так что сушильный агент последовательно перемещается через зону сушки и зону регенерации. Вращающаяся симметричная часть предпочтительно является цилиндрической, но это не является обязательным, возможны также другие формы вращающихся симметричных частей. Сушилка также содержит впуск 15, соединенный с впускной стороной зоны сушки сосуда 11 высокого давления и предназначенный для подачи сжатого газа, подлежащего осушке, и выпуск 16, соединенный с выпускной стороной зоны сушки сосуда 11 высокого давления, предназначенный для удаления осушенного сжатого газа. Нагнетаемый газ, подлежащий осушке, подается компрессором 50, который может включать в себя первую ступень 51 сжатия и вторую ступень 52 сжатия и промежуточный охладитель (IC) 53. Подающая линия пропускает сжатый газ сначала по теплообменнику (HE) 54 и охлаждающему элементу (послеохладитель AC) 55. На выпуске 6 сушилки расположена соединительная линия 17, предназначенная для отвода частичного потока осушенного сжатого газа. Этот частичный поток проходит через теплообменник 54 для нагрева с использованием тепла, присутствующего в подающем потоке, путем сжатия, и затем дополнительно направляется в зону 13 регенерации. После регенерации частичный поток повторно объединяется с питающим потоком сжатого газа, подлежащего осушке. Это происходит с помощью охлаждающего элемента с использованием сепаратора конденсации (охладителя RC регенерации) 56 и эжектора 58 Вентури или других средств создания разности давлений и поддержания частичного потока для регенерации, таких как, например, нагнетательный вентилятор. Выпускная сторона зоны сушки разделена с помощью разделителя 18 на первую зону 21 выпуска, с которой соединен выпуск 16 для осушенного сжатого газа, и вторую зону 22 выпуска, с которой соединена первая соединительная линия 17. Этот разделитель 18 расположен в объеме сосуда 11 высокого давления и обеспечивает разделение потока осушенного газа в положении, в котором он удаляется из барабана 14 (обозначенное на чертежах на верхней стороне барабана). В конструкции в соответствии с фиг. 2 первая зона 21 выпуска, если смотреть в направлении вращения барабана, расположена сзади второй зоны 22 выпуска, но это также возможно в обратном направлении. Разделитель 18 может, например, быть выполнен в виде стенки или ребра, которое проходит в радиальном направлении и образовано в верхней части сосуда высокого давления, или в виде подвижной стенки, установленной на предусмотренных позиционирующих узлах, или в виде части отдельного элемента, который расположен в верхней части барабана 14, например, в качестве теплообменника, описанного ниже. На фиг. 3a-c показано сравнение сушилки в соответствии с существующим уровнем техники (фиг. 3a) с некоторыми сушилками в соответствии с изобретением (фиг. 3b-c). Для известной сушилки на фиг. 3а частичный поток для регенерации ответвляется от выпускной линии 6. В конструкции в соответствии с фиг. 3b сушилка разделена на зону 13 регенерации, зону 19 охлаждения, которая следует за зоной 13 регенерации в направлении вращения, и зону сушки, которая следует за второй зоной 22 выпуска в направлении вращения и содержит первую зону 21 выпуска. Пунктирная линия 18 обозначает разделитель, который разделяет зону сушки. Частичный поток, проходящий во вторую зону 22 выпуска, перемещается в зону регенерации 13 по соединительной линии 17, которая отделена от выпуска 6, и нагревательному устройству 24 (такому как теплообменник 54). Соединительная линия 17 и нагревательное устройство 24 расположены внутри объема сосуда высокого давления, как описано в данном документе в другом месте. Частичный поток газа, удаленный из первой зоне 21 выпуска, перемещается к выпуску 16 сушилки. В зону 19 охлаждения подается меньший частичный поток из соседней части зоны сушки. Это известно профессионалу и в данном документе подробно не объясняется. В конструкции в соответствии с фиг. 3b зона 13 регенерации и вторая зона 22 выпуска охватывают сектор почти 90°. Зона 19 охлаждения проходит через гораздо меньший сектор, и остальная часть образована первой зоной 21 выпуска, которая, таким образом, проходит через больший сектор, чем вторая зона выпуска. Диапазон этих зон также может быть больше или меньше, как описано в другом месте в данном документе. Конструкция, показанная на фиг. 3с, эквивалентна конструкции на фиг. 3b. Одно отличие состоит в том, что первая и вторая зоны выпуска поменяны местами, означая, что первая зона 31 выпуска, которая соединена с выпуском 16, расположена перед второй зоной 32 выпуска в направлении вращения барабана, которая соединена с соединительной линией 27. На фиг. 4 показана вторая конструкция устройства, содержащего компрессорную установку 50 с сушилкой 20 сжатого газа. Сушилка 20 содержит сосуд 11 высокого давления, содержащий вращающуюся симметричную часть, в которой образованы зона 12 сушки и зона 13 регенерации, барабан 15, установленный во вращающейся симметричной части и оснащенный регенерируемым сушильным агентом, приводное средство для вращения вышеупомянутого барабана относительно вращающейся симметричной части, так что сушильный агент последовательно перемещается через зону сушки и зону регенерации. Вращающаяся симметричная часть предпочтительно является цилиндрической, но это не является обязательным, возможны также другие формы вращающихся симметричных частей. Сушилка также содержит впуск 15, соединенный с впускной стороной зоны сушки сосуда 11 высокого давления и предназначенный для подачи сжатого газа, подлежащего осушке, и выпуск 16, соединенный с выпускной стороной зоны сушки сосуда 11 высокого давления, предназначенный для удаления осушенного сжатого газа. Нагнетаемый газ, подлежащий осушке, подается компрессором 50, который может включать в себя первую ступень 51 сжатия и вторую ступень 52 сжатия и промежуточный охладитель (IC) 53. Подающая линия пропускает сжатый газ сначала через теплообменник (HE) 54 и охлаждающий элемент 57. На выпуске 6 сушилки расположена соединительная линия 17, предназначенный для отвода частичного потока осушенного сжатого газа. Этот частичный поток проходит через теплообменник 54 для нагрева с использованием тепла, присутствующего в подающем потоке, путем сжатия, и затем дополнительно направляется в зону 13 регенерации. После регенерации частичный поток повторно объединяется с питающим потоком сжатого газа, подлежащего осушке. Это происходит с помощью эжектора 58 Вентури или других средств создания разности давлений и поддержания частичного потока для регенерации, таких как, например, нагнетательный вентилятор. В конструкции в соответствии с фиг. 4 объединение основного потока сжатого газа, подлежащего осушке, с частичным потоком, используемым для регенерации, происходит перед охлаждением. Таким образом, охлаждение может происходить взаимно для обоих потоков в охлаждающем элементе 57 (процессном охладителе PC), который расположен между эжектором 58 Вентури и впуском 15 сосуда 11 высокого давления. Этот охлаждающий элемент 57 предпочтительно оснащен сепаратором конденсата. В других конструкциях этот охлаждающий элемент 57 также может быть встроен в сосуд высокого давления, точнее, в нижнюю часть между впуском 15 и впускной стороной зоны 12 сушки. Как на фиг. 2, в конструкции в соответствии с фиг. 4 выпускная сторона зоны сушки разделена с помощью разделителя 18 на первую зону 21 выпуска, с которой соединен выпуск 16 для осушенного сжатого газа, и вторую зону 22 выпуска, с которой соединена первая соединительная линия 17. В конструкции в соответствии с фиг. 4 первая зона 21 выпуска, если смотреть в направлении вращения барабана, расположена сзади второй зоны 22 выпуска, но это также возможно в обратном порядке, как описано на фиг. 3. На фиг. 5 показана третья конструкция устройства в соответствии с изобретением, содержащего компрессорную установку 50 с сушилкой 30 для сжатого газа. Сушилка 30 содержит сосуд 11 высокого давления, содержащий вращающуюся симметричную часть, в которой образованы зона 12 сушки и зона 13 регенерации, барабан 14, установленный во вращающейся симметричной части и оснащенный регенерируемым сушильным агентом, приводное средство для вращения вышеупомянутого барабана относительно вращающейся симметричной части, так что сушильный агент последовательно перемещается через зону сушки и зону регенерации. Вращающаяся симметричная часть предпочтительно является цилиндрической, но это не является обязательным, возможны также другие формы вращающихся симметричных частей. Сушилка также содержит впуск 15, соединенный с впускной стороной зоны сушки сосуда 11 высокого давления и предназначенный для подачи сжатого газа, подлежащего осушке, и выпуск 16, соединенный с выпускной стороной зоны сушки сосуда 11 высокого давления, предназначенный для удаления осушенного сжатого газа. Нагнетаемый газ, подлежащий осушке, подается компрессором 50, который может включать в себя первую ступень 51 сжатия и вторую ступень 52 сжатия и промежуточный охладитель (IC) 53. В конструкции в соответствии с фиг. 5 подаваемый поток сжатого газа сначала проходит через теплообменник 29 по подающей линии 28, которая установлена вверху в сосуде 11 высокого давления, и затем дальше во впуск 15 сосуда 11 высокого давления. Теплообменник 29 предназначен для нагрева частичного потока 27 для регенерации и в этой конструкции также образует разделитель 18 и первую соединительную линию 27, который отделяет частичный поток для регенерации от потока осушенного сжатого газа, отводимого в выпуск 16 и перенаправляемого в зону 13 регенерации. В этой конструкции первая соединительная линия 27 и теплообменник 29, таким образом, встроены в сосуд 11 высокого давления. В конструкции в соответствии с фиг. 5 разделение зоны 12 сушки, как показано на фиг. 3с, представлено более конкретно, первая зона 31 выпуска, которая соединена с выпуском 16, расположена перед второй зоной 32 выпуска в направлении вращения барабана, которая соединена с соединительной линией 27. В других конструкциях это может быть выполнено в обратном порядке. После регенерации частичный поток повторно объединяется с питающим потоком сжатого газа, подлежащего осушке. Это происходит с помощью эжектора 58 Вентури или других средств создания разности давлений и поддержания частичного потока для регенерации, таких как, например, нагнетательный вентилятор. Конструкция в соответствии с фиг. 5, эквивалентна конструкции на фиг. 4, объединение основного потока сжатого газа, подлежащего осушке, с частичным потоком, используемым для регенерации, происходит перед охлаждением. Таким образом, охлаждение может происходить взаимно для обоих потоков в охлаждающем элементе 57 (процессном охладителе PC), предпочтительно с использованием сепаратора конденсата, который расположен между эжектором 58 Вентури и впуском 15 сосуда 11 высокого давления. В других конструкциях этот охлаждающий элемент 57 также может быть встроен в сосуд высокого давления, точнее, в нижней части между впуском 15 и впускной стороной зоны 12 сушки. Этот охлаждающий элемент 57 может быть пассивной установкой, в которой в качестве охлаждающего агента используется охлаждающая вода, которая обычно имеется в других местах в промышленной установке, или активной установкой, такой как охладитель, или их сочетанием. В одном варианте этого изобретения, эквивалентном фиг. 2, основной поток и частичный поток могут охлаждаться отдельно перед объединением с помощью послеохладителя AC и охладителя регенерации RC, соответственно, в результате чего только охладитель регенерации RC встроен в сосуд высокого давления. На фиг. 6 показана четвертая конструкция устройства в соответствии с изобретением, содержащего компрессорную установку 50 с сушилкой 40 для сжатого газа. Сушилка 40 содержит сосуд 11 высокого давления, содержащий вращающуюся симметричную часть, в которой образованы зона 12 сушки и зона 13 регенерации, барабан 14, установленный во вращающейся симметричной части и оснащенный регенерируемым сушильным агентом, приводное средство для вращения вышеупомянутого барабана относительно вращающейся симметричной части, так что сушильный агент последовательно перемещается через зону сушки и зону регенерации. Вращающаяся симметричная часть предпочтительно является цилиндрической, но это не является обязательным, возможны также другие формы вращающихся симметричных частей. Сушилка также содержит впуск 15 в сосуде 11 высокого давления для подачи сжатого газа, подлежащего осушке, и выпуск 16 в сосуде 11 высокого давления, предназначенный для удаления осушенного сжатого газа. Нагнетаемый газ, подлежащий осушке, подается компрессором 50, который может включать в себя первую ступень 51 сжатия и вторую ступень 52 сжатия и промежуточный охладитель (IC) 53. В конструкции в соответствии с фиг. 6 подаваемый поток сжатого газа сначала проходит через теплообменник 29 по подающей линии 28, которая установлена вверху в сосуде 11 высокого давления, и затем дальше во впуск 15 сосуда 11 высокого давления. Теплообменник 29 предназначен для нагрева частичного потока 27 для регенерации и в этой конструкции также образует разделитель 18 и первую соединительную линию 27, который отделяет частичный поток для регенерации от потока осушенного сжатого газа, отводимого в выпуск 16 и перенаправляемого в зону 13 регенерации. В этой конструкции первая соединительная линия 27 и теплообменник 29, таким образом, встроены в сосуд 11 высокого давления. В конструкции в соответствии с фиг. 6 разделение зоны 12 сушки, как показано на фиг. 3с, представлено более конкретно, первая зона 31 выпуска, которая соединена с выпуском 16, расположена перед второй зоной 32 выпуска в направлении вращения барабана, которая соединена с соединительной линией 27. В других конструкциях это может быть выполнено в обратном порядке. В конструкции в соответствии с фиг. 6 впуск 15 для сжатого воздуха, подлежащего осушке, расположен на уровне теплообменника 29, и подаваемый поток сжатого газа внутри сосуда 11 высокого давления дополнительно направляется к впускной стороне зоны сушки. Это происходит, как показано на чертеже, предпочтительно через центральная линия или канал 38 посередине барабана 14. Эжектор 58 Вентури также может быть встроен в эту линию 38, которая всасывает частичный поток, используемый для регенерации, через вторую центральную линию или канал 39. В других конструкциях основной поток сжатого газа, подлежащего осушке, также может быть направлен дальше внутри сосуда высокого давления по линии или каналу по внешнему кожуху барабана, и в этой линииили канале может быть установлен эжектор Вентури для объединения основного потока и частичного потока для регенерации. В нижней части барабана имеется, сравнимый с фиг. 4 и 5, общий охлаждающий элемент 57 (процессный охладитель PC) для охлаждения объединенного потока (основного потока и частичного потока для регенерации), который предпочтительно встроен в сосуд высокого давления. В одном варианте этого изобретения, эквивалентном фиг. 2, основной поток и частичный поток могут охлаждаться отдельно перед объединением с помощью послеохладителя AC и охладителя RC регенерации, соответственно, в результате чего только охладитель RC регенерации встроен в сосуд высокого давления. Охлаждение питающего потока и объединение обоих потоков затем происходит на наружной стороне сосуда высокого давления. В конструкциях изобретения, таких как конструкция в соответствии с фиг. 6, почти все части сушилки 40 встроены в сосуд высокого давления, точнее, теплообменник 29, который содержит первую соединительную линию 27, соединение 38 для основного потока от теплообменника 29 до впускной стороны зоны сушки, эжектор 58 Вентури и охлаждающий элемент 57 с сепаратором 60 конденсации. Таким образом, можно спроектировать очень компактную сушилку или сушильную установку только с одним впуском 15 и выпуском 16 для сжатого газа. На фиг. 7 показана конструкция этого типа встроенной сушилки 40. В конструкциях изобретения, описанных выше, могут быть предусмотрены регулируемые узлы для поддержания разности давлений между питающим потоком и частичным потоком для регенерации, так что, по меньшей мере, расход частичного потока может регулироваться. Эти типы регулируемых узлов могут быть, например, сконструированы таким образом, чтобы эжектор (58) Вентури имел регулируемое отверстие, и чтобы сушилка включала в себя привод для управления регулируемым отверстием. Этот привод может, например, управляться управляющим сигналом, который устанавливается блоком управления, который, например, может оценивать один или более параметров обработки процесса сушки для определения управляющего сигнала и, как следствие, положения регулируемого отверстия. Конструкции, описанные выше, применимы ко всем конструкциям, в которых часть осушенного сжатого воздуха, выходящего из зоны сушки, отводится и перенаправляется в зону регенерации или ее частичную зону. Это также включает в себя конструкции «полного потока», в которых полный питающий поток сжатого воздуха, подлежащего осушке, сначала проходит через зону регенерации, и затем через зону сушки, в результате чего часть потока удаленного осушенного газа отводится и нагревается для дополнительной регенерации. Нагревательное устройство для нагрева частичного потока, отведенного для регенерации, как в описанных конструкциях, предпочтительно представляет собой теплообменник, использующий тепло, присущее сжатому газу после сжатия. В альтернативных конструкциях можно также использовать другие нагревательные установки, возможно, в сочетании с вышеупомянутым теплообменником, такие как, например, активный электронагрев или теплообменник, который поглощает тепло из другого промышленного процесса, или сочетание. Очевидно, что элементы описанных выше конструкций могут быть объединены в рамках объема правовой охраны данного описания.