Изобретение относится к способу наземных испытаний ядерного ракетного двигателя с водой в качестве рабочего тела. Способ включает разделение ядерного ракетного двигателя на два узла реакторный и газогенерирующий для установки в состав стенда, подачу газа в реакторную часть из соединенной стендовой водород-кислородной горелки, соединение гидравлически реакторного узла ядерного ракетного двигателя с газогенерирующим узлом по линии теплоносителя системы расхолаживания и по линии системы подачи рабочего тела в турбонасосный агрегат, задачу данных через измерители расхода с выбором положения регулятора расхода байпасной линии. Причем обеспечивается расход газа через ядерный реактор, равный расходу генерируемому теплообменником испарителем газогенерирующего узла, при согласованной работе реакторного и газогенерирующего узлов. Установка состоит из реакторного здания, содержащего реакторный узел двигателя, газогенерирующего узла, стендового пункта управления, сбора и обработки информации, комплекса подачи газовых и водяных рабочих тел, системы энергоснабжения, комплексов газификации и подачи рабочего тела. Реакторный узел и газогенерирующий узел выполнены с возможностью соединения по линиям теплоносителя и подачи рабочего тела в турбонасосный агрегат, в байпасной линии отвода газов, газоотводном канале газогенератора и трубопроводе, соединяющем реакторный узел и стендовый газогенератор, установлены измерители расхода. Техническим результатом является создание способа безъядерных наземных испытаний с возможностью измерения параметров ядерных ракетных двигателей, необходимых для перехода к летным испытаниям в космосе. 2 н. и 2 з.п. ф-лы, 2 ил.
1. Способ наземных испытаний ядерного ракетного двигателя с водой в качестве рабочего тела, включающий разделение ядерного ракетного двигателя на два узла реакторный и газогенерирующий для установки в составе стенда, подачу газа в реакторную часть из соединенной стендовой водород-кислородной горелки, соединение гидравлически реакторного узла ядерного ракетного двигателя с газогенерирующим узлом по линии теплоносителя системы расхолаживания и по линии системы подачи рабочего тела в турбонасосный агрегат, задачу данных через измерители расхода с выбором положения регулятора расхода байпасной линии таким, что расход газа через ядерный реактор равнялся расходу генерируемому теплообменником испарителем газогенерирующего узла, согласованную работу реакторного и газогенерирующего узлов за счет работы системы управления и перепуска излишков газа в перепускной канал байпасной линии, подачу охлаждающего газа из системы генерации, подачу рабочего тела из емкости в теплообменник и газогенератор, контроль расхода рабочего тела по показаниям расходомеров, тушение водород-кислородной горелки. 2. Способ по п. 1, отличающийся тем, что после тушения горелки для расхолаживания реакторной части ядерного двигателя из стендовой системы в него подается инертный газ. 3. Установка для испытаний ядерных ракетных двигателей, характеризующаяся тем, что содержит реакторное здание, в котором размещаются реакторный узел ядерного ракетного двигателя, газогенерирующий узел, стендовый пункт управления, сбора и обработки информации, комплекс подачи газовых и водяных рабочих тел, система энергоснабжения, комплексы газификации и подачи рабочего тела, при этом ядерный ракетный двигатель включает в себя ядерный реактор, сопло и контур теплоносителя для расхолаживания реактора и нагрева теплообменника, газогенерирующий узел содержит турбонасосный агрегат, теплообменник рабочего тела и линию системы подачи рабочего тела в турбонасосный агрегат, реакторный узел со стороны входа в реактор стыкуется со стендовой водород-кислородной горелкой или двигателем, к которым через расходомеры подведены линии подачи кислорода и водорода, байпасной линией отвода излишков газа с клапаном регулятором расхода в газоотводный канал и стендовым газогенератором, реакторный узел со стороны сопла стыкуется со стендовым газоотводным каналом, газогенерирующий узел со стороны выхода газа стыкуется со стендовым газоотводным каналом, а с противоположной стороны с теплообменной емкостью с рабочим телом, реакторный узел и газогенерирующий узел выполнены с возможностью соединения по линиям теплоносителя и подачи рабочего тела в турбонасосный агрегат, в байпасной линии отвода газов, газоотводном канале газогенератора и трубопроводе, соединяющем реакторный узел и стендовый газогенератор, установлены измерители расхода. 4. Установка по п. 3, отличающаяся тем, что в реакторном узле тепловыделяющие элементы активной зоны реактора заменены на нерадиоактивный имитатор.
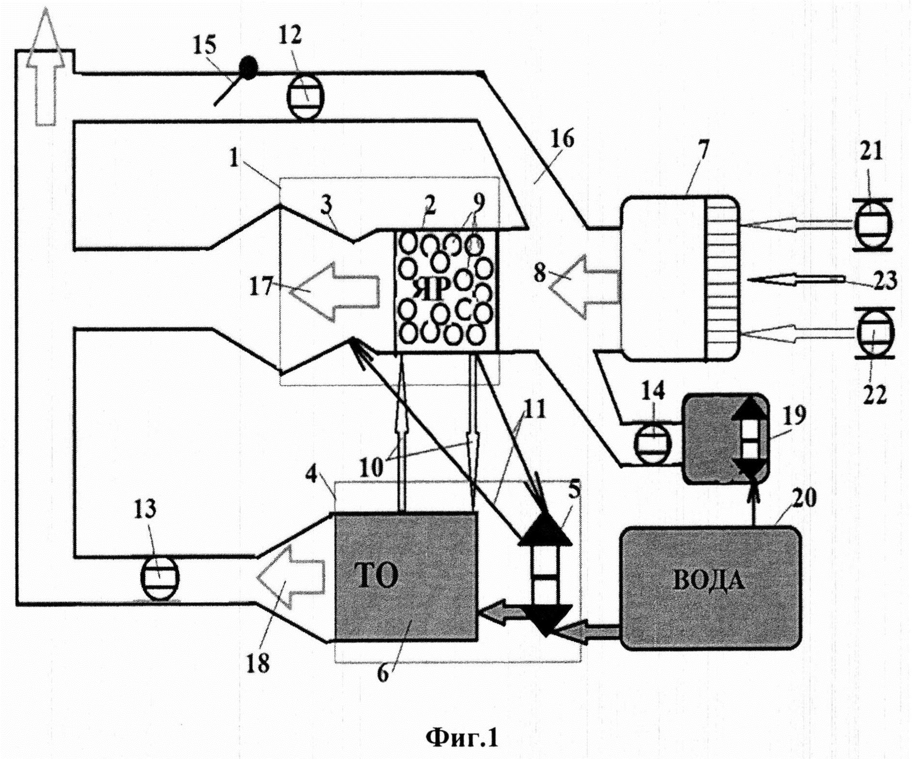
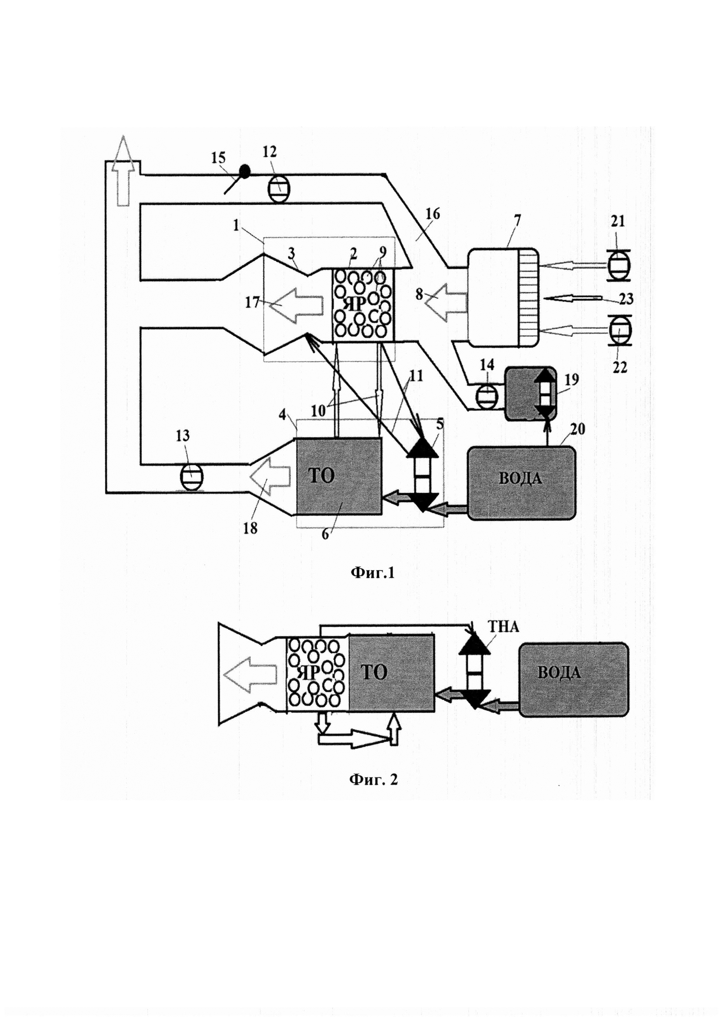
Область техники Изобретение относится к области ракетной техники, а именно к ракетным двигателям с ядерным источником нагревания рабочего тела, в частности воды, в ядерном реакторе, и может найти применение в ракетно-космической области. Наиболее эффективно использование изобретения в области энергомашиностроения и предназначено для осуществления испытаний энергоустановок ядерных ракетных двигателей (ЯРД) с последующим проведением контроля параметров в составе космического аппарата в космосе. Уровень техники Во время наземных испытаний ЯРД необходимо подтвердить соответствие, полученных параметров, заданных в техническом задании на изделие. Необходимо получить информацию о развиваемой тяге, распределение температур по конструкции ЯРД, стойкости материалов к температуре до 3000К и газовому потоку, работу системы съема остаточного тепловыделения в реакторе, работу теплообменника-испарителя рабочего тела воды и его производительность, работу приводов системы управления и защиты (СУЗ) при разогреве и многое другое. Известен способ создания реактивной тяги (патент РФ №2064086) за счет выбрасывания из сопла двигателя в окружающее пространство высокоэнергетических осколков деления, образующихся в ЯРД, в котором в разреженной плазме делящегося вещества протекает реакция резонансного деления движущегося делящегося вещества с тепловыми нейтронами. Недостатками прототипа являются: наличие очень большого количества опасных и токсичных делящихся веществ, например,239Pu в количестве нескольких кг/час, выбрасываемых в окружающую среду, что не приемлемо и запрещено правилами использования ядерной энергии на Земле. Известен способ получения результатов реальных процессов в ракетном двигателе путем соответствующего пересчета испытаний модели при условии, что модель подобна натуре. Модель подобна натуре, если будут соблюдены следующие три условия: - обеспечено геометрическое подобие модели и натуры; - физические константы модели пропорциональны соответствующим константам натурного процесса; - критерии подобия для натуры и модели равны между собой. Вполне естественно, что точное соблюдение всех условий подобия возможно лишь в очень редких случаях, поэтому на практике все чаще прибегают к методам приближенного подобия при моделировании сложных физических процессов. Модельные испытания не исключают натурные, но позволяют решить ряд задач, в результате которых можно значительно сократить экономические затраты на экспериментальную отработку и создание экспериментальной базы. Стенд модельных испытаний включает: огневой бокс для размещения объекта испытания на специальной силовой раме, силоизмерительное устройство, расходные и сливные емкости рабочего тела (горючего и окислителя), баллоны со сжатыми газами, стендовое оборудование, аппаратуру измерения и управления, систему вентиляции, насосные агрегаты, систему энергоснабжения и др. /А.Г. Галеев, В.Н. Иванов, А.В. Катенин, В.А. Лисейкин, В.П. Пикетов, А.Д. Поляхов, Г.Г. Сайдов, А.А. Шибанов. МЕТОДОЛОГИЯ ЭКСПЕРИМЕНТАЛЬНОЙ ОТРАБОТКИ ЖРД И ДУ, ОСНОВЫ ПРОВЕДЕНИЯ ИСПЫТАНИЙ И УСТРОЙСТВА ИСПЫТАТЕЛЬНЫХ СТЕНДОВ. Монография Подписано к исп. 12.01.2015 г. Усл. пен.л. 27,3. Тираж 1000 экз. Заказ 010-М Киров, МЦНИП http://mcnip.ru e-mail: izdatel@mcnip.ru/. Недостатком данного способа является то, что он не позволяет проводить испытания ядерных ракетных двигателей. Известен способ жидкостного управления ядерным реактором (патент РФ №1118215), заключающийся в изменении количества управляющей жидкости в объеме регулирования с подводящей и отводящей магистралями, при чем требуемое количество управляющей жидкости в объеме регулирования, получают путем изменения расхода управляющей жидкости в подводящей магистрали до достижения расхода управляющей жидкости в отводящей магистрали, соответствующего требуемому количеству управляющей жидкости в объеме регулирования. Данный способ не может обеспечить безопасность в аварийной ситуации с потерей герметичности и работоспособности подводящей и отводящей магистралями. Кроме того, данный способ требует создания технически сложного и дорогостоящего комплекса ядерных испытаний ЯРД. Наиболее близким прототипом является способ имитационных испытаний ЯРД NERVA на стенде ETS-1 в США и ЯРД ИВГ-1 на стенде «Байкал-1» в Семипалатинске, СССР. Способ заключался в максимальной имитации реальных условий эксплуатации ЯРД в космосе. Стендовый комплекс «Байкал-1» был предназначен для отработки активных зон реакторов ЯРД и энергодвигательных установок различных типов. Для обеспечения выполнения способа был создан стенд, включающий: - реакторное здание; - центральный пункт управления, сбора и обработки информации; - комплекс зданий и сооружений газовых и водяных систем; - здание энергоснабжения; - здание газификации и подачи рабочего тела для ЯРД. В реакторном здании размещался исследовательский реактор ЯРД. В нем также расположены физическая лаборатория, радиационно-защитная камера, хранилища свежего и отработанного топлива, транспортно-технологическое оборудование и оборудование систем подачи теплоносителей, измерения, контроля и управления. В центральном пункте управления расположены пульты управления, измерительные и вычислительные комплексы, оборудование системы дозиметрического контроля. Газовые системы стенда обеспечивают пополнение, хранение и подачу к объектам испытаний газообразных рабочих тел. Хранилища рабочих тел, расположенных в скальной породе на глубине 150 м подземных газгольдерах объемом 910 м3 каждый и в 20 наземных емкостях суммарным объемом 200 м3 при давлении до 35 МПа. Рабочее тело из газгольдеров (или наземных емкостей) по трубопроводам через системы редуцирования давления и регулирования расхода поступало в распределительные коллекторы и далее на охлаждение объектов испытаний. Выброс отработанного рабочего тела с радиоактивными аэрозолями производился в атмосферу. Азот использовался как теплоноситель системы при длительном расхолаживании реакторов для снятия остаточного энерговыделения, который тоже выбрасывался в атмосферу. Водяные системы стендового комплекса обеспечивают хранение и подачу воды на охлаждение элементов конструкции исследовательских реакторов и стендового оборудования. На стендовом комплексе имеются все необходимые измерительные системы для эксплуатации газоохлаждаемых высокотемпературных реакторов ЯРД: - системы управления и защиты; - информационно-измерительные системы; - системы радиационной, газовой, пожарной безопасности и др. Недостатки имитационного способа испытаний ЯРД. Стендовый комплекс «Байкал-1» является дорогостоящим и сложным, потенциально опасным техническим объектом. Безаварийность его работы во многом определяется надежностью оборудования и квалификацией персонала. Наиболее серьезные отказы за все время испытаний связаны в основном с оборудованием системы подачи рабочего тела (водорода). Главным недостатком является выброс радиоактивных аэрозолей непосредственно в атмосферу. /III отраслевая конф. «Яд. энергетика в космосе. ЯРД», Семипалатинск-21, ОЭ НПО «Луч», 1992, ч. 1, доклад №П2. СТЕНДОВАЯ БАЗА ДЛЯ ИСПЫТАНИЙ ЯРД. Черепнин Ю.С. (ОЭ НПО «Луч»)/. Известны ЯРД, использующие в качестве рабочего тела водород, который дает в 2.5-3 большую эффективность (экономичность) по сравнению с жидкостным ракетным двигателем (ЖРД) даже на кислород-водородном топливе. /Павшук В.А., Сметанников В.П., Семенов В.Ф. и др. «Критерий выбора энергодвигательной установки для пилотируемых межпланетных полетов» 7 симпозиум по космическим ядерно-энергетическим установкам. Альбукерке, Нью-Мексико, США 1990/. Однако, ЯРД, использующие в качестве рабочего тела воду имеют ряд других, не менее важных преимуществ. Объем воды той же массы, что и водород в 13 раз меньше, что упрощает ее доставку на орбиту. Вода высококипящая жидкость, которая не требует применение криогенной техники. Оборудование, работающее на воде дешевле, надежнее и более отработано. И самое главное, водой ЯРД могут заправляться и на других планетах, где обнаружена вода, например, на Луне, Марсе, Венере и пр. Это обстоятельство делает принципиально (в 5-6 раз) более экономичными перелеты к другим планетам. Далее будет рассмотрен способ, позволяющий отказаться от создания дорогостоящих и потенциально опасных стендов ядерных наземных испытаний ЯРД на воде, что так же делает применение воды в качестве рабочего тела более выгодным. Раскрытие сущности изобретения Технической проблемой, на решение которой направлено заявляемое изобретение является устранение высокой стоимости организации комплексных наземных испытаний ядерных ракетных двигателей и экологической опасности известных способов наземных испытаний ядерных изделий. Мощность тепловыделения реактора ЯРД от 200 МВт и более не позволяет создать электрические имитаторы активной зоны (на сегодня максимально возможно на стенде в НИИТП 20 МВт). Создание ядерного стенда с системой локализации и выдержки радиоактивных аэрозолей, выбрасываемых из ЯРД при его работе слишком дорого и небезопасно. Техническим результатом является обеспечение способа безъядерных наземных испытаний, но, при котором, возможно измерить практически все основные параметры ядерных ракетных двигателей за счет способа модельных газо-термических испытаний ядерных ракетных двигателей, позволяющего получить необходимые данные для перехода к летным испытаниям в космосе. Для достижения технического результата предложен способ наземных испытаний ядерного ракетного двигателя с водой в качестве рабочего тела, включающий разделение ядерного ракетного двигателя на два узла реакторный и газогенерирующий для установки в состав стенда, подачу газа в реакторную часть из соединенной стендовой водород-кислородной горелки, соединении гидравлически реакторного узла ядерного ракетного двигателя с газогенерирующим узлом по линии теплоносителя системы расхолаживания и по линии системы подачи рабочего тела в турбонасосный агрегат, задачу данных через измерители расхода с выбором положения регулятора расхода байпасной линии таким, что расход газа через ядерный реактор равнялся расходу генерируемому теплообменником испарителем газогенерирующего узла, согласованную работу реакторного и газогенерирующего узла за счет работы системы управления и перепуска излишков газа в перепускной канал байпасной линии, подачу охлаждающего газа из системы генерации, подачу рабочего тела из емкости в теплообменник и газогенератор, контроль расхода рабочего тела по показаниям расходомеров, тушение водород-кислородной горелки. Так же предложена установка для испытаний ядерных ракетных двигателей содержащая реакторное здание в котором размещаются реакторный узел ядерного ракетного двигателя, газогенерирующий узел, стендовый пункт управления, сбора и обработки информации, комплекс подачи газовых и водяных рабочих тел, система энергоснабжения, комплексы газификации и подачи рабочего тела при этом ядерный ракетный двигатель включает в себя ядерный реактор, сопло и контур теплоносителя для расхолаживания реактора и нагрева теплообменника, газогенерирующий узел, содержит турбонасосный агрегат, теплообменник рабочего тела и линию системы подачи рабочего тела в турбонасосный агрегат, реакторный узел со стороны входа в реактор стыкуется со стендовой водород-кислородной горелкой или двигателем к которым через расходомеры подведены линии подачи кислорода и водорода, байпасной линией отвода излишков газа с клапаном регулятором расхода в газоотводный канал и стендовым газогенератором, реакторный узел со стороны сопла стыкуется со стендовым газоотводным каналом, газогенерирующий узел со стороны выхода газа стыкуется со стендовым газоотводным каналом, а с противоположной стороны с теплообменной емкостью с рабочим телом, реакторный узел и газогенерирующий узел выполнены с возможностью соединения по линия теплоносителя и подачи рабочего тела в турбонасосный агрегат, в байпасной линии отвода газов, газоотводном канале газогенератора и трубопроводе соединяющем реакторный узел и стендовый газогенератор установлены измерители расхода. В предпочтительных вариантах: в реакторном узле тепловыделяющие элементы активной зоны реактора заменены на не радиоактивный имитатор; после тушения горелки для расхолаживания реакторной части ядерного двигателя из стендовой системы в него подается инертный газ. Краткое описание чертежей На фигуре 1 показана принципиальная схема стенда для реализации предлагаемого способа модельных испытаний ЯРД, где: 1 - реакторный узел ЯРД; 2 - ядерный реактор; 3 - сопло; 4 - газогенерирующая узел ЯРД; 5 - турбонасосный агрегат (ТНА) газогенератора; 6 - теплообменник рабочего тела; 7 - кислород-водородная горелка (ЖРД); 8 - поток перегретого рабочего тела (воды); 9 - ТВЭЛ активной зоны реактора; 10 - линия теплоносителя системы расхолаживания; 11 - линия системы подачи рабочего тела в ТНА; 12 - расходомер байпасной линии; 13 - расходомер газа из газогенератора; 14 - расходомер газа стендового газогенератора; 15 - заслонка регулятора расхода через байпасную линию; 16 - байпасная линия (канал); 17 - газоотводный канал из сопла; 18 - газоотводный канал из газогенератора; 19 - стендовый газогенератор; 20 - емкость с рабочим телом (бак с водой); 21 - расходомер потока водорода в горелку; 22 - расходомер потока кислорода в горелку; 23 - поток инертного газа из стендовой системы. На фигуре 2 приведена схема штатной компоновки испытуемого ЯРД. Описание изобретения Способ проведения модельных наземных испытаний заключается в том, что конструкция ядерного ракетного двигателя делится на два узла реакторную 1, содержащую как минимум ядерный реактор 2 и сопло 3, и газогенерирующую 4, содержащую как минимум ТНА 5 и теплообменник рабочего тела 6. Схема реализации предлагаемого способа испытаний ЯРД Пример стендовой схемы реализации способа испытаний ЯРД, компоновки испытуемого ЯРД и стендовых устройств (для иллюстрации) приведен на фиг. 1. ЯРД, приведенный на фиг. 2, до установки в состав стенда разделяется на два узла по стыковочному фланцу (не показан на чертежах). Реакторный узел ЯРД 1, содержит ядерный реактор 2, сопло 3 и контур теплоносителя системы расхолаживания реактора и нагрева теплообменника 10. Газогенерирующий узел 4, содержит турбонасосный агрегат 5, теплообменник рабочего тела 6 и линию 11 системы подачи рабочего тела в ТНА 5. Реакторный узел 1 со стороны входа в реактор стыкуется со стендовой водород-кислородной горелкой 7 (или водород-кислородным ЖРД), байпасной линией отвода излишков газа 16 и стендовым газогенератором 19. Реакторный узел 1 со стороны сопла стыкуется со стендовым газоотводным каналом 17. Газогенерирующий узел 4 со стороны выхода газа стыкуется со стендовым газоотводным каналом 18, а с противоположной стороны - с емкостью с рабочим телом (бак с водой) 20. Газоотводный канал из сопла 17, газоотводный канал из газогенератора 18 и байпасная линия отвода излишков газа 16 соединяются в общую магистраль посредством сварки, образуя общую конструкцию с выхлопом в атмосферу. Измерители расхода 12 и 13 установлены на байпасной линии 16 и газоотводном канале из газогенератора 18 соответственно на середине длины канала. Монтаж выполняется посредством закрепления между контрфланцами (сэндвич) (не показаны на чертежах). Аналогичная установка относится и к расходомеру 14, расположенному на канале ведущем к стендовому газогенератору 19. Заслонка регулятора расхода через байпасную линию 15 установлена непосредственно после расходомера 12. До начала испытаний оба узла соединяются между собой по линии теплоносителя системы расхолаживания 10 и по линии системы подачи рабочего тела в ТНА 11. Стендовая система управления обеспечивает равенство расходов газа в реакторный узел 1 и из узла 4 по показаниям стендовых измерителей расхода 12, 13, 14, перепуская излишки газа в байпасную линию с помощью клапана 15. Температура газа, поступающего в реакторный узел 1, обеспечивается стендовой системой генерации газа 19, перемешивающей охлаждающий газ, до получения заданной температуры на входе в реакторный узел 1. В реакторном узле 1, для испытаний, ТВЭЛы активной зоны реактора 9 заменяется на не радиоактивный имитатор, что обеспечивает ядерную и радиационную безопасность испытаний. В реакторную часть 1 подается газ из соединенной стендовой водород-кислородной горелкой 7 (или водород-кислородным ЖРД) подходящей мощности. Горелка 7 отрабатывается отдельно для обеспечения необходимой температуры (более 3100К) газа 8 и расхода продуктов горения (паров воды) на выходе. Активная зона реактора 2 перед началом испытаний заполняется имитаторами ТВЭЛ 9, изготовленными по штатной технологии из материала с необогащенным ураном (или материалом имитатором). Это позволит отработать технологию изготовления ТВЭЛ и проверить во время наземных испытаний стойкость активной зоны и реактора в сборе на рабочих температурах и условиях потока газа. Гидравлически обе части ЯРД до начала испытаний соединяются между собой по линии теплоносителя системы расхолаживания (например, лития) 10 и по линии системы подачи рабочего тела (паров воды) в ТНА 11. Измерители расхода 12, 13 и 14 задают данные стендовой системы управления для выбора положения регулятора расхода 15 через байпасную линию 16 на стенде, для обеспечения расхода газа 17 через ядерный реактор 2 равный потоку 18, генерируемому теплообменником-испарителем 6. Стендовая система управления обеспечивает согласованность работы двух узлов 1 и 4 ЯРД во время испытаний путем перепуска излишков газа в перепускной канал байпасной линии 16 по показаниям расходомеров из расчета суммы показаний расходомеров кислорода 22, водорода 21, стендового газогенератора 19 за вычетом показаний расходомера расхода газа из газогенерирующей части 18. Для обеспечения заданной температуры газа в реакторе 2 через стендовую систему генерации газа 19 с стендовым газогенератором подается охлаждающий газ. Рабочее тело в теплообменник 6 и стендовый газогенератор 19 подается из емкости с рабочим телом 20. Расход рабочего тела (разогретых паров воды) горелки определяется суммированием потоков водорода по показаниям расходомера 21 и кислорода по показаниям расходомера 22. После завершения тепловых испытаний на уровне температуры 3000К (тушение горелки) для расхолаживания реакторной части ЯРД 1 из стендовой системы подается инертный газ (аргон) 23, чтобы предотвратить коррозию внутренних частей ЯРД кислородом и азотом воздуха. Поскольку в таких испытаниях нет ядерных материалов, то отсутствует и ядерная и радиационная опасность. Модельные наземные испытания ЯРД можно организовать на существующих стендах для испытаний ЖРД, что существенно сократит расходы на создание и отработку ЯРД на воде. Во время испытаний по предлагаемому способу можно измерить практически все основные параметры ЯРД: тягу, термостойкость, теплосъем, мощность генератора газа, динамические тепловые характеристики, производительность теплообменника-испарителя и пр. Для реализации предлагаемого способа монтируется стенд, приведенный выше. Испытания начинаются с прогрева газогенератора до начальной температуры, например, 500К. Подается рабочее тело (вода) в газогенератор кислород и водород в горелку. По показаниям расходомеров 12, 13 и 14 системой управления стенда автоматически перепускной клапан 15 устанавливается в положение обеспечивающей равенство расходов газа из газогенератора и в ядерный реактор 2. Согласно циклограммы испытаний, система управления стенда добавляет от стендового газогенератора более холодный чем из горелки газ (например 400К) для обеспечения заданной температуры в активной зоне реактора, например от 2500К до 3000К. Режим выдерживается заданное время, например от 100 с до 400 с. При этом известным способом производятся измерения параметров частей ЯРД. Отличие условий работы ЯРД в предлагаемых модельных испытаниях от работы ЯРД в штатном режиме в основном заключается в градиенте температуры по длине реакторного узла 1, которого практически нет при испытаниях. Вся активная зона реактора при испытаниях прогрета до максимальных температур, что является более жестким условием работы (консервативный подход). Это отличие достаточно легко можно учесть при пересчете результатов. Измерения с учетом возможности пересчета на натурные параметры с помощью комплексной математической модели ЯРД должны позволить обосновать возможность перехода к приемочным испытаниям в космосе, т.е. к летным испытаниям. Предлагаемый способ обеспечивает безъядерные наземные испытания и измерение практически всех основных параметров ЯРД: тягу, температуро-стойкость всех элементов ЯРД, теплосъем системы расхолаживания, динамические тепловые характеристики, производительность теплообменника-испарителя, работу ТНА и пр. в стационарных и динамических режимах. Поскольку в таких испытаниях отсутствует ядерная и радиационная опасность, то испытания можно организовать на существующих стендах для испытаний ЖРД с необходимой их доработкой. Ядерные испытания ЯРД при реализации предлагаемого способа можно перенести в космос на радиационно-безопасную орбиту, что существенно снизит капитальные затраты на создание и испытания ЯРД.