патент
№ RU 2804917
МПК G01F1/20

Датчик скоростного напора

Авторы:
Горбунов Илья Александрович Горбунов Юрий Александрович Москалев Игорь Николаевич
Все (4)
Номер заявки
2023103697
Дата подачи заявки
17.02.2023
Опубликовано
09.10.2023
Страна
RU
Как управлять
интеллектуальной собственностью
Чертежи 
2
Реферат

[50]

Изобретение относится к области измерительной техники, а именно к области измерения скоростного напора газового, жидкостного или газожидкостного потока и, в сочетании с измерителем объемного расхода любого типа, может быть применено для определения плотности потока продуктов добычи газоконденсатных скважин. Датчик скоростного напора устанавливается в поток газа, жидкости или газоконденсатной смеси и включает в себя цилиндрический резонатор, соединенный с генератором и приемником колебаний волноводами связи и возбуждаемый в миллиметровом диапазоне на типах колебаний вида H01Pq. Датчик устанавливается в потоке так, чтобы набегающий поток был перпендикулярен его торцу. При этом один торец резонатора содержит входное отверстие для пропуска части потока в резонатор и несколько отверстий ниже второго торца для выхода потока из резонатора. Второй торец резонатора сделан подвижным и подпирается пружиной, закрепленной на торце, замыкающем продолжение цилиндрической части резонатора. 2 з.п. ф-лы, 4 ил.

Формула изобретения

1. Датчик скоростного напора, устанавливаемый в поток газа, жидкости или газоконденсатной смеси, включающий в себя цилиндрический резонатор, соединенный с генератором и приемником колебаний волноводами связи и возбуждаемый в миллиметровом диапазоне на типах колебаний вида H01q, устанавливаемый в потоке так, чтобы набегающий поток был перпендикулярен его торцу, отличающийся тем, что один торец резонатора содержит входное отверстие для пропуска части потока в резонатор и несколько отверстий ниже второго торца для выхода потока из резонатора, и второй торец резонатора сделан подвижным и подпирается пружиной, закрепленной на торце, замыкающем продолжение цилиндрической части резонатора.

2. Датчик скоростного напора по п. 1, отличающийся тем, что в качестве опорного сигнала, относительно которого отсчитывается сигнал с датчика скоростного напора, используется еще один датчик, идентичный измерительному, но устанавливаемый так, что его торец, имеющий отверстие для пропуска потока, расположен параллельно набегающему потоку с тем, чтобы скоростной напор в этом резонаторе отсутствовал.

3. Датчик скоростного напора по п. 1, отличающийся тем, что данные о величине напора представляются в частотном виде.

Описание

[1]

Изобретение относится к области измерительной техники и может использоваться для определения скоростного напора в любом потоке - газовом, жидкостном и газожидкостном. В сочетании с вихревым или ультразвуковым расходомерами, определяющими скорость потока, может входить как составная часть расходомера двухфазного потока для измерения массы продуктов добычи газовых, газоконденсатных и нефтяных скважин.

[2]

Кроме того, датчик скоростного напора может быть применен для измерения поля скоростей, эпюры скоростей и построении зависимости ν(r, ϕ) в потоках сложной конфигурации с целью вычисления средней скорости расхода по сечению.

[3]

Далее для определенности будем говорить о потоке газа. Известны измерители динамического напора с помощью трубок Пито, представляющих собой трубку Г- образной формы с отверстиями, направленными навстречу потоку и от него и воспринимающими полное давление, равное сумме динамического давления и статического давления Рс.(Здесь ν - скорость потока, ρ - его плотность).

[4]

Скорость при этом определяется по соотношению:

[5]

[6]

где ΔР - разность давлений в трубах, направленных по и против потока, k1 - коэффициент, определяемый геометрией трубки; k2 - коэффициент, учитывающий сжимаемость газа, ρ - плотность газа.

[7]

На том же принципе основана работа осредняющих напорных трубок (ОНТ) и преобразователей скоростного напора осредняющих (ПСНО) [1].

[8]

Недостатком этих устройств является низкая чувствительность при малых скоростях потока.

[9]

Следующим их недостатком является связанность прибора с местом измерения, т.к. дифференциальный манометр должен устанавливаться рядом с трубкой Пито.

[10]

Известны также способ и устройство для определения массового расхода газа - Патент РФ 2769093, в котором предлагается использовать систему датчиков динамического напора вмонтированных в тело обтекания, чтобы можно было измерять как величину динамического напора, так профиль скорости.

[11]

Однако использование датчиков, измеряющих давление – например, пьезодатчиков или тех же трубок Пито, возможно только в случае малых рабочих давлений и больших скоростей газа, когда давление динамического напора сравнимо с статическим давлением Рс.Однако в случае измерения интересующих нас расходов газоконденсатных (ГК) скважин, где давления составляют десятки и сотни атмосфер, величина Рс в 103-105 раз превышает и проведение измерений становится невозможным.

[12]

Наиболее близким к предлагаемому устройству является патент РФ №2286546 [3], который примем за прототип. В нем предложено устройство для измерения газового, газоконденсатного или жидкостного потока, работающее по принципу сравнения показаний двух идентичных открытых резонаторов (ОЦР), разделенных фигурной диафрагмой, способной прогибаться под действием газодинамического напора.

[13]

Радиочастотные колебания СВЧ/КВЧ - диапазона возбуждают в объемах двух идентичных ОЦР1 и ОЦР2 колебания типа ТМ02 на частоте f0. Диафрагма в виде узких радиальных лепестков размещена в ОЦР2 в его центре, где электрическое поле Е равно нулю. В отсутствие потока частоты резонаторов совпадают f1-f2=f0. При наличии потока лепестки диафрагмы отклоняются, входят в область электрического поля ОЦР2 и возмущают его. При этом частота резонаторов смещаются у ОЦР1: f1→f0 - Δf1, а ОЦР2: f2→f0-Δf1-Δf2. Величина смещения определяется двумя составляющими - диэлектрической проницаемостью вещества потока, которая одинакова в обоих резонаторах (Δf1) и дополнительным возмущением электрического поля ОЦР2 из-за появления в нем лепестков фигурной диафрагмы (Δf2). Отсюда разность частот двух ОЦР f1 - f2=Δf2 будет пропорциональна только динамическому напору ρ ν2

[14]

[15]

где χ - некоторый коэффициент, определяемый при калибровке.

[16]

Недостатком этого способа является необходимость использовать два резонатора с диаметром равным диаметру продуктового трубопровода, что при диаметрах D≥50 мм становится, во-первых, экономически дорого, а, во-вторых, измерительное устройство становится громоздким, поскольку длина ОЦР должна быть в несколько (4-5) раз больше его диаметра.

[17]

Техническим результатом предлагаемого изобретения является расширение диапазона применения датчиков скоростного напора в область больших рабочих давлений (~100 атм).

[18]

Техническим результатом является также уменьшение размеров датчика динамического напора, что открывает возможность разместить его в вихреобразующей призме вихревого расходомера (BP). В частности, это позволит реализовать измерение профиля скорости по радиусу ν(r) [2].

[19]

Техническим результатом является также возможность с помощью датчика динамического напора измерять плотность газового потока и тем самым превратить вихревой расходомер, измеряющий только скорость потока, в счетчик массы и расширить парк конструкций массовых расходомеров.

[20]

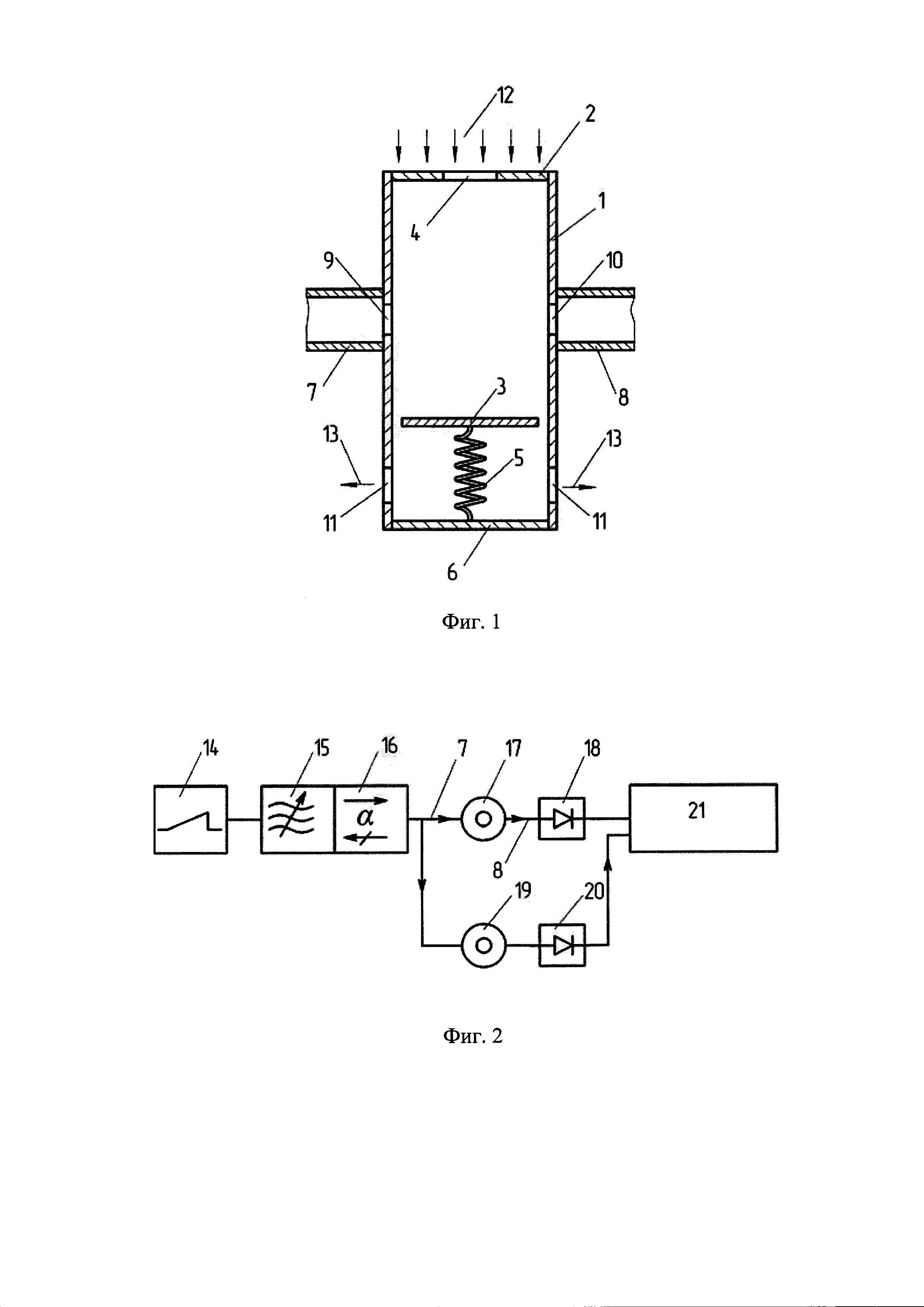
Принципиальная схема датчика приведена на фиг. 1. На ней обозначено: 1 - цилиндрический резонатор миллиметрового диапазона; 2 - неподвижный торец резонатора 1; 3 - подвижный торец резонатора 1; 4 - отверстие в торце 2; 5 -пружина; 6 - основание цилиндра, организующего цилиндрический резонатор; 7, 8 - волноводы, соединяющие резонатор 1 с генератором и детектором; 9, 10 -отверстия связи резонатора 1 с КВЧ генератором и детектором; 11 - отверстия для выпуска потока из резонатора; 12 - поток, набегающий на торец 2 резонатора 1; 13 - поток, выходящий из резонатора 1. Далее обозначим всю эту сборку через R1.

[21]

На фиг. 2 показана блок-схема электрической части устройства. На ней показаны: 14 - генератор пилообразного напряжения; 15 - генератор качающейся частоты КВЧ диапазона, модулируемый по частоте по пилообразному закону; 16-ферритовый вентиль; 17 - сборка R1; 18 - КВЧ детектор; 19 - сборка R2, идентичная сборке R1, устанавливаемая так, что поток в нее не входит (направление потока параллельно торцу 2); 20 - КВЧ детектор; 21 - блок обработки принятых сигналов.

[22]

На фиг. 3 приводятся сигналы Uд с детекторов 18 и 20 как функция частоты генератора 15 при его модуляции по пилообразному закону; 22 - сигналы со сборки R1 и R2 в случае отсутствия вещества потока (они совпадают); 23 - сигнал со сборки R2 в рабочих условиях; 24 - то же самое - со сборки R1.

[23]

На фиг. 4 показан пример размещения датчика скоростного напора сборка R1 в призме, создающей вихри в вихревом расходомере; 25 - корпус расходомера; 26 - вихреобразующая призма.

[24]

Работа устройства происходит следующим образом. Два идентичных датчика (фиг. 1) - сборки R1 и R2 устанавливаются в потоке таким образом, что торец сборки R1 ориентирован перпендикулярно продольной скорости потока, так что небольшая часть потока входит в резонатор 1 через отверстие 4 и выходит через отверстие 11. В сборке R2 торец устанавливается параллельно продольной скорости потока. При этом сборка R2 заполняется газом через те же отверстия 4 и 11, однако на торец 3 никакого динамического напора не оказывается. Через отверстия 4 и 11 постоянно осуществляется обновление среды, так что в резонаторе существует газ того же состава и при том же рабочем давлении, что идет в промысловой трубе. Сборки R1 и R2 возбуждаются на моде Н01q, имеющей резонансную частоту f0. Особенность этих видов колебаний состоит в том, что они допускают зазор между цилиндрической частью резонатора 1 и торцом 3, что обеспечивает проход газу, поступающему через отверстие 4.

[25]

Схема регистрации (фиг. 2) включает в себя генератор пилообразного напряжения 14, которое поступает на управляемый по частоте генератор 15, который периодически генерирует электромагнитные колебания, линейно изменяющиеся по частоте. Ферритовый вентиль 16 служит для защиты генератора 15 от отраженных волн. После вентиля 16 СВЧ мощность раздваивается, и одна часть возбуждает резонатор в сборке R1 17, а другая - резонатор в сборке R2 19, сигналы, с которых поступают на детекторы 18 и 20 соответственно.

[26]

В отсутствие вещества потока в сборках R1 и R2 ввиду их идентичности сигналы с детекторов 18 и 20 имеют вид резонансной кривой с частотой f0 - 22. В случае же наличия потока со скоростью v и плотностью ρ сигнал с детектора 18 имеет вид той же кривой, но с частотой f1 - 24, а с детектора 20 - вид той же кривой, но с частотой f2- 23.

[27]

Это происходит по следующим причинам.

[28]

При заполнении объема трубопровода, где установлены сборки R1 и R2, газом - диэлектриком с диэлектрической проницаемостью 8 до рабочего давления резонансная частота обоих сборок сместится вниз на величину Δf02 [4]

[29]

[30]

Где ε - диэлектрическая проницаемость материала потока газа при рабочем давлении Р и температуре Т.

[31]

А сигнал с сборки 1 дополнительно еще сместится за счет силы динамического напора где С - коэффициент формы подвижного торца 2 (устанавливается экспериментально). Под действием силы Рд торец 2 смещается до тех пор, пока эта сила не уравновесится силой сжатия пружина 5. При этом первоначальное расстояние между торцами резонатора L возрастает на некоторую величину ΔL: L→L+ΔL.

[32]

Частота цилиндрического резонатора радиусом R и расстоянием между торцами L при типе колебаний H01q(q=1; 2; …) определяется соотношением:

[33]

[34]

Как видно из (2) частота f определяется, в частности, расстоянием между торцами резонатора L.

[35]

Поэтому, когда длина L меняется, а именно возрастает, то частота также снижается: f2→f2-f21.

[36]

Величина статического давления Рс одинакова со всех сторон торца 2 и отсюда не влияет на смещение ΔL (Но Рс входит в соотношение, определяющее плотность газа ρ и его диэлектрическую проницаемость ε).

[37]

Измеряем частоты f2 и // находим величину динамического напора

[38]

[39]

Коэффициент η определяется при калибровке.

[40]

Соотношение (3) позволяет определить динамический напор по измерению смещения частоты резонаторов в сборках R1 и R2. Это существенно повышает чувствительность устройства, т.к. в настоящее время частота легко может быть измерена с относительной погрешностью 10-4÷10-5.

[41]

Экспериментально нами был создан и испытан макет датчика с параметрами: диаметр 2R=11 мм, минимальное расстояние между торцами составляло Lmin=15 мм, а максимальное Lmax=25 мм. Диаметр отверстия в неподвижном торце составил 7 мм. В качестве подвижного торца использовалась металлическая трубка размерами dxl=7 мм × 20 мм.

[42]

Диапазон изменения торца относительно среднего пополнения составляет ±5 мм. При этом частота резонатора изменялась от 34550 МГц до 35500 МГц.

[43]

В качестве генератора и приемника использовался напорный анализатор - измеритель КСВН с блоком индикации и генераторным блоком. Предельная чувствительность датчика к динамическому напору составила -10 Па.

[44]

Литература

[45]

1. Кремлевский П.П. Расходомеры и счетчики количества веществ. Справочник. Книга 1. - СПб.: Политехника, 2002. - 409 с.

[46]

2. Москалев И.Н., Семенов А.В., Горбунов И.А., Горбунов Ю.А. Способ и устройство для определения массового расхода газа // Патент на изобретение №2769093. RU. Опубл. 28.03.2022, Бюл. №10.

[47]

3. И.Г. Вышиваный, В.Е. Костюков, И.Н. Москалев и др. Способ и устройство измерения расхода газожидкостного потока. Патент РФ №2286546. Опубл. 27.10.2006, Бюл. №30.

[48]

4. А.А. Брандт. Исследования диэлектриков на сверхвысоких частотах. М.: Физматгиз, 1963, 404 с.

[49]

5. В.В. Никольский. Теория электромагнитного поля. М.: Высшая школа, 1964, 384 с.

Как компенсировать расходы
на инновационную разработку
Похожие патенты