Изобретение относится к конструкции приемо-передающих модулей активных фазированных антенных решеток Х–диапазона частот. Техническим результатом данного изобретения является повышение точности определения скорости и угловых координат цели, увеличение дальности обнаружения объектов. Технический результат достигается тем, что в приемо-передающем модуле каждый модулятор выполнен в виде монолитной интегральной схемы (МИС) со встроенными аттенюатором n-разрядов, вход которого подключен к выходу предварительного усилителя мощности, и фазовращателем n-разрядов, при этом вход МИС приемного канала подключен через согласующий усилитель к малошумящему усилителю, который соединен с защитным устройством, вход которого соединен с выходом циркулятора, вход циркулятора соединен с выходом выходного усилителя мощности, вход предварительного усилителя мощности соединен с МИС передающего канала, а ответвляющая часть направленного ответвителя содержит согласованную нагрузку и детекторный диод, к выходу которого подключен АЦП, выход которого подключен к входу ПЛИС, имеющей две шины управления, к первой подключен вход драйвера управления, а ко второй - входы управления МИС приемного и передающего каналов. 1 ил.
Приемо-передающий модуль активной фазированной антенной решетки X-диапазона частот, содержащий передающий и приемный каналы, включающие циркулятор, модулятор с аттенюатором n-разрядов и фазовращателем n-разрядов, при этом передающий канал включает выходной усилитель мощности, предварительный усилитель мощности, а приемный канал включает защитное устройство, малошумящий усилитель и согласующий усилитель, отличающийся тем, что каждый модулятор выполнен в виде монолитной интегральной схемы (МИС) векторного модулятора со встроенными аттенюатором n-разрядов и фазовращателем n-разрядов, причем вход МИС передающего канала является его входом, выход МИС приемного канала является его выходом, вход МИС приемного канала подключен через согласующий усилитель к малошумящему усилителю, вход которого соединен с выходом защитного устройства, а вход которого соединен с выходом циркулятора, второй выход которого является входом приемного канала и выходом передающего канала, вход циркулятора соединен с выходом выходного усилителя мощности, ко входу которого подключен выход направленного ответвителя, а вход которого подключен к выходу управляемого аттенюатора n-разрядов, вход которого подключен к выходу предварительного усилителя мощности, вход которого соединен с МИС передающего канала, ответвляющая часть направленного ответвителя содержит согласованную нагрузку с волновым сопротивлением 50 Ом и детекторный диод, к выходу которого подключен вход аналогово-цифрового преобразователя, выход которого подключен к входу программируемой логической интегральной схемы, имеющей две шины управления, к первой подключен вход драйвера управления, выходы которого соединены со входами управляемого аттенюатора n-разрядов, а ко второй шине управления подключены входы управления МИС приемного и передающего каналов, при этом каждый активный элемент имеет шину напряжения питания.
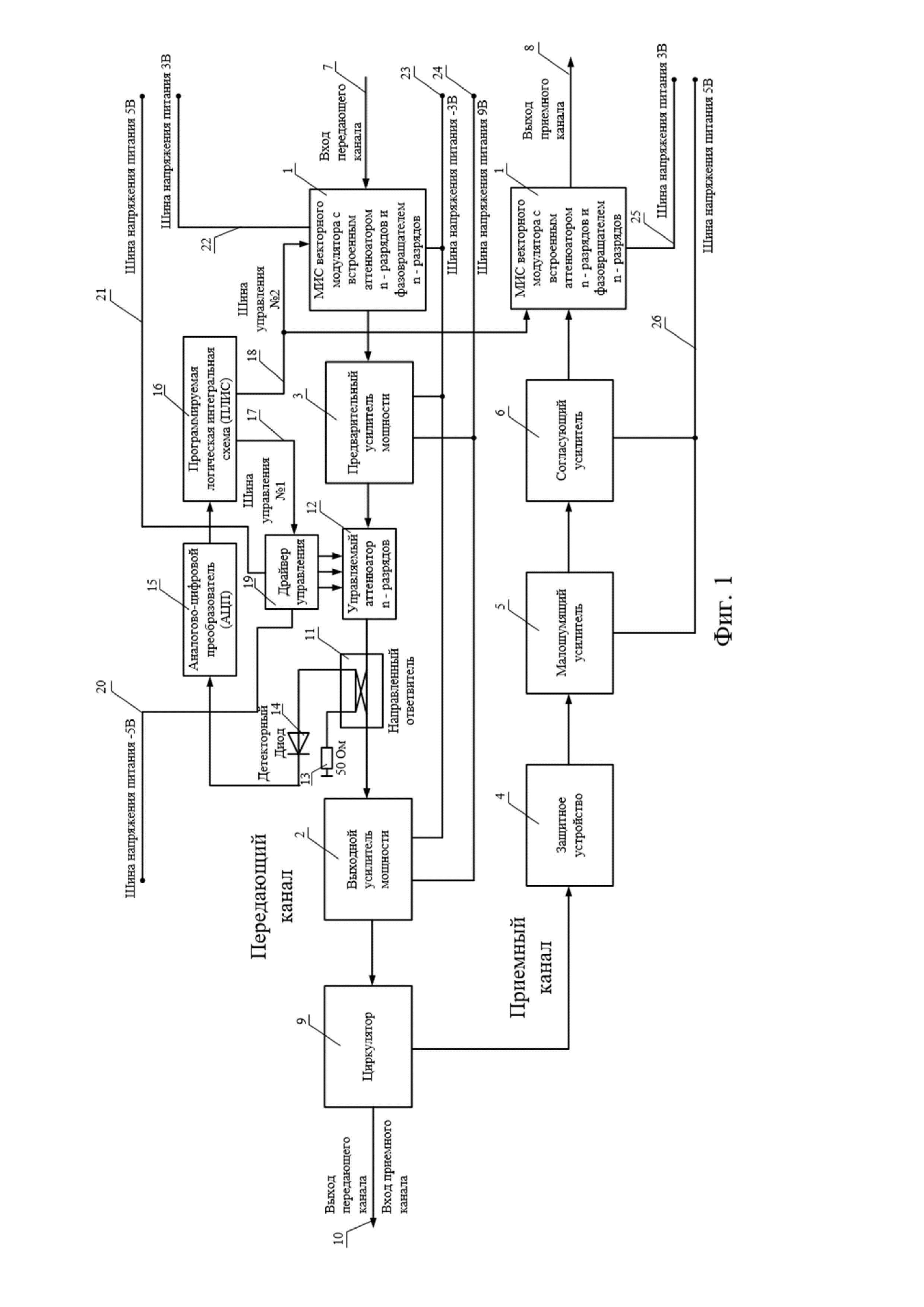
Изобретение относится к радиоэлектронным устройствам, а именно к конструкции приемо-передающих модулей активных фазированных антенных решеток (ППМ АФАР) X - диапазона частот. Известен приемопередающий модуль активной фазированной антенной решетки СВЧ-диапазона [Патент РФ №2454763С1 H01Q 21/00], содержащий, по меньшей мере, один переключатель «прием/передача» на 2 положения. Передающий канал включает последовательно соединенные, по меньшей мере, один управляемый n-разрядный ступенчатый фазовращатель, предварительный усилитель мощности, выходной усилитель мощности, выход передающего канала, который является выходом модуля. Один контакт «вход» в положении переключателя «прием», который подключен к выходу приемного канала, содержит дополнительный n-разрядный ступенчатый фазовращатель и два согласующих усилителя. Оба фазовращателя подключены к одной схеме управления. Приемный канал содержит, по меньшей мере, один управляемый n-разрядный ступенчатый аттенюатор, дополнительный n-разрядный ступенчатый аттенюатор, по меньшей мере, один малошумящий усилитель, защитное устройство и вход приемного канала, который является входом модуля, причем аттенюаторы подключены к одной схеме управления, вход одного из которых соединен с выходом дополнительного n-разрядного аттенюатора, и делитель мощности СВЧ сигнала. Во втором приемном канале вход дополнительного n-разрядного ступенчатого аттенюатора может быть соединен со вторым выходом делителя, а выход n-разрядного ступенчатого аттенюатора со входом первого согласующего усилителя, выход которого соединен со входом дополнительного n-разрядного ступенчатого фазовращателя, выход n-разрядного ступенчатого фазовращателя соединен со входом второго согласующего усилителя. Недостатками данного технического решения является: - вероятность самовозбуждения передающего СВЧ-тракта при пониженной температуре окружающей среды, - высокое энергопотребление за счет использования двух согласующих усилителей, дополнительного n-разрядного фазовращателя, n-разрядного фазовращателя и отдельной схемы управления в составе конструкции передающего канала. Известен приемопередающий модуль активной фазированной антенной решетки СВЧ-диапазона, принятый за прототип [Патент РФ №2713079 H01Q 21/00,]. Модуль содержит по меньшей мере, один переключатель «прием/передача» на 2 положения, контакт «вход-выход» которого является входом-выходом модуля. Контакт «выход» в положении переключателя «передача» подключен ко входу передающего канала, включающего последовательно соединенные, по меньшей мере, один управляемый n-разрядный ступенчатый фазовращатель и дополнительный n-разрядный ступенчатый фазовращатель, причем оба фазовращателя подключены к одной схеме управления, согласующие усилители, предварительный усилитель мощности, выходной усилитель мощности. Выход передающего канала, который является выходом модуля, и, по меньшей мере, один контакт «вход» в положении переключателя «прием», который подключен к выходу приемного канала, содержащего последовательно соединенные, по меньшей мере, один управляемый n-разрядный ступенчатый фазовращатель, дополнительный n-разрядный ступенчатый фазовращатель, по меньшей мере, один управляемый n-разрядный ступенчатый аттенюатор, дополнительный n-разрядный ступенчатый аттенюатор, по меньшей мере, один малошумящий усилитель, защитное устройство и вход приемного канала, который является входом модуля, причем аттенюаторы подключены к одной схеме управления и фазовращатели подключены к одной схеме управления, согласующие усилители, при этом в каждом канале каждая схема управления фазовращателями или аттенюаторами содержит преобразователь уровней сигналов управления. Передающий канал включает второй переключатель, вход которого подключен к выходу первого, а выход подключен ко входу управляемого n-разрядного ступенчатого фазовращателя, выход которого соединен со входом первого согласующего усилителя, выход усилителя соединен со входом дополнительного n-разрядного ступенчатого фазовращателя, выход которого соединен со входом управляемого n-разрядного ступенчатого аттенюатора, выход которого соединен со входом дополнительного n-разрядного ступенчатого аттенюатора, выход которого подключен ко входу второго согласующего усилителя, выход которого подключен к третьему переключателю. Первый выход третьего переключателя соединен со входом первого переключателя, а второй выход через третий согласующий усилитель подключен к предварительному усилителю мощности, выход которого соединен со входом выходного усилителя мощности, к усилителям мощности подключен модулятор передающего канала, при этом канал дополнительно содержит систему контроля мощности, вход которой подключен к выходу выходного усилителя мощности, а выход подключен к выходу Х-циркулятора, вход которого является выходом модуля. Вход приемного канала подключен ко входу Х-циркулятора, а второй выход подключен ко входу защитного устройства, выход защитного устройства подключен ко входу аттенюатора, выход которого подключен ко входу малошумящего усилителя, выход которого через четвертый и пятый согласующие усилители подключен ко входу второго переключателя, к третьему, четвертому и пятому согласующим усилителям подключен модулятор приемного канала. Преобразователь последовательного кода управления в параллельный код выполнен общим и подключен к схемам управления аттенюаторов и фазовращателей через шины внутренних сигналов управления, а ко входу подключена внешняя шина, через которую подают сигналы управления и напряжение питания. Недостатками данного технического решения является: - вероятность самовозбуждения передающего СВЧ-тракта при пониженной температуре окружающей сред, так как предварительный усилитель мощности и выходной усилитель мощности имеют высокий коэффициент усиления, - СВЧ-потери, возникающие после выходного усилителя мощности по СВЧ-тракту, связанные с введением системы контроля мощности, что снижает дальность обнаружения объектов активной фазированной антенной решеткой. Техническим результатом данного изобретения является повышение точности определения скорости и угловых координат цели, увеличение дальности обнаружения объектов, за счет исключения самовозбуждения передающего канала в процессе работы Технический результат достигается тем, что приемо-передающий модуль активной фазированной антенной решетки (АФАР) X - диапазона частот содержит передающий и приемный каналы, включающие циркулятор, модулятор с аттенюатором n-разрядов и фазовращателем n-разрядов, при этом передающий канал включает выходной усилитель мощности, предварительный усилитель мощности, а приемный канал включает защитное устройство, малошумящий усилитель и согласующий усилитель. Каждый модулятор выполнен в виде монолитной интегральной схемы (МИС) векторного модулятора со встроенными аттенюатором n-разрядов и фазовращателем n-разрядов, причем вход монолитной интегральной схемы передающего канала является его входом, выход МИС приемного канала является его выходом, вход МИС приемного канала подключен через согласующий усилитель к малошумящему усилителю, вход которого соединен с выходом защитного устройства, а вход которого соединен с выходом циркулятора, второй выход которого является входом приемного канала и выходом передающего канала, вход циркулятора соединен с выходом выходного усилителя мощности, ко входу которого подключен выход направленного ответвителя, а вход которого подключен к выходу управляемого аттенюатора n-разрядов, вход которого подключен к выходу предварительного усилителя мощности, вход которого соединен с МИС передающего канала, ответвляющая часть направленного ответвителя, содержит согласованную нагрузку с волновым сопротивлением 50 Ом и детекторный диод, к выходу которого подключен вход аналогово-цифрового преобразователя, выход которого подключен к входу программируемой логической интегральной схемы, имеющей две шины управления. К первой шине подключен вход драйвера управления, выходы которого соединены со входами управляемого аттенюатора n-разрядов, а ко второй шине управления подключены входы управления МИС приемного и передающего каналов, при этом каждый активный элемент имеет шину напряжения питания. Направленный ответвитель ответвляет часть СВЧ-мощности с основной линии передачи, его неиспользуемое плечо заглушает согласованная нагрузка 50 Ом. Детекторный диод (ДД) преобразует СВЧ-мощность, поступающую на вход в напряжение более низкой частоты. Уровень напряжения на выходе ДД в зависимости от амплитуды входной мощности можно рассчитать по вольт-ваттной характеристике используемого ДД, что позволяет определять уровень СВЧ-мощности на выходе передающего канала. Аналогово-цифровой преобразователь (АЦП) преобразует аналоговый сигнал в дискретный код (цифровой сигнал), что позволяет обеспечить передачу пакета данных для дальнейшей обработки и как следствие получить информацию об уровне выходной мощности на выходе передающего канала. Программируемая логическая интегральная схема (ПЛИС) позволяет обрабатывать пакеты данных поступающие с АЦП и в соответствии с поставленной задачей отправить высокоскоростные сигналы управления по шинам управления для аттенюаторов и фазовращателей в СВЧ-тракте. Драйвер управления преобразует последовательный код, полученный по шине управления от ПЛИС, в параллельный и формирует сигналы управления подаваемые на входы управления аттенюатора n-разрядов. Аттенюатор n-разрядов ослабляет СВЧ-сигнал на выходе предварительного усилителя мощности, исключая возможное возникновение самовозбуждение передающего канала, что повышает надежность подрешетки АФАР. Монолитная интегральная схема (МИС) модулятора с встроенным аттенюатором n-разрядов и фазовращателем n-разрядов усиливает проходящий СВЧ-сигнал, а также модулирует амплитуды и фазы СВЧ-сигнала. В МИС последовательный код, полученный по шине управления от ПЛИС, преобразуется в параллельный код и формируются сигналы управления, подаваемые на входы управления аттенюатора n-разрядов и фазовращателя n-разрядов. Изобретение поясняется чертежом. На Фиг. 1 представлена структурная схема предлагаемого приемопередающего модуля активной фазированной антенной решетки X - диапазона частот, где: - МИС векторного модулятора с встроенным аттенюатором n-разрядов и фазовращателем n-разрядов 1; - выходной усилитель мощности 2; - предварительный усилитель мощности 3; - защитное устройство 4; - малошумящий усилитель 5; - согласующий усилитель 6; - вход передающего канала 7; - выход приемного канала 8; - циркулятор 9; - выход передающего канала/вход приемного канала 10; - направленный ответвитель 11; - управляемый аттенюатор n-разрядов 12; - согласованная нагрузка 50 Ом 13; - детекторный диод 14; - аналогово-цифровой преобразователь 15; - программируемая логическая интегральная схема 16; - шина управления №1 17; - шина управления №2 18; - драйвер управления 19; - шина напряжения питания -5 В 20; - шина напряжения питания 5 В 21; - шина напряжения питания 3 В 22; - шина напряжения питания -3 В 23; - шина напряжения питания 9 В 24; - шина напряжения питания 3 В 25; - шина напряжения питания 5 В 26. Пример. Приемо-передающий модуль активной фазированной антенной решетки X - диапазона частот содержит монолитную интегральную схему (МИС) 1 векторного модулятора с встроенным аттенюатором n-разрядов и фазовращателем n-разрядов типа М45322-1 АПНТ.434850.059ТУ с размером кристалла 5,07×5,3×0,1 мм передающего канала, вход которой является входом передающего канала 7, а выход подключен к входу предварительного усилителя 3 типа М42284-3 АПНТ.434810.208ТУ с размером кристалла 3,5×3,0×0,1 мм, выход которого подключен к входу управляемого аттенюатора n-разрядов 12 типа М44723-2 АПНТ.434820.013ТУ с размером кристалла 2,83×1,59×0,1 мм, выход которого подключен ко входу направленного ответвителя 11, выполненного по тонкопленочной технологии на многослойной керамической плате LTCC, выход которого подключен к входу выходного усилителя мощности 2 типа М42283-4 АПНТ.434810.206ТУ с размером кристалла 14,5×8,0×0,1 мм, выход которого подключен к входу циркулятора 9 типа МПВЦ9-1Х КРПГ.468545.086ТУ с размерами 10,5×10,5×3,5 мм, выход которого является выходом передающего канала и входом приемного канала 10. Приемный канал содержит защитное устройство 4 типа М44419 с размером кристалла 1,48×0,96×0,1 мм, выход которого подключен к входу малошумящего усилителя 5 типа М421390-2 с размером кристалла 2,02×1,02×0,1 мм, выход которого подключен к входу согласующего усилителя 6 типа М421304-5 с размером кристалла 1,16×0,82×0,1 мм, выход которого подключен к входу МИС 1 приемного канала, выход которой является выходом приемного канала 8 модуля. Направленный ответвитель 11, вход которого подключен к выходу управляемого аттенюатора n-разрядов 12, а выход подключен к входу выходного усилителя мощности 2 содержит ответвляющую часть, к которой подключена согласованная нагрузка с волновым сопротивлением 50 Ом 13 типа КРПГ.758789.326 с размерами 3,0×3,3×1,0 мм, детекторный диод 14 типа КРПГ.757631.010 выход которого подключен к входу аналогово-цифрового преобразователя 15 типа K510HB04FI производства АО «ПКК Миландр», выход которого подключен к входу программируемой логической интегральной схемы 16 типа 5578ТС084 производства АО «ВЗПП-С» выход шины управления №1 17 которой подключен к входу драйвера управления 19, а выход шины управления №2 18 подключен к входу управления МИС 1 передающего и приемного каналов. Для каждого активного элемента приемо-передающего модуля предусмотрена шина напряжения питания 20, 22, 23, 24, 25, 26. Устройство работает следующим образом. В режиме работы АФАР «Передача» на вход передающего канала 7 поступает СВЧ-сигнал с гетеродина. СВЧ-сигнал поступает на вход МИС 1 векторного модулятора с встроенным аттенюатором n-разрядов и фазовращателем n-разрядов передающего канала. Задается необходимая амплитуда и фаза в зависимости от режима работы подрешетки антенной и поставленных задач. Промодулированный СВЧ-сигнал поступает на вход предварительного усилителя мощности 3. Сигнал усиливается до требуемой амплитуды, достаточной для работы выходного усилителя мощности 2 в режиме насыщения. Усиленный сигнал поступает на вход управляемого аттенюатор n-разрядов 12. На начальном этапе включения передающего канала все разряды управляемого аттенюатора n-разрядов 12 находятся в нулевом состоянии. Далее сигнал поступает на вход направленного ответвителя 11. Для обеспечения определенной направленности ответвления мощности с основной линии передачи в одно из плеч направленного ответвителя 11 установлена согласованная нагрузка с волновым сопротивлением 50 Ом 13. Ответвленная мощность поступает на вход детекторного диода 14, в котором СВЧ-мощность преобразуется в напряжение более низкой частоты. Выходное напряжение определяется в соответствии с вольт-ваттной характеристикой используемого детекторного диода 14. Напряжение с детекторного диода 14 поступает на вход аналогово-цифрового преобразователя 15, в котором обрабатывается уровень напряжения (сигнал) и переводиться из аналогового в цифровой вид. Далее цифровой сигнал поступает на вход программируемой логической интегральной схемы 16, в которой производится обработка и анализ уровня напряжения цифрового сигнала. Если уровень выходного напряжения детекторного диода 14 выше, чем заданный порог (соответствующий определенной выходной мощности на выходе предварительного усилителя мощности 3), программируемая логическая интегральная схема 16 подает сигнал по шине управления №1 17 на драйвер управления 19 для включения определенного разряда на управляемом аттенюаторе n-разрядов 12, что приводит к снижению входной мощности выходного усилителя мощности 2 до требуемого значения. Ослабление сигнала на выходе предварительного усилителя мощности 3 исключает самовозбуждение передающего канала приемо-передающего модуля при пониженной рабочей температуре окружающей среды. Преобразованный СВЧ-сигнал с выхода направленного ответвителя 11 поступает на вход выходного усилителя мощности 2. Усиленный сигнал с выхода выходного усилителя мощности 2 поступает на выход передающего канала 10 через циркулятор 9. Усиленный и промодулированный СВЧ-сигнал с выхода передающего канала приемопередающего модуля поступает на антенное полотно и излучается в пространство. После излучения СВЧ-сигналов АФАР переключается в режим работы «Прием». При нахождении объекта в области сканирования АФАР, излучаемый СВЧ-сигнал отражается и поступает на антенной полотно АФАР. С антенного полотна отраженный СВЧ-сигнал поступает на вход приемного канала 10. Через циркулятор 9 сигнал поступает на вход защитного устройства 4. При высоком уровне мощности сигнала на входе приемного канала 10 в режиме «прием», защитное устройство 4 ограничивает этот уровень до безопасного значения для эксплуатации элементов, последовательно стоящих далее по СВЧ-тракту. При номинальной входной мощности на входе приемного канала 10 в режиме «прием», защитное устройство 4 вносит незначительные СВЧ-потери в принимаемый сигнал и пропускает его на вход малошумящего усилителя мощности 5. Сигнал усиливается малошумящим усилителем 5 и поступает на вход согласующего усилителя 6. Сигнал усиливается согласующим усилителем 6 и поступает на вход МИС 1 векторного модулятора с встроенным аттенюатором n-разрядов и фазовращателем n-разрядов приемного канала. Задается необходимая амплитуда и фаза в зависимости от режима работы подрешетки антенной и поставленных задач. Промодулированный СВЧ-сигнал поступает на выход приемного канала 8 приемо-передающего модуля. После этого производится обработка полученных сигналов с каналов АФАР для получения информации о расстоянии до облучаемого объекта, его скорости и угловых координатах. Предлагаемый ППМ позволяет повысить точность определения скорости и угловых координат цели, увеличить дальность обнаружения объектов на 10%, а также исключить выход из строя подрешеток антенных за счет возможности отключения неисправных каналов в режиме реального времени.