Изобретение относится к области строительства, а именно к способам и устройствам облицовки фасадов зданий и других строительных сооружений облицовочными панелями на основе панелей из фотоэлектрических модулей. Техническим результатом изобретения является повышение надежности и долговечности фасадной системы и снижение трудоемкости ее монтажа и эксплуатации. Фасадная система с облицовочными панелями из фотоэлектрических модулей содержит крепежно-несущие узлы, включающие L-образные кронштейны, удерживающие Т-образные вертикальные направляющие на необходимом вылете от опорной поверхности, сами Т-образные вертикальные направляющие, удерживающие облицовочные панели и элементы крепления облицовочных панелей. Крепежно-несущий узел включает в себя комбинацию L-образных несущих и опорных кронштейнов в пределах одной Т-образной вертикальной направляющей, удерживающей направляющий профиль, вертикальные продолговатые отверстия, выполненные в опорных L-образных кронштейнах, через которые выполняют монтаж опорных L-образных кронштейнов к Т-образным вертикальным направляющим, временное соединение с пружинной плоской прижимной лапкой, имеющей загибы на концах. При этом один конец прижимной лапки вставляют в одно из L-образных отверстий, выполненных вдоль продольной линии симметрии L-образного кронштейна, а другой конец опирают на поверхность L-образного кронштейна, под который заводят Т-образную вертикальную направляющую и за счет упругости прижимной лапки прижимают и удерживают Т-образную вертикальную направляющую на L-образном кронштейне. А L-образные несущие кронштейны выполнены с возможностью восприятия продольной и поперечной нагрузки относительно продольной оси Т-образной вертикальной направляющей, которая закреплена в них жестко по всем направлениям, а сами L-образные опорные кронштейны выполнены с возможностью восприятия поперечной нагрузки и Т-образная вертикальная направляющая закреплена в них жестко только в поперечном направлении с возможностью перемещения в продольном направлении и обеспечения термических деформаций Т-образных вертикальных направляющих. С нижнего торца ряда смонтированных на опорной поверхности Т-образных вертикальных направляющих с заходом на их лицевую поверхность смонтирована горизонтальная направляющая, профиль которой образует на упомянутой лицевой поверхности паз для монтажа в него низа навесных облицовочных панелей, смонтированных на сборной раме коробчатого сечения, с обращенными в сторону воздушного зазора фасадной системы бортами вдоль всех четырех торцов упомянутых панелей на всю длину этих торцов. Рама образована соединенными между собой нижним, верхним и боковыми профилями рамы, образуя на лицевой стороне по периметру упомянутой рамы фальц для монтажа внутрь него облицовочной панели. Нижний борт рамы, обращенный в сторону воздушного зазора, смонтирован в паз профиля горизонтальной направляющей, а верхний борт рамы выполнен с возможностью одновременного крепления к Т-образным вертикальным направляющим и образования паза для монтажа в него навесных облицовочных панелей следующего по высоте ряда. 6 з.п. ф-лы, 17 ил.
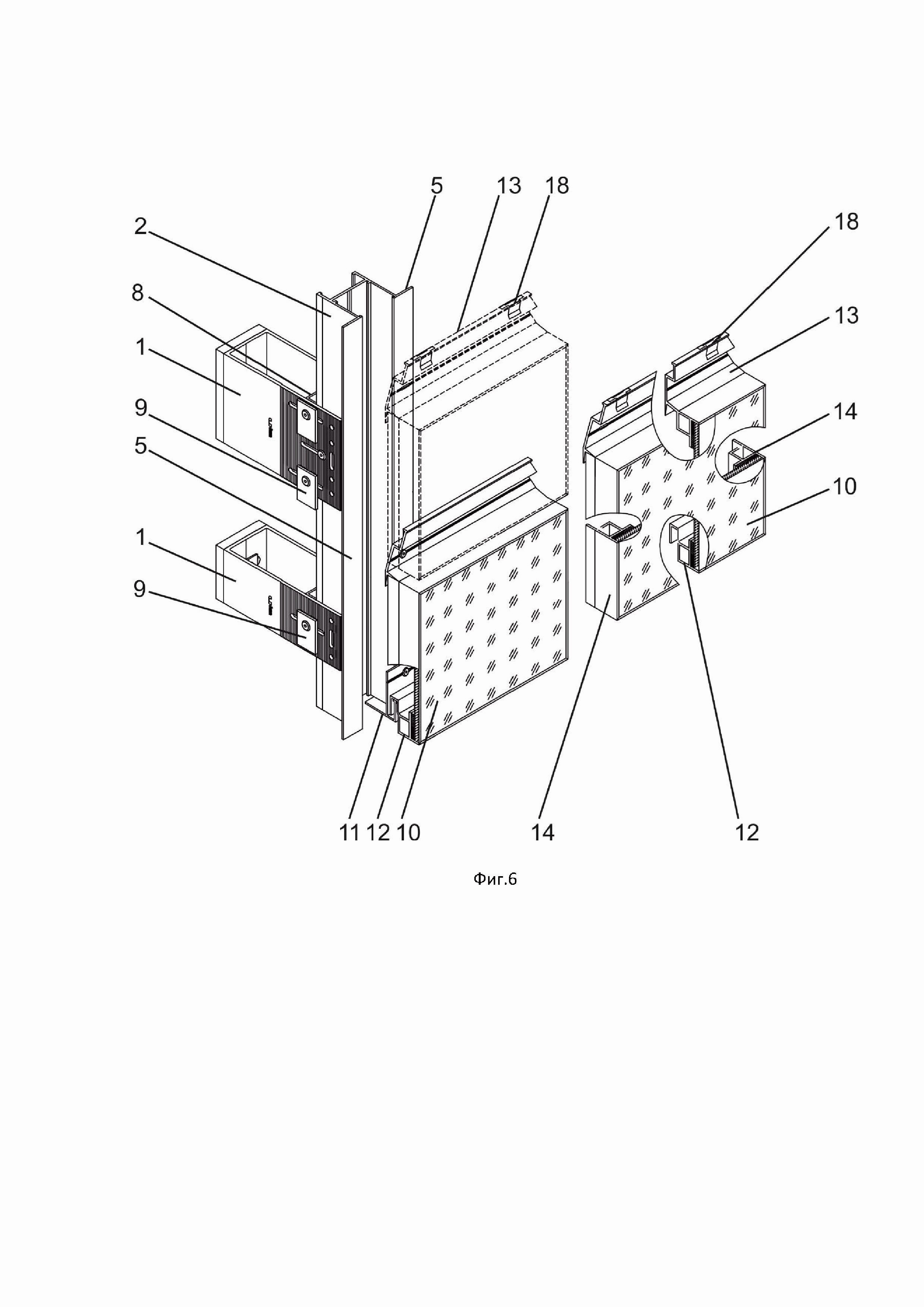
1. Фасадная система с облицовочными панелями из фотоэлектрических модулей, содержащая крепежно-несущие узлы, включающие L-образные кронштейны, удерживающие Т-образные вертикальные направляющие на необходимом вылете от опорной поверхности, сами Т-образные вертикальные направляющие, удерживающие облицовочные панели и элементы крепления облицовочных панелей, отличающаяся тем, что крепежно-несущий узел включает в себя комбинацию L-образных несущих и опорных кронштейнов в пределах одной Т-образной вертикальной направляющей, удерживающей направляющий профиль, вертикальные продолговатые отверстия, выполненные в опорных L-образных кронштейнах, через которые выполняют монтаж опорных L-образных кронштейнов к Т-образным вертикальным направляющим, временное соединение с пружинной плоской прижимной лапкой, имеющей загибы на концах, при этом один конец прижимной лапки вставляют в одно из L-образных отверстий, выполненных вдоль продольной линии симметрии L-образного кронштейна, а другой конец опирают на поверхность L-образного кронштейна, под который заводят Т-образную вертикальную направляющую и за счет упругости прижимной лапки прижимают и удерживают Т-образную вертикальную направляющую на L-образном кронштейне, при этом L-образные несущие кронштейны выполнены с возможностью восприятия продольной и поперечной нагрузки относительно продольной оси Т-образной вертикальной направляющей, которая закреплена в них жестко по всем направлениям, а L-образные опорные кронштейны выполнены с возможностью восприятия поперечной нагрузки и Т-образная вертикальная направляющая закреплена в них жестко только в поперечном направлении с возможностью перемещения в продольном направлении и обеспечения термических деформаций Т-образных вертикальных направляющих, с нижнего торца ряда смонтированных на опорной поверхности Т-образных вертикальных направляющих с заходом на их лицевую поверхность смонтирована горизонтальная направляющая, профиль которой образует на упомянутой лицевой поверхности паз для монтажа в него низа навесных облицовочных панелей, смонтированных на сборной раме коробчатого сечения, с обращенными в сторону воздушного зазора фасадной системы бортами вдоль всех четырех торцов упомянутых панелей на всю длину этих торцов, рама образована соединенными между собой нижним, верхним и боковыми профилями рамы, образуя на лицевой стороне по периметру упомянутой рамы фальц для монтажа внутрь него облицовочной панели, нижний борт рамы, обращенный в сторону воздушного зазора, смонтирован в паз профиля горизонтальной направляющей, а верхний борт рамы выполнен с возможностью одновременного крепления к Т-образным вертикальным направляющим и образования паза для монтажа в него навесных облицовочных панелей следующего по высоте ряда. 2. Система по п. 1, отличающаяся тем, что для увеличения вылетов L-образных кронштейнов используют удлинители, смонтированные к упомянутым L-образным кронштейнам. 3. Система по п. 1, отличающаяся тем, что облицовочные панели выполнены из сборных прямоугольных панелей из фотоэлектрических модулей. 4. Система по п. 1 или 3, отличающаяся тем, что прямоугольная панель из фотоэлектрических модулей смонтирована в фальц рамы на клеевой слой и зафиксирована к раме прижимами. 5. Система по п. 1, отличающаяся тем, что рама к Т-образным вертикальным направляющим несущего каркаса смонтирована с помощью иклей, входящих в зацепление со штифтами, смонтированных в Т-образных вертикальных направляющих. 6. Система по п. 1, отличающаяся тем, что под горизонтальными направляющими смонтированы противопожарные короба открытого типа. 7. Система по п. 1, отличающаяся тем, что в воздушном зазоре, образованном между опорной поверхностью и облицовочными панелями, смонтирован утеплитель.
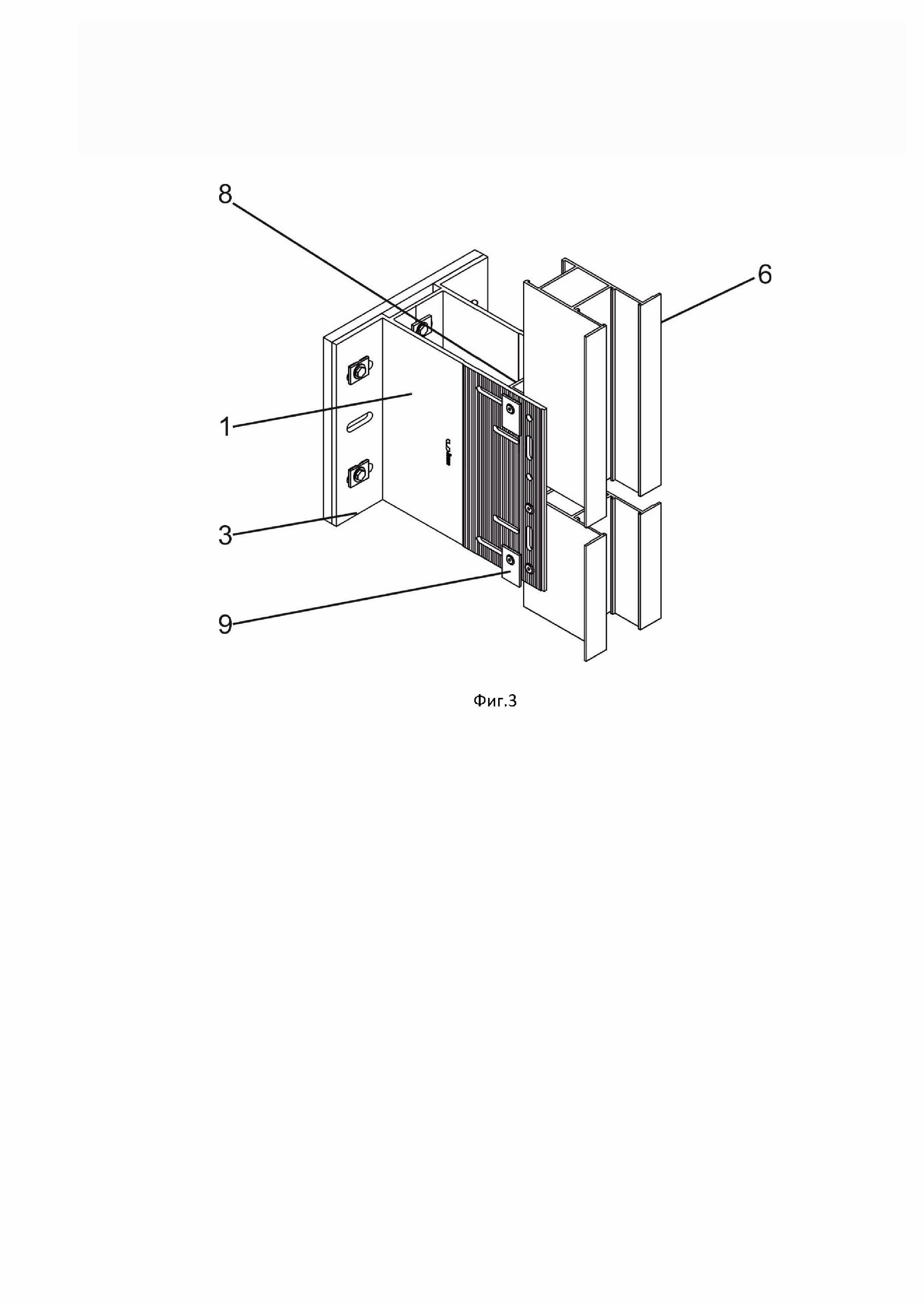
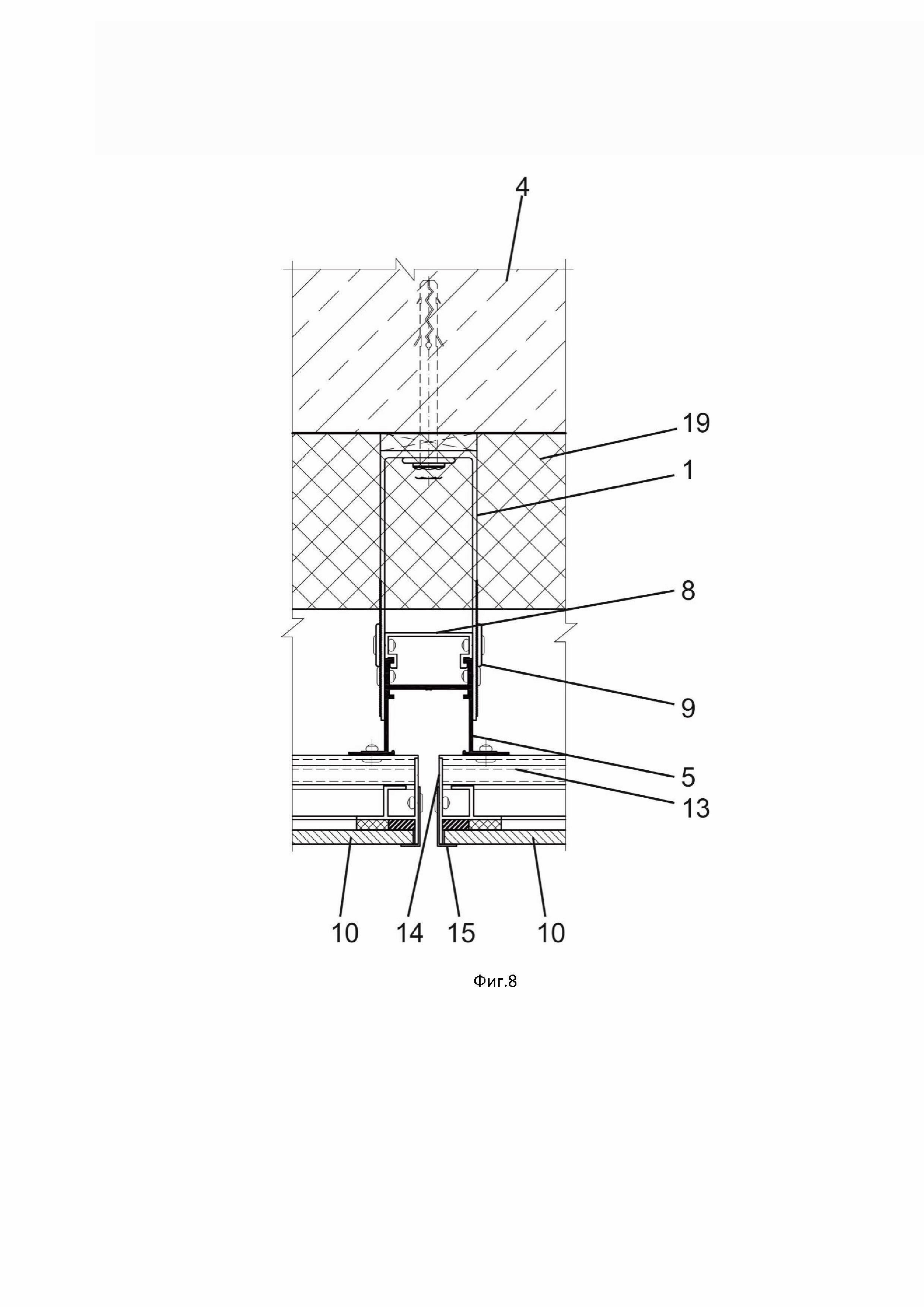
Изобретение относится к области строительства, а именно к способам и устройствам облицовки фасадов зданий и других строительных сооружений облицовочными панелями на основе панелей из фотоэлектрических модулей [E04F 13/00]. Известна СИСТЕМА ПРОФИЛЕЙ ДЛЯ ЗАКРЕПЛЕНИЯ ПАНЕЛИ НА ФАСАДЕ ЗДАНИЯ И СПОСОБ ЕЕ УСТАНОВКИ [RU 2741424 С1, опубл.: 26.01.2021], включающая в себя: a. закрепляемый на внутренней стороне устанавливаемой панели крепежный профиль, имеющий продольный паз, располагаемый к центру устанавливаемой панели или к ее периметру, b. закрепляемый посредством фиксирующих резьбовых соединений на раме фасадного модуля фиксирующий уголок, одним своим ребром фиксирующийся на раме фасадного модуля, а вторым ребром размещающийся в продольном пазе крепежного профиля устанавливаемой панели, c. опорный профиль, закрепленный на раме фасадного модуля, выполненный с возможностью размещения на нем через прокладку торца устанавливаемой панели. Способ крепления панели на фасаде здания, включающий в себя этапы, при которых: a. закрепляют при помощи клеевого соединения на внутренней стороне устанавливаемой панели крепежный профиль, имеющий продольный паз, который располагают к центру устанавливаемой панели в виде отдельных горизонтальных и вертикальных элементов или предварительно соединенных любым способом в рамки, b. размещают по всей длине или сегментами ребро фиксирующего уголка в указанном продольном пазе крепежного профиля устанавливаемой панели, c. закрепляют посредством фиксирующих соединений другое ребро фиксирующего уголка на раме фасадного модуля, d. располагают на раме фасадного модуля опорный профиль, выполненный с возможностью размещения в нем через прокладку торца устанавливаемой панели. Недостатком аналога является сложность его монтажа на опорной поверхности, обусловленная поэлементной, не модульной сборкой, что в целом усложняет ремонт такого фасада и тем самым снижает надежность. Также известны МЕТАЛЛИЧЕСКАЯ ФАСАДНАЯ ПАНЕЛЬ И ФАСАД, ЗАКРЫТЫЙ ТАКОЙ ПАНЕЛЬЮ [US 5184440 (А), опубл.: 09.02.1993], облицовочная или оконная панель, предназначенная для формирования сборного элемента внешней фасадной поверхности здания и содержащая по меньшей мере одну прямоугольную внешнюю плиту, преимущественно из стекла, камня, фиброцемента, синтетического материала или и т.п., и металлический каркас, поддерживающий указанную внешнюю плиту и снабженный средствами для прикрепления его к фасадной конструкции или к окну, причем указанный каркас содержит по меньшей мере одну пару опорных элементов, имеющих металлические кромки, взаимодействующие по меньшей мере с двумя противоположными краями внешней плиты для удержания указанной плиты, и тяговые элементы, проходящие между двумя опорными элементами каждой пары за упомянутой внешней плитой и соединяющие упомянутые два опорных элемента так, чтобы тянуть их вперед друг к другу и захватывать внешнюю плиту; упомянутые тяговые элементы способны изменять расстояние между опорными элементами каждой пары. Каждый из опорных элементов содержит по меньшей мере один конец указанного профилированного элемента, поперечный упор, примыкающий к краю пластины, который перпендикулярен указанному профилированному элементу. Недостатком аналога является сложная конструкция фасада, обусловленная наличием подвижных тяговых элементов, плохо реагирующих на ветровые нагрузки и требующих контроля за их состоянием, что приводит к усложнению эксплуатации таких фасадов. Наиболее близкой по технической сущности является НАВЕСНАЯ ФАСАДНАЯ СИСТЕМА [RU 2543017 С2, опубл.: 27.02.2015], содержащая кронштейны для крепления системы к строительному основанию, установленные на кронштейны направляющие для крепления облицовочных панелей, а также элементы крепления облицовочных панелей, соединительные вкладыши и замыкающие скобы, причем направляющие выполнены профильными и имеют в сечении незамкнутую форму, каждый соединительный вкладыш также выполнен профильным, устанавливается внутри двух смежных направляющих, между торцами которых имеется зазор, и закреплен на конце одной из смежных направляющих, а внутри второй смежной направляющей соединительный вкладыш установлен плотно для обеспечения соосности смежных направляющих, кроме того, на этом конце второй смежной направляющей закреплена замыкающая скоба, отличающаяся тем, что каждая направляющая закреплена на кронштейне, при этом зазоры между торцами направляющих находятся на расстоянии от мест крепления направляющих на кронштейнах, причем предпочтительно на таком расстоянии, на котором в направляющих по их длине возникает минимальный изгибающий момент, передаваемый от облицовочных панелей через элементы их крепления, кроме того, соединительные вкладыши в местах их закрепления на направляющих образуют совместно с внутренними поверхностями направляющих замкнутые поверхности, а замыкающие скобы в местах их закрепления на направляющих образуют совместно с внешними поверхностями направляющих замкнутые поверхности. Кронштейны для крепления системы к строительному основанию содержат заднюю стенку с отверстиями, через которые они крепятся, например, с помощью анкеров на строительное основание, и две пластины Г-образной формы, первые полки которых предназначены для крепления направляющих, например, с помощью вытяжных заклепок, при этом вторые полки пластин направлены от оси симметрии кронштейна, кроме того, в центральной части задней стенки вырублены и отогнуты в направлении направляющих полки, перпендикулярные плоскости задней стенки, причем вторые полки пластин расположены параллельно задней стенке с ее обратной стороны, при этом лицевая сторона задней стенки обращена в направлении направляющих, а первые полки пластин расположены параллельно полкам задней стенки и жестко с ними соединены, например, с помощью вытяжных заклепок, причем ребра углов, образованных плоскостью и полками задней стенки, расположены во внутренних углах пластин, а на вторых полках пластин выполнены отверстия, совпадающие с отверстиями на задней стенке. В кронштейны для крепления системы к строительному основанию введены одна или две накладки, центральная полка которых выполнена с отгибами, параллельными задней стенке и имеющими отверстия, совпадающие с отверстиями на задней стенке, причем центральная полка перпендикулярна задней стенке и первым полкам пластин Г-образной формы, кроме того, центральная полка имеет отгибы, параллельные первым полкам пластин Г-образной формы и плотно размещенные между ними, при этом отгибы, параллельные задней стенке, размещены с ее лицевой стороны. Основной технической проблемой прототипа является низкая надежность крепления элементами крепления облицовочных панелей, что повышает требования к массе облицовочных панелей. Кроме того, за счет отдельного крепления каждой облицовочной панели увеличивается трудоемкость монтажа фасада в целом и повышается погрешность установки панелей. И наконец, отсутствие профильной рамы для монтажа внутри нее облицовочной панели делает ее менее надежной, что исключает возможность применения уникальных панелей для создания декоративных фасадов. Задачей изобретения является устранение недостатков прототипа. Технический результат изобретения заключается в повышении надежности и долговечности фасадной системы и снижении трудоемкости ее монтажа и эксплуатации. Указанный технический результат достигается за счет того, что фасадная система с облицовочными панелями из фотоэлектрических модулей содержит крепежно-несущие узлы, включающие L-образные кронштейны, удерживающие Т-образные вертикальные направляющие на необходимом вылете от опорной поверхности, сами Т-образные вертикальные направляющие, удерживающие облицовочные панели и элементы крепления облицовочных панелей, отличающаяся тем, что крепежно-несущий узел включает в себя комбинацию L-образных несущих и опорных кронштейнов в пределах одной Т-образной вертикальной направляющей, удерживающей направляющий профиль, вертикальные продолговатые отверстия, выполненные в опорных L-образных кронштейнах, через которые выполняют монтаж опорных L-образных кронштейнов к Т-образным вертикальным направляющим, временное соединение с пружинной плоской прижимной лапкой, имеющей загибы на концах, при этом один конец прижимной лапки вставляют в одно из L-образных отверстий, выполненных вдоль продольной линии симметрии L-образного кронштейна, а другой конец опирают на поверхность L-образного кронштейна, под который заводят Т-образную вертикальную направляющую и за счет упругости прижимной лапки прижимают и удерживают Т-образную вертикальную направляющую на L-образном кронштейне, при этом L-образные несущие кронштейны выполнены с возможностью восприятия продольной и поперечной нагрузки относительно продольной оси Т-образной вертикальной направляющей, которая закреплена в них жестко по всем направлениям, а L-образные опорные кронштейны выполнены с возможностью восприятия поперечной нагрузки и Т-образная вертикальная направляющая закреплена в них жестко только в поперечном направлении с возможностью перемещения в продольном направлении и обеспечения термических деформаций Т-образных вертикальных направляющих, с нижнего торца ряда смонтированных на опорной поверхности Т-образных вертикальных направляющих с заходом на их лицевую поверхность смонтирована горизонтальная направляющая, профиль которой образует на упомянутой лицевой поверхности паз для монтажа в него низа навесных облицовочных панелей, смонтированных на сборной раме коробчатого сечения, с обращенными в сторону воздушного зазора фасадной системы бортами вдоль всех четырех торцов упомянутых панелей на всю длину этих торцов, рама образована соединенными между собой нижним, верхним и боковыми профилями рамы, образуя на лицевой стороне по периметру упомянутой рамы фальц для монтажа внутрь него облицовочной панели, нижний борт рамы, обращенный в сторону воздушного зазора, смонтирован в паз профиля горизонтальной направляющей, а верхний борт рамы выполнен с возможностью одновременного крепления к Т-образным вертикальным направляющим и образования паза для монтажа в него навесных облицовочных панелей следующего по высоте ряда. В частности для увеличения вылетов L-образных кронштейнов используют удлинители, смонтированные к упомянутым L-образным кронштейнам. В частности облицовочные панели выполнены из сборных прямоугольных панелей из фотоэлектрических модулей. В частности прямоугольная панель из фотоэлектрических модулей смонтирована в фальц рамы на клеевой слой и зафиксирована к раме прижимами. В частности рама к Т-образным вертикальным направляющим несущего каркаса смонтирована с помощью иклей, входящих в зацепление со штифтами, смонтированных в Т-образных вертикальных направляющих. В частности под горизонтальными направляющими смонтированы противопожарные короба открытого типа. В частности в воздушном зазоре, образованном между опорной поверхностью и облицовочными панелями, смонтирован утеплитель. Краткое описание чертежей На фиг. 1 показан общий вид крепежно-несущего узла с двумя П-образными кронштейнами. На фиг. 2 показан общий вид крепежно-несущего узла с одним П-образным кронштейном. На фиг. 3 показан общий вид крепежно-несущего узла с одним П-образным кронштейном с монтажными полками. На фиг. 4 показан общий вид крепежно-несущего узла с двумя L-образными кронштейнами. На фиг. 5 показан общий вид крепежно-несущего узла с одним L-образным кронштейном. На фиг. 6 показан общий вид фасадной системы с облицовочными панелями из фотоэлектрических модулей, смонтированными на кронштейнах из П-образного профиля. На фиг. 7 показан вертикальный разрез фасадной системы с облицовочными панелями из фотоэлектрических модулей по кронштейнам из П-образного профиля. На фиг. 8 показан горизонтальный разрез фасадной системы с облицовочными панелями из фотоэлектрических модулей по кронштейнам из П-образного профиля. На фиг. 9 показан общий вид облицовочной панели на раме. На фиг. 10 показан вид спереди рамы облицовочной панели. На фиг. 11 показан нижний профиль рамы. На фиг. 12 показан верхний профиль рамы. На фиг. 13 показан боковой профиль рамы. На фиг. 14 показан общий вид фасадной системы с облицовочными панелями из фотоэлектрических модулей, смонтированными на кронштейнах из П-образного профиля с крючками-зацепами. На фиг. 15 показан общий вид фасадной системы с облицовочными панелями из фотоэлектрических модулей, смонтированными на кронштейнах из L-образного профиля. На фиг. 16 показан вертикальный разрез фасадной системы с облицовочными панелями из фотоэлектрических модулей по кронштейнам из L-образного профиля. На фиг. 17 показан горизонтальный разрез фасадной системы с облицовочными панелями из фотоэлектрических модулей по кронштейнам из L-образного профиля. На фигурах обозначено: 1 - П-образные кронштейны, 2 - L-образные кронштейны, 3 -монтажные полки, 4 - опорная поверхность, 5 - Н-образные вертикальные направляющие, 6 - Н-образные вертикальные направляющие коробчатого сечения, 7 - L-образные вертикальные направляющие, 8 - салазки, 9 - шайбы, 10 - панель из фотоэлектрических модулей, 11 - горизонтальные направляющие, 12 - нижние профили рамы, 13 - верхние профили рамы, 14 - боковые профили рамы, 15 - страховочные прижимы, 16 - самоклеящаяся лента, 17 - слой клея-герметика, 18-демпфирующие элементы, 19 - утеплитель, 20 - крепежные элементы, 21 - крючки-зацепы, 22 - штифты, 23 - прижимные лапки, 24 - Г-образные отверстия. Осуществление изобретения В дальнейшем различные варианты осуществления настоящего изобретения будут описаны более полно со ссылкой на прилагаемые чертежи. Изобретение может иметь различные варианты исполнения, в него можно вносить корректировки и изменения. Однако следует понимать, что нет намерения ограничивать различные варианты реализации настоящего изобретения конкретными вариантами реализации. Конструкция фасадной системы с облицовочными панелями из фотоэлектрических модулей состоит из несущих элементов каркаса, выполненных из прессованных алюминиевых профилей и/или профилей, гнутых из листовой коррозионно-стойкой стали и алюминия, а также утеплителя, крепежных изделий и облицовки основной плоскости фасада. Основными несущими элементами каркаса являются крепежно-несущие узлы, удерживающие вертикальные направляющие 5-7 на необходимом вылете от опорной поверхности 4 и сами вертикальные направляющие 5-7, удерживающие облицовочные панели. Крепежно-несущий узел содержит одних или нескольких П-образных кронштейнов 1 (см. Фиг. 1-3) или L-образных кронштейнов 2 (см. Фиг. 4, 5). В одном из вариантов реализации П-образного кронштейна 1 влево и вправо от основания в одной с ним плоскости ортогонально его боковым стенкам выполнены монтажные полки 3 (см. Фиг. 3). В основании кронштейнов 1, 2 и в монтажных полках 3 выполнены отверстия для монтажа упомянутых кронштейнов 1, 2 к опорной поверхности 4, например, стене здания, в т.ч. к металлическим элементам фасадов, торцам плит перекрытий. Упомянутые отверстия могут быть выполнены продолговатыми. В боковых стенках кронштейнов 1,2 выполнены отверстия, для монтажа через упомянутые отверстия L-образных 7 и Н-образных 5, 6 вертикальных направляющих с помощью салазок 8, выполненных в виде П-образного профиля, края боковых стенок которых по высоте выполнены изогнутыми, образуя выемки-канавки (на фигурах не показаны). Соединение кронштейнов 1 с салазками 8 выполнено через шайбы 9. Некоторые отверстия выполнены вертикально и/или горизонтально продолговатыми. В одном из вариантов реализации П-образных кронштейнов 1 на внешней поверхности боковых стенок выполнены поперечные насечки, при этом на шайбах 9 со стороны их соприкосновения с поверхностью П-образных кронштейнов 1 выполнены аналогичные насечки для зацепления шайб 9 с П-образными кронштейнами 1. К кронштейнам 1 с шагом, по крайнем мере, равном ширине облицовочной панели смонтированы Н-образные вертикальные направляющие 5 или Н-образные вертикальные направляющие коробчатого сечения 6. Боковые стенки Н-образных вертикальных направляющих 5, 6 с одной из сторон выполнены ортогонально загнутыми внутрь навстречу друг другу, образуя выступы с возможностью взаимодействия зацеплением с выемками-канавками, выполненными в боковых стенках салазок 8, а с другой стороны влево и вправо от боковых стенок ортогонально выполнены боковые полки для монтажа к ним горизонтальных направляющих 11 облицовочных панелей. В варианте реализации фасадной системы с крепежно-несущими узлами из L-образных кронштейнов 2 с шагом, по крайней мере, равном ширине облицовочной панели смонтированы Т-образные вертикальные направляющие 7. Горизонтальная направляющая 11 (см. Фиг. 6) выполнена в виде F-образного профиля, верхняя полка которого выполнена короче нижней. Облицовка основной плоскости фасада выполнена из навесных облицовочных панелей, выполненных в виде сборных прямоугольных панелей из фотоэлектрических модулей 10, смонтированных на сборной раме коробчатого сечения (см. Фиг. 7-10), с обращенными в сторону воздушного зазора системы бортами вдоль всех четырех торцов упомянутых панелей на всю длину этих торцов. Конструкция облицовочной панели состоит из рамы, сформированной соединенными между собой нижним 12, верхним 13 и боковыми 14 профилями рамы (см. Фиг. 9, 10), соединенными между собой по углам крепежными элементами 20, выполненными в виде объемных двойных пластин и сборной плоской панели из фотоэлектрических модулей 10 прямоугольной формой. Нижний профиль 12 рамы облицовочной панели состоит из несущей части в виде рамы прямоугольной формой (см. Фиг. 11). От двух смежных стенок несущей части в продолжение их за пределы несущей части по всей длине профиля выполнены полки, образуя фальц для панели из фотоэлектрических модулей 10. С обратной стороны, вверх, по всей длине нижнего профиля 12 смонтирован П-образный зацеп, для взаимодействия с верхней полкой F-образной горизонтальной направляющей 11. Верхний профиль рамы 13 облицовочной панели, также как и нижний профиль рамы 12 состоит из несущей части прямоугольной формы (см. Фиг. 12), от двух смежных стенок несущей части в продолжение их за пределы несущей части по всей длине верхнего профиля рамы 13 выполнены полки, образуя фальц для панели из фотоэлектрических модулей 10, а вместо П-образного зацепа к несущей части смонтирован Т-образный профиль, одна из верхних полок которого выполнена сначала ортогонально изогнутой в сторону к основанию, а затем ортогонально изогнутой в сторону от основания, образуя плоскость крепления верхнего профиля рамы 13 и рамы облицовочной панели в целом к вертикальным направляющим 5-7. В верхней полке Т-образного профиля верхнего профиля рамы 13 выполнены отверстия для крепления рамы к вертикальным направляющим 5-7. Боковой профиль рамы 14 облицовочной панели выполнен F-образной формы (см. Фиг. 13), продолжение верхней полки которого выполнено в противоположную сторону, образуя с основанием фальц для панели из фотоэлектрических модулей 10, а нижняя полка выполнена с загибом вверх к верхней полке, образуя ребро жесткости упомянутого профиля 14. Панель из фотоэлектрических модулей 10 вклеена в раму в фальц нижнего 12, боковых 14 и верхнего 13 профилей рамы с помощью самоклеящейся ленты 16, проложенной по периметру между профилями 12-14 рамы и панелью из фотоэлектрических модулей 10 и слоем клея-герметика 17 и зафиксирована страховочными прижимами 15 (см. Фиг. 9). Страховочные прижимы 15 смонтированы со стороны нижнего и обоих боковых торцов облицовочной панели поверх наружной фронтальной поверхности панели из фотоэлектрических модулей 10 в облицовочной панели, с воздушным просветом от панели из фотоэлектрических модулей 10 и смонтированы к нижнему 12 и боковым 13 профилям рамы, например, заклепочным соединением. Для дополнительного крепления рамы к Н-образным вертикальным направляющим 5, 6 несущего каркаса к боковым профилям рамы 14 смонтированы плоские крючки-зацепы 21 (икли) (см. Фиг. 14). Напротив мест размещения упомянутых крючков зацепов 9 в вертикальных направляющих 2 смонтированы штифты 22. По периметру сопряжения навесной фасадной системы с проемами с целью предотвращения возможности проникновения огня во внутренний объем фасадной системы под горизонтальными направляющими 11 смонтированы противопожарные короба открытого типа (на фигурах не показаны), выполненные из листовой стали, на элементах верхнего и бокового откосов короба выполнены выступы-бортики с вылетом за лицевую поверхность облицовки основной плоскости фасада. Фасадную систему с облицовочными панелями из фотоэлектрических модулей используют следующим образом. На первом этапе к опорной поверхности 4, например, стене здания, в т.ч. к металлическим элементам фасадов, торцам плит перекрытий в пределах вертикальных направляющих 5-7 монтируют крепежно-несущие блоки, состоящие из одного или нескольких П-образных 1 или L-образных 2 кронштейнов, удерживающие, соответственно, Н-образные вертикальные направляющие 5, 6 или Т-образные вертикальные направляющие 7, независимо от выше- и нижестоящих указанных направляющих 5-7. Для увеличения вылета упомянутых кронштейнов 1, 2 используют удлинители (на фигурах не показаны), выполненные в виде, например, пластин, которые монтируют к упомянутым кронштейнам 1, 2. Монтаж П-образных 1 или L-образных 2 кронштейнов к опорной поверхности 4 выполняют разъемным соединением, например, с помощью анкерных дюбелей, анкеров, винтов, болтов, шпилек и т.д. или неразъемным, с помощью заклепок, соединением. Далее, в варианте реализации фасадной системы с использованием Н-образных вертикальных направляющих 5 и/или 6 между боковыми стенками упомянутых направляющих 5 и/или 6 вставляют салазки 8, совмещая выемки-канавки в салазках 8 с выступами боковых стенок упомянутых направляющих 5 и/или 6. На следующем этапе Н-образные вертикальные 5, 6 с салазками 8 или Г-образные 7 вертикальные направляющие разъемным или неразъемным соединением монтируют, соответственно, к Н-образным 1 или L-образным 2 кронштейнам. Разъемное соединение может быть выполнено, например, с помощью винтов, болтов и т.д., а неразъемное соединение может быть выполнено с помощью заклепок. В случае использования Н-образных профилей 5 и/или 6 их, как было описано выше, монтируют к П-образных кронштейнам 1 с помощью салазок 8. Новым является то, что П-образные1 и Г-образные 2 кронштейны могут быть выполнены как в виде опорных, так и в виде несущих кронштейнов. В случае использования упомянутых кронштейнов 1, 2 в виде несущих они могут использоваться в качестве единственных крепежно-несущих узлов, а при использовании упомянутых кронштейнов 1, 2 в виде опорных их используют только в комбинации с несущими. Несущий кронштейн воспринимает продольную и поперечную нагрузку относительно продольной оси вертикальной направляющей, которая закреплена в нем жестко по всем направлениям, а опорный кронштейн воспринимает только поперечную нагрузку и вертикальная направляющая в нем закреплена жестко только в поперечном направлении и может свободно перемещаться в продольном направлении. В варианте с несущими П-образным кронштейнами 1 Н-образные вертикальные направляющие 5 и/или 6 монтируют к ним, как было уже сказано, с помощью салазок 8 и непосредственно, а в варианте опорных П-образных кронштейнов 1, монтаж их к Н-образным вертикальным направляющим 5 и/или 6 выполняют подвижным в вертикальной плоскости только с помощью салазок 8 без фиксации упомянутых направляющих непосредственно к упомянутым кронштейнам. В этом случае салазки 8 на несущем П-образном кронштейне 1 удерживают Н-образную направляющую 5 и/или 6 в горизонтальном направлении, служат для снижения трудоемкости монтажа узла за счет оперативного изменения высоты монтажа упомянутых направляющих без изменения вылета и обеспечивают свободу термических деформаций Н-образных направляющих 5 и/или 6 за счет обеспечения подвижного соединения в вертикальной плоскости. В варианте с несущими L-образным кронштейнами 2 Т-образные вертикальные направляющие 7 монтируют к ним жестко через отверстия, выполненные в упомянутых кронштейнах 2 разъемным или неразъемным соединением, а в варианте опорных L-образных кронштейнов 2, монтаж их к Т-образным вертикальным направляющим 7 выполняют подвижным в вертикальной плоскости разъемным или неразъемным соединением через вертикальные продолговатые отверстия, выполненные в упомянутых кронштейнах 2, что обеспечивает свободу термических деформаций Т-образных направляющих 7 за счет обеспечения подвижного соединения в вертикальной плоскости. В варианте реализации фасадной системы на L-образных кронштейнах 2 при монтаже Т-образных вертикальных направляющих 7 к упомянутым кронштейнам 2 вначале выполняют временное соединение пружинной плоской прижимной лапкой 23, имеющей загибы на концах. Один конец прижимной лапки 23 вставлен в одно из L-образных отверстий 24, выполненных вдоль продольной линии симметрии L-образного кронштейна 7, а другой опирается на поверхность L-образного кронштейна 2 под который заводят Т-образную вертикальную направляющую 2 и за счет упругости прижимной лапки 23 прижимают и удерживают упомянутую Т-образную вертикальную направляющую 7 на L-образном кронштейне 2. После выравнивания Т-образной вертикальной направляющей 7 по высоте ее окончательно фиксируют к L-образным кронштейнам 2 разъемным или неразъемным соединением. Далее к отогнутым боковым полкам боковых стенок Н-образных 5, 6 или L-образных 7 вертикальных направляющих под упомянутые вертикальные направляющие 5, 6 или 7 монтируют горизонтальные направляющие 11, при этом основание горизонтальной направляющей 11 заводят под торец вертикальных направляющих 5, 6 или 7, а нижнюю полку горизонтальной направляющей 11 опирают на боковые полки упомянутых вертикальных направляющих 5, 6 или 7 и соединяют ее с боковыми полками боковых стенок упомянутых вертикальных направляющих 5, 6 или 7 разъемным или неразъемным соединением. Далее, на верхний торец верхних профилей рамы 13 облицовочных панелей в месте их соприкосновения с вертикальными направляющими 5, 6 или 7 надевают демпфирующие элементы 18, выполненные в виде пластиковых клипс. После этого монтируют нижний ряд облицовочных панелей, заводя П-образный зацеп нижнего профиля 12 на верхнюю полку F-образной горизонтальной направляющей 11, выравнивают облицовочные панели нижнего ряда и фиксируют их боковым полкам боковых стенок вертикальных направляющих 5, 6 или 7 через отверстия в верхних профилях рам 13. На следующем этапе осуществляют монтаж последующих рядов облицовочных панелей путем установки нижнего профиля рамы 12 каждой из упомянутой панели на верхний выступ верхнего профиля рамы 13, размещенной ниже облицовочной панели. В одном из вариантов реализации фасадной системы для районов с холодным климатом, зазор между опорной поверхности 4 и вертикальными направляющими 5, 6 или 7 перед монтажом облицовочных панелей заполняют утеплителем 19. Несмотря на то, что техническое решение было подробно описано с целью иллюстрации на основе вариантов осуществления, которые в настоящий момент считаются наиболее практичными и предпочтительными, следует понимать, что подобные детали служат исключительно указанной цели, при этом изобретение не ограничено раскрытыми вариантами осуществления, а охватывает эквивалентные варианты реализации, не выходящие за рамки объема притязаний формулы изобретения. Например, следует понимать, что изобретение предполагает, насколько это возможно, объединение одного или более признаков любого варианта осуществления с одним или более признаками любого другого варианта осуществления. Фасадная система предусматривает ряд вспомогательных профилей и деталей, используемых при выполнении примыканий облицовки к откосам оконных и дверных проемов, парапетных и угловых элементов, различного рода соединений облицовки между собой. Применение оригинальных элементов фасадной системы обеспечивает ее сборку вручную без создания начальных напряжений в элементах системы. Собранные и закрепленные конструкции образуют навесную фасадную систему с воздушным зазором между внутренней поверхностью облицовки и теплоизоляционным слоем или между облицовкой и поверхностью основания при отсутствии утеплителя, служащим для удаления влаги и обеспечения необходимого температурно-влажностного режима в теплоизоляционном слое и стене в целом. Конструкции могут применяться для устройства навесных фасадных систем вновь строящихся и реконструируемых зданий и сооружений в районах и местах строительства, относящихся к различным ветровым районам по СП 20.13330.2016 с учетом расположения и высоты возводимых зданий и сооружений, с обычными геологическими и геофизическими условиями по СП 115.13330.2016, с различными температурно-климатическими условиями в сухих, нормальных или влажных зонах влажности, со слабоагрессивной и среднеагрессивной средой. Технический результат изобретения - повышение надежности и долговечности фасадной системы достигается за счет компенсации конструктивным взаимодействием элементов крепежно-несущих узлов, как между собой, так и с облицовочной панелью, особенностью которой является то, что крепежно-несущий узел включает в себя комбинацию несущих и опорных П-образных 1 и L-образных 2 кронштейнов, смонтированных в пределах одной Н-образной 5 или 6 или одной Т-образной 7 вертикальной направляющей, удерживающих упомянутые вертикальные направляющие, при этом несущие кронштейны выполнены с возможностью восприятия продольной и поперечной нагрузки относительно продольной оси Н-образной 5 или 6 или Т-образной 7 вертикальной направляющей, которая закреплена в них жестко по всем направлениям, а опорные кронштейны выполнены с возможностью восприятия поперечной нагрузки и Н-образная 5 или 6 или Т-образная 7 вертикальная направляющая закреплена в них жестко только в поперечном направлении с возможностью перемещения в продольном направлении и обеспечения термических деформаций упомянутых вертикальных направляющих, при этом подвижное соединение упомянутых элементов крепежно-несущих узлов выполнено с помощью салазок 8 или прижимных лапок 23, которые служат для снижения трудоемкости монтажа узла за счет оперативного изменения высоты монтажа вертикальных направляющих без изменения вылета и обеспечивают свободу термических деформаций направляющих за счет обеспечения подвижного соединения в вертикальной плоскости. Кроме того, заявленный технический результат достигается за счет модульности фасадной системы, в которой кроме быстро монтируемых крепежно-несущих узлов присутствуют навесные облицовочные панели, смонтированные на сборной раме коробчатого сечения, образованной соединенными между собой нижним 12, верхним 13 и боковыми 14 профилями рамы, образуя на лицевой стороне по периметру упомянутой рамы фальц для монтажа внутрь него панели из фотоэлектрических модулей 10, при этом упомянутые профили рамы обеспечивают возможность одновременного взаимодействия с направляющими крепежно-несущих узлов и друг с другом по высоте.