патент
№ RU 2801547
МПК G01M3/32

ПЕРЕХОДНЫЙ ЭЛЕМЕНТ ДЛЯ СОЕДИНЕНИЯ МЕДИЦИНСКОГО ПОЛОГО ТЕЛА С ИЗМЕРИТЕЛЬНЫМ УСТРОЙСТВОМ РАСТЯЖЕНИЯ/СЖАТИЯ, СИСТЕМА ПРОВЕРКИ, СПОСОБ ПРОВЕРКИ ГЕРМЕТИЧНОСТИ МЕДИЦИНСКОГО ПОЛОГО ТЕЛА И ПРИМЕНЕНИЕ ИЗМЕРИТЕЛЬНОГО УСТРОЙСТВА РАСТЯЖЕНИЯ/СЖАТИЯ

Авторы:
ХУНД, Петра (DE)
Номер заявки
2021131134
Дата подачи заявки
06.04.2020
Опубликовано
10.08.2023
Страна
RU
Дата приоритета
15.12.2025
Номер приоритета
Страна приоритета
Как управлять
интеллектуальной собственностью
Чертежи 
2
Реферат

[100]

Изобретение касается переходного элемента для соединения медицинского полого тела с измерительным устройством растяжения/сжатия, системы проверки, имеющей измерительное устройство растяжения/сжатия и такой переходный элемент, способа проверки герметичности медицинского полого тела с применением такого переходного элемента, и применения измерительного устройства растяжения/сжатия для проверки герметичности медицинского полого тела. Переходный элемент (9) для соединения медицинского полого тела (11) с измерительным устройством (3) растяжения/сжатия, которое имеет установочный корпус (5) и смещаемый относительно установочного корпуса (5) в осевом направлении активный конец (7), имеет первый соединительный конец (13), который предназначен для непроницаемого для текучих сред соединения переходного элемента (9) с внутренней областью (15) медицинского полого тела (11), второй соединительный конец (17), который имеет напорную камеру (19) и предназначен для активного соединения переходного элемента (9) с активным концом (7) измерительного устройства (3) растяжения/сжатия, так что давление в напорной камере (19) можно настраивать посредством измерительного устройства (3) растяжения/сжатия. При этом пустотелый канал (21) пронизывает переходный элемент (9) от напорной камеры (19) до первого соединительного конца (13). Технический результат - обеспечение возможности проводить тесты на герметичность посредством устройств/приборов, которые допускают и другие применения в области разработки и/или проверки медицинских полых тел, и достижение наиболее высокой возможной степени автоматизации таких тестов на герметичность. 4 н. и 11 з.п. ф-лы, 3 ил.

Формула изобретения

1. Переходный элемент (9) для соединения медицинского полого тела (11) с измерительным устройством (3) растяжения/сжатия, которое имеет установочный корпус (5) и смещаемый относительно установочного корпуса (5) в осевом направлении активный конец (7), имеющий

- первый соединительный конец (13), который предназначен для непроницаемого для текучих сред соединения переходного элемента (9) с внутренней областью (15) медицинского полого тела (11), и имеющий

- второй соединительный конец (17), который имеет напорную камеру (19) и предназначен для активного соединения переходного элемента (9) с активным концом (7) измерительного устройства (3) растяжения/сжатия, так что давление в напорной камере (19) можно настраивать посредством измерительного устройства (3) растяжения/сжатия, при этом

- пустотелый канал (21) пронизывает переходный элемент (9) от напорной камеры (19) до первого соединительного конца (13).

2. Переходный элемент (9) по п.1, отличающийся тем, что предусмотрен канал (23) для измерения давления, который ответвляется от пустотелого канала (21) или напорной камеры (19) между первым соединительным концом (13) и вторым соединительным концом (17), при этом предпочтительно

a) канал (23) для измерения давления предназначен для расположения на этом канале (23) для измерения давления устройства (33) для измерения давления, и/или

b) устройство (33) для измерения давления активно соединено с каналом (23) для измерения давления, чтобы измерять давление в канале (23) для измерения давления.

3. Переходный элемент (9) по одному из предыдущих пунктов, отличающийся тем, что

a) в напорной камере (19) с возможностью смещения расположен поршень (35), так что объем напорной камеры (19) может изменяться путем смещения этого поршня (35), или что

b) переходный элемент (9) имеет поршень (35), который предназначен для того, чтобы располагаться в напорной камере (19) с возможностью смещения.

4. Переходный элемент (9) по одному из предыдущих пунктов, отличающийся тем, что поршень (35)

a) имеет поршневой диск (37) или выполнен в виде поршневого диска (37), и/или

b) имеет связующую часть (39), которая предназначена для того, чтобы механически связываться с активным концом (7) измерительного устройства (3) растяжения/сжатия.

5. Переходный элемент (9) по одному из предыдущих пунктов, отличающийся тем, что напорная камера (19) и/или поршень (35) снабжен шкалой (41), по которой может считываться мгновенное давление в напорной камере (19) в зависимости от мгновенного положения поршня (35) в напорной камере (19).

6. Система (1) проверки для проверки герметичности медицинского полого тела (11), имеющая

- измерительное устройство (3) растяжения/сжатия, которое имеет установочный корпус (5) и смещаемый относительно установочного корпуса (5) в осевом направлении активный конец (7), и имеющая

- переходный элемент (9) по одному из пп.1-5, при этом

- второй соединительный конец (17) переходного элемента (9) активно соединен с активным концом (7) таким образом, что давление в напорной камере (19) можно настраивать путем осевого смещения активного конца (7) относительно напорной камеры (19).

7. Система (1) проверки по п.6, отличающаяся тем, что установочный корпус (5) имеет крепежную часть (43) для фиксации переходного элемента (9) относительно установочного корпуса (5).

8. Система (1) проверки по одному из пп.6 или 7, отличающаяся тем, что активный конец (7)

a) соединен с поршневым диском (37) переходного элемента (9), передавая растяжение и/или сжатие, или

b) механически связан со связующей частью (39) поршня (35), или

c) в качестве поршня расположен в напорной камере (19) с возможностью смещения.

9. Система (1) проверки по одному из пп.6-8, отличающаяся тем, что измерительное устройство (3) растяжения/сжатия имеет устройство (53) управления, которое предназначено для того, чтобы активно соединяться с устройством (33) для измерения давления и регистрировать и предпочтительно оценивать давление в пустотелом канале (21).

10. Система (1) проверки по одному из пп.6-9, отличающаяся тем, что устройство (53) управления предназначено для того, чтобы автоматизированным образом проводить проверку герметичности медицинского полого тела (11).

11. Способ проверки герметичности медицинского полого тела (11), включающий следующие этапы:

- соединение медицинского полого тела (11) с измерительным устройством (3) растяжения/сжатия, которое имеет установочный корпус (5) и смещаемый относительно установочного корпуса (5) в осевом направлении активный конец (7), через переходный элемент (9) по одному из пп.1-5;

- настраивание определенного давления внутри (15) медицинского полого тела (11) путем смещения активного конца (7) измерительного устройства (3) растяжения/сжатия; и

- регистрация мгновенного давления внутри (15) на протяжении определенного времени проверки.

12. Способ по п.11, отличающийся тем, что активный конец (7) после настраивания определенного давления и в течение определенного времени проверки не двигают.

13. Способ по одному из пп.11 или 12, отличающийся тем, что этот способ выполняется автоматически с помощью измерительного устройства (3) растяжения/сжатия.

14. Способ по одному из пп.11-13, отличающийся тем, что медицинское полое тело (11) проверяют прежде, чем в медицинском полом теле (11) располагают медицинскую пробку.

15. Применение измерительного устройства (3) растяжения/сжатия, которое имеет установочный корпус (5) и смещаемый относительно установочного корпуса (5) в осевом направлении активный конец (7), для осуществления способа по п. 11 для проверки герметичности медицинского полого тела (11).

Описание

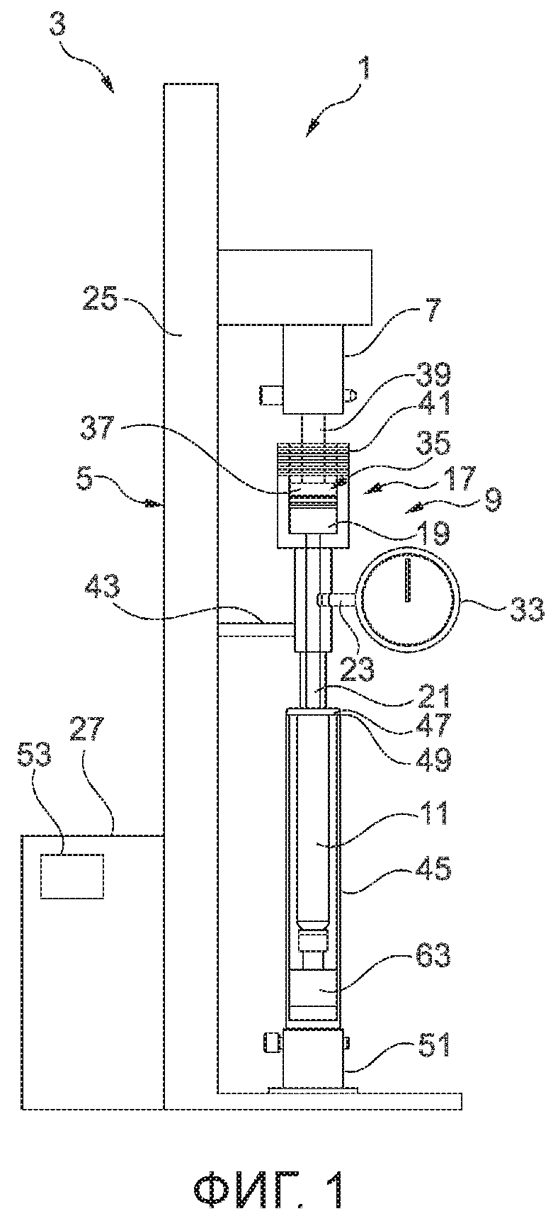
[1]

Изобретение касается переходного элемента для соединения медицинского полого тела с измерительным устройством растяжения/сжатия, системы проверки, имеющей измерительное устройство растяжения/сжатия и такой переходный элемент, способа проверки герметичности медицинского полого тела с применением такого переходного элемента, и применения измерительного устройства растяжения/сжатия для проверки герметичности медицинского полого тела.

[2]

У медицинских полых тел, в частности медицинских полых тел для последующего сбыта в предварительно наполненном фармацевтикой состоянии, в частности шприцев и карпул, а также у коннекторов, адаптеров или тому подобных, имеется необходимость в проверке герметичности. Для этого существуют нормированные тесты на герметичность, которые, в частности, предписывают, что на протяжении предопределенного времени внутри такого медицинского полого тела без утечки должно поддерживаться определенное повышенное или пониженное давление. Разумеется, для проведения соответствующих тестов на герметичность можно предоставлять специализированные, предназначенные специально для этого устройства; но это трудоемко и дорого. Также можно проводить такие тесты на герметичность при низкой степени автоматизации, так сказать, вручную; но это связано с издержками времени и персонала, а также, кроме того, неточно. Поэтому имеется потребность в возможности проводить такие тесты на герметичность, во-первых, посредством устройств/приборов, которые допускают и другие применения, по возможности, в любом случае уже применяются в области разработки и/или проверки медицинских полых тел, а во-вторых, достигают наиболее высокой возможной степени автоматизации таких тестов на герметичность.

[3]

В основе изобретения лежит задача по созданию переходного элемента для соединения медицинского полого тела с измерительным устройством растяжения/сжатия, систему проверки, имеющую измерительное устройство растяжения/сжатия и такой переходный элемент, способ проверки герметичности медицинского полого тела с применением такого переходного элемента, а также применение измерительного устройства растяжения/сжатия для проверки герметичности медицинского полого тела, при которых не возникают названные недостатки, и при которых предпочтительно по меньшей мере частично реализуется по меньшей мере одно из названных преимуществ.

[4]

Задача решается при предложении настоящей технической доктрины, в частности доктрины независимых пунктов формулы изобретения, а также вариантов осуществления, раскрытых в зависимых пунктах формулы изобретения и описании.

[5]

Задача решается, в частности, при создании переходного элемента, который предназначен для того, чтобы соединять медицинское полое тело с измерительным устройством растяжения/сжатия, причем этот переходный элемент имеет первый соединительный конец, который предназначен для непроницаемого для текучих сред соединения переходного элемента с внутренней областью медицинского полого тела. Переходный элемент имеет, кроме того, второй соединительный конец, причем этот второй соединительный конец имеет напорную камеру и предназначен для приведения переходного элемента в активное соединение с измерительным устройством растяжения/сжатия таким образом, что давление в напорной камере может настраиваться посредством измерительного устройства растяжения/сжатия. Переходный элемент имеет, кроме того, пустотелый канал, который пронизывает ее от напорной камеры до первого соединительного конца. В частности, пустотелый канал открыт на первом соединительном конце, то есть пустотелый канал открывается на первом соединительном конце в направлении внешней окружающей среды переходного элемента, или пустотелый канал впадает в первый соединительный конец. В частности, переходный элемент на первом соединительном конце открыт, при этом пустотелый канал доступен с первого соединительного конца. Когда посредством измерительного устройства растяжения/сжатия может настраиваться давление в напорной камере, при этом пустотелый канал гидродинамически соединен с напорной камерой и одновременно на первом соединительном конце может впадать внутрь полого тела, непроницаемо для текучих сред соединенного с переходным элементом, в результате посредством измерительного устройства растяжения/сжатия, в частности путем активирования измерительного устройства растяжения/сжатия, можно настраивать давление внутри медицинского полого тела. Тогда имеется возможность регистрировать, в частности измерять давление в пустотелом канале, напорной камере и/или внутри медицинского полого тела. Таким образом, переходный элемент открывает возможность применения измерительного устройства растяжения/сжатия для того, чтобы проводить тесты на герметичность медицинских полых тел. Такие измерительные устройства растяжения/сжатия обычно в любом случае имеются в области разработки/проверки медицинских полых тел и применяются там, в частности, например, для проверки усилия смещения пробок, которые располагаются с возможностью смещения внутри такого медицинского полого тела. То есть для проведения теста на герметичность можно обращаться к устройству, которое, во-первых, также применимо иным образом, а во-вторых, обычно в любом случае имеется. Также возможна по меньшей мере в значительной степени автоматизированная эксплуатация такого измерительного устройства растяжения/сжатия, так что в итоге может по меньшей мере в значительной степени автоматизироваться также тест на герметичность, который проводится при помощи такого измерительного устройства растяжения/сжатия.

[6]

Под медицинским полым телом здесь понимается, в частности, полый предмет, который выбран из группы, состоящей из сосуда для фармацевтических субстанций, в частности для медицинских действующих и/или вспомогательных веществ; шприца; карпулы; коннектора, в частности безыгольного коннектора, в частности люэровского коннектора, в частности имеющего люэровский соединитель или имеющего несколько люэровских соединителей, в частности коннектора, имеющего маленький диаметр по нормам семейства ISO 80369, в частности DIN EN ISO 80369-7, в редакции, действующей в день, определяющий приоритет настоящего права защиты, в частности DIN EN ISO 80369-7:2017-10; и адаптера, в частности люэровского адаптера, в частности имеющего люэровский соединитель или имеющего несколько люэровских соединителей, в частности инфузионного адаптера. В частности, медицинское полое тело является частью или сосудом, имеющим полость, которая на двух концах может закрываться укупорками и/или пробками и предпочтительно закрывается предписанным образом. В частности, такое медицинское полое тело представляет собой шприц или карпулу.

[7]

В частности, у такого медицинского полого тела проводится тест на герметичность, при котором первый, предпочтительно дистальный конец медицинского полого тела закрывается укупоркой или пробкой, при этом через второй, предпочтительно проксимальный, еще открытый конец настраивается определенное давление внутри полого тела и регистрируется на протяжении определенного времени.

[8]

С первым, предпочтительно дистальным концом медицинского полого тела может также соединяться устройство для измерения давления, для регистрации, в частности измерения давления внутри медицинского полого тела и при этом одновременно давления в пустотелом канале.

[9]

Под дистальным концом здесь, в частности, понимается конец медицинского полого тела, который предписанным образом при применении медицинского полого тела, обращен к пациенту и/или месту инъекции и предпочтительно от пользователя медицинского полого тела. Другой конец медицинского полого тела называется проксимальным концом.

[10]

Под измерительным устройством растяжения/сжатия понимается, в частности, устройство, которое предназначено для приложения к опытному образцу сил растяжения или сжатия, в частности, предпочтительно дополнительно, для измерения сил растяжения или сжатия на опытных образцах. Такое измерительное устройство растяжения/сжатия имеет, в частности, установочный корпус и смещаемый относительно этого установочного корпуса в осевом направлении активный конец. Этот активный конец выполнен предпочтительно в виде смещаемых по измерительной стойке измерительных салазок. Путем смещения активного конца относительно опытного образца на опытный образец могут передаваться силы растяжения или сжатия.

[11]

В частности, под измерительным устройством растяжения/сжатия предпочтительно понимается устройство, которое предназначено для приложения сил растяжения и сжатия к опытному образцу, в частности, предпочтительно дополнительно, для измерения сил растяжения и сжатия на опытных образцах.

[12]

В частности, измерительное устройство растяжения/сжатия предпочтительно предназначено для приложения механических сил растяжения и/или сил сжатия к опытным образцам, а также предпочтительно для измерения механических сил растяжения и/или сил сжатия на опытных образцах.

[13]

Под непроницаемым для текучих сред соединением переходного элемента с внутренней областью медицинского полого тела понимается, в частности, что переходный элемент через первый соединительный конец соединяется с медицинским полым телом таким образом, что возможна настройка давления внутри медицинского полого тела через переходный элемент без утечки в области соединения первого активного конца с медицинским полым телом. При этом достаточно, если соединение переходного элемента с медицинским полым телом выполнено таким образом, что при таких давлениях, которые нужны или предписаны для предусмотренного теста на герметичность, не возникает или по меньшей мере не возникает негативно влияющей на тест на герметичность утечки. Возможно, однако, не обязательно требуется, чтобы соединение также, помимо этого, было выполнено непроницаемым для текучих сред, то есть не имеющим утечек также при более высоких разностях давлений.

[14]

Предпочтительно первый соединительный конец имеет уплотнительное устройство для непроницаемого для текучих сред соединения с медицинским полым телом. Это уплотнительное устройство имеет в предпочтительном варианте осуществления по меньшей мере один уплотнительный элемент, в частности по меньшей мере одно уплотнительное кольцо, особенно предпочтительно два уплотнительных элемента, в частности два, предпочтительно расположенных на расстоянии друг от друга, уплотнительных кольца. Уплотнительное устройство предпочтительно расположено на наружной окружной стенке первого соединительного конца и взаимодействует в смонтированном состоянии с внутренней стенкой полого тела, осуществляя уплотнение.

[15]

Возможно также соединение с геометрическим замыканием первого соединительного конца с медицинским полым телом, например, через люэровский конус, имеющий резьбу.

[16]

Посредством измерительного устройства растяжения/сжатия может настраиваться давление в напорной камере, когда первый соединительный конец непроницаемо для текучих сред соединен с медицинским полым телом и одновременно второй соединительный конец активно соединен с измерительным устройством растяжения/сжатия. Для создания давления предпочтительно применяется надлежащая текучая среда, в частности газ или жидкость, например, воздух, азот, двуокись углерода, инертный газ, вода, фармацевтическое масло или жир или тому подобное.

[17]

Посредством измерительного устройства растяжения/сжатия в напорной камере, в частности, относительно давления окружающей среды, в частности нормального давления, в частности 1013 мбар, может настраиваться повышенное давление, например, прибл. в 300 кПа, или пониженное давление, например, в 40 кПа. Таким образом могут проводиться как тесты на герметичность, которые требуют настраивания повышенного давления, так и тесты на герметичность, которые требуют настраивания пониженного давления.

[18]

По одному из усовершенствований предусмотрено, что переходный элемент имеет канал для измерения давления, который ответвляется от пустотелого канала или напорной камеры между первым соединительным концом и вторым соединительным концом. Этот канал для измерения давления находится, таким образом, в гидродинамическом соединении с пустотелым каналом и напорной камерой между первым соединительным концом и вторым соединительным концом, в частности между первым соединительным концом и напорной камерой. В частности, канал для измерения давления ответвляется от пустотелого канала между первым соединительным концом и напорной камерой. В частности, тогда существует возможность особенно простым образом регистрировать, в частности измерять давление в пустотелом канале, напорной камере и вместе с тем одновременно давление внутри медицинского полого тела.

[19]

По одному из усовершенствований изобретения предусмотрено, что канал для измерения давления предназначен для того, чтобы располагать на этом канале для измерения давления устройство для измерения давления. При этом предпочтительно, в частности простым образом, можно соединять устройство для измерения давления с каналом для измерения давления, в частности соединять гидродинамически, чтобы определять давление в канале для измерения давления и вместе с тем одновременно пустотелом канале, напорной камере и медицинском полом теле. Предпочтительно канал для измерения давления имеет резьбу или канал для измерения давления снабжен резьбой, при этом устройство для измерения давления может привинчиваться к этой резьбе. Это представляет собой особенно простое и легко изготавливаемое соединение устройства для измерения давления с каналом для измерения давления.

[20]

Альтернативно или дополнительно предпочтительно предусмотрено, что устройство для измерения давления, в частности манометр, активно соединено с каналом для измерения давления, чтобы измерять давление в канале для измерения давления. Таким образом одновременно может определяться давление в пустотелом канале, напорной камере, а также в медицинском полом теле.

[21]

По одному из усовершенствований изобретения предусмотрено, что в напорной камере с возможностью смещения расположен поршень, так что объем напорной камеры может изменяться путем смещения этого поршня. Таким образом давление в напорной камере может очень просто настраиваться путем смещения поршня. В частности, поршень в напорной камере расположен с возможностью линейного смещения, предпочтительно в осевом направлении. Поршень предпочтительно плотно прилегает к внутренней окружной поверхности напорной камеры, так что при смещении поршня в напорной камере давление в ней изменяется.

[22]

Осевым направлением является, в частности, направление, которое распространяется параллельно или в направлении продольной оси пустотелого канала. Предпочтительно продольная ось пустотелого канала в смонтированном состоянии соосна продольной оси медицинского полого тела. Предпочтительно продольная ось пустотелого канала в смонтированном состоянии соосна оси смещения активного конца измерительного устройства растяжения/сжатия. При этом осевое направление распространяется в особенно предпочтительном варианте осуществления как вдоль продольной оси пустотелого канала, так и вдоль продольной оси медицинского полого тела, а также вдоль направления смещения активного конца измерительного устройства растяжения/сжатия. Радиальное направление располагается перпендикулярно осевому направлению. Окружное направление концентрически охватывает осевое направление.

[23]

По одному из усовершенствований изобретения предусмотрено, что переходный элемент имеет поршень, который предназначен для того, чтобы располагаться в напорной камере с возможностью смещения. То есть этот поршень по меньшей мере в не смонтированном состоянии может быть предусмотрен отдельно от напорной камеры и по потребности располагаться в ней с возможностью смещения для изменения объема напорной камеры путем смещения поршня, причем тем самым одновременно изменяется давление в напорной камере. В частности, поршень предпочтительно может активно соединяться с активным концом измерительного устройства растяжения/сжатия.

[24]

Но возможно также, чтобы поршень удерживался в напорной камере без возможности выпадения.

[25]

По одному из усовершенствований изобретения предусмотрено, что поршень имеет поршневой диск. Альтернативно возможно, чтобы поршень был выполнен в виде поршневого диска. Последнее представляет собой один из особенно предпочтительных вариантов осуществления поршня. При этом возможно, в частности, чтобы активный конец машины растяжения/сжатия действовал на выполненный в виде поршневого диска поршень для смещения его в напорной камере.

[26]

Если поршень имеет поршневой диск, он предпочтительно имеет, кроме того, поршневой шток, который соединен с поршневым диском, в частности выполнен цельно с поршневым диском. Поршневой шток выдается предпочтительно отдельными областями из напорной камеры, чтобы соединяться с активным концом измерительного устройства растяжения-сжатия. При этом если поршневой шток вдается, в частности сквозь осевое, отверстие, в частности сверление, диаметр, в свету которого меньше диаметра поршневого диска, поршень расположен в напорной камере без возможности выпадения, причем одновременно расположенная вне напорной камеры часть поршневого штока может соединяться с активным концом измерительного устройства растяжения/сжатия.

[27]

Альтернативно или дополнительно поршень имеет связующую часть, которая предназначена для того, чтобы механически связываться с активным концом измерительного устройства растяжения/сжатия. В частности, возможно, чтобы эту связующую часть имел поршневой шток. Если поршень, имеющий связующую часть, механически связан с активным концом, он может смещаться вместе с активным концом.

[28]

Предпочтительно на связующей части поршня расположено предохранительное сверление, предпочтительно поперечное сверление, которое расположено поперек, в частности перпендикулярно осевому направлению, для продевания предохранительного штифта. При этом связующий стержень особенно надежным образом может соединяться с активным концом измерительного устройства растяжения/сжатия, когда предохранительный штифт продевается сквозь предохранительное сверление. Активный конец измерительного устройства растяжения/сжатия имеет предпочтительно предохранительное гнездо для предохранительного штифта, так что он в смонтированном состоянии пронизывает, с одной стороны, предохранительное гнездо, а с другой стороны, предохранительное сверление, и так надежно удерживает поршень на активном конце.

[29]

По одному из предпочтительных вариантов осуществления связующая часть выполнена в виде связующего стержня. При этом под связующим стержнем понимается, в частности, стержень поршня, который предназначен специально для механической связи с активным концом. В частности, поршневой шток предпочтительно выполнен в виде связующего стержня.

[30]

По одному из усовершенствований изобретения предусмотрено, что напорная камера и/или поршень снабжен шкалой, по которой может считываться мгновенное давление в напорной камере в зависимости от мгновенного положения, в частности от мгновенного осевого положения, поршня в напорной камере. Это очень простым образом обеспечивает возможность по меньшей мере грубой оценки давления в напорной камере, а также проверки достоверности, является ли в итоге правильным давление, настроенное/контролируемое в рамках теста на герметичность.

[31]

Причем эта шкала позволяет предпочтительно считывать давление в зависимости от мгновенного положения поршня относительно начального положения поршня на шкале. То есть, в частности, предпочтительно сначала проверяется, из какого положения на шкале начинает двигаться поршень под давлением окружающей среды в напорной камере, когда он смещается изначально измерительным устройством растяжения/сжатия для изменения давления в напорной камере, чтобы оно отличалось от давления окружающей среды. Тогда целевое положение поршня на шкале, которого он достигает после этого смещения, указывает относительно начального положения меру разности давления между достигнутым давлением и начальным давлением, то есть давлением окружающей среды.

[32]

Разумеется, что изменение давления при осевом смещении поршня, в частности, зависимо от объема медицинского полого тела, а также пустотелого канала и напорной камеры. При этом обычно, в частности, объем медицинского полого тела варьируется, в то время как объем пустотелого канала и напорной камеры для определенного переходного элемента задан. Возможно, чтобы на переходном элементе были предусмотрены разные шкалы для разных проверяемых медицинских полых тел. Альтернативно возможно, чтобы была предусмотрена таблица перерасчета, которая учитывает объем проверяемого в данный момент медицинского полого тела. Альтернативно возможно, чтобы для разных медицинских полых тел предоставлялись разные переходные элементы, в частности, имеющие разные шкалы.

[33]

Шкала предпочтительно расположена на стенке напорной камеры. Особенно предпочтительно стенка напорной камеры по меньшей мере в области шкалы прозрачная, так что сквозь стенку может наблюдаться положение поршня относительно шкалы.

[34]

Если шкалой снабжен поршень, стенка напорной камеры имеет предпочтительно маркировку для считывания.

[35]

Задача решается также при создании системы проверки, которая имеет измерительное устройство растяжения/сжатия. Это измерительное устройство растяжения/сжатия имеет установочный корпус и смещаемый относительно установочного корпуса в осевом направлении активный конец, в частности смещаемый в осевом направлении измерительный элемент. Измерительное устройство растяжения/сжатия устроено, в частности, так, как это уже пояснялось ранее в связи с переходным элементом. Система проверки имеет, кроме того, предлагаемый изобретением переходный элемент или переходный элемент по одному из ранее описанных примеров осуществления. Второй соединительный конец переходного элемента активно соединен с активным концом таким образом, что давление в напорной камере переходного элемента может настраиваться путем осевого смещения активного конца относительно напорной камеры. В связи с системой проверки получаются, в частности, преимущества, которые уже пояснялись в связи с переходным элементом.

[36]

Измерительное устройство растяжения/сжатия имеет предпочтительно привод, в частности машинный или двигательный привод, для смешения активного конца. В особенно предпочтительном варианте осуществления привод выполнен в виде электродвигателя, при известных условиях при промежуточном включении передачи. Приводом может быть укомплектован, в частности, установочный корпус, или он может быть расположен в установочном корпусе.

[37]

Активный конец может смещаться в осевом направлении предпочтительно по измерительной стойке установочного корпуса. Возможно, чтобы по меньшей мере некоторые части привода были расположены в измерительной стойке или интегрированы в измерительную стойку. Активный конец может смещаться в осевом направлении, в частности, относительно измерительной стойки и по измерительной стойке.

[38]

По одному из усовершенствований изобретения предусмотрено, что установочный корпус имеет крепежную часть для фиксации переходного элемента относительно установочного корпуса. В частности, эта крепежная часть предназначена, чтобы с одной стороны, крепиться на установочном корпусе, а с другой стороны неподвижно соединяться с переходным элементом, так чтобы в итоге переходный элемент был опосредованно через крепежную часть расположен неподвижно относительно установочного корпуса.

[39]

Установочный корпус имеет, кроме того, предпочтительно крепежную часть для опытного образца для фиксации медицинского полого тела относительно установочного корпуса. При этом крепежная часть для опытного образца предпочтительно с одной стороны может неподвижно соединяться со установочным корпусом, при этом с другой стороны с крепежной частью для опытного образца может неподвижно соединяться медицинское полое тело, так что в итоге медицинское полое тело опосредованно через крепежную часть для опытного образца расположено неподвижно относительно установочного корпуса.

[40]

По одному из усовершенствований изобретения предусмотрено, что активный конец, в частности измерительный элемент, соединен с поршнем, в частности поршневым диском, переходного элемента, передавая растяжение и/или сжатие. При этом передающее сжатие соединение может особенно предпочтительно получаться таким образом, что активный конец давит на поршневой диск, не будучи больше никак соединен с ним механически. Но возможно также, чтобы активный конец был соединен с поршневым диском, передавая растяжение и сжатие, например, застопорен с поршневым диском или механически соединен с ним иным образом.

[41]

Альтернативно предпочтительно предусмотрено, что активный конец, в частности жестко, механически связан со связующей частью поршня. Эта связующая часть может, в частности, представлять собой связующий стержень. При этом возможно, чтобы активный конец был предохраняемым образом соединен со связующей частью посредством предохранительного штифта, причем этот предохранительный штифт предпочтительно пронизывает предохранительное сверление на связующей части, а также предохранительной гнездо на активном конце.

[42]

Альтернативно предпочтительно предусмотрено, что активный конец сам в качестве поршня расположен в напорной камере с возможностью смещения. В частности, возможно, чтобы размеры напорной камеры, в частности ее диаметр, были согласованы с активным концом так, чтобы активный конец сам мог применяться в качестве поршня и непосредственно, без другой связи с отдельным поршнем, мог смещаться в напорной камере для изменения давления в напорной камере. Это представляет собой один из особенно простых вариантов осуществления, имеющий особенно мало частей.

[43]

По одному из усовершенствований изобретения предусмотрено, что измерительное устройство растяжения/сжатия имеет устройство управления, которое предназначено для того, чтобы активно соединяться с устройством для измерения давления, в частности манометром, и регистрировать давление в пустотелом канале, в частности в канале для измерения давления, предпочтительно регистрировать в зависимости от времени, и предпочтительно оценивать. Это обеспечивает возможность по меньшей мере частично автоматизированного проведения теста на герметичность, при этом регистрация и предпочтительно оценка давления в пустотелом канале, в частности в канале для измерения давления, может выполняться устройством управления измерительного устройства растяжения/сжатия.

[44]

Предпочтительно активный конец может смещаться устройством управления в зависимости от регистрируемого давления. Это обеспечивает возможность автоматизированной настройки давления, в частности на заданное или номинальное значение.

[45]

По одному из усовершенствований изобретения предусмотрено, что устройство управления предназначено для того, чтобы автоматизированным образом проводить проверку герметичности или тест на герметичность медицинского полого тела. Это обеспечивает возможность особенно простого, экономящего время и персонал осуществления теста на герметичность. Предпочтительно при этом сначала автоматически настраивается давление в напорной камере, затем регистрируется в течение предопределенной продолжительности времени и, наконец, зарегистрированное в течение этой предопределенной продолжительности времени давление, в частности характер изменения давления, оценивается.

[46]

Альтернативно возможно, чтобы устройство управления было предназначено для того, чтобы регулировать давление в пустотелом канале, в частности в канале для измерения давления, при этом, в частности, активный конец в зависимости от регистрируемого давления смещается таким образом, что в пустотелом канале, в частности в канале для измерения давления, поддерживается постоянное давление. Затем в зависимости от осуществленных в течение предопределенной продолжительности времени регулирующих воздействий, в частности в зависимости от пути смещения активного конца, может делаться заключение о герметичности или утечке медицинского полого тела.

[47]

Задача решается также при создании способа проверки герметичности медицинского полого тела, при этом медицинское полое тело через предлагаемый изобретением переходный элемент или переходный элемент по одному из ранее описанных примеров осуществления соединяется с измерительным устройством растяжения/сжатия. При этом медицинское полое тело, в частности на своем обращенном от переходного элемента конце, закрыт, в частности посредством пробки или укупорки. В итоге этот способ обеспечивает возможность проверки герметичности пробки или укупорки на конце медицинского полого тела, который обращен от переходного элемента. Внутри медицинского полого тела путем смещения активного конца измерительного устройства растяжения/сжатия настраивается определенное давление. При этом может настраиваться предпочтительно повышенное давление или пониженное давление, в частности в зависимости от проводимого теста на герметичность. Активный конец смещается, в частности относительно переходного элемента и относительно медицинского полого тела. Мгновенное давление внутри медицинского полого тела регистрируется на протяжении определенного времени проверки. В связи со способом реализуются, в частности, уже описанные ранее преимущества.

[48]

Предпочтительно этот способ проводится в соответствии с предписаниями нормы DIN EN ISO 80369-20:2015.

[49]

Предпочтительно мгновенное давление внутри регистрируется в течение определенного времени проверки измерительным устройством растяжения/сжатия. Предпочтительно регистрируемое мгновенное давление, в частности в виде характера изменения давления в зависимости от времени, оценивается. Предпочтительно оценка осуществляется измерительным устройством растяжения/сжатия, в частности устройством управления измерительного устройства растяжения/сжатия.

[50]

По одному из усовершенствований изобретения предусмотрено, что активный конец после настройки определенного давления и в течение определенного времени проверки не двигается. В этом случае изначально настраивается определенное давление, причем затем проверяется, изменяется ли давление в течение этого определенного времени проверки сильнее, чем это допущено в соответствии с номинальной уставкой. Если при этом изменение давления остается в пределах номинальной уставки, проверяемое медицинское полое тело считается герметичным. Если изменение давления превышает номинальную уставку, проверяемое медицинское полое тело оценивается как негерметичное. Активный конец удерживается стационарно, в частности, относительно переходного элемента и медицинского полого тела.

[51]

Альтернативно возможно, чтобы давление в медицинском полом теле в течение определенного времени проверки регулировалось на определенное давление в качестве номинального значения. При этом предпочтительно в течение определенного времени проверки оцениваются регулирующие воздействия, в частности смещения активного конца, и на основе этих регулирующих воздействий и/или смещений активного конца в итоге делается заключение о герметичности медицинского полого тела. Если при этом регулирующие воздействия и/или смещения активного конца превышают номинальную уставку, медицинское полое тело считается негерметичным, в ином случае оно оценивается как герметичное.

[52]

Предпочтительно способ выполняется автоматически с помощью измерительного устройства растяжения/сжатия. При этом он требует, в частности, по большей мере одного выполняемого вручную соединения медицинского полого тела с измерительным устройством растяжения/сжатия через переходный элемент. В остальном определенное давление может настраиваться измерительным устройством растяжения/сжатия автоматически, и мгновенное давление внутри медицинского полого тела может автоматически регистрироваться на протяжении определенного времени проверки и предпочтительно оцениваться. Соответственно может также осуществляться автоматическая подстройка определенного давления, а также оценка требуемых регулирующих воздействий и/или смещений активного конца.

[53]

По одному из усовершенствований изобретения предусмотрено, что медицинское полое тело проверяется прежде, чем в медицинском полом теле располагается медицинская пробка. В частности, медицинское полое тело проверяется, прежде чем в шприце или карпуле располагается/располагаются средняя пробка - для двухкамерного полого тела - или концевая пробка. Таким образом, медицинское полое тело в момент времени проверки не имеет смещаемой внутри медицинского полого тела пробки, в частности не имеет средней и/или концевой пробки.

[54]

Проверка герметичности медицинского полого тела может осуществляться, в частности, до силиконирования внутренней стенки медицинского полого тела, а также после силиконирования. Проверка до силиконирования возможна, так как тест на герметичность проводится без смещаемой внутри медицинского полого тела пробки. Это обеспечивает возможность, в частности, более ранней проверки герметичности в процессе изготовления медицинского полого тела, что несет с собой преимущества логистики. Благодаря тому, что проверка герметичности может осуществляться без пробки, на результаты теста не влияют силы преодоления трения покоя и/или трения скольжения такой пробки.

[55]

Задача решается, наконец, также при предложении применения измерительного устройства растяжения/сжатия для проверки герметичности медицинского полого тела. Предпочтительным образом в соответствии с настоящим раскрытием измерительное устройство растяжения/сжатия может применяться для проверки герметичности медицинского полого тела. При этом реализуются, в частности, уже названные преимущества.

[56]

Далее изобретение поясняется подробнее с помощью чертежа. При этом показано:

[57]

фиг.1: схематичное изображение первого примера осуществления системы проверки, имеющей один из примеров осуществления переходного элемента;

[58]

фиг.2: схематизированное изображение в сечении системы проверки в соответствии с фиг.1, и

[59]

фиг.3: схематичное изображение второго примера осуществления системы проверки.

[60]

На фиг.1 показано изображение первого примера осуществления системы 1 проверки, которая имеет измерительное устройство 3 растяжения/сжатия. Это измерительное устройство 3 растяжения/сжатия, со своей стороны, имеет установочный корпус 5 и смещаемый относительно установочного корпуса 5 в осевом направлении, то есть применительно к фиг.1 в вертикальном направлении, активный конец 7. Кроме того, система 1 проверки имеет переходный элемент 9, который предназначен для того, чтобы соединять медицинское полое тело 11 с измерительным устройством 3 растяжения/сжатия. Переходный элемент 9 имеет первый, изображенный на фиг.2 соединительный конец 13, который предназначен для того, чтобы непроницаемо для текучих сред соединять переходный элемент 9 с тоже изображенной на фиг.2 внутренней областью 15 медицинского полого тела 11. Переходный элемент 9 имеет, кроме того, второй соединительный конец 17. Этот второй соединительный конец 17 имеет напорную камеру 19 и предназначен для того, чтобы активно соединять переходный элемент 9 с измерительным устройством 3 растяжения/сжатия, таким образом, чтобы посредством измерительного устройства 3 растяжения/сжатия могло настраиваться давление в напорной камере 19.

[61]

Переходный элемент 9 имеет, кроме того, пустотелый канал 21, который пронизывает ее от напорной камеры 9 до первого соединительного конца 13.

[62]

Кроме того, изображенный здесь пример осуществления переходного элемента 9 имеет канал 23 для измерения давления, который ответвляется между первым соединительным концом 13 и вторым соединительным концом 17 от пустотелого канала 21 или напорной камеры 19, здесь от пустотелого канала 21.

[63]

Второй соединительный конец 17 активно соединен с активным концом 7 измерительного устройства 3 растяжения/сжатия таким образом, что давление в напорной камере 19 может настраиваться путем смещения активного конца 7 в осевом направлении относительно напорной камеры 19.

[64]

Таким образом точная настройка давления в напорной камере 19 и вместе с тем, в итоге, также внутри 15 медицинского полого тела 11 может осуществляться простым образом посредством измерительного устройства 3 растяжения/сжатия, при этом оно может применяться для проверки герметичности медицинского полого тела 11. Таким образом, в итоге, можно применять для этой проверки герметичности устройство, которое в любом случае применяется для проверки медицинских полых тел 11, а именно, измерительное устройство 3 растяжения/сжатия, которое, например, как правило, применяется для измерения сил преодоления трения покоя или сил смещения пробок в медицинских полых телах 11.

[65]

Установочный корпус 5 имеет предпочтительно измерительную стойку 25, по которой может смещаться активный конец 7. Для этого измерительное устройство 3 растяжения/сжатия имеет предпочтительно привод 27, который предназначен для смещения активного конца 7 в осевом направлении, в частности по измерительной стойке 25.

[66]

Активный конец 7 предпочтительно выполнен в виде измерительного элемента или имеет измерительный элемент. Но возможно также, чтобы активный конец 7 был выполнен чисто в виде механического конструктивного элемента или механического адаптера, в частности в виде механической соединительной части для крепления других частей, в частности измерительных систем, например, динамометрических датчиков, на измерительном устройстве 3 растяжения/сжатия.

[67]

Первый соединительный конец 13 предпочтительно укомплектован уплотнительным устройством 29, которое предназначено для уплотнения гидродинамического соединения между пустотелым каналом 21 и внутренней областью 15 медицинского полого тела 11. Для этого уплотнительное устройство 29 имеет предпочтительно по меньшей мере один уплотнительный элемент, здесь конкретно два уплотнительных кольца 31, 31ʽ, которые расположены на первом соединительном конце 13, в частности охватывают первый соединительный конец 13 в окружном направлении.

[68]

Пустотелый канал 21 открыт, в частности, на первом соединительном конце 13. В частности, он впадает в первый соединительный конец 13, или, соответственно, он впадает в области первого соединительного конца 13 внутрь 15 медицинского полого тела 11, когда переходный элемент 9 соединен с медицинским полым телом 11.

[69]

Посредством измерительного устройства 3 растяжения/сжатия и переходного элемента 9 внутри 15 медицинского полого тела 11 может настраиваться как повышенное давление, так и пониженное давление по сравнению с давлением окружающей среды в окружающей среде медицинского полого тела 11.

[70]

На канале 23 для измерения давления здесь расположено устройство 33 для измерения давления, которое может быть выполнено, в частности, в виде манометра. Канал 23 для измерения давления предпочтительно предназначен для соединения с устройством 33 для измерения давления, например, когда он имеет резьбу, в которую может ввинчиваться устройство 33 для измерения давления, или к которой может привинчиваться устройство 33 для измерения давления.

[71]

Устройство 33 для измерения давления активно соединено с каналом 23 для измерения давления, чтобы измерять давление в канале 23 для измерения давления и вместе с тем одновременно в пустотелом канале 21, напорной камере 19, а также медицинском полом теле 11.

[72]

Альтернативно устройство для измерения давления может быть также соединено с дистальным концом полого тела 11, чтобы измерять давление внутри полого тела 11. В этом случае может также применяться переходный элемент 9, который не имеет канала 23 для измерения давления, или у которого канал 23 для измерения давления, например, закрыт заглушкой.

[73]

Под дистальным концом здесь понимается, в частности, конец полого тела 11, который предписанным образом при применении полого тела 11 обращен к пациенту и/или месту инъекции и предпочтительно обращен от пользователя полого тела 11. Другой конец полого тела 11 называется проксимальным концом.

[74]

В напорной камере 19 с возможностью смещения расположен поршень 35, чтобы путем смещения поршня 35 мог изменяться объем напорной камеры 19. Альтернативно возможно также, чтобы переходный элемент 9 имел поршень, который предназначен для того, чтобы располагаться в напорной камере 19 с возможностью смещения. То есть поршень 35 не должен быть, в частности, постоянно расположен в напорной камере 19, в частности не требуется защищенное от выпадения, при необходимости неразъемное расположение поршня в напорной камере 19. Но возможно, чтобы поршень 35 был постоянно, в частности с защитой от выпадения, расположен в напорной камере 19.

[75]

Поршень 35 имеет предпочтительно поршневой диск 37. Этот диск предпочтительно расположен в напорной камере 19 плотно, предпочтительно посредством по меньшей мере одного уплотнительного кольца, которое имеется, в частности, на периметре этого поршневого диска 37. По одному из вариантов осуществления возможно, чтобы поршень 35 был выполнен весь в виде поршневого диска 37. В этом случае предпочтительно активный конец 7 действует непосредственно на поршневой диск 37.

[76]

Однако в изображенном здесь примере осуществления поршень 35 имеет связующую часть 39, которая предназначена для того, чтобы механически связываться с активным концом 7. Связующая часть 39 выполнена, в частности, в виде связующего стержня. Этот стержень предпочтительно жестко, в частности с возможностью захвата, соединен со связующим диском 37. В частности, возможно, чтобы связующая часть 39 и связующий диск 37 были выполнены друг с другом цельно, в частности из единого материала, и так совместно цельно образовывали поршень 35.

[77]

Если связующая часть 39 связана с активным концом 7, они могут, в частности, смещаться вместе, так что весь поршень 35 при смещении активного конца 7 смещается вместе с ним. Таким образом объем в напорной камере 19 может настраиваться путем смещения активного конца 7 и вместе с тем одновременно поршня 35. Это приводит одновременно к настройке давления в пустотелом канале 21, а также в медицинском полом теле 11, когда он соединен с переходным элементом 9.

[78]

В изображенном здесь примере осуществления напорная камера 19 снабжена шкалой 41, по которой может считываться мгновенное давление в напорной камере 19 в зависимости от мгновенного - осевого - положения поршня 35 в напорной камере 19. В частности, шкала 41 расположена предпочтительно на наружном периметре напорной камеры 19, в частности наклеена или напечатала на нем, или нанесена с возможностью считывания иным надлежащим образом. В частности, предпочтительно стенка напорной камеры 19 по меньшей мере в области шкалы 41 выполнена прозрачной, так что положение поршня 35 относительно шкалы 41 может наблюдаться через стенку напорной камеры 19.

[79]

Альтернативно возможно, чтобы поршень 35 был снабжен соответствующей шкалой. Тогда стенка напорной камеры 19 имеет предпочтительно маркировку для считывания.

[80]

По одному из предпочтительных вариантов осуществления установочный корпус 5 имеет крепежную часть 43, которая предназначена для крепления переходного элемента 9 относительно установочного корпуса 5 и предпочтительно на установочном корпусе 5. Но возможно также, чтобы переходный элемент 9 особенно предпочтительным образом удерживался с одной стороны активным концом 7, а с другой стороны медицинским полым телом 11.

[81]

Медицинское полое тело 11 расположено здесь в держателе 45, который выполнен по существу в виде цилиндрического полого тела, в который может вводиться медицинское полое тело 11. При этом медицинское полое тело 11 в этом примере осуществления опорой 47 для пальцев прилегает к верхнему краю 49 держателя 45. Держатель 45, со своей стороны, зафиксирован на крепежной ножке 51 измерительного устройства 3 растяжения/сжатия, которая предпочтительно может быть частью установочного корпуса 5.

[82]

Крепежная часть 43 может быть также соединена с держателем 45 и/или крепежной ножкой 51.

[83]

Как уже указывалось, активный конец 7 здесь механически связан со связующей частью 39 поршня 35. Но альтернативно возможно также, чтобы активный конец 7 был непосредственно соединен с поршневым диском 37 или с поршневым диском, который не снабжен связующей частью 39, передавая растяжение и/или сжатие. В частности, активный конец 7 может действовать непосредственно на поршневой диск 37. Также альтернативно возможно, чтобы активный конец 7 сам мог смещаться в напорной камере 19 в качестве поршня.

[84]

Измерительное устройство 3 растяжения/сжатия имеет предпочтительно устройство 53 управления, которое предназначено для того, чтобы активно соединяться с устройством 33 для измерения давления и регистрировать давление в пустотелом канале 21, в частности в канале 23 для измерения давления, предпочтительно в зависимости от времени. Устройство 53 управления также предпочтительно предназначено для того, чтобы, в частности в зависимости от времени, оценивать регистрируемое давление. При этом по одному из предпочтительных вариантов осуществления возможно, чтобы устройство 53 управления было предназначено также для того, чтобы смещать активный конец 7 в зависимости от регистрируемого давления, в частности, чтобы также можно было автоматически настраивать давление в пустотелом канале 21 и в итоге в медицинском полом теле 11, в частности на предопределенное значение давления. Возможно также, чтобы устройство 53 управления было выполнено по одному из предпочтительных вариантов осуществления, чтобы регулировать давление в пустотелом канале 21 на предопределенное номинальное значение. Кроме того, устройство 53 управления предназначено для того, чтобы автоматизированным образом проводить проверку герметичности медицинского полого тела 11.

[85]

На фиг.2 показано схематичное изображение в сечении системы 1 проверки в соответствии с фиг.1. Одинаковые и функционально одинаковые элементы на всех фигурах снабжены одинаковыми ссылочными обозначениями, так что в этой связи всегда ссылаемся на предыдущее описание.

[86]

Связующая часть 39 имеет здесь, в частности, поперечное сверление 55 в качестве предохранительного сверления, которое в смонтированном состоянии соосно предохранительному гнезду 57 активного конца 7. Через это поперечное сверление 55 и предпочтительно также выполненное в виде поперечного сверления предохранительное гнездо 57 вставлен предохранительный штифт 59, которым в итоге поршень 35 механически соединен с активным концом 7.

[87]

Аналогичным образом здесь также держатель 45 соединен с крепежной ножкой 51 посредством второго предохранительного штифта 61.

[88]

Медицинское полое тело 11 закрыто здесь на своем дистальном конце укупоркой 63, в частности закрыто непроницаемо для текучих сред.

[89]

Медицинское полое тело 11 своей опорой 47 для пальцев предпочтительно не прилегает плотно к верхнему краю 49 держателя 45, или держатель 45 имеет по меньшей мере одно сверление для выравнивания давления, которое обеспечивает возможность выравнивания давления с внешней окружающей средой держателя 45. Тем самым предпочтительно обеспечено, что внутренняя область держателя 45 всегда будет иметь давление окружающей среды, что позволяет получить наиболее точную возможную проверку герметичности медицинского полого тела 11.

[90]

На фиг.3 показано схематичное изображение второго примера осуществления системы 1 проверки. Причем здесь крепежная часть 43 соединена с держателем 45.

[91]

Поясняемый далее со ссылкой на все фигуры 1-3 способ проверки герметичности медицинского полого тела служит, в частности, для проверки герметичности укупорки 63, то есть, в частности, соединения укупорки 63 с медицинским полым телом 11.

[92]

По одному из предпочтительных вариантов осуществления медицинское полое тело 11 проверяется на герметичность при помощи системы 1 проверки следующим образом.

[93]

Сначала медицинское полое тело 11 через переходный элемент 9 соединяется с измерительным устройством 3 растяжения/сжатия. При этом медицинское полое тело 11, в частности на своем дистальном конце, закрыто, здесь посредством укупорки 63. Теперь путем смещения активного конца 7 внутри 15 медицинского полого тела 11 настраивается определенное давление, и мгновенное давление внутри 15 регистрируется на протяжении определенного времени проверки. Эта регистрация давления осуществляется, предпочтительно в зависимости от времени, предпочтительно посредством измерительного устройства 3 растяжения/сжатия, в частности его устройством 53 управления.

[94]

Регистрируемое таким образом давление предпочтительно оценивается, особенно предпочтительно также измерительным устройством 3 растяжения/сжатия, в частности его устройством 53 управления.

[95]

Предпочтительно активный конец 7 после настройки определенного давления и в течение определенного времени проверки не двигается. Затем, в частности, регистрируется, изменяется ли давление внутри 15, в частности увеличивается ли оно, в частности, если ранее внутри 15 было настроено пониженное давление, или уменьшается ли оно, в частности, если ранее внутри 15 было настроено повышенное давление. Тогда на основе регистрируемого давления можно делать заключение об интенсивности утечки и/или герметичности медицинского полого тела 11.

[96]

Но возможно также, чтобы давление внутри 15 на протяжении определенного времени проверки регулировалось измерительным устройством 3 растяжения/сжатия, в частности устройством 53 управления, в частности на предопределенное номинальное значение давления. В этом случае сигналы регулирования или пути перестановки измерительного устройства 3 растяжения/сжатия, в частности активного конца 7, могут оцениваться на предмет интенсивности утечки и вместе с тем в итоге герметичности медицинского полого тела 11. Ведь очевидно, что более высокие издержки подрегулирования имеются, когда медицинское полое тело 11 негерметично, или, соответственно, что издержки порегулирования тем выше, чем выше интенсивность утечки. В оптимальном случае, при исчезающей интенсивности утечки, подрегулирование не требуется.

[97]

Способ проверки герметичности медицинского полого тела 11 выполняется предпочтительно автоматически или автоматизированным образом с помощью измерительного устройства 3 растяжения/сжатия, в частности без необходимости вмешательства пользователя.

[98]

Медицинское полое тело 11 предпочтительно проверяется прежде, чем в медицинском полом теле 11 располагается медицинская пробка, в частности средняя и/или концевая пробка. Медицинское полое тело 11 может, в частности, проверяться на герметичность до или после силиконирования. Такое силиконирование осуществляется, в частности, для повышения способности средней и/или концевой пробки к скольжению внутри 15 медицинского полого тела 11.

[99]

Становится ясно, что в соответствии с раскрытой здесь технической доктриной, в частности, измерительное устройство 3 растяжения/сжатия применяется для проверки герметичности медицинского полого тела 11.

Как компенсировать расходы
на инновационную разработку
Похожие патенты