патент
№ RU 2801273
МПК A24F40/465

ГЕНЕРАЦИЯ АЭРОЗОЛЯ

Авторы:
ПЭТОН, Дейвид (GB)
Номер заявки
2021126514
Дата подачи заявки
09.03.2020
Опубликовано
07.08.2023
Страна
RU
Дата приоритета
16.12.2025
Номер приоритета
Страна приоритета
Как управлять
интеллектуальной собственностью
Реферат

[145]

В этом документе описана система генерации аэрозоля, содержащая (i) изделие, генерирующее аэрозоль, содержащее ароматизатор, и (ii) устройство, генерирующее аэрозоль, содержащее индукционный нагреватель, при этом во время работы изделие вставляют в устройство и генерируют аэрозоль путем использования индукционного нагревателя для нагрева материала, генерирующего аэрозоль, по меньшей мере до 150°C, при этом по меньшей мере 1 мкг ароматизатора переводят в аэрозольное состояние из материала, генерирующего аэрозоль, при потоке воздуха по меньшей мере 1,50 л/м в течение двухсекундного периода. 6 н. и 12 з.п. ф-лы, 11 ил.

Формула изобретения

1. Система генерации аэрозоля, содержащая (i) изделие, генерирующее аэрозоль, содержащее ароматизатор, и (ii) устройство, генерирующее аэрозоль, содержащее индукционный нагреватель, при этом во время работы изделие вставляют в устройство и генерируют аэрозоль путем использования индукционного нагревателя для нагрева материала, генерирующего аэрозоль, по меньшей мере до 150°C, при этом по меньшей мере 1 мкг ароматизатора переводят в аэрозольное состояние из материала, генерирующего аэрозоль, при потоке воздуха по меньшей мере 1,50 л/мин в течение двухсекундного периода.

2. Система по п.1, в которой материал, генерирующий аэрозоль, является твердым и содержит табак.

3. Система по п.1 или 2, в которой во время работы аэрозоль генерируют с помощью индукционного нагревателя для нагрева материала, генерирующего аэрозоль, по меньшей мере до 150°C, при этом общее количество ароматизатора, переводимого в аэрозольное состояние из материала, генерирующего аэрозоль, во время по меньшей мере 7 двухсекундных периодов при потоке воздуха по меньшей мере 1,50 л/мин, составляет по меньшей мере примерно 1,5 мг.

4. Система по п.1 или 2, в которой во время работы аэрозоль генерируют с помощью индукционного нагревателя для нагрева материала, генерирующего аэрозоль, по меньшей мере до 150°C, при этом общее количество ароматизатора, переводимого в аэрозольное состояние из материала, генерирующего аэрозоль, во время по меньшей мере 9 двухсекундных периодов при потоке воздуха по меньшей мере 1,50 л/мин, составляет по меньшей мере примерно 2,5 мг.

5. Способ генерации аэрозоля из материала, генерирующего аэрозоль, который содержит ароматизатор, причем способ включает в себя следующие этапы, на которых: используют индукционный нагреватель для нагрева материала, генерирующего аэрозоль, по меньшей мере до 150°C, при этом по меньшей мере 1 мкг ароматизатора переводят в аэрозольное состояние из материала, генерирующего аэрозоль, при потоке воздуха по меньшей мере 1,50 л/мин в течение двухсекундного периода.

6. Способ по п.5, в котором по меньшей мере 100 мкг ароматизатора, 200 мкг ароматизатора, предпочтительно по меньшей мере 500 мкг ароматизатора переводят в аэрозольное состояние из материала, генерирующего аэрозоль, при потоке воздуха по меньшей мере 1,50 л/мин в течение двухсекундного периода.

7. Способ по п.5 или 6, в котором по меньшей мере 10 мкг никотина, предпочтительно по меньшей мере 30 мкг никотина переводят в аэрозольное состояние из материала, генерирующего аэрозоль, при потоке воздуха по меньшей мере 1,50 л/мин в течение двухсекундного периода.

8. Способ по любому из пп.5-7, в котором ароматизатор содержит ментол.

9. Способ по любому из пп.5-8, в котором материал, генерирующий аэрозоль, содержит никотин и в котором весовое соотношение ароматизатора и никотина в аэрозоле, полученном в течение двухсекундного периода, составляет по меньшей мере примерно 2,5:1, предпочтительно по меньшей мере 6:1.

10. Способ по любому из пп.5-9, в которой материал, генерирующий аэрозоль, является твердым и содержит табак.

11. Способ по любому из пп.5-10, в котором материал, генерирующий аэрозоль, содержит агент, генерирующий аэрозоль, предпочтительно глицерин, и по меньшей мере 10 мкг агента, генерирующего аэрозоль, переводят в аэрозольное состояние в течение двухсекундного периода.

12. Способ по п.11, в котором по меньшей мере 300 мкг агента, генерирующего аэрозоль, предпочтительно по меньшей мере 500 мкг агента, генерирующего аэрозоль, переводят в аэрозольное состояние в течение двухсекундного периода.

13. Способ по любому из пп.5-12, в котором плотность аэрозоля в течение двухсекундного периода составляет по меньшей мере 0,1 мг/см3.

14. Способ по любому из пп.5-13, в котором средний размер частиц или капель в получаемом аэрозоле составляет менее примерно 1000 нм, предпочтительно менее примерно 400 нм и предпочтительно более примерно 100 нм.

15. Аэрозоль, содержащий по меньшей мере 1 мкг ароматизатора, получаемый путем индукционного нагрева материала, генерирующего аэрозоль, по меньшей мере до 150°C в потоке воздуха по меньшей мере 1,50 л/мин в течение двухсекундного периода.

16. Способ генерации аэрозоля из материала, генерирующего аэрозоль, который содержит никотин и агент, генерирующий аэрозоль, причем способ включает в себя следующие этапы, на которых: используют индукционный нагреватель для нагрева материала, генерирующего аэрозоль, по меньшей мере до 150°C, при этом аэрозоль генерируют в потоке воздуха по меньшей мере 1,50 л/мин в течение двухсекундного периода, при этом весовое соотношение ароматизатора и никотина составляет по меньшей мере примерно 2,5:1, предпочтительно по меньшей мере 6:1, в потоке воздуха по меньшей мере 1,50 л/мин в течение периода.

17. Система генерации аэрозоля, содержащая (i) изделие, генерирующее аэрозоль, содержащее материал, генерирующий аэрозоль, причем материал, генерирующий аэрозоль, содержит никотин и агент, генерирующий аэрозоль, и (ii) устройство, генерирующее аэрозоль, содержащее индукционный нагреватель, при этом во время работы изделие вставляют в устройство и генерируют аэрозоль путем использования индукционного нагревателя для нагрева материала, генерирующего аэрозоль, по меньшей мере до 150°C, при этом аэрозоль генерируют в потоке воздуха по меньшей мере 1,50 л/мин в течение двухсекундного периода, причем весовое соотношение ароматизатора и никотина составляет по меньшей мере примерно 2,5:1, предпочтительно по меньшей мере 6:1.

18. Аэрозоль, содержащий ароматизатор и никотин, причем весовое соотношение ароматизатора и никотина составляет по меньшей мере примерно 2,5:1, предпочтительно по меньшей мере 6:1, и при этом аэрозоль получают путем индукционного нагрева материала, генерирующего аэрозоль, по меньшей мере до 150°C в потоке воздуха по меньшей мере 1,50 л/мин в течение двухсекундного периода.

Описание

[1]

Область техники, к которой относится изобретение

[2]

Изобретение относится к способу генерации аэрозоля и к системе генерации аэрозоля.

[3]

Уровень техники

[4]

Курительные изделия, такие как сигареты, сигары и т.п. во время их использования сжигают табак для получения табачного дыма. Были предприняты попытки предложить альтернативы этим изделиям, который сжигают табак, путем создания изделий, которые высвобождают соединения без горения. Примерами такого изделия являются нагревательные устройства, которые выделяют соединения путем нагревания, но не сжигания материала. Вещество может представлять собой, например, табак или другие нетабачные продукты, которые могут содержать, а могут и не содержать никотин.

[5]

Раскрытие изобретения

[6]

В первом аспекте изобретения предложена система генерации аэрозоля, содержащая (i) изделие, генерирующее аэрозоль, содержащее ароматизатор, и (ii) устройство, генерирующее аэрозоль, содержащее индукционный нагреватель, при этом во время работы изделие вставляют в устройство и генерируют аэрозоль путем использования индукционного нагревателя для нагрева материала, генерирующего аэрозоль, по меньшей мере до 150°C, при этом по меньшей мере 1 мкг ароматизатора переводят в аэрозольное состояние из материала, генерирующего аэрозоль, при потоке воздуха по меньшей мере 1,50 л/м в течение двухсекундного периода.

[7]

Во втором аспекте изобретения предложен способ генерации аэрозоля из материала, генерирующего аэрозоль, который содержит ароматизатор, причем способ содержит следующее: используют индукционный нагреватель для нагрева материала, генерирующего аэрозоль, по меньшей мере до 150°C, при этом по меньшей мере 1 мкг ароматизатора переводят в аэрозольное состояние из материала, генерирующего аэрозоль, при потоке воздуха по меньшей мере 1,50 л/м в течение двухсекундного периода.

[8]

В еще одном аспекте изобретения предложен аэрозоль, содержащий по меньшей мере 1 мкг ароматизатора, который можно получить путем индукционного нагрева материала, генерирующего аэрозоль, по меньшей мере до 150°C в потоке воздуха по меньшей мере 1,50 л/м в течение двухсекундного периода.

[9]

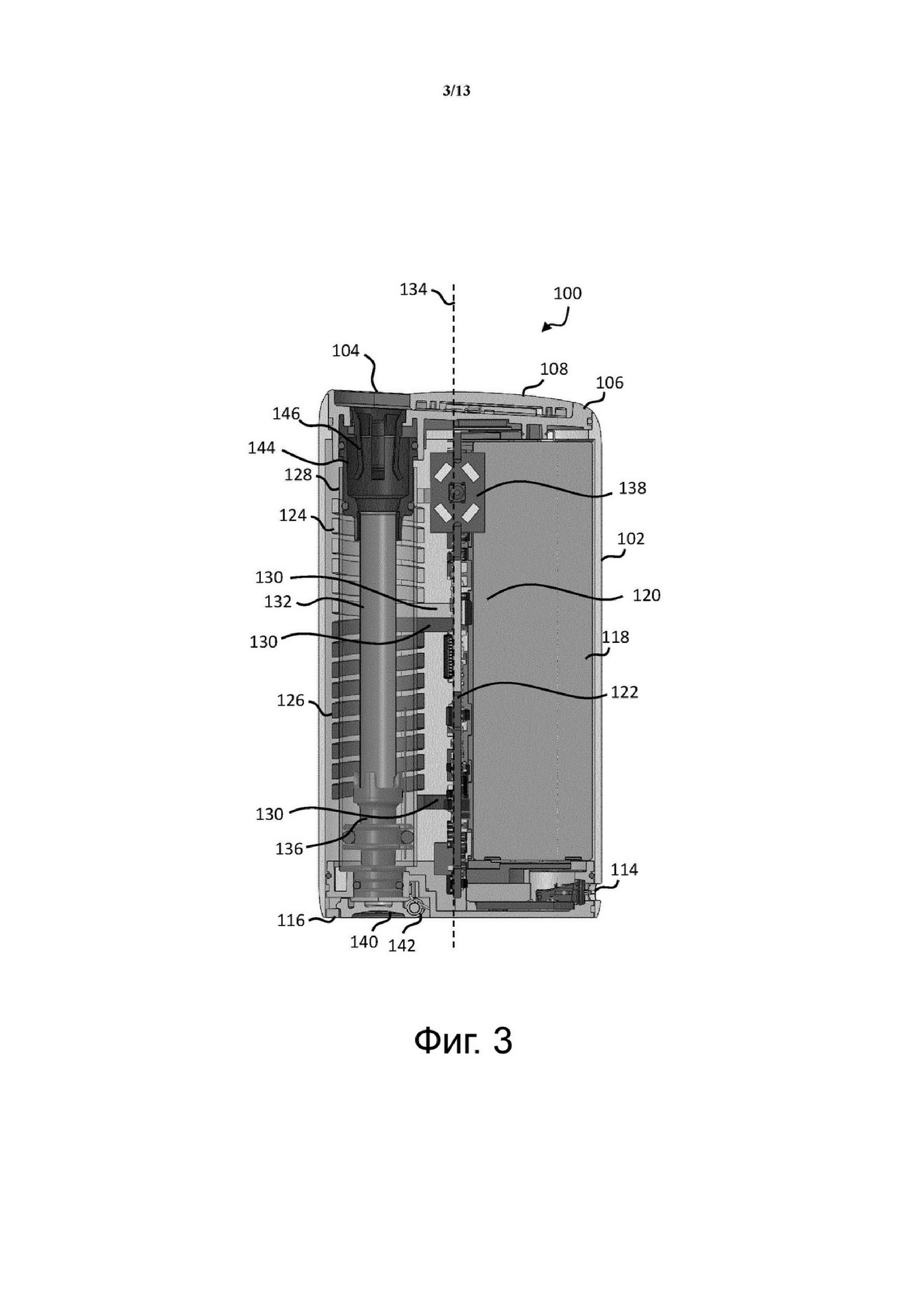
В еще одном аспекте изобретения предложен способ генерации аэрозоля из материала, генерирующего аэрозоль, который содержит никотин и агент, генерирующий аэрозоль, причем способ содержит следующее: используют индукционный нагреватель для нагрева материала, генерирующего аэрозоль, по меньшей мере до 150°C, при этом аэрозоль генерируют в потоке воздуха по меньшей мере 1,50 л/мин в течение двухсекундного периода, при этом весовое соотношение ароматизатора и никотина составляет по меньшей мере примерно 2,5:1, предпочтительно 6:1 в потоке воздуха по меньшей мере 1,50 л/м в течение периода.

[10]

В еще одном аспекте изобретения предложена система генерации аэрозоля, содержащая (i) изделие, генерирующее аэрозоль, содержащее материал, генерирующий аэрозоль, причем материал, генерирующий аэрозоль, содержит никотин и агент, генерирующий аэрозоль, и (ii) устройство, генерирующее аэрозоль, содержащее индукционный нагреватель, при этом во время работы изделие вставляют в устройство и генерируют аэрозоль путем использования индукционного нагревателя для нагрева материала, генерирующего аэрозоль, по меньшей мере до 150°C, при этом аэрозоль генерируют в потоке воздуха по меньшей мере 1,50 л/мин в течение двухсекундного периода, причем весовое соотношение ароматизатора и никотина составляет по меньшей мере примерно 2,5:1, предпочтительно 6:1.

[11]

В еще одном аспекте изобретения предложен аэрозоль, содержащий ароматизатор и никотин, причем весовое соотношение ароматизатора и никотина составляет по меньшей мере примерно 2,5:1, предпочтительно 6:1, и при этом аэрозоль можно получить путем индукционного нагрева материала, генерирующего аэрозоль, по меньшей мере до 150°C в потоке воздуха по меньшей мере 1,50 л/м в течение двухсекундного периода.

[12]

Признаки, описанные в этом документе в отношении одного аспекта изобретения, явно раскрыты в сочетании с другими аспектами в той степени, в которой они совместимы.

[13]

Другие признаки и преимущества изобретения станут очевидны из последующего описания предпочтительных вариантов осуществления изобретения, данного в виде примера, приведенного со ссылкой на прилагаемые чертежи.

[14]

Краткое описание чертежей

[15]

На фиг.1 показан вид спереди примера устройства генерации аэрозоля;

[16]

на фиг.2 показан вид спереди устройства генерации аэрозоля, показанного на фиг.1, с удаленной внешней крышкой;

[17]

на фиг.3 приведен вид в поперечном сечении устройства генерации аэрозоля, показанного на фиг.1;

[18]

на фиг.4 приведен вид в разобранном состоянии устройства генерации аэрозоля, показанного на фиг.2;

[19]

на фиг.5A показан вид в поперечном сечении примера нагревательного узла в устройстве генерации аэрозоля;

[20]

на фиг.5B показан увеличенный вид части нагревательного узла, показанного на фиг.5A;

[21]

на фиг.6A показан вид в частичном разрезе примера изделия, генерирующего аэрозоль;

[22]

на фиг.6B приведен вид в перспективе примера изделия генерации аэрозоля, показанного на фиг.6A;

[23]

на фиг.7A и 7B показаны тепловые профили, запрограммированные в примере устройства генерации аэрозоля;

[24]

на фиг.8A и 8B показана температура табака в изделии генерации аэрозоля, нагреваемого посредством запрограммированного устройства генерации аэрозоля в соответствии с фиг.7A и 7B соответственно;

[25]

на фиг.9 показана подача никотина из изделия, генерирующего аэрозоль, нагреваемого в соответствии с вариантом осуществления изобретения;

[26]

на фиг.10 показана подача глицерина из изделия, генерирующего аэрозоль, нагреваемого в соответствии с вариантом осуществления изобретения;

[27]

на фиг.11 показана подача ментола из изделия, генерирующего аэрозоль, нагреваемого в соответствии с вариантом осуществления изобретения.

[28]

Осуществление изобретения

[29]

В данном контексте выражение "материал, генерирующий аэрозоль" обозначает вещества, которые выделяют летучие компоненты при нагревании, обычно в виде аэрозоля. Материал, генерирующий аэрозоль включает в себя любые табакосодержащие вещества и может, например, включать в себя одно или несколько из следующих веществ: табак, производные табака, молотый табак, восстановленный табак или заменители табака. Материал, генерирующий аэрозоль, также может включать в себя другие, не являющиеся табачными продукты, которые в зависимости от продукта могут содержать, а могут и не содержать никотин. Материал, генерирующий аэрозоль, может, например, находиться в твердом виде, в жидком виде, в виде геля или воска. Материал, генерирующий аэрозоль, также может, например, представлять собой сочетание или смесь веществ. Материал, генерирующий аэрозоль, также может быть известен как "курительный материал" или "аэрозолируемый материал".

[30]

Известно устройство, которое нагревает материал, генерирующий аэрозоль, чтобы испарить по меньшей мере один компонент материала, генерирующего аэрозоль, обычно для образования аэрозоля, который можно вдохнуть, не сжигая или не воспламеняя материал, генерирующий аэрозоль. Такое устройство иногда описывают как "устройство генерации аэрозоля", "устройство подачи аэрозоля", "устройство для нагрева без сжигания", "устройство нагрева табачного продукта" или "устройство нагрева табака" и т.п. Аналогично, также имеются так называемые электронные сигареты, которые обычно испаряют материал, генерирующий аэрозоль, в жидком виде, которое может содержать, а может и не содержать никотин. Материал, генерирующий аэрозоль, может быть предоставлен в виде или как часть стержня, картриджа или кассеты или подобного элемента, который может быть вставлен в устройство. Нагреватель для нагрева и испарения материала, генерирующего аэрозоль, может быть выполнен в виде "перманентной" части устройства.

[31]

Устройство генерации аэрозоля может принимать изделие, содержащее материал, генерирующий аэрозоль, для нагрева. "Изделие" в данном контексте - это компонент, который включает в себя или содержит используемое материал, генерирующий аэрозоль, которое нагревают для испарения материала, генерирующего аэрозоль, и, как вариант, других используемых компонентов. Пользователь может вставлять изделие в устройство генерации аэрозоля до его нагрева, чтобы получить аэрозоль, который затем вдыхает пользователь. Изделие, например, может быть предварительно заданного или специфического размера, то есть выполнено с возможностью размещения в нагревательной камере устройства, которая имеет такой размер, чтобы принимать изделие.

[32]

Авторы изобретения установили, что использование индукционного нагревателя допускает более быстрый нагрев и больший контроль за профилем нагрева. Тепловой профиль влияет на структуру и состав аэрозоля.

[33]

Как было отмечено выше, в аспекте изобретения предложен способ генерации аэрозоля из материала, генерирующего аэрозоль, который содержит ароматизатор, причем способ содержит следующее: используют индукционный нагреватель для нагрева материала, генерирующего аэрозоль, по меньшей мере до 150°C, при этом по меньшей мере 1 мкг ароматизатора переводят в аэрозольное состояние из материала, генерирующего аэрозоль, при потоке воздуха по меньшей мере 1,50 л/м в течение двухсекундного периода.

[34]

В некоторых случаях по меньшей мере 100 мкг ароматизатора, предпочтительно по меньшей мере 200 мкг ароматизатора или по меньшей мере 500 мкг ароматизатора превращают в аэрозоль из материала, генерирующего аэрозоль, в потоке воздуха по меньшей мере 1,50 л/мин в течение двухсекундного периода.

[35]

В некоторых случаях менее примерно 1,5 мг, менее примерно 1 мг или менее примерно 750 мкг ароматизатора превращают в аэрозоль из материала, генерирующего аэрозоль, в потоке воздуха по меньшей мере 1,50 л/мин в течение двухсекундного периода.

[36]

В некоторых случаях по меньшей мере 10 мкг никотина, предпочтительно по меньшей мере 30 мкг, 50 мкг или 100 мкг никотина превращают в аэрозоль из материала, генерирующего аэрозоль, в потоке воздуха по меньшей мере 1,50 л/мин в течение двухсекундного периода. В некоторых случаях менее примерно 200 мкг, предпочтительно менее примерно 150 мкг или менее примерно 125 мкг никотина превращают в аэрозоль из материала, генерирующего аэрозоль, в потоке воздуха по меньшей мере 1,50 л/мин в течение двухсекундного периода.

[37]

Соответственно, в каждом аспекте и варианте осуществления изобретения, обсуждаемом в этом документе, воздушный поток может составлять по меньшей мере 1,55 л/м или 1,60 л/м. В некоторых случаях воздушный поток может быть меньше примерно 2,00 л/м, 1,90 л/м, 1,80 л/м или 1,70 л/м. В некоторых случаях воздушный поток может составлять примерно 1,65 л/м.

[38]

В некоторых случаях ароматизатор содержит ментол (или по существу состоит из него).

[39]

В некоторых случаях материал, генерирующий аэрозоль, содержит никотин, а весовое соотношение ароматизатора и никотина в полученном аэрозоле составляет по меньшей мере примерно 2,5:1, предпочтительно по меньшей мере 3:1, 3.5:1, 4:1, 5:1, 5.5:1 или 6:1. В некоторых случаях соотношение может быть меньше примерно 20:1 или 17:1.

[40]

В некоторых случаях материал, генерирующий аэрозоль, содержит агент, генерирующий аэрозоль, который может предпочтительно содержать глицерин (или по существу состоять из него). В некоторых случаях по меньшей мере 10 мкг агента, генерирующего аэрозоль, предпочтительно по меньшей мере 100 мкг, 300 мкг или 500 мкг агента, генерирующего аэрозоль, превращают в аэрозоль из материала, генерирующего аэрозоль, в потоке воздуха по меньшей мере 1,50 л/мин в течение периода.

[41]

В некоторых случаях материал, генерирующий аэрозоль, представляет собой твердый или гелевый материал. То есть способ может представлять собой способ получения аэрозоля из продукта для нагревания табака, также известного как устройство для нагрева без сжигания. В некоторых случаях материал, генерирующий аэрозоль, содержит табак. В некоторых случаях материал, генерирующий аэрозоль, является твердым и содержит табак.

[42]

В некоторых случаях материал, генерирующий аэрозоль, содержит восстановленный табак. В некоторых случаях он содержит или состоит из примерно от 220 мг до примерно 400 мг. В некоторых случаях он содержит от примерно 220 мг до примерно 300 мг, предпочтительно от примерно 240 мг до примерно 280 мг, соответственно примерно 260 мг восстановленного табачного материала. В некоторых случаях он содержит от примерно 320 мг до примерно 400 мг, предпочтительно от примерно 320 мг до примерно 370 мг, соответственно примерно 340 мг восстановленного табачного материала.

[43]

В некоторых случаях материал, генерирующий аэрозоль, который может содержать табачный материал, соответственно восстановленный табачный материал, описанный в предыдущем абзаце, может иметь содержание никотина примерно от 5 мг/г до 15 мг/г (в пересчете на сухой вес), предпочтительно примерно от 7 мг/г до 12 мг/г. В некоторых случаях материал, генерирующий аэрозоль, который может содержать табачный материал, может иметь содержание агента, генерирующего аэрозоль (предпочтительно глицерина), примерно от 130 мг/г до 170 мг/г, предпочтительно примерно от 145 мг/г до 155 мг/г (по всей сухой массе). В некоторых случаях содержание воды в материале, генерирующем аэрозоль, может составлять примерно от 5 до 8% массы (по влажной массе). В некоторых случаях материал, генерирующий аэрозоль, содержит по меньшей мере примерно 1,5 мг никотина, предпочтительно по меньшей мере примерно 1,7 мг, 1,8 мг или 1,9 мг никотина. В некоторых случаях материал, генерирующий аэрозоль, содержит по меньшей мере примерно 25 мг агента, генерирующего аэрозоль, предпочтительно по меньшей мере примерно 30 мг, 32 мг, 34 мг или 36 мг агента, генерирующего аэрозоль, который в некоторых случаях может содержать или состоять из глицерина. В некоторых случаях материал, генерирующий аэрозоль, содержит агент, генерирующий аэрозоль, и никотин в массовом соотношении по меньшей мере 10:1, предпочтительно по меньшей мере 12:1, 14:1 или 16:1.

[44]

В некоторых случаях материал, генерирующий аэрозоль, который может содержать табачный материал, предпочтительно восстановленный табачный материал, обсуждавшийся выше, содержит примерно от 10 мг/г до 50 мг/г ароматизатора (по массе). Предпочтительно, материал может содержать примерно от 20 мг/г до 40 мг/г, предпочтительно примерно от 25 мг/г до 35 мг/г ароматизатора. В некоторых случаях ароматизатор может содержать ментол (или по существу состоять из него).

[45]

В некоторых случаях плотность аэрозоля составляет по меньшей мере 0,2 мкг/см3, 0,3 мкг/см3 или 0,4 мкг/см3. В некоторых случаях плотность аэрозоля составляет менее примерно 2,5 мкг/см3, 2,0 мкг/см3, 1,5 мкг/см3 или 1,0 мкг/см3.

[46]

Как определено в этом документе, выражение "средний размер частиц или капель" относится к среднему размеру твердых или жидких компонентов аэрозоля (то есть компонентов, взвешенных в газе). Если аэрозоль содержит взвешенные жидкие капли и взвешенные твердые частицы, то выражение относится к среднему размеру всех компонентов вместе.

[47]

В некоторых случаях средний размер частиц или капель в образующемся аэрозоле может быть меньше примерно 900 нм, 800 нм, 700, 600 нм, 500 нм, 450 нм или 400 нм. В некоторых случаях средний размер частиц или капель может составлять более примерно 50 нм или 100 нм.

[48]

В другом аспекте изобретения предложена система генерации аэрозоля, содержащая (i) изделие, генерирующее аэрозоль, содержащее ароматизатор, и (ii) устройство, генерирующее аэрозоль, содержащее индукционный нагреватель, при этом во время работы изделие вставляют в устройство и генерируют аэрозоль путем использования индукционного нагревателя для нагрева материала, генерирующего аэрозоль, по меньшей мере до 150°C, при этом по меньшей мере 1 мкг ароматизатора переводят в аэрозольное состояние из материала, генерирующего аэрозоль, при потоке воздуха по меньшей мере 1,50 л/м в течение двухсекундного периода.

[49]

В некоторых случаях материал, генерирующий аэрозоль, представляет собой твердый или гелевый материал. То есть система может представлять собой продукт для нагревания табака, также известный как устройство для нагрева без сжигания. В некоторых случаях материал, генерирующий аэрозоль, содержит табак. В некоторых случаях материал, генерирующий аэрозоль, является твердым и содержит табак.

[50]

В некоторых случаях изделие вставляют в устройство во время работы, и аэрозоль генерируют с помощью индукционного нагревателя для нагрева материала, генерирующего аэрозоль, по меньшей мере до 150°C, при этом общее количество ароматизатора, переводимого в аэрозольное состояние из материала, генерирующего аэрозоль, во время по меньшей мере 7 двухсекундных периодов при потоке воздуха по меньшей мере 1,50 л/м, составляет по меньшей мере примерно 1,5 мг. Предпочтительно, общее количество ароматизатора, переводимого в аэрозольное состояние из материала, генерирующего аэрозоль, во время по меньшей мере 9 двухсекундных периодов при потоке воздуха по меньшей мере 1,50 л/м, составляет по меньшей мере примерно 2,3 мг, 2,4 мг, 2,5 мг или 2,6 мг.

[51]

В некоторых случаях во время работы изделие вставляют в устройство, и аэрозоль генерируют с помощью индукционного нагревателя для нагрева материала, генерирующего аэрозоль, по меньшей мере до 150°C, при этом в аэрозоле, образующемся во время по меньшей мере 7 двухсекундных периодов при потоке воздуха по меньшей мере 1,50 л/м, средняя плотность аэрозоля составляет по меньшей мере 0,6 мкг/см3, предпочтительно по меньшей мере 0,8 мкг/см3. Другими словами, изделие может генерировать по меньшей мере 4,2 мкг/см3, предпочтительно по меньшей мере 5,6 мкг/см3 аэрозоля за 7 двухсекундных периодов.

[52]

В некоторых случаях во время работы изделие вставляют в устройство, и аэрозоль генерируют с помощью индукционного нагревателя для нагрева материала, генерирующего аэрозоль, по меньшей мере до 150°C, при этом в аэрозоле, образующемся во время по меньшей мере 9 двухсекундных периодов при потоке воздуха по меньшей мере 1,50 л/м в течение этих периодов, причем средняя плотность аэрозоля составляет по меньшей мере 0,4 мкг/см3, предпочтительно по меньшей мере 0,6 мкг/см3. Другими словами, изделие может генерировать по меньшей мере 3,6 мкг/см3, предпочтительно по меньшей мере 5,4 мкг/см3 аэрозоля за 9 двухсекундных периодов.

[53]

Нагреватель в устройстве представляет собой индукционный нагреватель. Воспринимающий элемент представляет собой цилиндрическую камеру, в которую при использовании вставляют изделие, так что материал, генерирующий аэрозоль, нагревают с помощью воспринимающего элемента. Длина цилиндрической камеры может составлять примерно от 40 мм до 60 мм, примерно от 40 мм до 50 мм, примерно от 40 мм до 45 мм или примерно 44,5 мм. Диаметр цилиндрической камеры может составлять примерно от 5,0 мм до 6,5 мм, предпочтительно примерно от 5,35 мм до 6,0 мм, предпочтительно примерно от 5,5 до 5,6 мм, предпочтительно примерно 5,55 мм.

[54]

Изделие, генерирующее аэрозоль, может содержать материал, генерирующий аэрозоль, и оберточный материал, расположенный вокруг материала, генерирующего аэрозоль. В некоторых случаях материал, генерирующий аэрозоль, содержит табак. Табак может быть любым подходящим твердым табаком, например отдельными сортами или смесями, резаными листьями табака или целыми листьями, измельченным табаком, табачным волокном, резаным табаком, экструдированным табаком, стеблем табака и/или восстановленным табаком. Табак может быть любого типа, включая табак Вирджиния, и/или Берлей, и/или Ориентал.

[55]

Материал, генерирующий аэрозоль, может представлять собой стержень из материала, генерирующего аэрозоль. Обертка может образовывать трубку, расположенную вокруг стержня материала, генерирующего аэрозоль. В данном контексте термин "стержень" обычно относится к удлиненному телу, которое может иметь любую подходящую форму для использования в устройстве, генерирующем аэрозоль. В некоторых случаях стержень имеет по существу цилиндрическую форму. Цилиндрический корпус из материала, генерирующего аэрозоль, может иметь длину примерно от 34 мм до 50 мм, предпочтительно примерно от 38 мм до 46 мм, предпочтительно около 42 мм в длину. Цилиндрический корпус из материала, генерирующего аэрозоль, имеет диаметр примерно от 5,0 мм до 6,0 мм, предпочтительно примерно от 5,25 мм до 5,45 мм, предпочтительно примерно от 5,35 мм до 5,40 мм, предпочтительно примерно 5,39 мм. В некоторых случаях материал, генерирующий аэрозоль, может заполнять по меньшей мере около 85% пустоты, ограниченной воспринимающим элементом.

[56]

Материал, генерирующий аэрозоль, в дополнение к ароматизатору может содержать одно или несколько из следующего: агенты, генерирующие аэрозоль, связующее вещество, наполнитель, никотин (который может быть включен в табачный материал) и один или несколько ароматизаторов.

[57]

Изделие, генерирующее аэрозоль, также может содержать один или несколько из следующих компонентов: фильтр, охлаждающий элемент и мундштук.

[58]

В некоторых случаях изделие, генерирующее аэрозоль, содержит обертку, которая по меньшей мере частично окружает другие компоненты изделия, включая один или несколько из следующих: фильтр, охлаждающий элемент, мундштук и материал, генерирующий аэрозоль. В некоторых случаях обертка может окружать периметр каждого из этих компонентов. Обертка может иметь толщину примерно от 10 мкм до 50 мкм, предпочтительно примерно от 15 мкм до 45 мкм или примерно от 20 мкм до 40 мкм. В некоторых случаях обертка может содержать бумажный слой, а в некоторых случаях плотность бумаги может составлять от по меньшей мере примерно 10 г/м-2, 15 г/м-2, 20 г/м-2 или 25 г/м-2 до примерно 50 г/м-2, 45 г/м-2, 40 г/м-2 или 35 г/м-2. В некоторых случаях обертка может содержать негорючий слой, например металлическую фольгу. Соответственно, обертка может содержать слой алюминиевой фольги, который может иметь толщину примерно от 3 мкм до 15 мкм, предпочтительно примерно от 5 мкм до 10 мкм, предпочтительно примерно 6 мкм. Обертка может содержать слоистую структуру, и в некоторых случаях слоистая структура может содержать по меньшей мере один бумажный слой и по меньшей мере один негорючий слой.

[59]

В некоторых таких случаях в обертке предусмотрены вентиляционные отверстия. В некоторых случаях степень вентиляции, обеспечиваемая отверстиями (т.е. количество вдыхаемого воздуха, проходящего через вентиляционные отверстия в процентах от объема аэрозоля), может составлять примерно от 5% до 85%, предпочтительно по меньшей мере 20%, 35%, 50% или 60%. Вентиляционные отверстия могут быть выполнены в обертке на участке, который окружает один или несколько из следующих элементов: фильтр, охлаждающий элемент и мундштук.

[60]

Обращаясь теперь к фигурам, на фиг.1 показан пример устройства 100 генерации аэрозоля для получения аэрозоля из среды/материала, генерирующего аэрозоль. В общих чертах, устройство 100 можно использовать для нагрева сменного изделия 110, содержащего среду, генерирующую аэрозоль, для получения аэрозоля или другой вдыхаемой среды, которую вдыхает пользователь устройства 100.

[61]

Устройство 100 содержит корпус 102 (в виде внешней крышки), который окружает и вмещает в себя различные компоненты устройства 100. Устройство 100 имеет отверстие 104 на одном конце, через которое изделие 110 может быть вставлено для нагрева нагревательным узлом. При использовании изделие 110 может быть полностью или частично вставлено в нагревательный узел, где оно может быть нагрето одним или несколькими компонентами нагревательного узла.

[62]

Устройство 100 в этом примере содержит первый концевой элемент 106, который содержит крышку 108, который может перемещаться относительно первого концевого элемента 106, чтобы закрывать отверстие 104, когда изделие 110 отсутствует на месте. На фиг.1 крышка 108 показана в открытой конфигурации, однако крышка 108 может перейти в закрытую конфигурацию. Например, пользователь может сдвинуть крышку 108 в направлении стрелки "А".

[63]

Устройство 100 также может включать в себя управляемый пользователем элемент 112 управления, такой как кнопка или переключатель, при нажатии на который приводят в действие устройство 100. Например, пользователь может включить устройство 100 с помощью переключателя 112.

[64]

Устройство 100 также может содержать электрический компонент, такой как гнездо/порт 114, который может принимать кабель для зарядки батареи устройства 100. Например, гнездо 114 может представлять собой порт зарядки, например USB-порт зарядки. В некоторых примерах гнездо 114 может быть использовано в дополнение или в качестве альтернативы к передаче данных между устройством 100 и другим устройством, таким как вычислительное устройство.

[65]

На фиг.2 изображено устройство 100, показанное на фиг.1, со снятой внешней крышкой 102 и без изделия 110. Устройство 100 определяет продольную ось 134.

[66]

Как показано на фиг.2, первый концевой элемент 106 расположен на одном конце устройства 100, а второй концевой элемент 116 расположен на противоположном конце устройства 100. Первый и второй концевые элементы 106, 116 вместе по меньшей мере частично ограничивают торцевые поверхности устройства 100. Например, нижняя поверхность второго концевого элемента 116 по меньшей мере частично ограничивает нижнюю поверхность устройства 100. Края внешней крышки 102 также могут ограничивать часть торцевых поверхностей. В этом примере крышка 108 также ограничивает часть верхней поверхности устройства 100.

[67]

Конец устройства, ближайший к отверстию 104, может быть известен как проксимальный конец (или конец ближе ко рту) устройства 100, потому что при использовании он находится ближе всего ко рту пользователя. При использовании пользователь вставляет изделие 110 в отверстие 104, задействует пользовательский элемент 112 управления, чтобы начать нагрев материала, генерирующего аэрозоль, и втягивает аэрозоль, образующийся в устройстве. Это заставляет аэрозоль проходить через устройство 100 по пути потока к проксимальному концу устройства 100.

[68]

Другой конец устройства, наиболее удаленный от отверстия 104, может быть известен как дистальный конец устройства 100, поскольку при использовании он является наиболее удаленным ото рта пользователя. Когда пользователь втягивает аэрозоль, образующийся в устройстве, аэрозоль проходит от дистального конца устройства 100.

[69]

Устройство 100 также содержит источник 118 питания. Источник 118 питания может представлять собой, например, батарею, такую как перезаряжаемая батарея или неперезаряжаемая батарея. Примеры подходящих батарей включают в себя, например, литиевую батарею (например, литий-ионную батарею), никелевую батарею (такую как никель-кадмиевая батарея) и щелочную батарею. Батарею электрически соединяют с нагревательным узлом для подачи электроэнергии, когда это необходимо, и под управлением контроллера (не показан) для нагрева материала, генерирующего аэрозоль. В этом примере батарея соединена с центральной опорой 120, которая удерживает батарею 118 на месте.

[70]

Устройство также содержит по меньшей мере один электронный модуль 122. Электронный модуль 122 может содержать, например, печатную плату (PCB). Печатная плата 122 может поддерживать по меньшей мере один контроллер, такой как процессор и память. Печатная плата 122 также может содержать одну или несколько электрических дорожек для электрического соединения между собой различных электронных компонентов устройства 100. Например, клеммы батареи могут быть электрически подключены к печатной плате 122, так что мощность может быть распределена по всему устройству 100. Гнездо 114 также может быть электрически соединено с батареей посредством электрических дорожек.

[71]

В примере устройства 100 нагревательный узел представляет собой узел индукционного нагрева и содержит различные компоненты для нагрева материала, генерирующего аэрозоль, изделия 110 посредством процесса индукционного нагрева. Индукционный нагрев - это процесс нагрева электропроводящего объекта (например, воспринимающего элемента) с помощью электромагнитной индукции. Индукционный нагревательный узел может содержать индуктивный элемент, например одну или несколько индукционных катушек, и устройство для пропускания меняющегося электрического тока, например переменного электрического тока, через индуктивный элемент. Меняющийся электрический ток в индуктивном элементе создает изменяющееся магнитное поле. Переменное магнитное поле проникает через воспринимающий элемент, расположенный соответствующим образом относительно индуктивного элемента, и создавая вихревые токи внутри воспринимающего элемента. Воспринимающий элемент обладает электрическим сопротивлением вихревым токам, и, следовательно, поток вихревых токов против этого сопротивления вызывает нагрев воспринимающего элемента за счет джоулева нагрева. В случаях, когда воспринимающий элемент содержит ферромагнитный материал, такой как железо, никель или кобальт, тепло может также генерироваться потерями на магнитный гистерезис в воспринимающем элементе, то есть изменяющейся ориентацией магнитных диполей в магнитном материале в результате их совмещения с изменяющимся магнитным полем. При индукционном нагреве, по сравнению, например, с нагревом посредством теплопередачи, внутри воспринимающего элемента вырабатывается тепло, что обеспечивает быстрый нагрев. Кроме того, нет необходимости в каком-либо физическом контакте между индукционным нагревателем и воспринимающим элементом, что обеспечивает большую свободу в конструкции и применении.

[72]

Узел индукционного нагрева примера устройства 100 содержит воспринимающую конструкцию 132 (называемую в этом документе "воспринимающим элементом"), первую катушку 124 индуктивности и вторую катушку 126 индуктивности. Первая и вторая катушки 204, 206 индуктивности выполнены из электропроводного материала. В этом примере первая и вторая катушки 124, 126 индуктивности выполнены из обмоточного провода/кабеля, намотанного по спирали для образования спиральных катушек 124, 126 индуктивности. Обмоточный провод состоит из множества отдельных проводов, которые изолированы по отдельности и скручены друг с другом, образуя единый провод. Обмоточные провода предназначены для уменьшения потерь на скин-эффект в проводнике. В примере устройства 100 первая и вторая катушки 124, 126 индуктивности изготовлены из медного обмоточного провода, имеющего прямоугольное поперечное сечение. В других примерах обмоточный провод может иметь поперечное сечение другой формы, например круглой.

[73]

Первая катушка 124 индуктивности выполнена с возможностью генерации первого переменного магнитного поля для нагревания первого участка воспринимающего элемента 132, а вторая катушка индуктивности 126 индуктивности выполнена с возможностью генерации второго переменного магнитного поля для нагревания второго участка воспринимающего элемента 132. В этом примере первая катушка 124 индуктивности примыкает ко второй катушке 126 индуктивности в направлении вдоль продольной оси 134 устройства 100 (то есть первая и вторая катушки 124, 126 индуктивности не перекрываются). Воспринимающая конструкция 132 может содержать один или два или несколько отдельных воспринимающих элементов. Концы 130 первой и второй катушек 124, 126 индуктивности могут быть подключены к печатной плате 122.

[74]

Понятно, что первая и вторая катушки 124, 126 индуктивности в некоторых примерах могут иметь, по меньшей мере, одну характеристику, отличающуюся друг от друга. Например, первая катушка 124 индуктивности может иметь, по меньшей мере, одну характеристику, отличную от характеристики второй индукционной катушки 126. Более конкретно, в одном примере первая индукционная катушка 124 может иметь значение индуктивности, отличное от значения индуктивности второй индукционной катушки 126. На фиг.2 первая и вторая катушки 124, 126 индуктивности имеют разные длины, так что первая катушка 124 индуктивности намотана на меньшую секцию воспринимающего элемента 132, чем вторая катушка 126 индуктивности. Таким образом, первая катушка 124 индуктивности может содержать другое число витков, чем вторая катушка 126 индуктивности (при условии, что расстояние между отдельными витками по существу одинаковое). В еще одном примере первая катушка индуктивности 124 может быть изготовлена из материала, отличного от материала второй индукционной катушки 126. В некоторых примерах первая и вторая индукционные катушки 124, 126 могут быть по существу идентичными.

[75]

В этом примере первая катушка 124 индуктивности и вторая катушка 126 индуктивности намотаны в противоположных направлениях. Это может быть полезно, когда катушки индуктивности включают в разное время. Например, сначала может работать первая катушка 124 индуктивности, чтобы нагревать первую секцию изделия 110, а в позднее может работать вторая катушка 126 индуктивности, чтобы нагревать вторую секцию изделия 110. Намотка катушек в противоположных направлениях помогает уменьшить ток, наведенный в неактивной катушке, при использовании в сочетании с определенным типом схемы управления. На фиг.2 первая катушка 124 индуктивности представляет собой правую спираль, а вторая катушка 126 индуктивности представляет собой левую спираль. Однако в другом варианте осуществления катушки 124, 126 индуктивности могут быть намотаны в одном направлении, или первая катушка 124 индуктивности может представлять собой левую спираль, а вторая катушка 126 индуктивности может представлять собой правую спираль.

[76]

Воспринимающий элемент 132 в этом примере является полым и, следовательно, ограничивает емкость, в которую помещают материал, генерирующий аэрозоль. Например, изделие 110 может быть вставлено в воспринимающий элемент 132. В этом примере воспринимающий элемент 120 является трубчатым с круглым поперечным сечением.

[77]

В этом примере первая катушка 124 (которая находится ближе к мундштуку) намотан вокруг примерно одной трети длины воспринимающего элемента 132, а вторая катушка 126 (которая находится ближе к дистальному концу) намотана вокруг приблизительно двух третей длины воспринимающего элемента 132. То есть, соотношение длин катушек составляет 1:2, где под длиной катушки понимают расстояние вдоль оси, при этом ось представляет собой ось, вокруг которой намотаны катушки. Можно использовать другие соотношения длин. Например, в некоторых случаях соотношение длин первой катушки 124 и второй катушки 126 может быть в диапазоне от примерно 1:4 до примерно 4:1.

[78]

Устройство 100 на фиг.2 также содержит изолирующий элемент 128, который может быть в целом трубчатым и по меньшей мере частично окружать воспринимающий элемент 132. Изолирующий элемент 128 может быть изготовлен из любого изоляционного материала, например из пластика. В этом конкретном примере изолирующий элемент изготовлен из полиэфирэфиркетона (PEEK). Изолирующий элемент 128 может помочь изолировать различные компоненты устройства 100 от тепла, выделяемого в воспринимающем элементе 132.

[79]

Изолирующий элемент 128 также может полностью или частично поддерживать первую и вторую катушки индуктивности 124, 126. Например, как показано на фиг.2, первая и вторая катушки 124, 126 индуктивности расположены вокруг изолирующего элемента 128 и находятся в контакте с внешней в радиальном направлении поверхностью изолирующего элемента 128. В некоторых примерах изолирующий элемент 128 не упирается в первую и вторую катушки 124, 126 индуктивности. Например, между внешней поверхностью изолирующего элемента 128 и внутренней поверхностью первой и второй катушек 124, 126 индуктивности может быть небольшой промежуток.

[80]

В конкретном примере воспринимающий элемент 132, изолирующий элемент 128 и первая и вторая катушки 124, 126 индуктивности лежат на одной центральной продольной оси воспринимающего элемента 132.

[81]

На фиг.3 показан вид сбоку устройства 100 в частичном разрезе. В этом примере присутствует внешняя крышка 102. Прямоугольная форма поперечного сечения первой и второй катушек 124, 126 индуктивности видна более отчетливо.

[82]

Устройство 100 также содержит опору 136, которая входит в зацепление с одним концом воспринимающего элемента 132, удерживая воспринимающий элемент 132 на месте. Опора 136 соединена со вторым концевым элементом 116.

[83]

Устройство также может содержать вторую печатную плату 138, связанную с элементом 112 управления.

[84]

Устройство 100 также содержит вторую крышку/колпачок 140 и пружину 142, расположенную по направлению к дистальному концу устройства 100. Пружина 142 позволяет открывать вторую крышку 140 для обеспечения доступа к воспринимающему элементу 132. Пользователь может открыть вторую крышку 140, чтобы очистить воспринимающий элемент 132 и/или опору 136.

[85]

Устройство 100 также содержит расширительную камеру 144, которая проходит от проксимального конца воспринимающего элемента 132 к отверстию 104 устройства. По меньшей мере частично внутри расширительной камеры 144 расположен удерживающий зажим 146, который упирается в изделие 110 и удерживает его в устройстве 100. Расширительная камера 144 соединена с концевым элементом 106.

[86]

На фиг.4 приведено покомпонентное изображение устройства 100, показанного на фиг.1, без внешней крышки 102.

[87]

На фиг.5A показано поперечное сечение части устройства 100, показанного на фиг.1. На фиг.5B крупным планом изображена область фиг.5A. На фиг.5А и 5В показано изделие 110, помещенное в воспринимающий элемент 132, при этом размер изделия 110 такой, что внешняя поверхность изделия 110 примыкает к внутренней поверхности воспринимающего элемента 132. Это обеспечивает наиболее эффективный нагрев. Изделие 110 этого примера содержит материал 110a, генерирующий аэрозоль. Материал 110a, генерирующий аэрозоль, расположен внутри воспринимающего элемента 132. Изделие 110 также может содержать другие компоненты, такие как фильтр, оберточные материалы и/или охлаждающую конструкцию.

[88]

На фиг.5В показано, что внешняя поверхность воспринимающего элемента 132 отстоит от внутренней поверхности катушек 124, 126 индуктивности на расстояние 150, измеренное в направлении, перпендикулярном продольной оси 158 воспринимающего элемента 132. В одном конкретном примере расстояние 150 составляет примерно от 3 мм до 4 мм, примерно от 3 мм до 3,5 мм или примерно 3,25 мм.

[89]

На фиг.5В также показано, что внешняя поверхность изолирующего элемента 128 отстоит от внутренней поверхности катушек 124, 126 индуктивности на расстояние 152, измеренное в направлении, перпендикулярном продольной оси 158 воспринимающего элемента 132. В одном конкретном примере расстояние 152 составляет примерно 0,05 мм. В другом примере расстояние 152 составляет по существу 0 мм, так что катушки 124, 126 индуктивности упираются в изолирующий элемент 128 и касаются его.

[90]

В одном примере воспринимающий элемент 132 имеет толщину 154 стенки примерно от 0,025 мм до 1 мм или примерно 0,05 мм.

[91]

В одном примере воспринимающий элемент 132 имеет длину примерно от 40 мм до 60 мм, примерно 40-45 мм или примерно 44,5 мм.

[92]

В одном примере изолирующий элемент 128 имеет толщину 156 стенки примерно от 0,25 мм до 2 мм, от 0,25 мм до 1 мм или примерно 0,5 мм.

[93]

Концевой элемент 116 также может содержать один или несколько электрических компонентов, таких как гнездо/порт 114. Гнездо 114 в этом примере представляет собой внутренний USB-порт зарядки.

[94]

Со ссылкой на фиг.6A и 6B показан вид в частичном разрезе и вид в перспективе примера изделия 110, генерирующего аэрозоль. Изделие 110. При использовании изделие 110 может быть вставлено с возможностью извлечения в устройство 100, показанное на фиг.1, в отверстие 104 устройства 100.

[95]

Изделие 110 в одном примере имеет форму, по существу, цилиндрического стержня, который включает в себя корпус из материала 303, генерирующего аэрозоль, и фильтр 305 в сборе в форме стержня. Фильтр 305 в сборе включает в себя три сегмента, охлаждающий сегмент 307, фильтрующий сегмент 309 и сегмент 311 мундштука. Изделие 110 имеет первый конец 313, также известный как мундштук или проксимальный конец, и второй конец 315, также известный как дистальный конец. Корпус 303 из материала 103, генерирующего аэрозоль, расположен ближе к дистальному концу 315 изделия 110. В одном примере охлаждающий сегмент 307 расположен рядом с корпусом из материала 303, генерирующего аэрозоль, между корпусом из материала 103, генерирующего аэрозоль, и фильтрующим сегментом 309, так что охлаждающий сегмент 307 упирается в материал 303, генерирующий аэрозоль, и фильтрующий сегмент 309. В других примерах может быть разделение между корпусом из материала 303, генерирующего аэрозоль, и охлаждающим сегментом 307, а также между корпусом из материала 303, генерирующего аэрозоль, и фильтрующим сегментом 309. Фильтрующий сегмент 309 расположен между охлаждающим сегментом 307 и сегментом 311 мундштука. Сегмент 311 мундштука расположен по направлению к проксимальному концу 313 изделия 110, рядом с фильтрующим сегментом 309. В одном примере фильтрующий сегмент 309 примыкает к сегменту 311 мундштука. В одном варианте осуществления общая длина фильтра 305 в сборе составляет от 37 мм до 45 мм, более предпочтительно, общая длина фильтра 305 в сборе составляет 41 мм.

[96]

В одном варианте осуществления корпус из материала 303, генерирующего аэрозоль, содержит табак. Тем не менее, в других вариантах осуществления материал, генерирующий аэрозоль, может состоять из табака, может состоять по существу целиком из табака, может содержать табак и материал, генерирующий аэрозоль, отличный от табака, может содержать материал, генерирующий аэрозоль, отличный от табака или может не содержать табак. Материал, генерирующий аэрозоль, может включать в себя агент, генерирующий аэрозоль, такой как глицерин.

[97]

В одном примере корпус из материала 303, генерирующего аэрозоль, имеет длину от 34 мм до 50 мм, более предпочтительно корпус из материала 303, генерирующего аэрозоль, имеет длину от 38 мм до 46 мм, еще более предпочтительно корпус из материала 303, генерирующего аэрозоль, имеет длину 42 мм.

[98]

В одном примере общая длина изделия 110 составляет от 71 мм до 95 мм, более предпочтительно общая длина изделия 110 составляет от 79 мм до 87 мм, еще более предпочтительно общая длина изделия 110 составляет 83 мм.

[99]

Осевой конец корпуса из материала 303, генерирующего аэрозоль, виден на дистальном конце 315 изделия 110. Однако в других вариантах реализации дистальный конец 315 изделия 110 может содержать концевой элемент (не показан), закрывающий осевой конец корпуса из материала 303, генерирующего аэрозоль.

[100]

Корпус из материала 303, генерирующего аэрозоль, соединен с фильтром 305 в сборе кольцевой ободковой бумагой (не показана), которая расположена по существу по окружности фильтра105 в сборе, чтобы окружать фильтр 305 в сборе, и частично проходит по длине корпуса фильтра из материала 303, генерирующего аэрозоль. В одном примере ободковая бумага изготовлена из стандартной ободковой бумаги-основы 58GSM. В одном примере имеет длину от 42 мм до 50 мм, более предпочтительно ободковая бумага имеет длину 46 мм.

[101]

В одном примере охлаждающий сегмент 307 представляет собой кольцевую трубку, расположенную вокруг охлаждающего сегмента и ограничивающую воздушный зазор в нем. Воздушный зазор обеспечивает камеру для протекания нагретых летучих компонентов, образующихся из массы материала 303, генерирующего аэрозоль. Охлаждающий сегмент 307 является полым, чтобы обеспечить камеру для накопления аэрозоля, но при этом достаточно жестким, чтобы выдерживать осевые сжимающие силы и изгибающие моменты, которые могут возникать во время производства, а также когда изделие 110 используют во время вставки в устройство 100. В одном примере толщина стенки охлаждающего сегмента 307 составляет приблизительно 0,29 мм.

[102]

Охлаждающий сегмент 307 обеспечивает физическое перемещение между материалом 303, генерирующим аэрозоль, и фильтрующим сегментом 309. Физическое смещение, обеспечиваемое охлаждающим сегментом 307, будет обеспечивать температурный градиент по длине охлаждающего сегмента 307. В одном примере охлаждающий сегмент 307 выполнен с возможностью обеспечивать разницу температур, равную по меньшей мере 40 градусов Цельсия, между нагретым летучим компонентом, входящим в первый конец охлаждающего сегмента 307, и нагретым летучим компонентом, выходящим из второго конца охлаждающего сегмента 307. В одном примере охлаждающий сегмент 307 выполнен с возможностью обеспечивать разницу температур, равную по меньшей мере 60 градусов Цельсия, между нагретым летучим компонентом, входящим в первый конец охлаждающего сегмента 307, и нагретым летучим компонентом, выходящим из второго конца охлаждающего сегмента 307. Этот перепад температур по длине охлаждающего элемента 307 защищает чувствительный к температуре фильтрующий сегмент 309 от высоких температур материала 303, генерирующего аэрозоль, когда его нагревают нагревательной конструкцией устройства 100. Если между фильтрующим сегментом 309 и корпусом из материала 303, генерирующего аэрозоль, и нагревательными элементами устройства 100 не было бы обеспечено физическое смещение, то термочувствительный фильтрующий сегмент 309 мог быть поврежден при использовании, и поэтому он не смог бы эффективно выполнять требуемые функции.

[103]

В одном примере длина охлаждающего сегмента 307 составляет не менее 15 мм. В одном примере длина охлаждающего сегмента 307 составляет от 20 мм до 30 мм, более конкретно от 23 мм до 27 мм, более конкретно от 25 мм до 27 мм, более предпочтительно 25 мм.

[104]

Охлаждающий сегмент 307 изготовлен из бумаги, что означает, что он состоит из материала, который не выделяет опасные соединения, например токсичные соединения, при использовании рядом с нагревательной конструкцией устройства 100. В одном примере охлаждающий сегмент 307 изготовлен из спирально намотанной бумажной трубки, которая обеспечивает полую внутреннюю камеру, но сохраняет механическую жесткость. Спирально намотанные трубки соответствуют жестким требованиям к точности размеров, предъявляемым к высокоскоростным производственным процессам, в отношении длины, внешнего диаметра, круглости и прямолинейности трубки.

[105]

В другом примере охлаждающий сегмент 307 представляет собой углубление, образованное жесткой заглушкой из обертки или ободковой бумагой. Жесткую заглушку из обертки или ободковую бумагу изготавливают так, чтобы они имели жесткость, достаточную для того, чтобы выдерживать осевые сжимающие силы и изгибающие моменты, которые могут возникать во время производства и пока изделие 110 используют во время вставки в устройство 100.

[106]

Для каждого из примеров охлаждающего сегмента 307 точность размеров охлаждающего сегмента достаточна, чтобы соответствовать требованиям к точности размеров для высокоскоростного производственного процесса.

[107]

Фильтрующий сегмент 309 может быть сформирован из любого фильтрующего материала, достаточного для удаления одного или нескольких летучих соединений из нагретых летучих компонентов материала, генерирующего аэрозоль. В одном примере фильтрующий сегмент 309 изготовлен из моноацетатного материала, такого как ацетат целлюлозы. Фильтрующий сегмент 309 обеспечивает охлаждение и уменьшение раздражения от нагретых летучих компонентов, не снижая количество нагретых летучих компонентов до неудовлетворительного для пользователя уровня.

[108]

Плотность жгута ацетатцеллюлозного материала фильтрующего сегмента 309 регулирует падение давления на фильтрующем сегменте 309, что, в свою очередь, регулирует сопротивление тяге изделия 110. Поэтому выбор материала фильтрующего сегмента 309 важен для контроля сопротивления тяге изделия 110. Кроме того, фильтрующий сегмент 309 выполняет функцию фильтрации в изделии 110.

[109]

В одном примере фильтрующий сегмент 309 изготовлен из материала фильтрующего жгута марки 8Y15, который обеспечивает фильтрующий эффект на нагретом летучем материале, одновременно уменьшая размер сконденсированных аэрозольных капель, образующихся из нагретого летучего материала, что снижает раздражение и воздействие на горло нагретого летучего вещества до приемлемых уровней.

[110]

Наличие фильтрующего сегмента 309 обеспечивает изолирующий эффект, обеспечивая дополнительное охлаждение нагретых летучих компонентов, которые выходят из охлаждающего сегмента 307. Этот дополнительный охлаждающий эффект снижает температуру контакта губ пользователя с поверхностью фильтрующего сегмента 309.

[111]

Один или несколько вкусов может быть добавлено в фильтрующий сегмент 309 в виде либо непосредственного впрыска ароматизирующих жидкостей в фильтрующий сегмент 309, либо путем встраивания или установки одной или нескольких хрупких ароматических капсул или иных носителей вкуса в жгут ацетатцеллюлозного материала фильтрующего сегмента 309.

[112]

В одном примере фильтрующий сегмент 309 имеет длину от 6 мм до 10 мм, более предпочтительно 8 мм.

[113]

Сегмент 311 мундштука представляет собой кольцевую трубку, расположен вокруг и ограничивает воздушный зазор внутри сегмента 311 мундштука. Воздушный зазор обеспечивает камеру для нагретых летучих компонентов, которые выходят из фильтрующего сегмента 309. Сегмент 311 мундштука является полым, чтобы обеспечить камеру для накопления аэрозоля, но при этом достаточно жестким, чтобы выдерживать осевые сжимающие силы и изгибающие моменты, которые могут возникнуть во время производства и во время использования изделия при вставке в устройство 100. В одном примере толщина стенки сегмента 311 мундштука составляет приблизительно 0,29 мм.

[114]

В одном примере длина сегмента 311 мундштука составляет от 6 мм до 10 мм, а более предпочтительно 8 мм. В одном примере толщина сегмента 111 мундштука составляет 0,29 мм.

[115]

Сегмент 311 мундштука может быть изготовлен из спирально намотанной бумажной трубки, которая обеспечивает полую внутреннюю камеру, но при этом сохраняет критическую механическую жесткость. Спирально намотанные трубки соответствуют жестким требованиям к точности размеров, предъявляемым к высокоскоростным производственным процессам, в отношении длины, внешнего диаметра, круглости и прямолинейности трубки.

[116]

Сегмент 311 мундштука обеспечивает функцию предотвращения прямого контакта какого-либо жидкого конденсата, который скапливается на выходе из фильтрующего сегмента 309, с пользователем.

[117]

Следует понимать, что в одном примере сегмент 311 мундштука и охлаждающий сегмент 307 могут быть образованы из одной трубки, а сегмент 309 фильтра расположен внутри этой трубки, разделяющей сегмент 311 мундштука и охлаждающий сегмент 307.

[118]

В изделии 110 предусмотрена вентиляционная область 317, позволяющая воздуху проходить внутрь изделия 110 с внешней стороны изделия 110. В одном примере вентиляционная область 317 имеет форму одного или нескольких вентиляционных отверстий 317, выполненных сквозь внешний слой изделия 110. Вентиляционные отверстия могут быть расположены в охлаждающем сегменте 307, чтобы способствовать охлаждению изделия 301. В одном примере вентиляционная область 317 содержит один или несколько рядов отверстий, и предпочтительно каждый ряд отверстий расположен по окружности вокруг изделия 110 в поперечном сечении, которое по существу перпендикулярно продольной оси изделия 110.

[119]

В одном примере имеется от одного до четырех рядов вентиляционных отверстий для обеспечения вентиляции изделия 110. Каждый ряд вентиляционных отверстий может иметь от 12 до 36 вентиляционных отверстий 317. Вентиляционные отверстия 317 могут, например, иметь диаметр от 100 до 500 мкм. В одном примере осевое расстояние между рядами вентиляционных отверстий 317 составляет от 0,25 мм до 0,75 мм, более предпочтительно осевое расстояние между рядами вентиляционных отверстий 317 составляет 0,5 мм.

[120]

В одном примере вентиляционные отверстия 317 имеют одинаковый размер. В другом примере вентиляционные отверстия 317 различаются по размеру. Вентиляционные отверстия могут быть выполнены с использованием любой подходящей технологии, например, с помощью одного или нескольких из следующих способов: лазерной технологии, механической перфорации охлаждающего сегмента 307 или предварительной перфорации охлаждающего сегмента 307 перед его формованием в изделие 110. Вентиляционные отверстия 317 расположены так, чтобы обеспечивать эффективное охлаждение изделия 110.

[121]

В одном примере ряды вентиляционных отверстий 317 расположены по меньшей мере в 11 мм от проксимального конца 313 изделия, более предпочтительно вентиляционные отверстия расположены на расстоянии от 17 мм до 20 мм от проксимального конца 313 изделия 110. Местонахождение вентиляционных отверстий 317 расположено так, что пользователь не блокирует вентиляционные отверстия 317 при использовании изделия 110.

[122]

Предпочтительно, выполнение рядов вентиляционных отверстий на расстоянии 17-20 мм от проксимального конца 313 изделия 110 позволяет расположить вентиляционные отверстия 317 снаружи устройства 100, когда изделие 110 полностью вставлено в устройство 100, как можно видеть на фиг.1. Путем размещения вентиляционных отверстий снаружи устройства ненагретый воздух может поступать в изделие 110 через вентиляционные отверстия снаружи устройства 100, чтобы способствовать охлаждению изделия 110.

[123]

Длина охлаждающего сегмента 307 такова, что охлаждающий сегмент 307 будет частично вставлен в устройство 100, когда изделие 110 полностью вставлено в устройство 100. Длина охлаждающего сегмента 307 обеспечивает первую функцию обеспечения физического зазора между нагревательным элементом устройства 100 и термочувствительным фильтрующим устройством 309, а также вторую функцию, позволяющую расположить вентиляционные отверстия 317 в охлаждающем сегменте, при этом также находясь вне устройства 100, когда изделие 110 полностью вставлено в устройство 100. Как видно из фиг.1, большая часть охлаждающего элемента 307 расположена внутри устройства 100. Однако есть часть охлаждающего элемента 307, которая выступает из устройства 100. Именно в этой части охлаждающего элемента 307, которая выходит из устройства 100, расположены вентиляционные отверстия 317.

[124]

В показанном варианте осуществления изделие имеет общую длину 83 мм, включая цилиндрический табачный стержень длиной 42 мм (диаметр 5,4 мм), содержащий приблизительно 260 мг материала, образующего аэрозоль. Изделие имеет коэффициент вентиляции, равный 75%. Его используют в устройстве, имеющем воспринимающий элемент длиной 44,5 мм и внутренний диаметр 5,55 мм.

[125]

В другом варианте осуществления (не показанном) изделие имеет общую длину 75 мм, включая цилиндрический табачный стержень длиной 34 мм (диаметр 6,7 мм), содержащий приблизительно 340 мг материала, образующего аэрозоль. Изделие может иметь коэффициент вентиляции, равный 60%. Его используют в устройстве, имеющем воспринимающий элемент длиной 36 мм и внутренний диаметр 7,1 мм.

[126]

Примеры

[127]

В этих примерах было использовано устройство, показанное на фиг.1-5B, и изделие, показанное на фиг.6A и 6B, каждое из которых описано выше.

[128]

Воспринимающий элемент имел длину 44,5 мм и внутренний диаметр 5,55 мм.

[129]

Был протестирован ряд изделий, генерирующих аэрозоль, и данные, представленные ниже, являются средними значениями (если не указано иное). Изделия имели общую длину 83 мм, включая цилиндрический табачный стержень длиной 42 мм (диаметр 5,4 мм), содержащий примерно 260 мг восстановленного табачного материала с содержанием никотина 0,8% массы (±0,1% массы) (DWB) и глицерина 15% массы (±2% массы) (DWB) и ментола приблизительно 3% массы (WWB). Коэффициент вентиляции составил 75%.

[130]

Устройство имело два предварительно запрограммированных профиля нагрева, которые показаны на фиг.7A и 7B. В каждой программе первой нагревают катушку на мундштуке, а второй - дистальную катушку. На фиг.8A и 8B показана температура табака в соответствующих зонах нагрева для двух предварительно запрограммированных профилей нагрева (для ряда образцов, без затяжки).

[131]

В примере использовали моделируемый режим затяжки. В этом режиме первая затяжка происходит через две секунды после включения устройства (чтобы дать время нагревателю нагреть табак). После этого выполняли двухсекундную подачу 55 мл через мундштук устройства каждые тридцать секунд (то есть через 50 с, 80 с, 110 с, 140 с и т.д. после включения устройства) (то есть поток воздуха для каждой затяжки составлял 1,65 л/мин). Профиль нагрева, показанный на фиг.7A, представляет собой трехминутный сеанс, позволяющий сделать 7 затяжек в этом режиме (где последнюю затяжку выполняют после выключения нагревателя, но остается достаточно тепла для образования аэрозоля). Профиль нагрева, показанный на фиг.7B, представляет собой четырехминутный сеанс, позволяющий сделать 9 затяжек в этом режиме (где последнюю затяжку снова выполняют после выключения нагревателя). (В профиле на фиг.7B используют более низкую максимальную температуру, что приводит к уменьшению образования аэрозоля в начале сеанса и, следовательно, позволяет проводить более длительный сеанс.)

[132]

Средняя подача никотина из испытуемых изделий показана на фиг.9. Здесь показана подача никотина на одну затяжку и общая подача никотина для каждого профиля нагрева, показанного на фиг.7.

[133]

Средняя подача глицерина из испытуемых изделий показана на фиг.10. Здесь показана подача глицерина на одну затяжку и общая подача глицерина для каждого профиля нагрева, показанного на фиг.7.

[134]

Средняя подача ментола из испытуемых изделий показана на фиг.11. Здесь показана подача ментола на одну затяжку и общая подача ментола для каждого профиля нагрева, показанного на фиг.7.

[135]

Определения

[136]

В данном контексте термин "агент, генерирующий аэрозоль" означает агент, который способствует образованию аэрозоля. Агент, генерирующий аэрозоль, может способствовать образованию аэрозоля, способствуя начальному испарению и/или конденсации газа в твердый и/или жидкий аэрозоль для вдыхания. В некоторых вариантах осуществления агент, генерирующий аэрозоль, может повышать подачу органолептических компонентов из материала, генерирующего аэрозоль. Подходящие агенты, генерирующие аэрозоль, включают в себя, но не ограничиваясь этим: полиол, такой как сорбит, глицерин, и гликоли, такие как пропиленгликоль или триэтиленгликоль; неполиол, такой как одноатомные спирты, углеводороды с высокой температурой кипения, кислоты, такие как молочная кислота, производные глицерина, сложные эфиры, такие как диацетин, триацетин, триэтиленгликольдиацетат, триэтилцитрат или миристаты, включая этилмиристат и изопропилмиристат и сложные эфиры алифатических карбоновых кислот, такие как в виде метилстеарата, диметилдодекандиоата и диметилтетрадекандиоата. Предпочтительно, агент, генерирующий аэрозоль, может содержать, по существу состоять или состоять из глицерина, пропиленгликоля, трицетина и/или этилмимстрата. В некоторых случаях агент, генерирующий аэрозоль, может содержать, по существу состоять или состоять из глицерина и/или пропиленгликоля.

[137]

В контексте настоящего описания термины "ароматизатор" и "вкусовая добавка" относятся к материалам, которые, если позволяет местное законодательство, могут использоваться для создания желаемого вкуса или аромата в продукте для взрослых потребителей. Они могут включать в себя экстракты (например, лакрицы, гортензии, листьев японской магнолии с белой корой, ромашки, пажитника, гвоздики, ментола, японской мяты, аниса, корицы, травы, грушанки, вишни, ягод, персика, яблока, драмбуи, бурбона, скотча, виски, мяты, мяты перечная, лаванды, кардамона, сельдерея, каскарилла, мускатного ореха, сандала, бергамота, герани, медовой эссенции, розового масла, ванили, лимонного масла, апельсинового масла, кассия, тмина, коньяка, жасмина, иланг-иланга, шалфея, фенхеля, пимента, имбиря, аниса, кориандра, кофе или масла мяты любого вида из рода Mentha), усилители вкуса, блокаторы рецепторов горечи, активаторы или стимуляторы сенсорных рецепторов, сахара и/или заменители сахара (например, сукралозу, ацесульфам калия, аспартам, сахарин, цикламаты, лактозу, сахарозу, глюкозу, фруктозу, сорбит или маннит), а также другие добавки или вещества, такие как древесный уголь, хлорофилл, минералы, растительные или освежающие дыхание агенты. Они могут представлять собой имитацию, синтетические или натуральные ингредиенты или их смеси. Они могут содержать натуральные или идентичные натуральным ароматические химические вещества. Они могут быть в любой подходящей форме, например, в виде масла, жидкости, порошка или геля.

[138]

Используемый в этом документе термин "наполнитель" может относиться к одному или нескольким неорганическим наполнителям, таким как карбонат кальция, перлит, вермикулит, диатомитовая земля, коллоидный диоксид кремния, оксид магния, сульфат магния, карбонат магния и подходящие неорганические сорбенты, такие как молекулярные сита. В качестве альтернативы, термин "наполнитель" может относиться к одному или нескольким органическим наполнителям, таким как древесная масса, целлюлоза и производные целлюлозы. Наполнитель может содержать органические и неорганические наполнители.

[139]

Используемый в этом документе термин "связующее вещество" может относиться к альгинатам, целлюлозам или модифицированным целлюлозам, крахмам или модифицированным крахмам, или натуральным камедям. Подходящие связующие вещества включают в себя, но не ограничиваются ими: альгинатные соли, содержащие любой подходящий катион; целлюлозы или модифицированные целлюлозы, такие как гидроксипропилцеллюлоза и карбоксиметилцеллюлоза; крахмалы или модифицированные крахмалы; полисахариды, такие как соли пектина, содержащие любой подходящий катион, такой как пектат натрия, калия, кальция или магния; ксантановая камедь, гуаровая камедь и любые другие подходящие натуральные камеди; и их смеси. В некоторых вариантах осуществления связующее вещество содержит, по существу состоит из или состоит из одной или нескольких альгинатных солей, выбранных из альгината натрия, альгината кальция, альгината калия или альгината аммония.

[140]

В данном контексте термин "табачный материал" относится к любому материалу, содержащему табак или его производные. Термин "табачный материал" может включать в себя одно или несколько из следующих веществ: табак, производные табака, взорванный табак, восстановленный табак или заменители табака. Табачный материал может содержать один или несколько следующих веществ: измельченный табак, табачное волокно, резаный табак, взорванный табак, табачный стебель, восстановленный табак и/или табачный экстракт.

[141]

Табак, используемый для производства табачного материала, может быть любым подходящим табаком, например отдельными сортами или смесями, резаными листьями или целым листом, включая сорта Вирджиния и/или Берли и/или Ориентал. Это также могут быть "мелкие частицы" табака или пыль, взорванный табак, стебли, взорванные стебли и обработанные иным способом стебли, например, нарезанные свернутые стебли. Табачный материал может представлять собой молотый табак или восстановленный табачный материал. Восстановленный табачный материал может содержать табачные волокна и может быть сформирован формовкой, способом изготовления бумаги на основе Фурдринье с обратным добавлением табачного экстракта или экструзией.

[142]

Все описанные в этом документе массовые проценты (обозначенные % массы) рассчитаны на основе сухого веса (DWB), если явно не указано иное. Все весовые соотношения также рассчитаны на основе сухого веса. Вес, указанный в пересчете на сухой вес, относится ко всему экстракту, суспензии или материалу, кроме воды, и может включать в себя компоненты, которые сами по себе являются жидкими при комнатной температуре и давлении, такие как глицерин. И наоборот, массовые проценты, указанные в пересчете на массу во влажном состоянии (WWB), относятся ко всем компонентам, включая воду.

[143]

Во избежание сомнений, если в данном описании термин "содержит" используют для определения изобретения или его признаков, то также раскрыты варианты осуществления, в которых изобретение или признак могут быть определены с использованием терминов "состоит по существу из" или "состоит из" вместо "содержит".

[144]

Вышеупомянутые варианты осуществления следует понимать как иллюстративные примеры изобретения. Предусмотрены другие варианты осуществления изобретения. Следует понимать, что любой признак, описанный в отношении любого одного варианта осуществления, может быть использован отдельно или в комбинации с другими описанными признаками, а также может быть использован в сочетании с одним или несколькими признаками любого другого варианта осуществления или любой комбинацией любых других вариантов осуществления. Кроме того, эквиваленты и модификации, не описанные выше, также могут быть использованы без отклонения от объема изобретения, который определен в прилагаемой формуле изобретения.

Как компенсировать расходы
на инновационную разработку
Похожие патенты