Заявляемое изобретение относится к области обработки выхлопных газов. Регулируемое устройство для дожигания топливной смеси содержит корпус в виде двухсоставной цилиндрической трубы с различным диаметром сечения входной и выходной частей. Во входном проеме корпуса установлен завихритель потока, состоящий из n отклоняющих лопаток, расположенных под углом к центральной продольной оси корпуса. Внутри корпуса в сечении изменения его диаметра размещена основная диафрагма в виде тарелки. Внутри корпуса ближе к его выходному проему относительно основной диафрагмы в плоскости, перпендикулярной центральной продольной оси корпуса, размещена дополнительная диафрагма, представляющая собой боковую поверхность усеченного конуса. В выходном проеме корпуса установлена выпрямляющая решетка. При этом основная и дополнительная диафрагмы установлены в корпусе с возможностью перемещения вдоль центральной продольной оси корпуса, число n отклоняющих лопаток составляет от 8 до 12, а угол их расположения относительно центральной продольной оси корпуса заключен в диапазоне от 26 до 47°. При реализации предложенного изобретения достигается повышение полноты сгорания топлива и снижение вредных выбросов с сохранением характеристик экономичности двигателя. 3 з.п. ф-лы, 3 ил.
1. Регулируемое устройство для дожигания топливной смеси в выхлопном тракте двигателя внутреннего сгорания, содержащее корпус в виде двухсоставной цилиндрической трубы с различным диаметром сечения входной и выходной частей, установленный во входном проеме корпуса завихритель потока, состоящий из n отклоняющих лопаток, расположенных под углом к центральной продольной оси корпуса, и размещенную внутри корпуса в сечении изменения его диаметра основную диафрагму, отличающееся тем, что основная диафрагма выполнена в виде пустотелого усеченного конуса, внутри корпуса ближе к его выходному проему относительно основной диафрагмы в плоскости, перпендикулярной центральной продольной оси корпуса, размещена дополнительная диафрагма, выполненная в виде пустотелого усеченного конуса, в выходном проеме корпуса установлена выпрямляющая решетка, при этом диафрагмы обращены своими меньшими основаниями навстречу потоку, диаметр большего основания основной диафрагмы меньше диаметра поперечного сечения входной части корпуса, а диаметр большего основания дополнительной диафрагмы совпадает с диаметром поперечного сечения выходной части корпуса, основная и дополнительная диафрагмы установлены в корпусе с возможностью перемещения вдоль центральной продольной оси корпуса, число n отклоняющих лопаток составляет от 8 до 12, а угол их расположения относительно центральной продольной оси корпуса заключен в диапазоне от 26 до 47°. 2. Регулируемое устройство по п. 1, отличающееся тем, что отклоняющие лопатки завихрителя потока имеют неплоскую поверхность. 3. Регулируемое устройство по п. 1, отличающееся тем, что отклоняющие лопатки завихрителя потока имеют изогнутую реберную кромку. 4. Регулируемое устройство по п. 1, отличающееся тем, что выпрямляющая решетка содержит коаксиально установленный в ней отражающий диск.
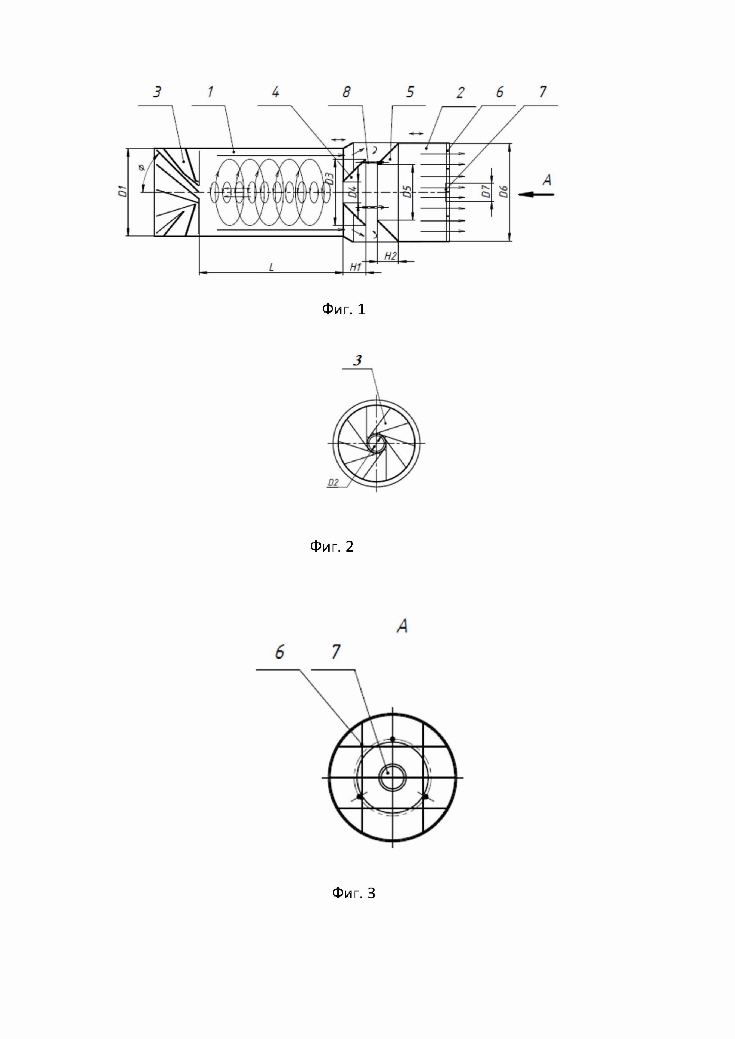
Заявляемое изобретение относится к области обработки выхлопных газов и может быть использовано, например, в выхлопной системе двигателя внутреннего сгорания для снижения потребления топлива, а также уменьшения вредных выбросов в атмосферу. Известно устройство для выхлопной системы двигателя внутреннего сгорания (см. заявку на изобретение RU № 95107772, МПК F01N3/00, опубликована 10.02.1997 г.), содержащее корпус с входным и выходным патрубками и размещенные в корпусе завихритель и сепарационные решетки, связанные с накопителем, при этом выходной патрубок размещен на периферии выходной части корпуса, завихритель и накопитель состоят из отдельных элементов, расположенных соосно друг над другом и чередующихся между собой, причем завихритель представляет собой ряд каналов с входными и выходными отверстиями, каждый элемент накопителя образует центробежную ловушку, а во входной и выходной торцовых перегородках завихрителя выполнены коаксиально расположенные отверстия. При работе двигателя внутреннего сгорания выхлопные газы в завихрителе закручиваются. Закрученный поток вызывает разрежение в его центральной части, обеспечивая дополнительный подсос газов из корпуса. За счет центробежных сил вращающегося потока несгоревшие пары топлива, как более тяжелые, задерживаются в центробежных ловушках накопителя, в которых догорают. Недостатком устройства является периодическое возгорание сажи, накапливающейся в ловушках, что приводит к выводу устройства из рабочего состояния. Известно устройство для выхлопной системы двигателя внутреннего сгорания (см. патент RU № 2064052 МПК F01N3/00, опубликован 20.07.1996 г.), содержащее теплоизолированный корпус с входным и выходным патрубками, коллектор для подачи газа, завихритель, расположенный в камере, сообщающейся с накопителем через сепарационные решетки. Вихревая камера разделена на секции диафрагмами. Завихритель, вихревая камера и накопитель выполнены многосекционно. Устройство позволяет улавливать и дожигать несгоревшие остатки жидкого и газообразного топлива. Недостатком устройства является низкая эффективность дожигания в нем несгоревшего в ДВС топлива. Известно принятое в качестве ближайшего аналога устройство в системе выпуска отработавших газов двигателя внутреннего сгорания (см. патент WO 2008/085075, опубликована 17.07.2008 г.), включающее в себе корпус с входным и выходным отверстиями, направляющий аппарат закручивания потока отработавших газов, генерирующую камеру и диффузор. Корпус выполнен в виде гладкой цилиндрической трубы, в которой расположен направляющий аппарат закручивания потока отработавших газов. Направляющий аппарат выполнен в виде плоских отклоняющих пластин, установленных неподвижно на внутренней поверхности цилиндрической трубы, под углом к центральной оси, с переменными, возрастающими по ходу потока отработавших газов поверхностями, с образованием приосевой области, свободной от отклоняющих пластин, соосно связывающей направляющий аппарат с генерирующей камерой. Генерирующая камера связана соосно с диффузором, который имеет форму пустотелого усеченного конуса, установленного меньшим основанием усеченного конуса во внутренний объем генерирующей камеры и соединенного герметично с генерирующей камерой большим основанием усеченного конуса, замыкая ее. Взаимодействующие потоки представляют собой закрученный (периферийный) и центральный, приводящие к созданию стоячих волн, согласующихся с вибрационным режимом горения топливной смеси в цилиндрах двигателей внутреннего сгорания в период рабочего хода поршня двигателя внутреннего сгорания. Недостатками устройства являются вращение в нем выбрасываемого потока отработавших газов, что приводит к увеличению всасываемого по центру потока, уменьшающего эффективность работы устройства, а также сложность изготовления диффузора, имеющего вид пустотелого усеченного конуса. Задачей заявляемого изобретения является создание устройства, обеспечивающего высокий КПД дожигания топливной смеси, несгоревшей в основном узле сгорания. Техническими результатами работы устройства являются повышение полноты сгорания топлива и снижение вредных выбросов с сохранением характеристик экономичности двигателя. Технические результаты достигаются за счет того, что в регулируемом устройстве для дожигания топливной смеси в выхлопном тракте двигателя внутреннего сгорания, содержащем корпус в виде двухсоставной цилиндрической трубы с различным диаметром сечения входной и выходной частей, установленный во входном проеме корпуса завихритель потока, состоящий из n отклоняющих лопаток, расположенных под углом к центральной продольной оси корпуса, и размещенную внутри корпуса в сечении изменения его диаметра основную диафрагму, выполненную в виде пустотелого усеченного конуса, внутри корпуса ближе к его выходному проему относительно основной диафрагмы в плоскости, перпендикулярной центральной продольной оси корпуса, размещена дополнительная диафрагма, выполненная в виде пустотелого усеченного конуса, в выходном проеме корпуса установлена выпрямляющая решетка, при этом диафрагмы обращены своими меньшими основаниями навстречу потоку, диаметр большего основания основной диафрагмы меньше диаметра поперечного сечения входной части корпуса, а диаметр большего основания дополнительной диафрагмы совпадает с диаметром поперечного сечения выходной части корпуса, основная и дополнительная диафрагмы установлены в корпусе с возможностью перемещения вдоль центральной продольной оси корпуса, число n – отклоняющих лопаток составляет от 8 до 12, а угол их расположения относительно центральной продольной оси корпуса заключен в диапазоне от 260 до 470. При этом отклоняющие лопатки завихрителя потока могут иметь не плоскую поверхность. При этом отклоняющие лопатки завихрителя потока могут иметь изогнутую реберную кромку. При этом выпрямляющая решетка может содержать коаксиально установленный в ней отражающий диск. Заявляемое техническое решение поясняется чертежами, на которых на фиг. 1 схематически представлено продольное осевое сечение устройства повышения эффективности сгорания топлива, на фиг. 2 – фронтальный вид входного проема, на фиг. 3 – фронтальный вид выходного проема. Устройство содержит двухсоставной корпус, состоящий из элементов 1 и 2, с размещенными в нем завихрителем 3 потока, основной диафрагмой 4, дополнительной диафрагмой 5, выпрямляющей решеткой 6 с отражающим диском 7, и механизм 8 регулировки положения диафрагм вдоль центральной продольной оси. Работа заявляемого устройства осуществляется следующим образом. Во входной проем устройства поступает поток газовой смеси, например, из выпускного коллектора ДВС. С помощью завихрителя 3 потока, который установлен во входном проеме элемента 1 корпуса, этот поток закручивается и продолжает движение по спирали вдоль внутренней стенки элемента 1 корпуса. Параметры закрученного потока напрямую зависят от диаметра элемента 1 (D1), сечения и шага спирали в завихрителе 3 потока, а также от скорости, температуры, давления и вязкости газовой смеси. При этом формирование потока зависит от количества лопаток n, угла наклона ϕ лопаток завихрителя 3 потока относительно центральной продольной оси и диметра центрального отверстия завихрителя 3 потока (D2), образованного отклоняющими лопатками. В результате экспериментальной проверки расчетной модели были получены оптимальные диапазоны для n, ϕ и соотношения D2/D1 со следующими значениями: n = 8 – 12, ϕ = 26°- 47°, D2 = ј D1. При углах ϕ менее 260 - недостаточный коэффициент закрутки и, следовательно, не формируются требуемые поля скоростей и давлений за счет перемещения закрученных потоков на длине рабочего участка элемента 1 корпуса (L), L=kD1, где k=2,4-2,8. При углах ϕ более 47° происходит переход потока за границу устойчивости, возникает явление «помпажа» из-за срыва потока на лопатках завихрителя 3 потока. При этом стоит отметить, что профилированные (с искривленной, а не плоской поверхностью, и/или с изогнутой, а не прямой реберной кромкой) лопатки в частных режимах работы более эффективно закручивают поток. Закрученный поток выхлопных газов подходит к основной диафрагме 4, выполненной в виде усеченного пустотелого конуса с геометрическими параметрами (Н1, D3, D4) и разделяется на две части: первая (расположенная ближе к внутренней поверхности элемента 1 корпуса) продолжает направленное движение, обтекая диафрагму 4 вдоль ее боковой поверхности, а вторая (размещенная вдоль центральной продольной оси), совершает возвратное движение к центральному отверстию завихрителя 3. Первая часть потока имеет более высокую температуру относительно начальной температуры входного потока, а вторая часть - пониженную. Причем, чем больше L, тем больше перепад температур между первой и второй частями потока. При дальнейшем движении первой части потока внутри элемента 2 корпуса она встречается с поверхностью дополнительной диафрагмы 5 (с геометрическими параметрами Н2, D5, D6) и, частично отражаясь в виде волны, создает зону повышенной температуры. Таким образом, перед дополнительной диафрагмой 5 в области повышенных температур происходит более эффективное догорание еще непрореагировавших продуктов выброса. Далее все продукты горения продолжают свое движение через центральное отверстие диафрагмы 5 в сторону выходного проема. При выходе выхлопных газов из устройства происходит спрямление закрученного потока за счет его прохождения через выпрямляющую решетку 6. В случае установки в ней отражающего диска 7, диаметр (D7) которого выбирают из соотношения D7 = D1, происходит частичное отражение продольной волну выходящего потока в сторону ДВС, и не допускается подсоса атмосферного воздуха в центральную разряженную часть потока. Поскольку все газовые потоки в устройстве имеют волновую природу, важно синхронизировать частотный диапазон прямой и обратной волны с тактовой частотой выпускного потока. Частота должна совпадать или быть кратной тактовой частоте выхлопа. В заявляемом устройстве настройки частоты обеспечиваются возможностью перемещения вдоль центральной продольной оси корпуса основной и дополнительной диафрагм 4 и 5. Необходимое положение диафрагм осуществляют механизмом 8 регулировки на основании данных о параметрах всех существенных характеристик в режиме реального времени. Формируемая закрученным потоком обратная продольная волна улучшает полноту сгорания топлива и уменьшает токсичный выброс оксида углерода (СО), особенно для бензиновых ДВС. Другим токсичным компонентом выхлопных газов являются оксиды азота (NO, NO₂, N₂O, N₂O₃, N₂O₅, в дальнейшем NOₓ). В выхлопных газах более 90% всего количества NOₓ составляет оксид азота (NO), который в заявляемом устройстве, в выхлопной системе и в атмосфере легко окисляется в диоксид (NO₂). Снижение оксида азота в устройстве происходит за счет снижения температуры во второй части потока. Другими вредными веществами в выхлопных газах являются углеводороды (СН) – органические соединения, которые построены только из атомов углерода и водорода. Углеводороды в ДВС образуются в результате неоднородности топливной смеси в камере сгорания (недостаточное распыление топлива, неудовлетворительное завихрение воздушного заряда, наличие мест с сильным локальным недостатком воздуха и др.). Отраженная, идущая от диафрагмы 4 продольная волна, синхронизированная с импульсами выхлопа, эффективно участвует в доокислении СО и СН, а процесс образования оксидов азота из-за более низкой температуры относительно входного потока существенно меньше. Кроме того, между диафрагмами 4 и 5 создаются термодинамические параметры газовой среды, препятствующие образованию оксидов азота. Продольная обратная волна от второй части потока, отраженной от основной диафрагмы 4, гомогенизирует топливную смесь в камере сгорания и уменьшает вредный выброс. Независимо от вида топлива, в процессе работы ДВС происходит образование выхлопных газов. Выхлопные газы - основной источник токсичных веществ, загрязняющих окружающую среду. Конструкция заявляемого устройства обеспечивает уменьшение вредных выбросов, не ухудшая мощность и экономичность ДВС.