Изобретение относится к гидромашиностроению и может найти применение в гидроприводах рабочих органов сельскохозяйственных, дорожностроительных, горных машин и механизмов, а также при автоматизации различных технологических и производственных процессов. Технический результат - повышение точности деления потока. Предложен дроссельный делитель потока, содержащий корпус 1 с входным 2 и выходными 10, 11 каналами, в котором установлена мембрана 7, разделяющая корпус 1 на две камеры 5, 6, соединенные с входным каналом 2 корпуса через постоянные сопротивления 3, 4 и с выходными каналами 10, 11 - через отверстия в виде щелей 8, 9, образующие с мембраной регулирующие органы. Щели 8, 9 выполнены в наклонных стенках и ширина щелей уменьшается от максимума в верхней точке до минимума в нижней точке, эластичная мембрана 7 имеет переменную толщину, при этом при малых регулируемых перепадах давления, перекрытие щели эластичной мембраной начинается с её большей ширины, а при больших перепадах регулируемых давлений перекрытие щели эластичной мембраной, происходит на её меньшей ширине. 1 ил.
Дроссельный делитель потока, содержащий корпус с входным и выходными каналами, в котором установлен чувствительный элемент, выполненный в виде мембраны, разделяющей корпус на две камеры, соединенные с входным каналом корпуса через постоянные сопротивления и с выходными каналами - через отверстия в виде щелей, образующие с мембраной регулирующие органы, отличающийся тем, что щели выполнены в наклонных стенках и ширина щелей уменьшается от максимума в верхней точке до минимума в нижней точке, эластичная мембрана имеет переменную толщину, при этом при малых регулируемых перепадах давления, перекрытие щели эластичной мембраной начинается с её большей ширины, а при больших перепадах регулируемых давлений перекрытие щели эластичной мембраной, происходит на её меньшей ширине.
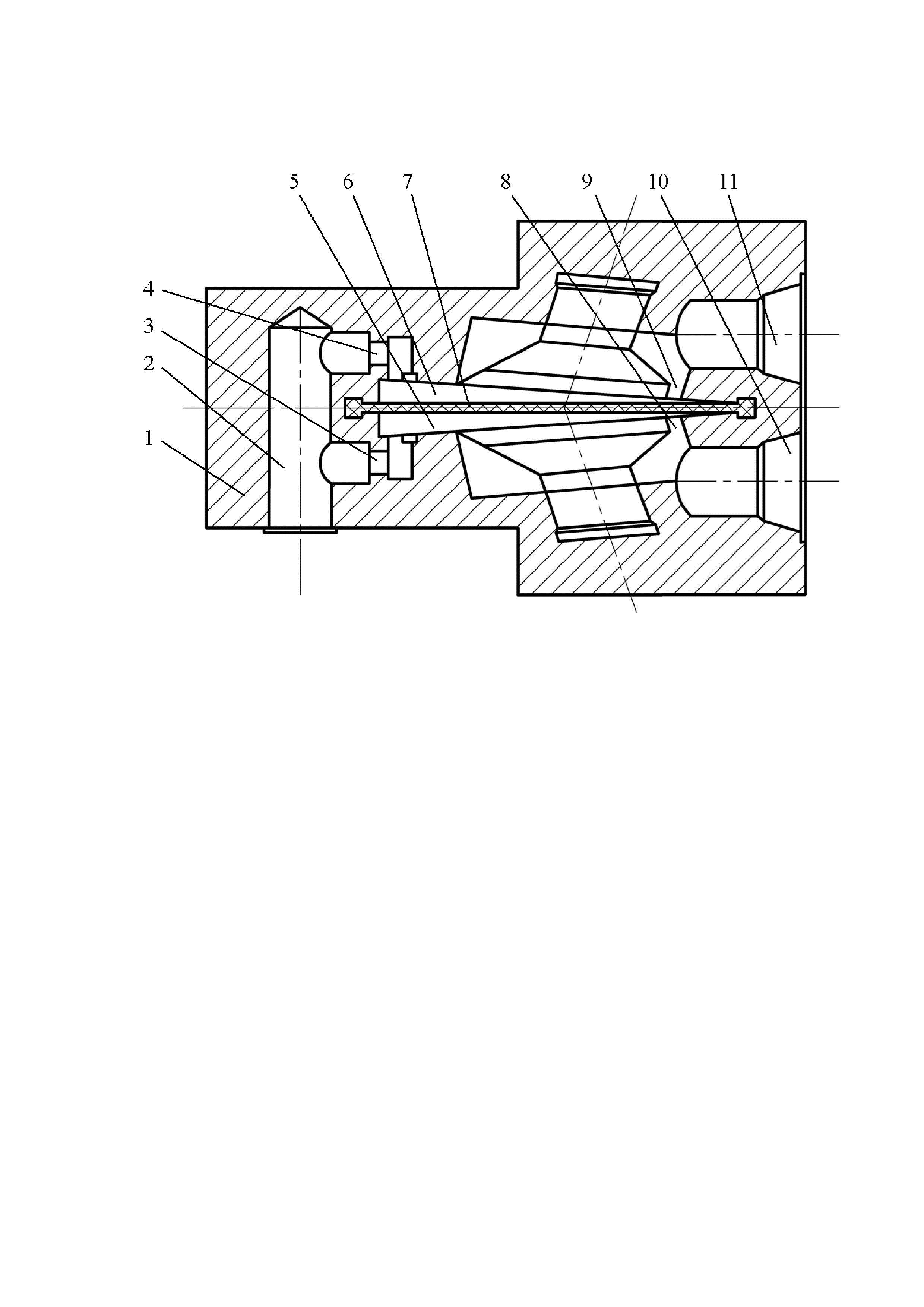
Изобретение относится к гидромашиностроению и может найти применение в гидроприводах рабочих органов сельскохозяйственных, дорожностроительных, горных машин и механизмов, а также при автоматизации различны: технологических и производственных процессов. Известен дроссельный делитель потока МКД (Свешников В.К. Станочные гидроприводы: Справочник: Библиотека конструктора. – 4-е изд. Перераб.и доп. – М.: Машиностроение, 2004. – 512 с., А. с. СССР 469023. Дроссельный делитель потока жидкости / Ю.Я. Ладензон, И.Н. Дехтярь. – Заявл. 27.08.73. – Опубл. В Б.И. 1975, № 16). Делитель имеет хорошие характеристики по точности деления, однако, как и все золотниковые делители потока он чувствителен к качеству рабочей жидкости и имеет высокую стоимость. Наиболее близким техническим решением является дроссельный делитель потока (SU 1151725 A1, МКИ4 F15 B 11/22, опубл. 23.04.1985, Бюл. № 15.) содержащий корпус, чувствительные элементы в виде входных сопротивлений с камерами управления, основной исполнительный механизм, выполненный в виде гибкого мембранного элемента с жестким центром, и регулирующие элементы в виде выходных сопротивлений типа сопло-заслонка, образованных жестким центром мембранного элемента и выходными отверстиями, при этом он снабжен дополнительным исполнительным механизмом в виде гибкого мембранного элемента с жестким центром, установленным в корпусе параллельно основному, камеры управления и выходные отверстия расположены между мембранными элементами с образованием между каждым из последних и корпусом вспомогательной камеры, сообщенной с соответствующей камерой управления через входное сопротивление, причем мембранные элементы связаны между собой дополнительно установленным ступенчатым толкателем, образующим ступенью большого диаметра с корпусом прецизионную пару, а меньшие ступени размещены в выходных отверстиях, при этом жесткий центр каждого мембранного элемента с противоположной относительно толкателя стороны снабжен штоком, торец которого связан с атмосферой, а диаметр каждого мембранного элемента равен диаметру средней ступени толкателя. Однако его конструкция допускает серьёзные доработки, направленные на улучшение его технических характеристик, прежде всего по повышению точности деления потока и надёжности. Сущность изобретения заключается в том, что дроссельный делитель потока, содержащий корпус с входным и выходными каналами, в котором установлен чувствительный элемент, выполненный в виде мембраны, разделяющей корпус на две камеры, соединенные с входным каналом корпуса через постоянные сопротивления и с выходными каналами - через отверстия в виде щелей, образующие с мембраной регулирующие органы, при этом щели выполнены в наклонных стенках и ширина щелей уменьшается от максимума в верхней точке до минимума в нижней точке, эластичная мембрана имеет переменную толщину, при этом при малых регулируемых перепадах давления, перекрытие щели эластичной мембраной начинается с её большей ширины, а при больших перепадах регулируемых давлений перекрытие щели эластичной мембраной, происходит на её меньшей ширине. Технический результат заключается в повышении точности деления. Сущность изобретения поясняется чертежом, где представлен общий вид предлагаемого делителя. Дроссельный делитель потока содержит выполненный в корпусе 1 входной канал 2, соединенный через постоянные сопротивления 3 и 4 с камерами 5 и 6, разделенными мембраной 7, используемой в качестве чувствительного элемента. Камеры 5 и 6 соединены через щели 8 и 9, выполненные в наклонных стенках и ширина щелей уменьшается от максимума в верхней точке до минимума в нижней точке, с выходными каналами 10 и 11. Дроссельный делитель потока работает следующим образом. Поток жидкости от насоса поступает во входной канал 2, где он раздваивается и через постоянные сопротивления 3 и 4 с меньшим давлением поступает в камеры 5 и 6, разделенные мембраной 7. Далее через щели 8 и 9 потоки поступают через выходные каналы 10 и 11 в соответствующие гидродвигатели. Щели 8 и 9, выполнены в наклонных стенках и ширина щелей уменьшается от максимума в верхней точке до минимума в нижней точке и это создаёт условие того, что при малых регулируемых перепадах давления, перекрытие щели начинается с её большей ширины, а при больших перепадах регулируемых давлений перекрытие щели эластичной мембраной, имеющей переменную толщину, происходит на её меньшей ширине, что улучшает как динамические, так и статические характеристики делителя потока. При возрастании нагрузки в одном из гидродвигателей, например, в гидродвигателе присоединенном к выходному каналу 11, расход в этой ветви через постоянное сопротивление 4 уменьшается, что приводит х увеличению давления в камере 6, мембрана 7 при этом прогибается и перекрывает часть щели 8, гидравлическое сопротивление которой возрастает и расходы в ветвях выравниваются. При этом, перекрытие щели начинается с верхней точки, это значит, что при малых регулируемых перепадах давления (при малых динамических силах, действующих на мембранный элемент в точке отрыва от щели) перекрытие щелей происходит по большей их ширине и при малых прогибах мембранного элемента. По мере возрастания регулируемого перепада давлений в ветвях, происходит увеличение динамической силы, действующей на мембранный элемент в точке её отрыва от щели но, при этом, увеличивается и степень прогиба мембраны, что ведёт к увеличению упругой силы деформации мембранного элемента и в значительной степени компенсирует действие динамической силы что и является причиной повышения точности деления делителя потока.