Изобретение относится к контрольно-измерительной технике и может быть использовано для бесконтактного измерения угловой скорости вращения и начальной скорости снаряда нарезного артиллерийского орудия, являющихся важнейшими баллистическими характеристиками оружия, оказывающими влияние на его боевые свойства. Заявленный поляризационный волоконно-оптический измеритель угловой скорости вращения и начальной скорости снаряда нарезного артиллерийского орудия содержит лазер, приемо-передающую телескопическую систему, волоконно-оптические коллиматоры, фотоприемник и блок обработки информации. Волоконный выход лазера с широким спектром излучения соединен с входным портом первого циркулятора, двунаправленный порт которого соединен оптическим волокном с двунаправленным портом второго циркулятора, выходной порт второго циркулятора соединен с входом волоконно-оптического коллиматора, излучение которого направлено на снаряд. В донной части снаряда последовательно по ходу луча установлены поляризатор плоскости поляризации излучения и отражатель, например, уголковый. Отраженное от отражателя излучение поступает в приемный волоконно-оптический коллиматор, перед которым установлен анализатор плоскости поляризации излучения. Выход второго волоконно-оптического коллиматора соединен с входным портом второго циркулятора, при этом выходной порт первого циркулятора последовательно соединен с фотоприемником и измерителем частоты. По частоте ω электрического сигнала блок обработки информации вычисляет угловую скорость вращения снаряда Ω=ω/2 и его начальную скорость по формуле где d - калибр ствола, α - угол наклона нарезов ствола на дульном участке ствола орудия. Технический результат - повышение точности измерения угловой скорости вращения и начальной скорости снаряда при небольшой частоте информационного сигнала и использовании одной приемной телескопической системы. 4 ил.
,
Поляризационный волоконно-оптический измеритель угловой скорости вращения и начальной скорости снаряда нарезного артиллерийского орудия, содержащий лазер, приемо-передающую телескопическую систему с волоконно-оптическими коллиматорами, фотоприемник и блок обработки информации, отличающийся тем, что волоконный выход лазера с широким спектром излучения соединен с входным портом первого циркулятора, двунаправленный порт которого соединен оптическим волокном с двунаправленным портом второго циркулятора, выходной порт второго циркулятора соединен с входом волоконно-оптического коллиматора, излучение которого направлено на снаряд, в донной части которого последовательно по ходу луча установлены поляризатор плоскости поляризации излучения и отражатель, например уголковый, отраженное от отражателя излучение поступает в приемный волоконно-оптический коллиматор, перед которым установлен анализатор плоскости поляризации излучения, а волоконный выход приемного волоконно-оптического коллиматора соединен с входным портом второго циркулятора, при этом выходной порт первого циркулятора соединен с фотоприемником, выход которого связан с измерителем частоты, по частоте электрического сигнала ω блок обработки информации вычисляет угловую скорость вращения снаряда Ω=ω/2 и его начальную скорость по формуле где d - калибр ствола, α - угол наклона нарезов ствола на дульном участке ствола орудия.
,
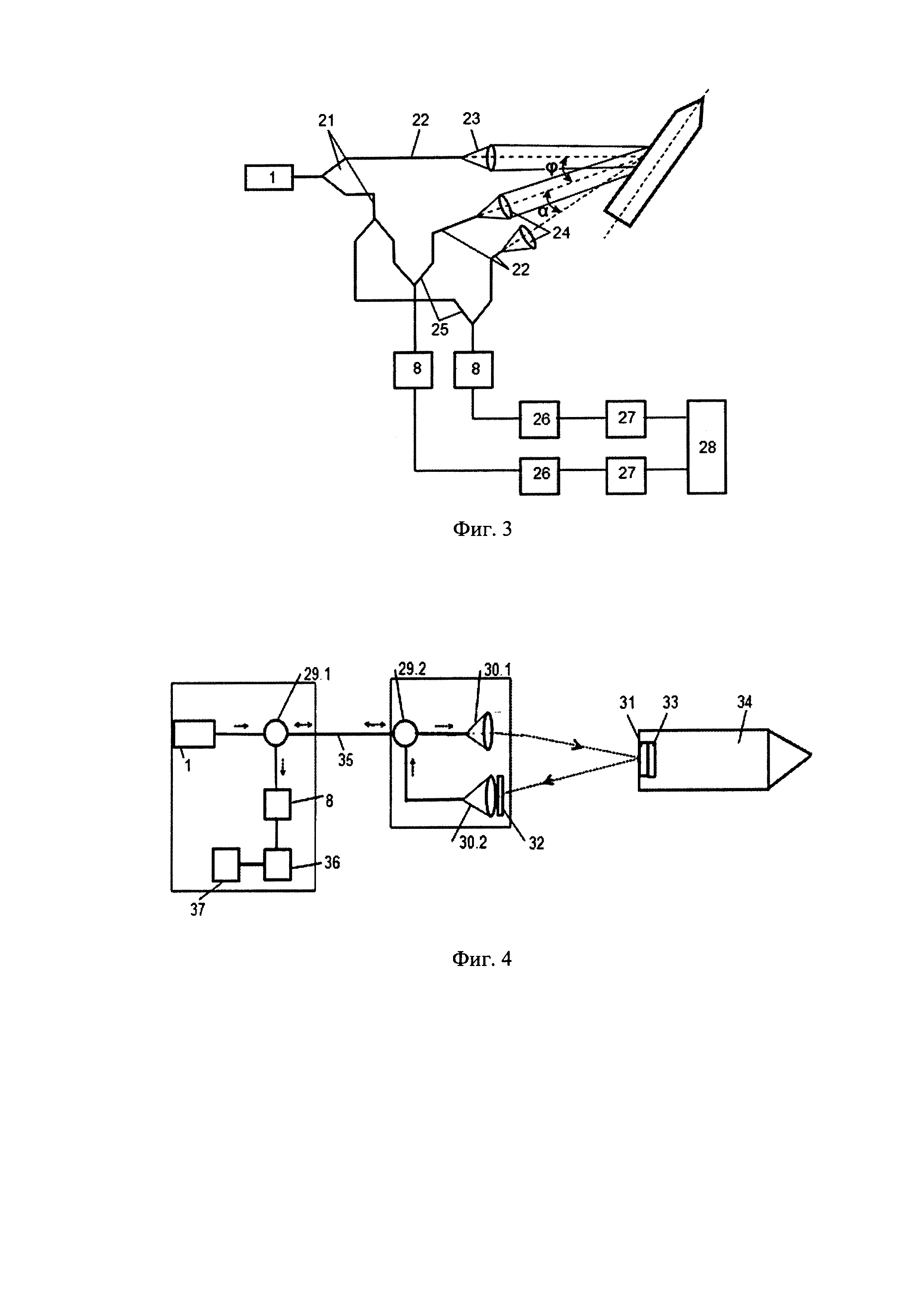
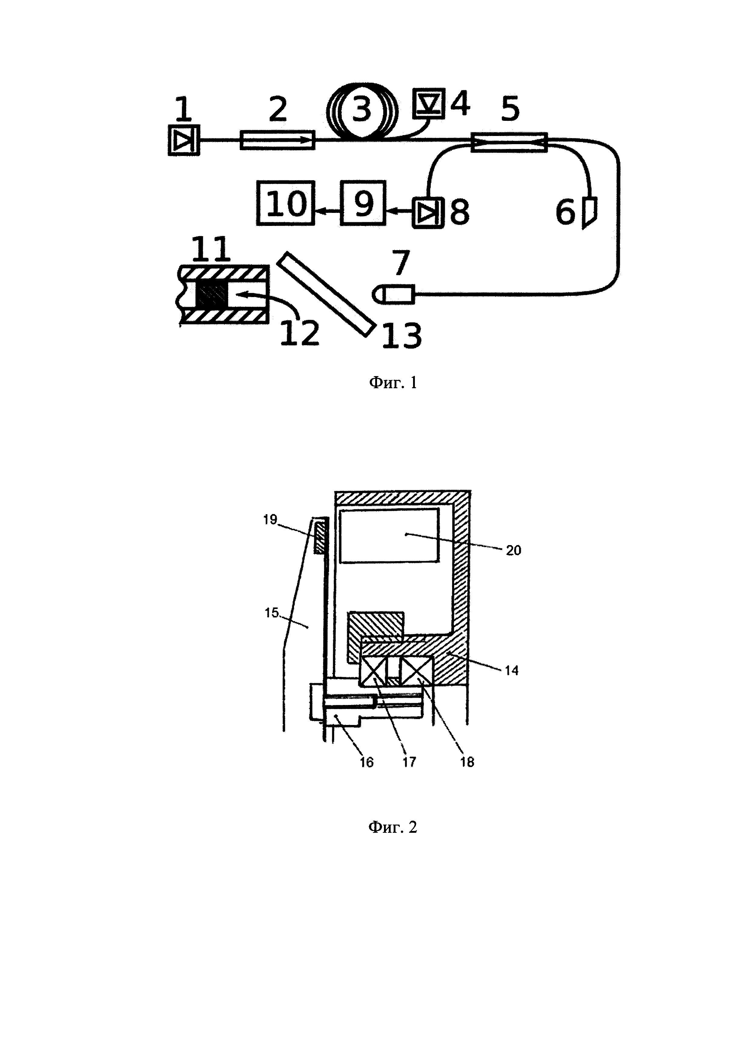
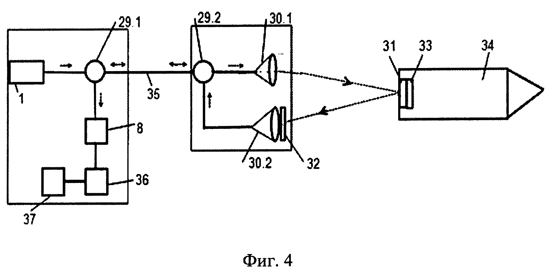
Изобретение относится к контрольно-измерительной технике и может быть использовано для бесконтактного измерения угловой скорости вращения и начальной скорости снаряда нарезного артиллерийского орудия, являющимися важнейшими баллистическими характеристиками оружия, оказывающими влияние на его боевые свойства. Аналогом к предлагаемому устройству является лазерный измеритель скорости и/или перемещения малоразмерных объектов в местах с ограниченным доступом (патент RU 2610905 на изобретение заявка: 2015122034 от 09.06.2015 МПК G01S 17/58 (2006.01) опубликован: 17.02.2017 Бюл. №5). Лазерный измеритель скорости и/или перемещения малоразмерных объектов в местах с ограниченным доступом (фиг. 1) включает источник 1 лазерного излучения, соединенный оптическим волокном с оптическим изолятором 2, волоконным усилителем 3 с лазерным диодом накачки 4, оптический делитель 5, выполняющий роль светоделительной пластины для разделения оптического излучения в соотношении 1:1, соединенный оптическим волокном с коннектором FC/APC 6, выполняющим функцию слабо отражающего зеркала, и коллиматором 7 с диаметром пучка 0,8-1,2 мм, и оптическим приемником 8. Выход оптического приемника 8 подключен к входу осциллографа 9, соединенному через USB-интерфейс с персональным компьютером 10. При проведении эксперимента при измерении скорости пули 12 в стволе 11 пневматической винтовки также использовалось защитное оргстекло 13. Элементы измерителя [поз.1+поз.2+поз.3+поз.4], поз.5, поз.6, [поз.7+поз.12], поз.8 представляют собой оптоволоконный аналог интерферометра Майкельсона. Источником 1 лазерного излучения является полупроводниковый одночастотный лазер, стабилизированный с помощью брэгговской решетки, работающий на токе 120 мА, с мощностью излучения около 20 мВт и длиной волны 1064 нм при ширине линии генерации не более 3 МГц, что обеспечивает большую длину когерентности и, следовательно, обеспечивает возможность измерения динамики движения объекта в диапазоне перемещения до 100 м и в диапазоне скоростей от 0,1 до 180 м/с. Оптический изолятор 2 пропускает излучение от лазера 1 только в одном направлении и используется для того, чтобы отраженное излучение, идущее в обратном направлении, не оказывало негативного влияния на лазерный диод 4. Устройство работает следующим образом. В момент выстрела из пневматической винтовки ИЖ-61 свинцовой пулей весом 0.5 грамма, поршень освобождается спусковым механизмом, что приводит к его движению внутри стакана и, соответственно, к нагнетанию давления. Через специальное отверстие сжатый воздух попадает в канал ствола, что приводит к ускорению пули. Винтовка закреплялась на оптическом столе, защитное оргстекло 12 закреплялось под углом около 60° градусов относительно ствола 11 винтовки. Далее производится выстрел из винтовки посредством нажатия на спусковой крючок с одновременной подачей синхроимпульса на вход синхронизации осциллографа 9 при помощи специального датчика. Осциллограф 9 в режиме однократной записи по приходу синхроимпульса записывает 16776704 отсчетов с периодом снятия dt=2нс. Осциллограмма представляет собой сигнал с оптического приемника 8, т.е. в сущности готовую интерферограмму. Благодаря эффекту Доплера в данной осциллограмме будут наблюдаться биения с частотой прямо пропорциональной скорости измеряемого объекта (пули), поэтому необходимо вычислить спектральные компоненты осциллограммы в различные моменты времени. Спектрограмма вычисляется с использованием быстрого преобразование Фурье (БПФ), которая далее пересчитывается в скорость пули. Недостатком данного описанного устройства является необходимость малой ширины линии генерации не более 3 МГц, для обеспечения большой длины когерентности с целью измерения перемещения в диапазоне до 100 м и скоростей от 0,1 до 180 м/с. Другим аналогом определения начальной скорости управляемого снаряда нарезного орудия является (патент RU 2703835 на изобретение заявка: 2018135544 МПК F41F1/00 (2006.01), G01P 3/481 (2006.01),опубликован: 22.10.2019 Бюл.№30). В этом аналоге определение начальной скорости снаряда осуществляется с помощью установленного внутри снаряда миниатюрного маховика, связанного с корпусом снаряда подшипниковым узлом, содержащим упорный и радиальный подшипники, оси которых совпадают с продольной осью снаряда, и расположенными на маховике постоянными магнитами, измеряется на начальном участке траектории полета снаряда его скорость вращения относительно маховика, стремящегося сохранить свою начальную угловую ориентацию, по интервалу времени между заданным количеством импульсов напряжения на катушке индуктивности, связанной с корпусом снаряда и содержащей разомкнутый ферромагнитный сердечник, а по величине скорости вращения снаряда определяется скорость его полета с учетом шага нарезки на дульном участке ствола орудия. При выстреле на устройство, созданное по предложенному способу, на коротком промежутке времени действуют огромные инерционные силы, направленные вдоль его продольной оси. Поэтому в состав подшипникового узла кроме радиального шарикоподшипника включен также упорный подшипник. Работа устройства поясняется конструктивной схемой, изображенной на фигуре 2. В цилиндрическом корпусе 14 измерителя угловой скорости снаряда расположен маховик 15, вал которого 16 связан с корпусом подшипниковым узлом с радиальным шарикоподшипником 17 и упорным шарикоподшипником 18. На маховике установлено два симметрично расположенных относительно оси вращения постоянных магнита 19 с осевой намагниченностью. На корпусе 14 установлена катушка индуктивности 20 с разомкнутым ферритовым сердечником гантельного типа. При вращении маховика 15 относительно корпуса 14 в катушке индуктивности 20 возникают два импульса напряжения на каждый оборот маховика. Продольная ось корпуса 14 совпадает с продольной осью снаряда. До выстрела орудия маховик 15 неподвижен относительно корпуса 14. При выстреле из нарезного орудия снаряд вместе с корпусом 14 начинает вращаться, а маховик 20 вследствие своих инерционных свойств пытается сохранить свою начальную угловую ориентацию. Скорость вращения снаряда на выходе из ствола орудия определяется по интервалу времени между заданным числом импульсов напряжения на катушке индуктивности 20. Скорость полета снаряда определяется на начальном участке его полета по скорости его вращения с учетом шага нарезки на дульном участке ствола орудия. Для обеспечения возможности размещения устройства в снарядах малого и среднего калибра диаметр устройства должен быть достаточно малым. Для сохранения работоспособности устройства при больших линейных ускорениях снаряда в стволе орудия необходимо выполнить вращающуюся часть с маховиком минимальной массы. Недостатком этого аналога является сложность и не достаточная надежность инерционного механизма, размещенного в снаряде, определяющего его угловую скорость. Наиболее близким (прототипом) является доплеровский волоконно-оптический измеритель начальной скорости снаряда (патент RU 2727778 на изобретение заявка: 2019127087/08 МПК G01S 17/58 (2006/01), опубликован: 23.07.2020 Бюл.№21). В данном устройстве доплеровский волоконно-оптический измеритель начальной скорости снаряда включает одночастотный лазер, волоконно-оптический разветвитель, коллиматор, приемную телескопическую систему, оптическая ось которой составляет угол ϕ к траектории полета снаряда, фотоприемник и блок обработки информации. Оптическая ось второй приемной телескопической системы, направлена под углом ϕ+α к траектории полета снаряда, при этом выход первого волоконно-оптического разветвителя соединен с входом второго волоконно-оптического разветвителя, один выход которого соединен с входом первого волоконно-оптического смесителя, а второй выход соединен с входом второго волоконно-оптического смесителя, причем приемные телескопические системы через волоконно-оптические коллиматоры соединены с вторыми входами волоконно-оптических смесителей, а выходы волоконно-оптических смесителей соединены с фотоприемниками, при этом начальная скорость снаряда V определяется по формуле где λ - длина волны лазера и соответствующая ей частота ƒ0; (ƒ0-ƒd1) - разностная частота излучения после первого смесителя; (ƒ0-ƒd2) - разностная частота излучения после второго смесителя. Лазерный доплеровский измеритель начальной скорости снаряда(фиг. 3) содержит: одночастотный лазер - 1; волоконно-оптические разветвители - 27; волоконно-оптический кабель - 22; волоконно-оптический коллиматор - 23; приемные оптические телескопические системы - 24; волоконно-оптические смесители - 25; фотоприемники -8; усилители - 26; аналого-цифровые преобразователи - 27; вычислительное устройство28. Лазерный доплеровский измеритель начальной скорости снаряда включает одночастотный лазер 1, выход которого соединен с первым волоконно-оптическим разветвителем 21, коэффициент деления которого составляет 99/1, один выход которого соединен волоконно-оптическим кабелем 22 с волоконно-оптическим коллиматором 23. Второй выход волоконно-оптического разветвителя 21, соединен с входом второго волоконно-оптического разветвителя 21, коэффициент деления которого составляет 50/50. Выходы второго волоконно-оптического разветвителя 21, соединены с входами первого и второго волоконно-оптических смесителей 25. Выходы приемных оптических телескопических систем 24 соединены волоконно-оптическим кабелем 22, с вторыми входами волоконно-оптических смесителей 25. Первые входа волоконно-оптических смесителей 25 соединены волоконно-оптическим кабелем 22 с приемными оптическими телескопическими системами 24. Выхода волоконно-оптических смесителей 25, соединены с фотоприемниками 8, усилителями 26, аналого-цифровыми преобразователями 27, и вычислительным устройством 28. Устройство работает следующим образом. Излучение одночастотного лазера 1, через первый волоконно-оптический разветвитель 21, направляется по волоконно-оптическому кабелю 22 на вход волоконно-оптического коллиматора 23 и далее на снаряд. Отраженное (рассеянное) от снаряда излучение (доплеровские эхо-сигналы) принимается приемными оптическими телескопическими системами 24. В соответствии с эффектом Доплера, частоты сигналов с телескопических систем 5 равны: Принятые сигналы по волоконно-оптическим кабелям 22, направляются на волоконно-оптические смесители 25, выходы которых соединены с фотоприемниками 8. После оптического смешения излучения лазера с частотой ƒ0 соответствующей длине волны λ0, с излучениями соответствующих доплеровским сдвигам частот ƒd1 и ƒd2 частоты сигналов на выходе фотоприемников, будут: Подставляя (1) в (2) получают систему двух уравнений, решая которую имеют: Как следует из выражения (3) начальная скорость снаряда не зависит от угла φ, а угол α конструктивно можно установить с любой наперед заданной точностью. Сигналы с фотоприемников 8 с частотами Δƒ1 и Δƒ2 усиливаются усилителями 26, преобразовываются аналого-цифровыми преобразователями 27 в цифровую форму и поступают в вычислительное устройство 28, в котором производится обработка информации с использованием быстрого преобразование Фурье (БПФ) и вычисления начальной скорости снаряда в соответствии с соотношением (3). Недостатком описанного устройства является сложность устройства, высокие частоты доплеровских сигналов, необходимость быстрого преобразования Фурье при обработке сигналов. Технической задачей изобретения является повышение точности измерения угловой скорости вращения и начальной скорости снаряда, при небольшой частоте информационного сигнала и использовании одной приемной телескопической системы. Заявленный технический результат достигается за счет того что, в известном устройстве содержащем лазер, приемо-передающую телескопическую систему, волоконно-оптические коллиматоры, фотоприемник и блок обработки информации. В отличие от прототипа, предлагается поляризационная измерительная система, в которой волоконный выход лазера соединен с входным портом первого циркулятора, а его двунаправленный порт соединен с двунаправленным портом второго циркулятора. Выходной порт второго циркулятора соединен с входом волоконно-оптического коллиматора, излучение которого направлено на снаряд. В донной части снаряда последовательно по ходу луча установлены по поляризатор плоскости поляризации излучения и отражатель, например уголковый. Отраженное от отражателя излучение поступает в приемный волоконно-оптический коллиматор, перед входом которого установлен анализатор плоскости поляризации излучения. Выход приемного волоконно-оптического коллиматора соединен с входным портом второго циркулятора, выходной порт первого циркулятора последовательно соединен с фотоприемником и измерителем частоты. По частоте электрического сигнала с фотоприемника ω блок обработки информации вычисляет угловую скорость вращения снаряда Ω=ω/2 и его начальную скорость по формуле: где d- калибр ствола, α - угол наклона нарезов ствола на дульном участке ствола орудия. Новыми признаками, обладающими существенными отличиями по предлагаемому устройству, является следующая совокупность элементов и связей между ними: 1. В поляризационном волоконно-оптическом измерителе угловой скорости вращения и начальной скорости снаряда, может использоваться более дешевый лазер с широким спектром излучения, поскольку его работа основана на законе Малюса, а не на эффекте Доплера; 2. В донной части снаряда последовательно по ходу луча установлены поляризатор плоскости поляризации излучения и отражатель, например уголковый, благодаря которым отраженное от снаряда и поляризованное излучение, распространяется в направлении обратном падающему; 3. Перед приемным волоконно-оптическим коллиматором установлен анализатор плоскости поляризации излучения, отраженного от снаряда; 4. Частота переменной составляющей сигнала с фотоприемника, в соответствии с законом Малюса, в два раза выше угловой скорости вращения снаряда. Заявляемое устройство являются результатом научно исследовательской и экспериментальной работы. Поляризационный волоконно-оптический измеритель угловой скорости вращения и начальной скорости снаряда нарезного артиллерийского орудия (фиг. 4) содержит: 1- лазер с широким спектром излучения; 29.1 и 29.2- волоконно-оптические циркуляторы; 30.1 и 30.2 - волоконно-оптические коллиматоры; 31 - поляризатор плоскости поляризации излучения; 32 - анализатор плоскости поляризации излучения; 33 - уголковый отражатель излучения; 34 - снаряд; 35 - оптическое волокно; 8 - фотоприемник; 36 - измеритель частоты; 37 - блок обработки информации. Волоконный выход лазера 1 с широким спектром излучения соединен с входным портом первого циркулятора 29.1, двунаправленный порт которого соединен оптическим волокном 35 с двунаправленным портом второго циркулятора 29.2. Выходной порт второго циркулятора 29.2, соединен с входом волоконно-оптического коллиматора 30.1, излучение которого направлено на снаряд 34. В донной части снаряда 34 последовательно по ходу луча установлены, поляризатор плоскости поляризации излучения 31 и уголковый отражатель 33. Отраженное от уголкового отражателя 33 излучение, поступает в приемный волоконно-оптический коллиматор 30.2, перед которым установлен анализатор плоскости поляризации излучения 32. Выход приемного волоконно-оптического коллиматора 32.2, соединен с входным портом второго циркулятора 29.2. Выходной порт первого циркулятора 29.1, соединен с фотоприемником 8, выход которого последовательно соединен с измерителем частоты 36 и блоком обработки информации 37. Поляризационный волоконно-оптический измеритель угловой скорости вращения и начальной скорости снаряда нарезного артиллерийского орудия работает следующим образом. Излучение лазера 1 по волоконному выходу, направляется на входной порт первого циркулятора 29.1, и далее через его двунаправленный порт, по оптическому волокну 35, попадает на двунаправленный порт второго циркулятора 29.2. Излучение с выходного порта второго циркулятора 29.2, направляется на волоконный вход волоконно-оптического коллиматора 30.1 и далее на донную часть снаряда 34. В донной части снаряда 34, последовательно по ходу излучения установлены поляризатор 31 и уголковый отражатель 33. Излучение, отразившись от уголкового отражателя 33, и вторично пройдя поляризатор 31, будет плоско поляризованным. При вращении снаряда с угловой скоростью Ω плоскость поляризации отраженного от уголкового отражателя 33 излучения будет вращаться с этой же угловой скоростью Ω. Это излучение принимается приемным волоконно-оптическим коллиматором 30.2, перед которым установлен анализатор плоскости поляризации 32. Интенсивность излучения прошедшего через поляризатор и анализатор, в соответствии с законом Малюса равна: где I0 - интенсивность попадающего на поляризатор плоскости поляризации излучения; ϕ - угол между плоскостями поляризации поляризатора и анализатора. Поскольку, снаряд вращается с угловой скоростью Ω, угол между плоскостями поляризации поляризатора и анализатора, будет изменяться по закону: Подставим (2) в (1), получим: Как следует из формулы (3), интенсивность отраженного от снаряда излучения содержит постоянную и переменную составляющие. Переменная составляющая сигнала изменяется с удвоенной частотой по отношению к угловой скорости вращения снаряда. Линейная скорость снаряда V0связана со скоростью его вращения Ω, углом α наклона нарезов ствола на дульном участке ствола орудия, калибром ствола d, и определяется по формуле: Так, например, при скорости снаряда V0=1000 м/сек, калибре ствола d=150 мм., угле наклона нарезов на дульном участке ствола орудия α=7°, угловая скорость снаряда составит Ω=1637,127рад/сек., (Ω=260,55об/сек) или 15633,4 об/мин. Переменная составляющая сигнала, в этом случае, будет иметь удвоенную частоту 2Ω=5 21,1 Гц. Принятое излучение с приемного волоконно-оптического коллиматора 30.2, через входной порт второго волоконно-оптического циркулятора 29.2 и его двунаправленный порт, по оптическому волокну 35 попадает на двунаправленный порт первого волоконно-оптического циркулятора 29.1 и через его выходной порт поступает на фотоприемник 8 и измеритель частоты 36. По частоте ω электрического сигнала с фотоприемника 8, измеритель частоты 36 измеряет частоту сигнала, а блок обработки информации 37 вычисляет угловую скорость вращения снаряда Ω=ω/2 и его начальную скорость по формуле (4). Все компоненты системы являются стандартными для телекоммуникационных применений. Использованные источники информации: 1. Патент RU 2610905 на изобретение заявка: 2015122034 от 09.06.2015 МПК G01S 17/58 (2006.01) опубликован: 17.02.2017 Бюл. №5 2. Патент RU 2703835 на изобретение заявка: 2018135544 МПК F41F1/00 (2006.01), G01P 3/481 (2006.01),опубликован: 22.10.2019 Бюл. №30 3. Патент RU 2727778 на изобретение заявка: 2019127087/08 МПК G01S 17/58 (2006/01), опубликован: 23.07.2020 Бюл. №21.







