Изобретение относится к беспилотным летательным аппаратам (БПЛА) вертолетного типа с вертикальным взлетом и посадкой, используемым для доставки грузов, аэрофотосъемки и видеонаблюдения. Беспилотный летательный аппарат вертолетного типа содержит фюзеляж, соосные несущие винты. Фюзеляж состоит из нескольких цилиндрических модулей, включая два электродвигателя, оснащённые складывающимися пропеллерными лопастями, вращающимися в противоположных направлениях, модуль приёмников, модуль аккумуляторной батареи, модуль автомата перекоса, изменяющий плоскость вращения лопастей пропеллера нижнего электродвигателя для изменения направления полета, и модуль блока управления полётом. При этом все модули установлены по их центральной оси на полом стержне, внутри которого расположены провода связи и электропитания, соединяющие их между собой. Обеспечивается расширение функциональных возможностей БПЛА за счет возможности его запуска несколькими способами в зависимости от условий применения. 6 ил.
Беспилотный летательный аппарат вертолетного типа с фюзеляжем и соосными несущими винтами, отличающийся тем, что фюзеляж состоит из нескольких цилиндрических модулей, включая два электродвигателя, оснащённые складывающимися пропеллерными лопастями, вращающимися в противоположных направлениях, модуль приёмников, модуль аккумуляторной батареи, модуль автомата перекоса, изменяющий плоскость вращения лопастей пропеллера нижнего электродвигателя для изменения направления полета, и модуль блока управления полётом, при этом все модули установлены по их центральной оси на полом стержне, внутри которого расположены провода связи и электропитания, соединяющие их между собой.
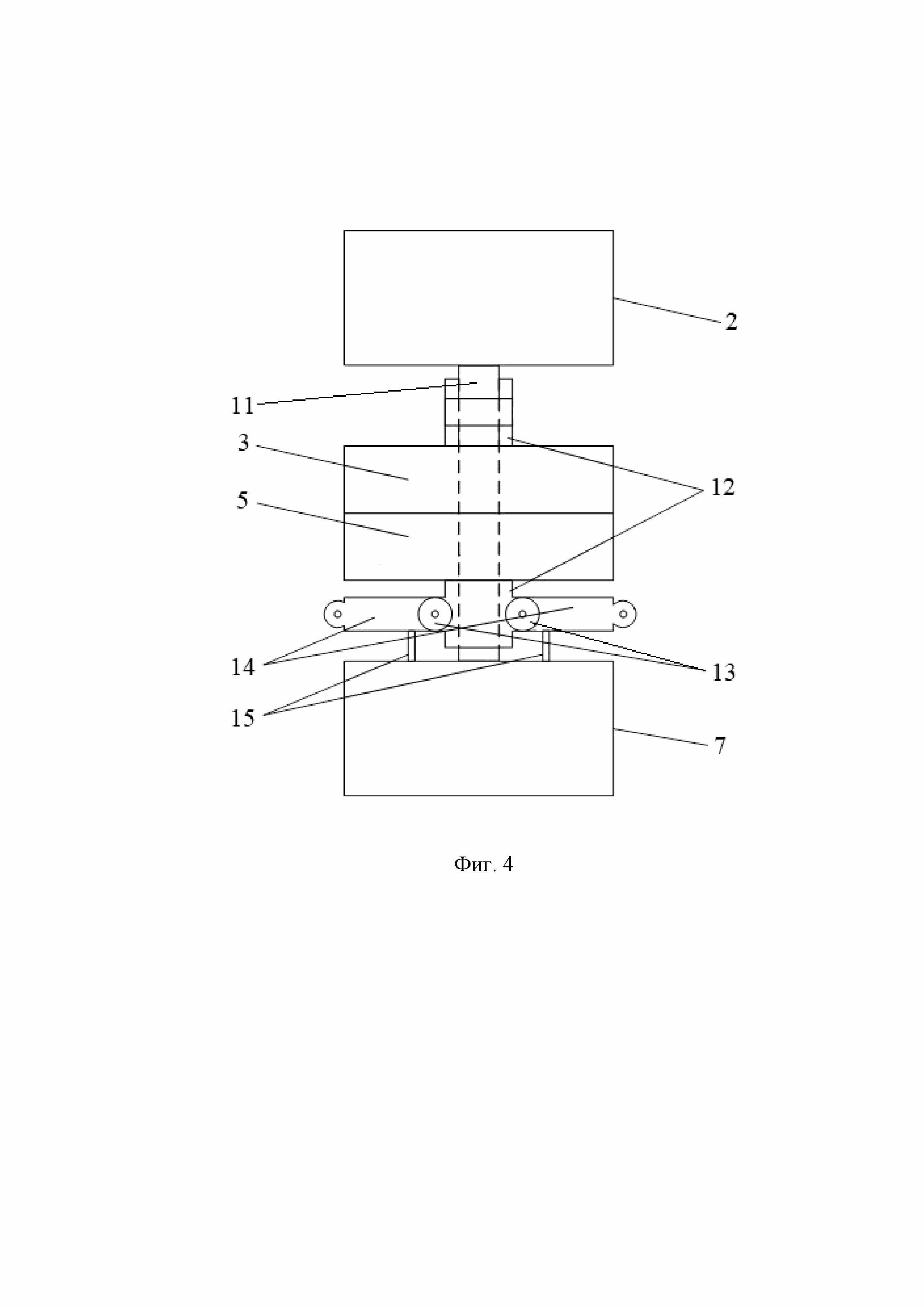
Изобретение относится к беспилотным летательным аппаратам (БПЛА) вертолетного типа с вертикальным взлетом и посадкой, используемым для доставки грузов, аэрофотосъемки и видеонаблюдения с возможностью передачи информации на станцию управления в режиме реального времени, в том числе для автономного выполнения полетного задания по заданной программе. По конструктивному исполнению все БПЛА подразделяются на две основные группы – самолетного типа и вертолетного типа. У БПЛА самолетного типа несущим элементом является неподвижное крыло, а движителем является вращающийся пропеллер, в то время как у БПЛА вертолетного типа и несущим элементом, и движителем является пропеллер. Были выбраны следующие аналоги заявляемого технического решения, которые относится к БПЛА вертолетного типа. Известна конструкция квадрокоптера, описанная в патенте РФ на изобретение № 2734680, опубл. 21.10.2020, МПК В64С 27/08, В64С 39/02, H01L 31/04. Известный квадрокоптер включает основную панель, выполненную из материала с высокой теплопроводностью и состоящую из двух круглых параллельных пластин с размещенной между ними сотовой конструкцией, и две дополнительные панели, идентичные по составу, форме и размеру основной панели. При этом корпус образован тремя перпендикулярно пересекающимися упомянутыми панелями, жёстко скрепленными по линии их пересечения, причем панели вписаны в сферу с центром в точке пересечения центральных осей панелей. Между пластинами основной панели размещен несущий каркас в виде крестообразной рамы, из концов которой выходят внешние концы лучей с электромоторами и винтами. При пересечении трех пар пластин панелей образуются восемь полых трехгранных объёмов. На внешней поверхности пластины, образующей грань трёхгранного объема, через электроизолирующий слой установлены фотоэлементы. Обеспечивается совмещение функций приемника-преобразователя электромагнитной энергии лазерного пучка в электроэнергию и пассивного маркера системы поиска, слежения и наведения, тепловая увязка трёх панелей, составляющих корпус, в единую тепловую сеть. Техническим результатом данного изобретения является совмещение в конструкции квадрокоптера, кроме функций всенаправленного приёмника-преобразователя электромагнитной энергии лазерного пучка в электроэнергию и пассивного маркера системы поиска, слежения и наведения (ПСН), также функций силовой конструкции и тепловой, что позволяет выполнить конструктивную (силовую) и тепловую увязку трёх взаимно перпендикулярных сотовых круговых панелей, составляющих его корпус, в единую тепловую сеть. Также известна конструкция беспилотного летательного аппарата, описанная в патенте на РФ изобретение № 2666493, опубл. 07.09.2018, МПК В64С 27/08, В64С 39/02. Известный беспилотный летательный аппарат содержит центральную платформу, на концах осей, вторые концы которых жёстко закреплены на ней и ориентированы относительно ее центра, жёстко закреплены, по крайней мере, восемь электродвигателей с соосными воздушными винтами с контролируемой частотой вращения. Рядом расположенные двигатели имеют встречное направление вращения, электродвигатели связаны с аккумуляторной батареей и маршрутной вычислительной системой – полетным контроллером и контроллерами моторов, мобильным пультом управления и контроля, системой видеонаблюдения и приемником GРS навигации. Кроме того, электродвигатели с винтами установлены внутри колец, аэродинамический профиль которых обращён к концевым частям винтов, которые вращаются в кольце с относительным зазором 0,45 – 1,5 % от диаметра кольца. За счёт такой конструкции обеспечивается повышение грузоподъемности БЛА при одинаковой затраченной мощности на осуществление полета, а также увеличение продолжительности и дальности полета при одинаковой затраченной энергии. Также известна конструкция многоцелевого беспилотного летательного аппарата вертикального взлёта и посадки, описанная в патенте РФ на полезную модель № 157424, опубл. 10.12.2015, МПК В64С 39/02, В64С 27/08. Известный многоцелевой беспилотный летательный аппарат, содержит несущий каркас и шесть электродвигателей с воздушными винтами, связанных с аккумуляторной батареей и маршрутным вычислительным устройством, при этом, на несущем каркасе в вершинах воображаемого равностороннего треугольника жестко зафиксированы три несущих системы «винт в кольце», с установленными в них двумя соосными несущими воздушными винтами противоположного вращения, с электронной регулировкой числа оборотов. Такая конструкция позволяет максимально повысить аэродинамическую эффективность, подъемную силу, а также обеспечить высокую маневренность многоцелевого беспилотного летательного аппарата вертикального взлёта и посадки. Также известна конструкция складного квадрокоптера, описанная в патенте РФ на изобретение № 2665123, опубл. 28.08.2018, МПК В64С 27/08. В соответствии с описанием к патенту квадрокоптер имеет корпус квадратовидной формы, состоящий из двух параллельных пластин, между которыми втулками на осях установлены внутренние концы четырех лучей – держателей винтов с двигателями. Внешние концы лучей с винтами размещены по углам квадрата вокруг корпуса, причём крепление лучей с корпусом выполнено с возможностью их сложения для хранения и переноски. Лучи квадрокоптера в положении хранения и транспортировки сложены в горизонтальной плоскости, для чего втулки внутренних концов лучей выполнены вертикально. Лучи надеты втулками на вертикальные оси, установленные между пластинами корпуса вблизи его центра. Две пары вертикальных осей размещены на пластинах корпуса симметрично относительно продольной оси корпуса. На всех четырех углах обеих пластин корпуса установлены выступы, перед внешними концами которых установлены стопоры с резьбой. За счёт такой конструкции обеспечивается повышение прочности скрепления лучей квадрокоптера с его корпусом при сохранении, компактность квадрокоптера в нерабочем положении. Все указанные выше известные аналоги относятся к БПЛА типа «квадрокоптер», у которых имеется, по меньшей мере, три несущих винта, расположенных в горизонтальной плоскости вокруг корпуса летательного аппарата, при этом их общими недостатками являются: - Избыточное энергопотребление БПЛА, необходимое для работы по меньшей мере трех электродвигателей; - Низкая устойчивость БПЛА известных конструкций к порывам ветра во время их полёта; - Невозможность запуска БПЛА различными способами в зависимости от условий их применения; - Громоздкость конструкций БПЛА, в том числе обусловленная широким расположением их несущих винтов в горизонтальной плоскости в нерабочем положении, что требует осторожного обращения с БПЛА во время их хранения и транспортировки. В качестве прототипа заявляемого изобретения выбрана конструкция беспилотного летательного аппарата вертолётного типа, описанная в патенте РФ на полезную модель № 82674, опубл. 10.05.2009, МПК В64С 29/00. В соответствии с описанием к патенту заявлен беспилотный летательный аппарат вертолетного типа с фюзеляжем и соосными несущими винтами, при этом, фюзеляж имеет сферическую форму, по экватору фюзеляжа расположены соосные несущие винты и электродвигательная установка, в области нижней крайней точки фюзеляжа размещена внутренняя тележка, обеспечивающая изменение направления полета путем передвижения от нижней крайней точки к экватору фюзеляжа. Известная конструкция БПЛА строится вокруг пустого сферического тела с экваториальным расположением винтов, вращающихся в противоположных направлениях. Это имеет преимущество, т.к. основная движущая область винтов находится на периферии, а не в центре, что позволяет использовать центр для полезной нагрузки и систем управления, а также не использовать осевые двигатели, которые существенно уменьшают внутренний полезный объем. Однако, данная конструкция имеет следующие недостатки: - Так как в нижней части полусферы размещена внутренняя тележка, обеспечивающая изменение направления полета путем передвижения от нижней крайней точки к экватору фюзеляжа, размещение приборов управления, аккумуляторной батареи и полезной нагрузки возможно только в верхней части полусферы, что влечет за собой смещение центра тяжести вверх и ухудшение управляемости. - При транспортировке такого БПЛА необходимо принимать особые меры предосторожности для исключения повреждения его несущих винтов; - Данная конструкция БПЛА не позволяет осуществлять его запуск разными способами, в том числе с использованием каких-либо пусковых устройств; - Выполняемые функции БПЛА данной конструкции ограничены установленным в верхней полусфере корпуса оборудованием. Техническим результатом заявляемого изобретения является расширение функциональных возможностей БПЛА. Указанный технический результат достигается за счёт конструкции беспилотного летательного аппарата вертолётного типа с фюзеляжем и соосными несущими винтами, при этом фюзеляж состоит из нескольких цилиндрических модулей, включая два электродвигателя, оснащённые складывающимися пропеллерными лопастями, вращающимися в противоположных направлениях, модуля приёмников, модуля аккумуляторной батареи, модуля автомата перекоса и модуля блока управления полётом, при этом все модули установлены по их центральной оси на полом стержне, внутри которого расположены провода связи и электропитания, соединяющие их между собой. Дополнительно, кроме указанных модулей, фюзеляж беспилотного летательного аппарата вертолётного типа также может включать в себя и другие модули, необходимые для выполнения задач, стоящих перед БПЛА, например, модуль полезной нагрузки, предназначенный для транспортировки грузов, модуль дополнительной аккумуляторной батареи для увеличения полетного времени и т.п. Таким образом, заявляемая конструкция БПЛА вертолётного типа включает в себя фюзеляж, состоящий из нескольких функциональных модулей цилиндрической формы, которые закреплены на центральном полом стержне: два электродвигателя, оснащённые складывающимися пропеллерными лопастями, которые вращаются в противоположных направлениях; модуль приёмников, в котором может быть использован, например, приёмник GPS/ГЛОНАСС, предназначенный для обеспечения навигации БПЛА и/или приёмник управления полетом, предназначенный для обеспечения управления БПЛА оператором, находящимся на земле; по меньшей мере, один модуль, содержащий аккумуляторную батарею, которая предназначена для обеспечения электропитания других функциональных модулей; модуль автомата перекоса, который предназначен для осуществления изменения плоскости вращения пропеллерных лопастей одного из электродвигателей по команде, поступающей от блока управления полетом, который также расположен в соответствующем модуле. В фюзеляже БПЛА вертолётного типа могут быть использованы, например, электродвигатели T-Motor U8Ⅱ 85kV U-Efficiency Type мощностью по 916 Вт каждый, работающие по соосной схеме, в соответствии с которой, установленные на них пропеллерные лопасти вращаются в противоположных направлениях. Для этого каждый электродвигатель содержит полую ось вращения, на которой с помощью втулок установлены подвижные штанги крепления лопастей, к которым, в свою очередь присоединены пропеллерные лопасти, по меньшей мере, по две пропеллерные лопасти на каждый электродвигатель. В модуле приёмников для обеспечения навигации GPS/ГЛОНАСС может быть использован, например, навигационный приёмник МНП-М9.1 производства Ижевского радиозавода с антенной 2J433, а в качестве приёмника управления полетом может быть использован приёмник с рабочей частотой 915 МГц, применяемый в системе радиоуправления на больших расстояниях с открытым исходным кодом по протоколу ExpressLRS. В одном или нескольких модулях аккумуляторных батарей могут быть использованы Li-Po аккумуляторные батареи ёмкостью не менее 10 А/ч напряжением не менее 25.2 В. Модуль автомата перекоса осуществляет изменение плоскости вращения лопастей одного из электродвигателей по команде, поступающей от блока управления полётом, который расположен в соответствующем модуле. Для реализации этой функции модуль автомата перекоса оснащён толкателями, подвижно присоединёнными к штангам крепления управляемых пропеллерных лопастей. Толкатели, приводимые в действие автоматом перекоса в соответствии с командами, поступающими от блока управления полётом, изменяют положение штанг крепления лопастей в диапазоне до 5 градусов, за счёт чего изменяется плоскость вращения пропеллерных лопастей в вертикальном положении. Поворот корпуса БПЛА в горизонтальном положении осуществляется за счёт управления разностью скоростей вращения электродвигателей. Таким образом изменяется направления полета БПЛА в любом направлении. Модуль блока управления полетом может быть выполнен на базе, например, контроллера «Цинк-20» производства компании ООО «Атри» или контроллера 1892ВА018 «СКИФ» производства компании «Элвис». Дополнительно, фюзеляж БПЛА вертолётного типа может быть оснащён другими функциональными модулями, например, модулем полезной нагрузки, предназначенным для закрепления в нём необходимого для транспортировки груза массой до 2,5 кГ, модуль аккумуляторной батареи для увеличения продолжительности полета БПЛА и другие функциональные модули. Таким образом, состав и назначение модулей, включаемых в фюзеляж БПЛА может изменяться в зависимости от его функционального назначения. Кроме того, благодаря цилиндрической форме фюзеляжа БПЛА, он может запускаться в воздух разными способами – как с помощью специальной пусковой установки, содержащей пусковой модуль, так и автономно с помощью шасси (например, в виде треноги), на котором устанавливают БПЛА перед его пуском. Сущность заявляемой конструкции БПЛА вертолётного типа поясняется чертежами: на Фиг. 1 показан один из примеров реализации БПЛА вертолётного типа – вид сбоку в нерабочем положении со сложенными пропеллерными лопастями; на Фиг. 2 показан вид БПЛА сверху в нерабочем положении со сложенными пропеллерными лопастями; на Фиг. 3 показан вид БПЛА сверху в рабочем положении с разведёнными пропеллерными лопастями и указанными направлениями их вращения; на Фиг. 4 показан пример схемы закрепления модулей БПЛА на центральном полом стержне; на Фиг. 5 показана пример схемы установки БПЛА на шасси (треноге), используемом для его запуска; на Фиг. 6 показана пример схемы установки БПЛА внутри специальной пусковой установки, предназначенной его запуска. Конструкция БПЛА вертолётного типа включает в себя несколько функциональных модулей цилиндрической формы, последовательно соединенных между собой, на Фиг. 1 показаны: - Модуль приёмников (1); - Модуль первой аккумуляторной батареи (2); - Первый электродвигатель (3) с закрепленными на нём пропеллерными лопастями (4); - Второй электродвигатель (5) с закрепленными на нём пропеллерными лопастями (6); - Модуль автомата перекоса (7); - Модуль второй аккумуляторной батареи (8); - Модуль блока управления полетом (9); - Модуль полезной нагрузки (10). На Фиг. 1 и Фиг. 2 видно, что пропеллерные лопасти (4) и (6) в нерабочем положении компактно расположены вдоль общей оси цилиндрических модулей БПЛА, при этом, при включении электродвигателей (3) и (5), пропеллерные лопасти (4) и (6) начинают вращаться в противоположных направлениях и расходятся в стороны за счёт действия центробежной (см. Фиг. 3). На Фиг. 4 показан пример схемы закрепления модулей БПЛА на центральном полом стержне (11), на котором жёстко установлены: модуль аккумуляторной батареи (2), модуль автомата перекоса (7) и установленными между ними электродвигатели (3) и (5), причём каждый электродвигатель содержит полую ось вращения (12), на которой с помощью втулок (13) установлены подвижные штанги крепления лопастей (14), к которым присоединены пропеллерные лопасти (4) и (6). При этом внутри полого стержня (11) расположены провода связи и электропитания, соединяющие все модули между собой. При этом, модуль автомата перекоса (7) оснащён толкателями (15), подвижно присоединёнными к штангам крепления лопастей (14) нижнего электродвигателя, которыми он управляет. На Фиг. 5 показан пример установки БПЛА на треножных опорах (16) с помощью креплений (17). На Фиг. 6 показан пример установки БПЛА внутри корпуса (18) специальной пусковой установки, содержащий пусковой модуль (19), осуществляющего пуск БПЛА, например, с помощью пружины или с помощью сжатого воздуха. Заявляемая конструкция БПЛА вертолётного типа работает следующим образом. Фюзеляж БПЛА перед применением заранее собирают в нужной конфигурации из модулей, необходимых для выполнения поставленной задачи, в которую обязательно входят следующие модули: два электродвигателя (3) и (5), оснащённые пропеллерными лопастями соответственно (4) и (6), модуль приёмников (1), по меньшей мере, один модуль аккумуляторной батареи (2), модуль автомата перекоса (7) и модуль блока управления полётом (9), для чего все модули устанавливают по их центральной оси на полом стержне (11), внутри которого располагаются провода связи и электропитания, соединяющие все модули между собой. Собранный БПЛА хранят и транспортируют к месту применения в специальной упаковке (например, тубусах), причём конструкция БПЛА вертолётного типа в нерабочем положении представляет собой компактный цилиндр, занимающий мало места и который трудно повредить во время его транспортировки. Для выполнения запуска БПЛА вертолётного типа его размещают на шасси, например, на треножных опорах (16) с помощью креплений (17) или внутри корпуса (18) специальной пусковой установки, содержащий пусковой модуль (19). В случае применения специальной пусковой установки для запуска БПЛА сначала оператор подает соответствующую команду на прибор управления полетом и на отстрел, в результате чего сначала производится отстрел БПЛА из корпуса (18) с помощью пускового модуля (19), а затем последовательно включаются сначала верхний (3), а затем нижний (5) электродвигатели БПЛА, в результате чего пропеллерные лопасти (4) и (6) приводятся в рабочее положение за счёт воздействия на них центробежной силы. В случае запуска БПЛА с шасси, его запуск осуществляется оператором сразу путём последовательного включения электродвигателей (3) и (5). Последовательное включение двигателей производится с целью исключения соприкосновения и повреждения лопастей пропеллеров (4) и (6) во время запуска БПЛА. Далее оператор БПЛА с помощью управляющих команд, которые он передаёт на приёмник управления полетом, установленный в модуле приёмников (1) управляет движением БПЛА, отслеживая его перемещения с помощью приёмника GPS/ГЛОНАСС, а также с помощью информации, приходящей от фото- или видеокамер (в случае их установки на БПЛА). Причём для осуществления изменения направления полёта БПЛА оператор с помощью блока управления полётом, находящимся в модуле (9) воздействует на исполнительный механизм автомата перекоса, находящемся в модуле (7) и на изменение скоростей вращения электродвигателей. Толкатели (15), приводимые в действие автоматом перекоса в соответствии с командами, поступающими от блока управления полётом, изменяют положение штанг крепления лопастей (14) в диапазоне до 5 градусов, за счёт чего производится изменение плоскости вращения пропеллерных лопастей нижнего электродвигателя, в результате чего изменяется направление полёта БПЛА. Работа всех модулей БПЛА обеспечивается за счёт электроэнергии, поступающей от одной или нескольких аккумуляторных батарей. После выполнения полёта, посадка БПЛА вертолётного типа производится путём последовательного отключения его электродвигателей. Заявляемая конструкция БПЛА позволяет производить его запуск несколькими способами в зависимости условий его применения – как с помощью специальной пусковой установки, так и автономно путём пуска с шасси, и, кроме того такая конструкция проста, удобна при эксплуатации и во время её транспортировки. Таким образом, достигается указанный технический результат – расширение функциональных возможностей БПЛА вертолётного типа.