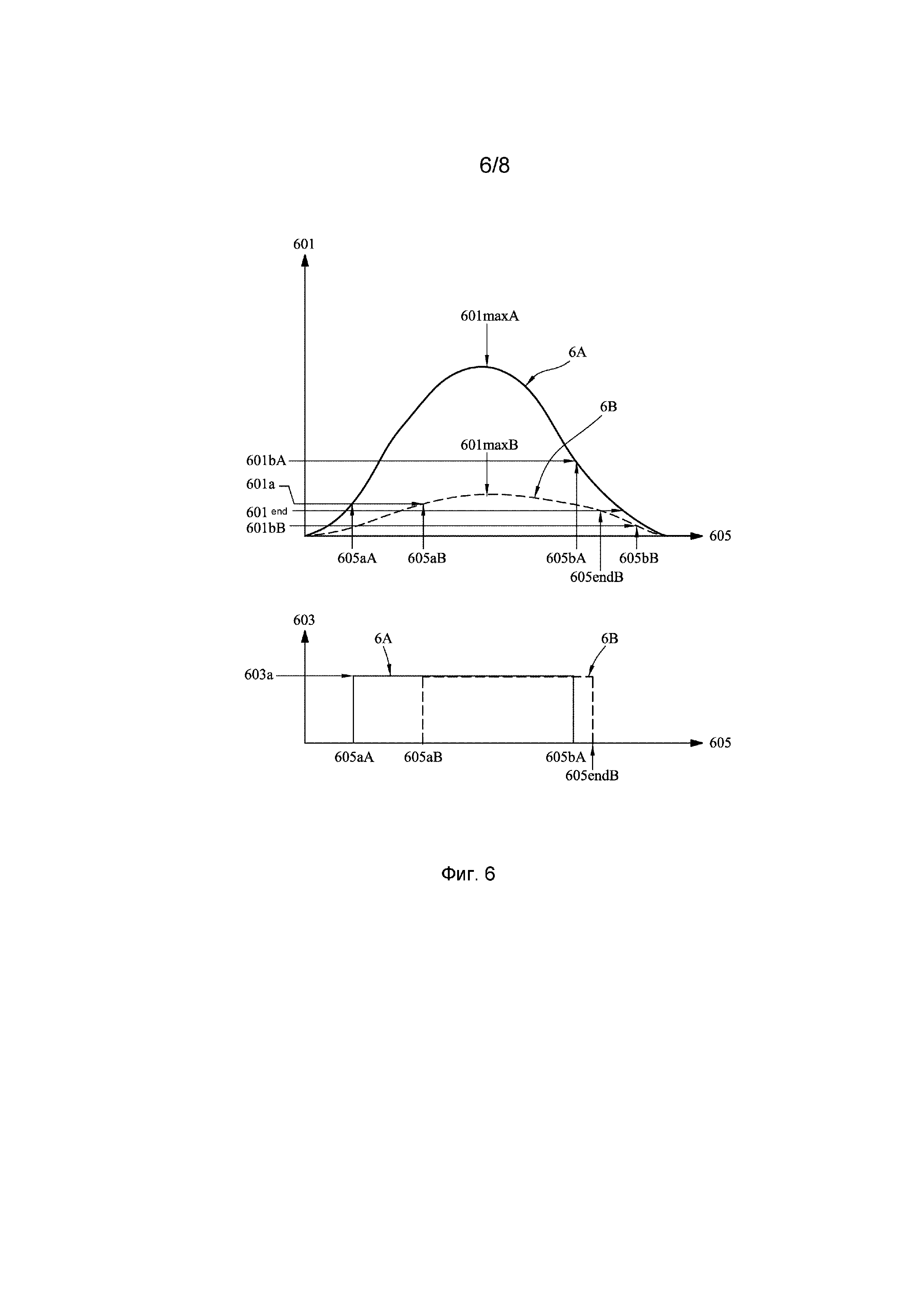
Группа изобретений относится к способу управления созданием аэрозоля в генерирующей аэрозоль системе, генерирующей аэрозоль системе, электрической схеме для генерирующей аэрозоль системы и машиночитаемому носителю для хранения данных. Способ управления созданием аэрозоля в генерирующей аэрозоль системе, содержащей генерирующий аэрозоль элемент, кожух, имеющий впускное отверстие для воздуха и выпускное отверстие для воздуха, причем через кожух от впускного отверстия для воздуха до выпускного отверстия для воздуха проходит канал потока, обеспечивающий поток воздуха мимо генерирующего аэрозоль элемента при осуществлении пользователем затяжек на системе, и датчик потока, выполненный с возможностью определения потока воздуха в упомянутом канале потока, указывающего на осуществление затяжки пользователем, причем способ включает следующие хронологические этапы, на которых: повышают мощность, подаваемую на генерирующий аэрозоль элемент, от мощности P0 до по меньшей мере мощности P1, если датчик потока определил, что интенсивность потока воздуха выше первого порога; снижают мощность, подаваемую на генерирующий аэрозоль элемент, до мощности P2, которая ниже мощности P1, если датчик потока определил, что интенсивность потока воздуха ниже второго порога, представляющего собой или характеризующего интенсивность потока, которая представляет заданную первую пропорциональную долю от первой максимальной интенсивности потока, определяемой датчиком потока; и повышают мощность, подаваемую на генерирующий аэрозоль элемент, если датчик потока определил, что интенсивность потока воздуха выше третьего порога, который выше второго порога, перед определением того, что интенсивность потока воздуха ниже порога окончания затяжки, который, в свою очередь, ниже второго порога. Обеспечивается возможность быстрой доставки аэрозоля надлежащего качества с помощью системы в ответ на следующую определенную затяжку. 4 н. и 10 з.п. ф-лы, 8 ил.
1. Способ управления созданием аэрозоля в генерирующей аэрозоль системе, содержащей генерирующий аэрозоль элемент, кожух, имеющий впускное отверстие для воздуха и выпускное отверстие для воздуха, причем через кожух от впускного отверстия для воздуха до выпускного отверстия для воздуха проходит канал потока, обеспечивающий поток воздуха мимо генерирующего аэрозоль элемента при осуществлении пользователем затяжек на системе, и датчик потока, выполненный с возможностью определения потока воздуха в упомянутом канале потока, указывающего на осуществление затяжки пользователем, причем способ включает следующие хронологические этапы, на которых: повышают мощность, подаваемую на генерирующий аэрозоль элемент, от мощности P0 до по меньшей мере мощности P1, если датчик потока определил, что интенсивность потока воздуха выше первого порога; снижают мощность, подаваемую на генерирующий аэрозоль элемент, до мощности P2, которая ниже мощности P1, если датчик потока определил, что интенсивность потока воздуха ниже второго порога, представляющего собой или характеризующего интенсивность потока, которая представляет заданную первую пропорциональную долю от первой максимальной интенсивности потока, определяемой датчиком потока; и повышают мощность, подаваемую на генерирующий аэрозоль элемент, если датчик потока определил, что интенсивность потока воздуха выше третьего порога, который выше второго порога, перед определением того, что интенсивность потока воздуха ниже порога окончания затяжки, который, в свою очередь, ниже второго порога. 2. Способ по п. 1, при котором мощность P0 равна нулю, или мощность P2 равна нулю, или обе из мощности P0 и мощности P2 равны нулю. 3. Способ по п. 1 или 2, при котором третий порог представляет собой заданную вторую пропорциональную долю от первой максимальной интенсивности потока, превышающую указанную заданную первую пропорциональную долю, или третий порог представляет собой заданное кратное второму порогу, большее 1. 4. Способ по любому из предыдущих пунктов, при котором первый порог представляет собой первую константу и/или порог окончания затяжки представляет собой константу для определения окончания затяжки. 5. Способ по любому из предыдущих пунктов, при котором этап повышения мощности, подаваемой на генерирующий аэрозоль элемент, от мощности P0 до по меньшей мере мощности P1, включает повышение мощности, подаваемой на генерирующий аэрозоль элемент, до мощности РХ, которая выше или равна мощности Р1, и этап повышения мощности, подаваемой на генерирующий аэрозоль элемент, если датчик потока определил, что интенсивность потока воздуха выше третьего порога, перед определением того, что интенсивность потока воздуха ниже порога окончания затяжки, включает повышение мощности, подаваемой на генерирующий аэрозоль элемент, до мощности Р3, которая ниже или равна мощности РХ. 6. Способ по любому из предыдущих пунктов, при котором после этапа повышения мощности, подаваемой на генерирующий аэрозоль элемент, если датчик потока определил, что интенсивность потока воздуха выше третьего порога, перед определением того, что интенсивность потока воздуха ниже порога окончания затяжки, дополнительно снижают мощность, подаваемую на генерирующий аэрозоль элемент, до мощности P4, если датчик потока определил, что интенсивность потока воздуха ниже порога окончания затяжки. 7. Способ по п. 6, при котором мощность P4 равна нулю. 8. Способ по любому из предыдущих пунктов, при котором: этап повышения мощности, подаваемой на генерирующий аэрозоль элемент, от мощности P0 до по меньшей мере мощности P1, включает по существу мгновенное повышение мощности от P0 до по меньшей мере мощности P1, или этап снижения мощности, подаваемой на генерирующий аэрозоль элемент, до мощности P2 включает по существу мгновенное снижение мощности, подаваемой на генерирующий аэрозоль элемент, до мощности P2, или как этап повышения мощности, подаваемой на генерирующий аэрозоль элемент, от мощности P0 до по меньшей мере мощности P1, включает по существу мгновенное повышение мощности от мощности P0 до по меньшей мере мощности P1, так и этап снижения мощности, подаваемой на генерирующий аэрозоль элемент, до мощности P2 включает по существу мгновенное снижение мощности, подаваемой на генерирующий аэрозоль элемент, до мощности P2. 9. Способ по любому из пп. 1-6, при котором: этап повышения мощности, подаваемой на генерирующий аэрозоль элемент, от мощности P0 до по меньшей мере мощности P1, включает плавное повышение мощности от мощности P0 до по меньшей мере мощности P1, или этап снижения мощности, подаваемой на генерирующий аэрозоль элемент, до мощности P2, включает плавное снижение мощности, подаваемой на генерирующий аэрозоль элемент, до мощности P2, или как этап повышения мощности, подаваемой на генерирующий аэрозоль элемент, от мощности P0 до по меньшей мере мощности P1, включает плавное повышение мощности от мощности P0 до по меньшей мере мощности P1, так и этап снижения мощности, подаваемой на генерирующий аэрозоль элемент, до мощности P2, включает плавное снижение мощности, подаваемой на генерирующий аэрозоль элемент, до мощности P2. 10. Способ по любому из предыдущих пунктов, при котором дополнительно после этапа повышения мощности, подаваемой на генерирующий аэрозоль элемент, от мощности P0 до по меньшей мере мощности P1, но до этапа снижения мощности, подаваемой на генерирующий аэрозоль элемент, до мощности P2, повышают мощность, подаваемую на генерирующий аэрозоль элемент, от по меньшей мере мощности P1 до мощности P5. 11. Способ по любому из предыдущих пунктов, при котором подача питания на генерирующий аэрозоль элемент включает подачу импульсов электрического тока на генерирующий аэрозоль элемент. 12. Генерирующая аэрозоль система, содержащая генерирующий аэрозоль элемент, канал потока, выполненный с возможностью обеспечения возможности потока воздуха мимо генерирующего аэрозоль элемента, датчик потока, выполненный с возможностью определения потока воздуха, указывающего на осуществление затяжки пользователем, источник питания для подачи питания на генерирующий аэрозоль элемент и электрическую схему, предназначенную для управления подачей питания от источника питания на генерирующий аэрозоль элемент и выполненную с возможностью осуществления способа по любому из предыдущих пунктов. 13. Электрическая схема для генерирующей аэрозоль системы, выполненная с возможностью осуществления способа по любому из пп. 1-11. 14. Машиночитаемый носитель для хранения данных, содержащий хранящуюся на нем компьютерную программу, которая при запуске на программируемой электрической схеме для генерирующей аэрозоль системы обеспечивает осуществление указанной программируемой электрической схемой способа по любому из пп. 1-11.
Настоящее изобретение относится к способу управления созданием аэрозоля в генерирующей аэрозоль системе. Настоящее изобретение также относится к генерирующей аэрозоль системе. Настоящее изобретение находит конкретное применение в качестве способа управления созданием аэрозоля в генерирующей аэрозоль системе путем регулирования мощности, подаваемой на генерирующий аэрозоль элемент генерирующей аэрозоль системы. В WO 2012/072790 раскрыт способ управления по меньшей мере одним электрическим нагревательным элементом электрически нагреваемой генерирующей аэрозоль системы для нагрева образующего аэрозоль субстрата. Генерирующая аэрозоль система имеет датчик для определения потока воздуха, указывающего на осуществление пользователем затяжки, имеющей продолжительность потока воздуха. Способ включает этапы, на которых: повышают мощность нагрева по меньшей мере для одного нагревательного элемента, если датчик определил, что интенсивность потока воздуха повысилась до первого порога; и снижают мощность нагрева для указанного по меньшей мере одного нагревательного элемента, если датчик определил, что интенсивность потока воздуха снизилась до второго порога. Как раскрыто в WO 2012/072790, путем регулирования мощности нагрева, подаваемой на указанный по меньшей мере один нагревательный элемент, обеспечивается возможность оптимизации использования энергии. Мощность нагрева может быть адаптирована к конкретному профилю затяжки таким образом, чтобы обеспечивалась возможность достижения требуемых свойств аэрозоля, таких как конкретная концентрация аэрозоля или размер частиц. Также обеспечивается возможность предотвращения нежелательного перегрева или недостаточного нагрева, особенно ближе к началу или окончанию затяжки. Снижение мощности ближе к окончанию затяжки влияет на охлаждение нагревательного элемента и, следовательно, на температуру нагревательного элемента и вблизи него. Это, в свою очередь, влияет на то, какое количество конденсата способно образовываться в системе, что может влиять на утечку жидкости. В WO 2012/072790 раскрыт способ минимизации конденсации аэрозолей, генерируемых генерирующими аэрозоль устройствами и внутри них, путем снижения мощности нагрева, подаваемой на генерирующий аэрозоль элемент до окончания затяжки, осуществляемой пользователем. Однако это может вызвать негативные ощущения у пользователя, в частности, во время более сложного профиля затяжки, если пользователю доставляется неудовлетворительный аэрозоль после снижения мощности, подаваемой на генерирующий аэрозоль элемент. Задача настоящего изобретения состоит в создании усовершенствованного способа управления созданием аэрозоля в генерирующей аэрозоль системе. В частности, задача настоящего изобретения состоит в создании усовершенствованного способа управления созданием аэрозоля во время сложного профиля затяжки. Согласно первому аспекту настоящего изобретения, предложен способ управления созданием аэрозоля в генерирующей аэрозоль системе. Система содержит генерирующий аэрозоль элемент и кожух, имеющий впускное отверстие для воздуха и выпускное отверстие для воздуха. Через кожух от впускного отверстия для воздуха до выпускного отверстия для воздуха образован канал потока, обеспечивающий поток воздуха мимо генерирующего аэрозоль элемента при осуществлении пользователем затяжек на системе. Система также содержит датчик потока, выполненный с возможностью определения потока воздуха в канале потока, указывающего на осуществление затяжки пользователем. Способ включает нижеследующие этапы, на которых: повышают мощность, подаваемую на генерирующий аэрозоль элемент, от мощности P0 до по меньшей мере мощности P1, если датчик потока определил, что интенсивность потока воздуха выше первого порога; снижают мощность, подаваемую на генерирующий аэрозоль элемент, до мощности P2, которая ниже мощности P1, если датчик потока определил, что интенсивность потока воздуха ниже второго порога, представляющего собой или характеризующего интенсивность потока, представляющую заданную первую пропорциональную долю от первой максимальной интенсивности потока, определяемой датчиком потока; и повышают мощность, подаваемую на генерирующий аэрозоль элемент, если датчик потока определил, что интенсивность потока воздуха выше третьего порога, который выше второго порога, перед определением того, что интенсивность потока воздуха ниже порога окончания затяжки, который ниже второго порога. Указанные этапы способа представлены в хронологическом порядке. Иначе говоря, вышеописанный порядок этапов представляет собой порядок, в котором выполняют указанные этапы. Тем не менее, могут иметь место дополнительные этапы, выполняемые до, после или между любыми из вышеописанных этапов способа. В контексте данного документа термин «генерирующая аэрозоль система» может использоваться для описания системы, выполненной с возможностью генерирования аэрозоля. Аэрозоль может быть предназначен для вдыхания пользователем. Генерирующая аэрозоль система может содержать генерирующее аэрозоль устройство и картридж. Генерирующее аэрозоль устройство может содержать источник питания. Картридж может содержать образующий аэрозоль субстрат. В контексте данного документа термин «генерирующий аэрозоль элемент» может использоваться для описания одного или более элементов, выполненных с возможностью генерирования аэрозоля или пара из образующего аэрозоль субстрата. Генерирующий аэрозоль элемент или один или более элементов, образующих генерирующий аэрозоль элемент, могут быть соединены с источником питания. Иначе говоря, генерирующая аэрозоль система может содержать источник питания, выполненный с возможностью подачи питания на генерирующий аэрозоль элемент. В контексте данного документа термин «образующий аэрозоль субстрат» используется для обозначения субстрата, способного выделять летучие соединения, которые могут образовывать аэрозоль. Летучие соединения могут выделяться в результате нагрева образующего аэрозоль субстрата. Аэрозоли, генерируемые из образующих аэрозоль субстратов генерирующих аэрозоль систем согласно настоящему изобретению, могут быть видимыми или невидимыми, и они могут содержать пары (например, тонкодисперсные частицы веществ, находящихся в газообразном состоянии, которые при комнатной температуре обычно являются жидкими или твердыми), а также газы и капли жидкости конденсированных паров. В контексте данного документа термин «интенсивность потока» может использоваться для описания любого параметра, характеризующего интенсивность потока через генерирующую аэрозоль систему. Например, определенная «интенсивность потока» может представлять собой одно или более из давления, скорости потока, температуры, массового расхода или объемного расхода. Таким образом, определенный «датчик потока» может определять одно или более из давления, скорости потока, температуры, массового расхода или объемного расхода. В контексте данного документа термин «система определения затяжек» может относиться к системе, содержащей датчик потока. В контексте данного документа термин «поток воздуха» может использоваться для обозначения потока лишь воздуха, или он может использоваться для обозначения потока воздуха, смешанного с каплями аэрозоля. В контексте данного документа термин «капли» может использоваться для обозначения капель или частиц. Иначе говоря, термин «капли» может относиться к каплям жидкости. В качестве альтернативы или дополнительно, термин «капли» может относиться к твердым частицам. Датчик потока может содержать электромеханическое устройство, или механическое устройство, или оптическое устройство, или оптико-механическое устройство, или датчик на основе микроэлектромеханических систем (MEMS), или акустический датчик, или любую комбинацию вышеперечисленного. В контексте данного документа термин «затяжка» используется для описания вдыхания, осуществляемого пользователем и создающего поток воздуха через генерирующую аэрозоль систему. Момент начала затяжки определяется моментом, когда датчик потока определил, что интенсивность потока выше порога начала затяжки, и момент окончания затяжки определяется моментом, когда датчик потока определил, что интенсивность потока снизилась до значения, которое ниже порога окончания затяжки. В контексте данного документа термин «заданный» используется в значении: «определенный до момента начала затяжки». Согласно первому аспекту настоящего изобретения, способ управления созданием аэрозоля включает этап повышения мощности, подаваемой на генерирующий аэрозоль элемент, если датчик потока определил, что интенсивность потока воздуха выше третьего порога, перед определением того, что интенсивность потока воздуха ниже порога окончания затяжки. Иначе говоря, мощность, подаваемая на генерирующий аэрозоль элемент, может быть повышена более чем один раз во время затяжки, в зависимости от профиля затяжки. Это обеспечивает преимущество, состоящее в возможности доставки пользователю удовлетворительного аэрозоля генерирующей аэрозоль системой во время осуществления затяжки со сложным профилем затяжки. В данном контексте термин «сложный профиль затяжки» используется для обозначения профиля затяжки, имеющего по меньшей мере один локальный минимум при построении графика интенсивности потока в зависимости от времени. Например, данный этап обеспечивает возможность нивелирования потенциальной проблемы с иллюстративным профилем затяжки, который включает нижеследующие стадии: Стадия 1: Пользователь осуществляет затяжку на системе, что приводит к повышению определяемой интенсивности потока воздуха с нуля до первой максимальной интенсивности потока. Стадия 2: Затем определяемая интенсивность потока снижается до первой локальной минимальной интенсивности, которая выше порога окончания затяжки. Стадия 3: Затем интенсивность повышается до второй максимальной интенсивности. Стадия 4: Затем интенсивность снижается до уровня, который ниже порога окончания затяжки, указывая на то, что затяжка завершена. Если бы мощность, подаваемая на генерирующий аэрозоль элемент, была снижена между стадией 2 и стадией 3 затяжки и никогда не повышалась снова, то пользователь мог бы испытать неприятные ощущения вследствие доставки аэрозоля ненадлежащего качества во время стадии 3 и стадии 4 затяжки. С помощью способа согласно настоящему изобретению, обеспечивается возможность повышения мощности, подаваемой на генерирующий аэрозоль элемент, во время стадии 3. Таким образом обеспечивается возможность доставки пользователю аэрозоля надлежащего качества во время стадии 3 и стадии 4. Мощность P0 может быть равна нулю. Таким образом обеспечивается преимущество, состоящее в возможности экономии энергии. Это может означать, что генерирующая аэрозоль система не будет нуждаться в слишком частой перезарядке. В качестве альтернативы, мощность P0 может представлять собой ненулевую мощность. Таким образом обеспечивается преимущество, состоящее в возможности более быстрой доставки аэрозоля надлежащего качества с помощью системы в ответ на определенную затяжку. Мощность P2 может быть равна нулю. Таким образом обеспечивается преимущество, состоящее в возможности экономии энергии. Это может означать, что генерирующая аэрозоль система не будет нуждаться в слишком частой перезарядке. В качестве альтернативы, мощность P2 может представлять собой ненулевую мощность. Это обеспечивает преимущество, состоящее в возможности более быстрой доставки аэрозоля надлежащего качества с помощью системы в ответ на определенную интенсивность потока, превышающую третий порог. Третий порог может представлять собой заданную вторую пропорциональную долю от первой максимальной интенсивности потока. Заданная вторая пропорциональная доля должна быть выше заданной первой пропорциональной доли, так что третий порог будет выше второго порога. В качестве альтернативы, третий порог может представлять собой заданное кратное второму порогу. Заданное кратное должно быть больше 1, так что третий порог будет выше второго порога. Заданное кратное не обязательно должно быть целым числом. Первый порог может представлять собой первую константу. Порог окончания затяжки может представлять собой константу для определения окончания затяжки. Этап повышения мощности, подаваемой на генерирующий аэрозоль элемент, от мощности P0 до по меньшей мере мощности P1 может включать повышение мощности, подаваемой на генерирующий аэрозоль элемент, до мощности PX, которая выше или равна мощности P1. Этап повышения мощности, подаваемой на генерирующий аэрозоль элемент, если датчик потока определил, что интенсивность потока воздуха выше третьего порога, перед определением того, что интенсивность потока воздуха ниже порога окончания затяжки, может включать повышение мощности, подаваемой на генерирующий аэрозоль элемент, до мощности Р3, которая ниже или равна РХ. Значение P3, меньшее PX, может быть предпочтительным для общих профилей затяжки, на которых первая максимальная интенсивность потока представляет собой наивысшую интенсивность потока во время затяжки. Способ может включать, после этапа повышения мощности, подаваемой на генерирующий аэрозоль элемент, если датчик потока определил, что интенсивность потока воздуха выше третьего порога, перед определением того, что интенсивность потока воздуха ниже порога окончания затяжки, этап снижения мощности, подаваемой на генерирующий аэрозоль элемент, до мощности Р4, если датчик потока определил, что интенсивность потока воздуха ниже порога окончания затяжки. Мощность P4 может быть равна нулю. Таким образом обеспечивается преимущество, состоящее в возможности экономии энергии. Это может означать, что генерирующая аэрозоль система не будет нуждаться в слишком частой перезарядке. В качестве альтернативы, мощность P4 может быть ненулевой. Таким образом обеспечивается преимущество, состоящее в возможности более быстрой доставки аэрозоля надлежащего качества с помощью системы в ответ на следующую определенную затяжку. Мощность P4 может быть ненулевой, и после этапа снижения мощности, подаваемой на генерирующий аэрозоль элемент, до мощности P4, если датчик потока определил, что интенсивность потока воздуха ниже порога окончания затяжки, способ может также включать этап снижения мощности, подаваемой на генерирующий аэрозоль элемент, от мощности P4 до нуля. Снижение мощности, подаваемой на генерирующий аэрозоль элемент, от мощности P4 до нуля, может иметь место, если новая затяжка не определена в течение заданного временного интервала, например, в течение 5 минут или в течение 3 минут, после того, как мощность, подаваемая на генерирующий аэрозоль элемент, снизилась до мощности P4. Иначе говоря, снижение мощности, подаваемой на генерирующий аэрозоль элемент, от мощности P4 до нуля, может иметь место, если интенсивность потока, превышающая первый порог, не определена в течение заданного временного интервала после того, как мощность, подаваемая на генерирующий аэрозоль элемент, снизилась до мощности P4. Этап повышения мощности, подаваемой на генерирующий аэрозоль элемент, от мощности P0 до по меньшей мере мощности P1, может включать по существу мгновенное повышение мощности от мощности P0 до по меньшей мере мощности P1. Иначе говоря, мощность может быть повышена от мощности P0 до по меньшей мере мощности P1 за период времени, который по существу равен нулю. На графике зависимости мощности нагрева, отложенной по вертикальной оси, от времени, отложенного по горизонтальной оси, это будет представлено вертикальной или по существу вертикальной линией, проходящей от мощности P0 до по меньшей мере мощности P1. Например, термин «по существу мгновенно» может использоваться для обозначения того, что мощность может быть повышена от мощности P0 до по меньшей мере мощности P1 не более чем за 0,1 секунды. По существу мгновенное повышение мощности, подаваемой на генерирующий аэрозоль элемент, обеспечивает преимущество, состоящее в возможности обеспечения более быстрого генерирования аэрозоля и меньшей задержке по времени для пользователя. В качестве альтернативы, этап повышения мощности, подаваемой на генерирующий аэрозоль элемент, от мощности P0 до по меньшей мере мощности P1, может включать плавное повышение мощности от мощности P0 до по меньшей мере мощности P1. Иначе говоря, мощность может быть плавно повышена от мощности P0 до по меньшей мере мощности P1 в течение некоторого периода времени. Чем больше указанный период времени, тем более плавным является повышение мощности. На графике зависимости мощности нагрева, отложенной по вертикальной оси, от времени, отложенного по горизонтальной оси, это будет представлено линией с положительным средним градиентом, проходящей от мощности P0 до по меньшей мере мощности P1. Градиент указанной линии может быть постоянным или непостоянным. Иначе говоря, скорость изменения мощности может быть постоянной или непостоянной. Например, термин «плавно» может использоваться для обозначения того, что мощность может быть повышена от мощности P0 до по меньшей мере мощности P1 в течение периода времени от 0,1 секунды до 1 секунды, или от 0,2 секунды до 0,6 секунды, или от 0,2 секунды до 0,4 секунды. Этап снижения мощности, подаваемой на генерирующий аэрозоль элемент, до мощности P2, может включать снижение мощности, подаваемой на генерирующий аэрозоль элемент, от по меньшей мере мощности P1 до мощности P2. Этап снижения мощности, подаваемой на генерирующий аэрозоль элемент, до мощности P2, может включать по существу мгновенное снижение мощности, подаваемой на генерирующий аэрозоль элемент, до мощности P2. Иначе говоря, мощность может быть снижена до мощности P2 за период времени, по существу равный нулю. На графике зависимости мощности нагрева, отложенной по вертикальной оси, от времени, отложенного по горизонтальной оси, это будет представлено вертикальной или по существу вертикальной линией, проходящей до мощности P2. Например, выражение «по существу мгновенно» может использоваться для обозначения того, что мощность может быть повышена до мощности P2 не более чем за 0,1 секунды. В качестве альтернативы, этап снижения мощности, подаваемой на генерирующий аэрозоль элемент, до мощности P2 может включать плавное снижение мощности, подаваемой на генерирующий аэрозоль элемент, до мощности P2. Иначе говоря, мощность может быть снижена за период времени, не равный нулю. Иначе говоря, мощность может быть плавно снижена до мощности P2 в течение некоторого периода времени. Чем больше указанный период времени, тем более плавно снижается мощность. На графике зависимости мощности нагрева, отложенной по вертикальной оси, от времени, отложенного по горизонтальной оси, это будет представлено линией с отрицательным средним градиентом, проходящей до мощности P2.Градиент указанной линии может быть постоянным или непостоянным. Например, термин «плавно» может использоваться для обозначения того, что мощность может быть снижена до мощности P2 в течение периода времени от 0,1 секунды до 1 секунды, или от 0,2 секунды до 0,6 секунды, или от 0,2 секунды до 0,4 секунды после того, как датчик потока определил, что интенсивность потока воздуха ниже второго порога. Способ может включать, после этапа повышения мощности, подаваемой на генерирующий аэрозоль элемент, от мощности P0 до по меньшей мере мощности P1, но до этапа снижения мощности, подаваемой на генерирующий аэрозоль элемент, до мощности P2, этап повышения мощности, подаваемой на генерирующий аэрозоль элемент, от по меньшей мере мощности P1 до мощности P5. Мощность, подаваемая на генерирующий аэрозоль элемент, может быть повышена от по меньшей мере мощности P1 до мощности P5 после, предпочтительно - по существу сразу же после этапа повышения мощности, подаваемой на генерирующий аэрозоль элемент, от мощности P0 до по меньшей мере мощности P1. В данном контексте термин «по существу мгновенно» может использоваться в значении «в пределах 0,1 секунды». В качестве альтернативы, этап повышения мощности, подаваемой на генерирующий аэрозоль элемент, от мощности P0 до по меньшей мере мощности P1, может включать повышение мощности, подаваемой на генерирующий аэрозоль элемент, от мощности P0, до мощности P5, превышающей мощность P1. Это обеспечивает преимущество, состоящее в возможности обеспечения всплеска электрической мощности вблизи момента начала затяжки. Высокая мощность вблизи момента начала затяжки обеспечивает возможность более раннего начала генерирования аэрозоля надлежащего качества. Это может обеспечить улучшение способности реагировать на действия пользователя. Это также обеспечивает возможность уменьшения размера капель аэрозоля вблизи момента начала затяжки. Мощность P5 может быть заданной. Мощность P5 может зависеть от ряда факторов, включая, без ограничения, форму генерирующего аэрозоль элемента, тип образующего аэрозоль субстрата, количество аэрозоля, которое требуется создать, и требуемый размер капель для аэрозоля. Предпочтительно, после начального всплеска электрической мощности снижают мощность, например, до мощности P1. Подача питания на генерирующий аэрозоль элемент может включать подачу импульсов электрического тока на генерирующий аэрозоль элемент. Повышение или снижение мощности, подаваемой на генерирующий аэрозоль элемент, может включать изменение частоты и/или амплитуды импульсов электрического тока, подаваемых на генерирующий аэрозоль элемент. Согласно второму аспекту настоящего изобретения, предложена генерирующая аэрозоль система. Система содержит генерирующий аэрозоль элемент и канал потока, выполненный с возможностью обеспечения протекания потока воздуха мимо генерирующего аэрозоль элемента. Система также содержит датчик потока, выполненный с возможностью определения потока воздуха, указывающего на осуществление затяжки пользователем, и источник питания для подачи питания на генерирующий аэрозоль элемент. Система также содержит электрическую схему, предназначенную для управления подачей питания от источника питания на генерирующий аэрозоль элемент и выполненную с возможностью осуществления способа согласно первому аспекту настоящего изобретения. Согласно третьему аспекту настоящего изобретения, предложена электрическая схема для электрической генерирующей аэрозоль системы, выполненная с возможностью осуществления способа согласно первому аспекту настоящего изобретения. Согласно четвертому аспекту настоящего изобретения, предложена компьютерная программа, которая, при ее запуске в программируемой электрической схеме для генерирующей аэрозоль системы, обеспечивает выполнение этой программируемой электрической схемой способа по первому аспекту настоящего изобретения. Согласно пятому аспекту настоящего изобретения, предложен машиночитаемый носитель для хранения данных, содержащий хранящуюся на нем компьютерную программу согласно четвертому аспекту настоящего изобретения. Согласно шестому аспекту настоящего изобретения, предложен способ управления созданием аэрозоля в генерирующей аэрозоль системе. Система содержит генерирующий аэрозоль элемент и кожух, имеющий впускное отверстие для воздуха и выпускное отверстие для воздуха. Через кожух от впускного отверстия для воздуха до выпускного отверстия для воздуха проходит канал потока, обеспечивающий протекание потока воздуха мимо генерирующего аэрозоль элемента при осуществлении пользователем затяжки на системе. Система также содержит датчик потока, выполненный с возможностью определения потока воздуха, указывающего на осуществление затяжки пользователем. Способ включает этап повышения мощности, подаваемой на генерирующий аэрозоль элемент, от мощности p20 до по меньшей мере мощности p21, если датчик потока определил, что интенсивность потока воздуха выше первого порога t21. Способ также включает этап снижения мощности, подаваемой на генерирующий аэрозоль элемент, до мощности p22, которая ниже мощности p21, после определения того, что интенсивность потока воздуха выше первого порога t21, в случае предварительного выполнения какого-либо из следующих условий: датчик потока определил, что интенсивность потока воздуха ниже второго порога t22, представляющего собой или указывающего на заданную интенсивность потока, или датчик потока определил, что интенсивность потока воздуха ниже третьего порога t23, представляющего собой или указывающего на интенсивность потока, которая представляет собой заданную пропорциональную долю от максимальной определяемой интенсивности потока воздуха. Оба из второго порога t22 и третьего порога t23 составляют больше нуля. Снижение мощности, подаваемой на генерирующий аэрозоль элемент перед падением интенсивности потока, обеспечивает преимущество, состоящее в возможности уменьшении количества конденсата, способного образовываться в системе и негативно влиять на утечку жидкости. Благодаря снижению мощности, подаваемой на генерирующий аэрозоль элемент при предварительном выполнении какого-либо из указанных условий, обеспечивается преимущество, состоящее в возможности снижения мощности при большей интенсивности потока в случае затяжки с большей максимально определяемой интенсивностью потока. Тем не менее, независимо от максимально определяемой интенсивности потока при затяжке, второй порог t22 задает минимальную интенсивность потока, при которой мощность, подаваемая на генерирующий аэрозоль элемент, снижается. Мощность p22 может быть равна нулю. Этап повышения мощности, подаваемой на генерирующий аэрозоль элемент, от мощности p20 до по меньшей мере мощности p21, может включать по существу мгновенное повышение мощности от мощности p20 до по меньшей мере мощности p1. Иначе говоря, мощность может быть повышена от мощности p20 до по меньшей мере до мощности p21 в течение периода времени, который по существу равен нулю. На графике зависимости мощности нагрева, отложенной по вертикальной оси, от времени, отложенного по горизонтальной оси, это будет представлено вертикальной или по существу вертикальной линией, проходящей от мощности p20 до по меньшей мере мощности p21. Например, термин «по существу мгновенно» может использоваться для обозначения того, что мощность может быть повышена от мощности p20 до по меньшей мере мощности p21 не более чем за 0,1 секунды. В качестве альтернативы, согласно шестому аспекту этап повышения мощности, подаваемой на генерирующий аэрозоль элемент от мощности p20 до по меньшей мере мощности p21, может включать плавное повышение мощности от мощности p20 до по меньшей мере мощности р21. Иначе говоря, мощность может быть плавно повышена от мощности p20 до по меньшей мере мощности p21 в течение некоторого периода времени. Чем дольше указанный период времени, тем более равномерным повышение мощности. На графике зависимости мощности нагрева, отложенной по вертикальной оси, от времени, отложенного по горизонтальной оси, это будет представлено линией с положительным средним градиентом, проходящей от мощности p20 до по меньшей мере мощности p21. Градиент указанной линии может быть постоянным или непостоянным. Например, термин «плавно» может использоваться для обозначения того, что мощность может быть повышена от мощности p20 до по меньшей мере мощности p21 за период времени от 0,1 секунды до 1 секунды, или от 0,2 секунды до 0,6 секунды, или от 0,2 секунды до 0,4 секунды. Согласно шестому аспекту, этап снижения мощности, подаваемой на генерирующий аэрозоль элемент, до мощности p22, может включать снижение мощности, подаваемой на генерирующий аэрозоль элемент, от по меньшей мере мощности p21 до мощности p22. Согласно шестому аспекту, этап снижения мощности, подаваемой на генерирующий аэрозоль элемент, до мощности p22, может включать по существу мгновенное снижение мощности, подаваемой на генерирующий аэрозоль элемент, до мощность p22. Иначе говоря, мощность может быть снижена до мощности p22 в течение периода времени, который по существу равен нулю. На графике зависимости мощности нагрева, отложенной по вертикальной оси, от времени, отложенного по горизонтальной оси, это будет представлено вертикальной или по существу вертикальной линией, проходящей от мощности p22. Например, термин «по существу мгновенно» может использоваться для обозначения того, что мощность может быть повышена до мощности p22 не более чем за 0,1 секунды. В качестве альтернативы, согласно шестому аспекту этап снижения мощности, подаваемой на генерирующий аэрозоль элемент, до мощности p22, может включать плавное снижение мощности, подаваемой на генерирующий аэрозоль элемент, до мощности p22. Иначе говоря, мощность может быть снижена за период времени, который не равен нулю. Иначе говоря, мощность может быть плавно снижена до мощности p22 в течение некоторого периода времени. Чем дольше указанный период времени, тем более плавно снижается мощность. На графике зависимости мощности нагрева, отложенной по вертикальной оси, от времени, отложенного по горизонтальной оси, это будет представлено линией с отрицательным средним градиентом, проходящей до мощности p22.Градиент указанной линии может быть постоянным или непостоянным. Например, термин «плавно» может использоваться для обозначения того, что мощность может быть снижена до мощности p22 в течение периода времени от 0,1 секунды до 1 секунды, или от 0,2 секунды до 0,6 секунды, или от 0,2 секунды до 0,4 секунды, после того, как датчик потока определил, что интенсивность потока воздуха ниже второго порога t22. Согласно шестому аспекту, способ может включать, после этапа повышения мощности, подаваемой на генерирующий аэрозоль элемент, от мощности p20 до по меньшей мере мощности p21, но до этапа снижения мощности, подаваемой на генерирующий аэрозоль элемент, до мощности p22, этап повышения мощности, подаваемой на генерирующий аэрозоль элемент, от по меньшей мере мощности p21. Согласно шестому аспекту, мощность, подаваемая на генерирующий аэрозоль элемент, может быть повышена от по меньшей мере мощности p21 до мощности p25 после, предпочтительно по существу сразу же после, этапа повышения мощности, подаваемой на генерирующий аэрозоль элемент, от мощности p20 до по меньшей мере мощности p21. В данном контексте термин «по существу мгновенно» может использоваться в значении «в пределах 0,1 секунды». В качестве альтернативы, этап повышения мощности, подаваемой на генерирующий аэрозоль элемент, от мощности p20 до по меньшей мере мощности p21, может включать повышение мощности, подаваемой на генерирующий аэрозоль элемент, от мощности p20 до мощности p25, превышающей мощность p21. Это обеспечивает возможность всплеска электрической мощности вблизи момента начала затяжки. Такой всплеск мощности вблизи момента начала затяжки обеспечивает возможность более раннего начала генерирования аэрозоля надлежащего качества. Это может обеспечить улучшение способности реагировать на действия пользователя. Это также обеспечивает возможность уменьшения размера капель аэрозоля вблизи момента начала затяжки. Мощность p25 может быть заданной. Мощность p25 может зависеть от ряда факторов, включая без ограничения, форму генерирующего аэрозоль элемента, тип образующего аэрозоль субстрата, количество аэрозоля, которое требуется создать, и требуемый размер капель для аэрозоля. Предпочтительно, после начального всплеска электрической мощности снижают мощность, например, до мощности p21. Согласно шестому аспекту, подача питания на генерирующий аэрозоль элемент может включать подачу импульсов электрического тока на генерирующий аэрозоль элемент. Согласно седьмому аспекту, предложена генерирующая аэрозоль система, выполненная с возможностью осуществления способа по шестому аспекту. Система содержит генерирующий аэрозоль элемент и канал потока, выполненный с возможностью обеспечения протекания потока воздуха мимо генерирующего аэрозоль элемента. Система также содержит датчик потока, выполненный с возможностью определения потока воздуха, указывающего на осуществление затяжки пользователем, и источник питания для подачи питания на генерирующий аэрозоль элемент. Система также содержит электрическую схему, предназначенную для управления подачей питания от источника питания на генерирующий аэрозоль элемент и выполненную с возможностью осуществления способа согласно шестому аспекту. Согласно восьмому аспекту, предложена электрическая схема для генерирующей аэрозоль системы, выполненная с возможностью осуществления способа по шестому аспекту. Согласно девятому аспекту, предложена компьютерная программа, которая, при ее запуске в программируемой электрической схеме для генерирующей аэрозоль системы, обеспечивает выполнение этой программируемой электрической схемой способа по шестому аспекту. Согласно десятому аспекту, предложен машиночитаемый носитель для хранения данных, содержащий хранящуюся на нем компьютерную программу, которая, при ее запуске в программируемой электрической схеме для генерирующей аэрозоль системы, обеспечивает выполнение этой программируемой электрической схемой способа по шестому аспекту настоящего изобретения. Согласно одиннадцатому аспекту, предложен способ управления созданием аэрозоля в генерирующей аэрозоль системой. Система содержит генерирующий аэрозоль элемент и кожух, имеющий впускное отверстие для воздуха и выпускное отверстие для воздуха, причем через кожух от впускного отверстия для воздуха до выпускного отверстия для воздуха проходит канал потока, обеспечивающий протекание воздуха мимо генерирующего аэрозоль элемента при осуществлении пользователем затяжки на системе. Система также содержит датчик потока, выполненный с возможностью определения потока воздуха, указывающего на осуществление затяжки пользователем. Способ согласно одиннадцатому аспекту включает нижеследующие хронологические этапы, на которых: повышают мощность, подаваемую на генерирующий аэрозоль элемент, от мощности p30 до по меньшей мере мощности p31, если датчик потока определил, что интенсивность потока воздуха выше первого порога t31; снижают мощность, подаваемую на генерирующий аэрозоль элемент, до мощности p32, которая ниже мощности p31, если датчик потока определил, что интенсивность потока воздуха ниже второго порога t32; и либо повышают мощность, подаваемую на генерирующий аэрозоль элемент, до мощности p33, если в течение заданного временного интервала после определения датчиком потока того, что интенсивность потока воздуха была ниже второго порога t32, датчик потока определил, что интенсивность потока воздуха выше третьего порога t33, который ниже второго порога t32, либо повышают мощность, подаваемую на генерирующий аэрозоль элемент, до мощности p34, если датчик потока определил, что интенсивность потока воздуха ниже четвертого порога t34, который ниже второго порога t32, и разность по времени между моментом определения того, что интенсивность потока воздуха ниже второго порога t32, и моментом определения того, что интенсивность потока воздуха ниже четвертого порога t34, превышает пятый порог t35. Согласно одиннадцатому аспекту, третий порог t33 ниже второго порога t32, и четвертый порог t34 также ниже второго порога t32. Это обеспечивает преимущество, состоящее в возможности доставки пользователю удовлетворительного аэрозоля во время медленно ослабевающей затяжки. Согласно одиннадцатому аспекту, второй порог t32 может представлять собой или может характеризовать интенсивность потока, которая представляет собой заданную первую пропорциональную долю от первой максимальной интенсивности потока, определяемой датчиком потока. Согласно одиннадцатому аспекту, датчик потока может определять интенсивность потока непрерывно или прерывисто. Согласно одиннадцатому аспекту, датчик потока может определять интенсивность потока в течение первого заданного периода времени после того, как датчик потока определил, что интенсивность потока снизилась до уровня ниже второго порога t32. Затем датчик потока может сравнивать эту интенсивность потока, определенную по истечении первого заданного периода времени после того, как датчик потока определил, что интенсивность потока снизилась до уровня ниже второго порога t32, с третьим порогом t33. Согласно одиннадцатому аспекту, датчик потока может регулярно определять интенсивность потока на протяжении всей затяжки, что означает определение интенсивности потока с периодом времени tp3. Датчик потока может сравнивать n-ю интенсивность потока, определенную после определения того, что интенсивность потока снизилась до уровня ниже второго порога t32, с третьим порогом t33, где n - целое число больше единицы. Предпочтительно, это означает, что n-я интенсивность потока не сравнивается с третьим порогом до тех пор, пока не истечет период времени, равный по меньшей мере произведению (n-1) на период времени tp3, с момента, когда датчик потока ранее определил, что интенсивность потока снизилась до уровня ниже второго порога. Согласно одиннадцатому аспекту, любое повышение или снижение мощности, подаваемой на генерирующий аэрозоль элемент, может происходить по существу мгновенно или плавно. Как было пояснено в отношении заявленного изобретения со ссылкой на способ по шестому аспекту, термин «плавно» может использоваться в значении «в пределах периода времени от 0,1 секунды до 1 секунды, или от 0,2 секунды до 0,6 секунды, или от 0,2 секунды до 0,4 секунды, или от 0,2 секунды до 0,4 секунды», и термин «по существу мгновенно» может использоваться в значении «в пределах 0,1 секунды». Согласно одиннадцатому аспекту, мощность p32 может быть равна нулю. Мощность p33 может представлять собой заданную мощность. Мощность p34 может представлять собой заданную мощность. Мощность p33 и мощность p34 могут быть одинаковыми. В качестве альтернативы, мощность p33 и мощность p34 могут быть разными мощностями. Способ согласно одиннадцатому аспекту может включать, после этапа повышения мощности, подаваемой на генерирующий аэрозоль элемент, от мощности p30 до по меньшей мере мощности p31, но до этапа снижения мощности, подаваемой на генерирующий аэрозоль элемент, до мощности p32, этап повышения мощности, подаваемой на генерирующий аэрозоль элемент, от по меньшей мере мощности p31 до мощности p35. Согласно одиннадцатому аспекту, мощность, подаваемая на генерирующий аэрозоль элемент, может быть повышена от по меньшей мере мощности p31 до мощности p35 после, предпочтительно по существу сразу же после, этапа повышения мощности, подаваемой на генерирующий аэрозоль элемент, от мощности p30 до по меньшей мере мощности p31. В данном контексте термин «по существу мгновенно» может использоваться в значении «в пределах 0,1 секунды». В качестве альтернативы, согласно одиннадцатому аспекту этап повышения мощности, подаваемой на генерирующий аэрозоль элемент, от мощности p30 до по меньшей мере мощности p31, может включать повышение мощности, подаваемой на генерирующий аэрозоль элемент, от мощности p30 до мощности p35, которая выше p31. Это обеспечивает возможность всплеска электрической мощности вблизи момента начала затяжки. Такой всплеск мощности вблизи момента начала затяжки обеспечивает возможность более раннего начала генерирования аэрозоля надлежащего качества. Это обеспечивает возможность уменьшения задержки по времени для пользователя. Это также обеспечивает возможность уменьшения размера капель аэрозоля вблизи момента начала затяжки. Мощность p35 может быть заданной. Мощность p35 может зависеть от ряда факторов, включая, без ограничения, форму генерирующего аэрозоль элемента, тип образующего аэрозоль субстрата, количество аэрозоля, которое требуется создать, и требуемый размер капель для аэрозоля. Предпочтительно, после начального всплеска электрической мощности снижают мощность, например, до мощности p31. Способ согласно одиннадцатому аспекту может также включать, после либо этапа повышения мощности, подаваемой на генерирующий аэрозоль элемент, до мощности p33, либо этапа повышения мощности, подаваемой на генерирующий аэрозоль элемент, до мощности p34, этап снижения мощности, подаваемой на генерирующий аэрозоль элемент, до мощности p36, если датчик потока определил, что интенсивность потока воздуха снизилась до уровня ниже порога t3e окончания затяжки. Мощность p36 может быть равна нулю. Порог t3e окончания затяжки может представлять собой константу для определения окончания затяжки. Согласно одиннадцатому аспекту, подача питания на генерирующий аэрозоль элемент может включать подачу импульсов электрического тока на генерирующий аэрозоль элемент. Согласно двенадцатому аспекту, предложена генерирующая аэрозоль система, выполненная с возможностью осуществления способа согласно одиннадцатому аспекту. Система содержит генерирующий аэрозоль элемент и канал потока, выполненный с возможностью обеспечения протекания потока воздуха мимо генерирующего аэрозоль элемента. Система также содержит датчик потока, выполненный с возможностью определения потока воздуха, указывающего на осуществление затяжки пользователем, и источник питания для подачи питания на генерирующий аэрозоль элемент. Система также содержит электрическую схему, предназначенную для управления подачей питания от источника питания на генерирующий аэрозоль элемент и выполненную с возможностью осуществления способа согласно одиннадцатому аспекту. Согласно тринадцатому аспекту настоящего изобретения, предложена электрическая схема для электрической генерирующей аэрозоль системы, выполненная с возможностью осуществления способа согласно одиннадцатому аспекту настоящего изобретения. Согласно четырнадцатому аспекту, предложена компьютерная программа, которая при ее запуске в программируемой электрической схеме для электрического генерирующего аэрозоль устройства обеспечивает осуществление этой программируемой электрической схемой способа согласно одиннадцатому аспекту. Согласно пятнадцатому аспекту, предложен машиночитаемый носитель для хранения данных, содержащий хранящуюся на нем компьютерную программу, которая при ее запуске в программируемой электрической схеме для электрической генерирующей аэрозоль системы обеспечивает осуществление этой программируемой электрической схемой способа согласно одиннадцатому аспекту. Согласно шестнадцатому аспекту, предложен способ управления созданием аэрозоля в генерирующей аэрозоль системе. Система содержит средства хранения данных и генерирующий аэрозоль элемент. Система также содержит кожух, имеющий впускное отверстие для воздуха и выпускное отверстие для воздуха, причем через кожух от впускного отверстия для воздуха до выпускного отверстия для воздуха проходит канал потока, выполненный с возможностью обеспечения протекания потока воздуха мимо генерирующего аэрозоль элемента при осуществлении пользователем затяжек на системе. Система также содержит датчик потока, выполненный с возможностью определения потока воздуха, указывающего на осуществление затяжки пользователем. Способ включает этап повышения мощности, подаваемой на генерирующий аэрозоль элемент, от мощности p4x до по меньшей мере мощности p41, если датчик потока определил, что интенсивность потока воздуха выше первого порога t41. Способ также включает этап сохранения результатов измерения, полученных с помощью датчика потока, в указанных средствах хранения данных, и этап использования результатов измерения, сохраненных в указанных средствах хранения данных, для прерывистого вычисления оценочного значения оставшегося объема затяжки. Способ также включает этап снижения мощности, подаваемой на генерирующий аэрозоль элемент, до мощности p42, если оценочное значение оставшегося объема затяжки ниже второго порога t42, представляющего собой или характеризующего меру объема. Предпочтительно, способ по шестнадцатому аспекту может обеспечивать возможность протекания приблизительного объема воздуха, именуемого в данном документе помывочным объемом, через генерирующую аэрозоль систему после снижения мощности, подаваемой на генерирующий аэрозоль элемент. Второй порог t42 представляет собой или характеризует промывочный объем. Согласно шестнадцатому аспекту, второй порог t42 может представлять собой заданное значение. Согласно шестнадцатому аспекту, второй порог t42 может представлять собой или характеризовать объем, приблизительно равный внутреннему объему канала потока в мундштуке генерирующей аэрозоль системы. Иначе говоря, если поток воздуха протекает через канал потока в мундштуке генерирующей аэрозоль системы, то обеспечивается преимущество, состоящее в возможности того, что промывочный объем будет приблизительно равен объему канала потока в мундштуке. В данном контексте выражение «приблизительно равен объему канала потока» может использоваться в значении «находится в пределах произведения от 1,5 до 0,5 на объем канала потока, от 0,75 до 1,25, или от 0,9 до 1,1, или отличается не более чем на 5 мл, или 3 мл, или 1 мл от объема канала потока». Согласно шестому аспекту, второй порог t42 может представлять собой или характеризовать объем от 0,1 мл до 10 мл, или от 0,1 мл до 5 мл, или от 0,1 мл до 3 мл, или от 0,1 мл до 1 мл, или от 1 мл до 10 мл, или от 1 мл до 5 мл. Способ по шестнадцатому аспекту может включать, после этапа снижения мощности, подаваемой на генерирующий аэрозоль элемент, до мощности p42, если оценочное значение оставшегося объема затяжки ниже второго порога t42, этап повышения мощности, подаваемой на генерирующий аэрозоль элемент, до мощности p43. Этот этап повышения мощности, подаваемой на генерирующий аэрозоль элемент, до мощности p43 может иметь место, если оценочное значение оставшегося объема затяжки превышает третий порог t43, который выше второго порога t42. Согласно шестому аспекту, датчик потока может осуществлять измерения непрерывно или прерывисто. Согласно шестнадцатому аспекту, прерывистые вычисления оценочных значений оставшегося объема затяжки могут осуществляться одним или более из нескольких способов. В первом примере того, каким образом могут осуществляться вычисления, датчик потока может прерывисто сохранять значения объемного расхода жидкости. В данном контексте термин «прерывисто» может использоваться в значении «регулярно», например, с периодом времени TP. Период времени TP может составлять, например, 0,01 секунды. Для второго и каждого последующего сохраненного значения процессор может вычислять текущую среднюю скорость Ac изменения интенсивности потока. Эта текущая средняя скорость Ac изменения интенсивности потока может быть оценена путем вычитания ближайшего предыдущего сохраненного значения Qc-1 интенсивности потока из текущего значения Qc интенсивность потока и последующего деления на период времени TP. Затем процессор может предположить, что эта текущая средняя скорость Ac изменения интенсивности потока останется постоянной. Это означает, что если текущая средняя скорость Ac изменения интенсивности потока является отрицательной, то текущее оставшееся время TC затяжки может быть оценено как взятое со знаком минус частное от деления текущего значения Qc интенсивности потока на текущую среднюю скорость Аc изменения интенсивности потока. Процессор может вычислять оценочное значение текущего оставшегося объема Vc затяжки как произведение -0,5 на частное от деления квадрата текущего значения Qc интенсивности потока на текущую среднюю скорость Аc изменения интенсивности потока. Разумеется, данное вычисление обеспечивает лишь разумную оценку текущего оставшегося объема Vc и текущего оставшегося времени TCзатяжки, если текущая средняя скорость Аc изменения интенсивности потока является отрицательной, так что оценочное значение текущего оставшегося объема Vc является положительным. Процессор может игнорировать все оценочные значения текущего оставшегося объема Vc, которые возвращаются к отрицательному значению. Процессор может не вычислять оценочные значения до тех пор, пока не будет вычислена отрицательная текущая средняя скорость Аc изменения интенсивности потока. Важно, что не требуется вычисление текущего оставшегося времени TC для оценки текущего оставшегося объема Vc. В виде уравнений первый пример может быть обобщен следующим образом: Уравнение 1: Уравнение 2: Уравнение 3: В качестве альтернативы, во втором примере текущая средняя скорость Аc изменения интенсивности потока может быть оценена путем вычитания ближайшего предыдущего сохраненного значения Qc-1 интенсивности потока из ближайшего следующего значения Qc+1 интенсивности потока с последующим делением полученной разности на период времени Tp. Разумеется, данная оценка не может быть выполнена до тех пор, пока не будет измерено ближайшее следующее значение Qc+1интенсивности потока. В виде уравнений второй пример может быть обобщен следующим образом: Уравнение 4: Уравнение 5: Уравнение 6: В качестве альтернативы, в третьем примере может использоваться нелинейная экстраполяция интенсивности потока. При нелинейной экстраполяции может использоваться заданный полином. При нелинейной экстраполяции может использоваться заданный полином, который более точно представляет изменение интенсивности потока при затяжке ближе к концу общего профиля затяжки. В качестве альтернативы, нелинейная экстраполяция может зависеть от ранее сохраненных результатов измерения, полученных с помощью датчика потока во время текущей затяжки. Например, если намечается снижение средней скорости изменения интенсивности потока при каждом последующем измерении, осуществляемом вблизи момента окончания затяжки, то может быть выбран полином, который более точно оценивает изменения интенсивности потока для такой затяжки, а другой полином может быть выбран для затяжек с постоянными или увеличивающимися скоростями изменения интенсивности потока. Это обеспечивает преимущество, состоящее в возможности более точной оценки изменений интенсивности потока ближе к окончанию затяжки и, следовательно, в возможности лучшей оценки оставшегося объема затяжки. Согласно шестнадцатому аспекту, прерывистое вычисление оценочного значения оставшегося объема затяжки может не начинаться до тех пор, пока датчик потока не определит, что интенсивность потока снизилась до уровня ниже порога t4s начала оценки. В качестве альтернативы, прерывистое вычисление оценочного значения оставшегося объема затяжки может не действовать, т.е. мощность, подаваемая на генерирующий аэрозоль элемент, может не изменяться, до тех пор, пока датчик потока не определит, что интенсивность потока снизилась до уровня ниже порога t4с начала оценки. Порог t4s начала оценки может представлять собой заданную пропорциональную долю от определяемой максимальной интенсивности потока. Это обеспечивает преимущество, состоящее в возможности содействия предотвращению изменения мощности, подаваемой на генерирующий аэрозоль элемент, из-за ошибочно малых оценочных значений оставшегося объема затяжки. Например, если интенсивность потока значительно снизилась относительно определяемой максимальной интенсивности потока, то вычисленное оценочное значение оставшегося объема затяжки может быть намного ниже фактического оставшегося объема затяжки. Согласно шестнадцатому аспекту, любое повышение или снижение мощности, подаваемой на генерирующий аэрозоль элемент, может происходить по существу мгновенно или плавно. Как было пояснено в отношении заявленного изобретения со ссылкой на способ по шестому аспекту, термин «плавно» может использоваться в значении «в пределах периода времени от 0,1 секунды до 1 секунды, или от 0,2 секунды до 0,6 секунды, или от 0,2 секунды до 0,4 секунды, или от 0,2 секунды до 0,4 секунды», и термин «по существу мгновенно» может использоваться в значении «в пределах 0,1 секунды». Способ по шестнадцатому аспекту может включать, после этапа повышения мощности, подаваемой на генерирующий аэрозоль элемент, от мощности p4x до по меньшей мере мощности p41, но до этапа снижения мощности, подаваемой на генерирующий аэрозоль элемент, до мощности p42, этап повышения мощности, подаваемой на генерирующий аэрозоль элемент, от по меньшей мере мощности p41 до мощности p45. Согласно шестнадцатому аспекту, мощность, подаваемая на генерирующий аэрозоль элемент, может быть повышена от по меньшей мере мощности p41 до мощности p45 после, предпочтительно по существу сразу же после, этапа повышения мощности, подаваемой на генерирующий аэрозоль элемент, от мощности p4x до по меньшей мере мощности p41. В данном контексте термин «по существу мгновенно» может использоваться в значении «в пределах 0,1 секунды». В качестве альтернативы, этап повышения мощности, подаваемой на генерирующий аэрозоль элемент, от мощности p4x до по меньшей мере мощности p41, может включать повышение мощности, подаваемой на генерирующий аэрозоль элемент, от мощности p4x до мощности p45, которая выше мощности p41. Это обеспечивает возможность всплеска электрической мощности вблизи момента начала затяжки. Такой всплеск мощности вблизи момента начала затяжки обеспечивает возможность более раннего начала генерирования аэрозоля надлежащего качества. Это может обеспечить улучшение способности реагировать на действия пользователя. Это также обеспечивает возможность уменьшения размера капель аэрозоля вблизи момента начала затяжки. Мощность p45 может быть заданной. Мощность p45 может зависеть от ряда факторов, включая, без ограничения, форму генерирующего аэрозоль элемента, тип образующего аэрозоль субстрата, количество аэрозоля, которое требуется создать, и размер капель, требующийся для аэрозоля. Предпочтительно, после начального всплеска электрической мощности снижают мощность, например, до мощности p41. Согласно шестнадцатому аспекту, подача питания на генерирующий аэрозоль элемент может включать подачу импульсов электрического тока на генерирующий аэрозоль элемент. Согласно еще одному аспекту, предложена генерирующая аэрозоль система, выполненная с возможностью осуществления способа по шестнадцатому аспекту. Система содержит генерирующий аэрозоль элемент и канал потока, выполненный с возможностью обеспечения протекания потока воздуха мимо генерирующего аэрозоль элемента. Система также содержит датчик потока, выполненный с возможностью определения потока воздуха, указывающего на осуществление затяжки пользователем, и источник питания для подачи питания на генерирующий аэрозоль элемент. Система также содержит электрическую схему, предназначенную для управления подачей питания от источника питания на генерирующий аэрозоль элемент и выполненную с возможностью осуществления способа согласно шестнадцатому аспекту. Согласно еще одному аспекту, предложена электрическая схема для генерирующей аэрозоль системы, выполненная с возможностью осуществления способа по шестнадцатому аспекту. Согласно еще одному аспекту, предложена компьютерная программа, которая при ее запуске в программируемой электрической схеме для генерирующей аэрозоль системы обеспечивает выполнение этой программируемой электрической схемой способа по шестнадцатому аспекту. Согласно еще одному аспекту, предложен машиночитаемый носитель для хранения данных, содержащий хранящуюся на нем компьютерную программу, которая, при ее запуске в программируемой электрической схеме для генерирующей аэрозоль системы обеспечивает выполнение этой программируемой электрической схемой способа по шестнадцатому аспекту. Генерирующая аэрозоль система может содержать образующий аэрозоль субстрат, и генерирующий аэрозоль элемент может содержать один или более элементов, выполненных с возможностью взаимодействия с образующим аэрозоль субстратом для генерирования аэрозоля или пара, например, путем добавления капель аэрозоля в поток воздуха для генерирования аэрозоля. Генерирующий аэрозоль элемент может содержать механическое устройство, такое как вибрационный дроссельный преобразователь, или пьезоэлектрическое устройство. Генерирующий аэрозоль элемент может содержать электрический нагреватель, содержащий по меньшей мере один нагревательный элемент. Указанный по меньшей мере один электрический нагревательный элемент может быть выполнен с возможностью нагрева образующего аэрозоль субстрата для образования аэрозоля. Генерирующий аэрозоль элемент может содержать один нагревательный элемент. В качестве альтернативы, генерирующий аэрозоль элемент может содержать более чем один нагревательный элемент, например, два, или три, или четыре, или пять, или шесть, или более нагревательных элементов. Нагревательный элемент или нагревательные элементы могут быть расположены надлежащим образом для наиболее эффективного нагрева образующего аэрозоль субстрата. Генерирующий аэрозоль элемент может содержать по меньшей мере один электрический нагревательный элемент. Указанный по меньшей мере один электрический нагревательный элемент предпочтительно содержит электрически резистивный материал. Подходящие электрически резистивные материалы включают, без ограничения: полупроводники, такие как легированная керамика, электрически «проводящую» керамику (например, такую, как дисилицид молибдена), углерод, графит, металлы, сплавы металлов и композитные материалы, изготовленные из керамического материала и металлического материала. Такие композитные материалы могут содержать легированную или нелегированную керамику. Примеры подходящей легированной керамики включают легированные карбиды кремния. Примеры подходящих металлов включают титан, цирконий, тантал и металлы из платиновой группы. Примеры подходящих сплавов металлов включают нержавеющую сталь, константан, никель-, кобальт-, хром-, алюминий-, титан-, цирконий-, гафний-, ниобий-, молибден-, тантал-, вольфрам-, олово-, галлий-, марганец- и железосодержащие сплавы, а также жаропрочные сплавы на основе никеля, железа, кобальта, нержавеющей стали, Timetal®, сплавы на основе железа и алюминия и сплавы на основе железа, марганца и алюминия. Timetal® представляет собой зарегистрированный товарный знак компании Titanium Metals Corporation, 1999 Broadway Suite 4300, Денвер, Колорадо. В композитных материалах электрически резистивный материал может быть при необходимости встроен в изоляционный материал, инкапсулирован в него или покрыт им, или наоборот, в зависимости от кинетики переноса энергии и требуемых наружных физико-химических свойств. Нагревательный элемент может содержать металлическую травленую фольгу, изолированную между двумя слоями инертного материала. В этом случае инертный материал может содержать Kapton®, полностью полиимидную фольгу или слюдяную фольгу. Kapton® представляет собой зарегистрированный товарный знак компании E.I. du Pont de Nemours and Company, 1007 Market Street, Уилмингтон, Делавэр 19898, США. В качестве альтернативы или дополнительно, генерирующий аэрозоль элемент может содержать инфракрасный нагревательный элемент, фотонный источник или индукционный нагревательный элемент. Указанный по меньшей мере один электрический нагревательный элемент может иметь любую подходящую форму. Например, указанный по меньшей мере один электрический нагревательный элемент может иметь форму нагревательного лезвия. Указанный по меньшей мере один электрический нагревательный элемент может содержать кожух или субстрат, имеющий разные электропроводные участки, или электрически резистивную металлическую трубку. Если образующий аэрозоль субстрат представляет собой жидкость, обеспеченную внутри емкости, то эта емкость может содержать одноразовый нагревательный элемент. Указанный по меньшей мере один электрический нагревательный элемент может содержать нагревательные иглы или стержни, которые проходят через центр образующего аэрозоль субстрата. Указанный по меньшей мере один нагревательный элемент может представлять собой дисковый (концевой) нагреватель или комбинацию дискового нагревателя с нагревательными иглами или стержнями. Указанный по меньшей мере один электрический нагревательный элемент может содержать гибкий лист материала, выполненный с возможностью окружения или частичного окружения образующего аэрозоль субстрата. Другие альтернативные варианты включают нагревательную проволоку или нить, например, из Ni-Cr, платины, вольфрама или сплава, или нагревательную пластину. При необходимости, нагревательный элемент может быть нанесен внутри или снаружи на твердый несущий материал. В качестве альтернативы или дополнительно, генерирующий аэрозоль элемент может содержать нагревательный элемент, содержащий множество электропроводных нитей. Термин «нить» может использоваться в данном документе для обозначения электрического пути, расположенного между двумя электрическим контактами. Нить может произвольным образом разветвляться и разделяться на несколько путей или нитей соответственно, или несколько электрических путей могут сходиться в один путь. Форма сечения нити может быть круглой, квадратной, плоской или любой другой. Нить может быть расположена прямолинейным или криволинейным образом. Нагревательный элемент может представлять собой матрицу нитей, например, расположенных параллельно друг другу. Предпочтительно, нити могут образовывать сетку. Сетка может быть тканой или нетканой. Сетка может быть выполнена с использованием различных типов плетеных или решетчатых структур. В качестве альтернативы, электрически проводящий нагревательный элемент состоит из матрицы нитей или тканого полотна из нитей. Сетка, матрица или тканое полотно из электрически проводящих нитей также могут характеризоваться своей способностью к удержанию жидкости. В предпочтительном варианте осуществления по существу плоский нагревательный элемент может быть выполнен из проволоки, которая образует проволочную сетку. Предпочтительно, сетка имеет конструкцию с полотняным переплетением. Предпочтительно, нагревательный элемент представляет собой проволочную решетку, выполненную из сетчатых полос. Нити нагревательного элемента могут быть выполнены из любого материала с подходящими электрическими свойствами. Подходящие материалы включают, без ограничения, полупроводники, такие как легированная керамика, электрически «проводящую» керамику (например, такую, как дисилицид молибдена), углерод, графит, металлы, сплавы металлов и композитные материалы, изготовленные из керамического материала и металлического материала. Предпочтительными материалами для электрически проводящих нитей являются нержавеющая сталь и графит, более предпочтительно нержавеющая сталь марок серии 300, таких как AISI 304, 316, 304L, 316L. Для электрически проводящего нагревательного элемента может использоваться комбинация материалов для улучшения регулирования сопротивления нагревательного элемента. Например, материалы с высоким собственным сопротивлением могут комбинироваться с материалами с низким собственным сопротивлением. Это может быть полезно, если один из материалов является более предпочтительным по другим причинам, например, исходя из стоимости, обрабатываемости или других физических и химических параметров. По существу плоская компоновка из нитей с повышенным сопротивлением обеспечивает преимущество, состоящее в снижении паразитных потерь. Нагреватели с высоким удельным сопротивлением обеспечивают преимущество, состоящее в возможности более эффективного использования энергии батареи. Предпочтительно, нити изготовлены из проволоки. Предпочтительно, проволока изготовлена из металла, наиболее предпочтительно из нержавеющей стали. Между электрически проводящими нитями могут быть образованы промежутки. Промежутки могут иметь ширину от 10 микрометров до 100 микрометров. Предпочтительно, нити создают капиллярный эффект в указанных промежутках, так что при использовании жидкость, предназначенная для испарения, втягивается в указанные промежутки, увеличивая площадь контакта между нагревательным элементом и жидким образующим аэрозоль субстратом. Указанный по меньшей мере один нагревательный элемент может нагревать образующий аэрозоль субстрат за счет проводимости. Нагревательный элемент может по меньшей мере частично находиться в контакте с субстратом или с носителем, на который нанесен субстрат. Тепло от нагревательного элемента может проводиться к субстрату посредством теплопроводного элемента. Указанный по меньшей мере один нагревательный элемент может переносить тепло во входящий окружающий воздух, который во время использования втягивается через электрически нагреваемую генерирующую аэрозоль систему и, в свою очередь, нагревает образующий аэрозоль субстрат за счет конвекции. Окружающий воздух может нагреваться перед его прохождением через образующий аэрозоль субстрат. Если образующий аэрозоль субстрат представляет собой жидкий субстрат, то окружающий воздух может сначала втягиваться через субстрат, а затем нагреваться. Образующий аэрозоль субстрат может представлять собой твердый образующий аэрозоль субстрат. Образующий аэрозоль субстрат предпочтительно содержит табакосодержащий материал, содержащий летучие ароматические соединения табака, которые выделяются из субстрата при нагреве. Образующий аэрозоль субстрат может содержать нетабачный материал. Образующий аэрозоль субстрат может содержать материал, содержащий табак, и материал, не содержащий табака. Предпочтительно, образующий аэрозоль субстрат также содержит вещество для образования аэрозоля. Примерами подходящих веществ для образования аэрозоля являются глицерин и пропиленгликоль. Образующий аэрозоль субстрат может представлять собой жидкий образующий аэрозоль субстрат. Генерирующая аэрозоль система может содержать часть для хранения жидкости. Предпочтительно, жидкий образующий аэрозоль субстрат хранится в указанной части для хранения жидкости. Генерирующий аэрозоль элемент может содержать капиллярный фитиль, сообщающийся с частью для хранения жидкости. Генерирующая аэрозоль система может содержать капиллярный фитиль для удержания жидкости без использования части для хранения жидкости. В этом случае капиллярный фитиль может быть предварительно заправлен жидкостью. Предпочтительно, капиллярный фитиль расположен с возможностью контакта с жидкостью в части для хранения жидкости. В этом случае при использовании жидкость переносится из части для хранения жидкости в направлении указанного по меньшей мере одного электрического нагревательного элемента за счет капиллярного действия в капиллярном фитиле. В одном варианте осуществления капиллярный фитиль имеет первый конец и второй конец, причем первый конец выступает в часть для хранения жидкости для контакта с находящейся в ней жидкостью, а на втором конце расположен указанный по меньшей мере один электрический нагревательный элемент для нагрева жидкости. При активации нагревательного элемента жидкость на втором конце капиллярного фитиля испаряется с помощью нагревательного элемента с образованием перенасыщенного пара. Перенасыщенный пар смешивается с потоком воздуха и переносится в нем. Во время протекания потока пар конденсируется с образованием аэрозоля, и этот аэрозоль переносится в направлении рта пользователя. Нагревательный элемент в комбинации с капиллярным фитилем обеспечивают возможность быстрой реакции, поскольку такая компоновка способна обеспечивать большую площадь поверхности жидкости для нагрева с помощью нагревательного элемента. Следовательно, управление нагревательным элементом согласно настоящему изобретению может зависеть от конструкции компоновки капиллярного фитиля. Жидкий субстрат может абсорбироваться внутри пористого несущего материала, который может быть изготовлен из любой подходящей абсорбирующей заглушки или тела, например, вспененного металлического или пластмассового материала, полипропилена, терилена, нейлоновых волокон или керамики. Жидкий субстрат может удерживаться в пористом несущем материале перед использованием электрически нагреваемой генерирующей аэрозоль системы, или, в качестве альтернативы, материал жидкого субстрата может выделяться в пористый несущий материал во время использования или непосредственно перед использованием. Например, жидкий субстрат может быть обеспечен в капсуле. Оболочка капсулы предпочтительно плавится при нагреве, и жидкий субстрат выделяется в пористый несущий материал. Капсула может при необходимости содержать твердое вещество в сочетании с жидкостью. Если образующий аэрозоль субстрат представляет собой жидкий субстрат, то жидкость имеет физические свойства, например, температуру кипения, подходящие для использования в генерирующем аэрозоль изделии. Если температура кипения будет слишком высокой, то указанный по меньшей мере один электрический нагревательный элемент не сможет испарять жидкость в капиллярном фитиле, а если температура кипения будет слишком низкой, то возможно испарение жидкости даже без активации указанного по меньшей мере одного электрического нагревательного элемента. Управление указанным по меньшей мере одним электрическим нагревательным элементом может зависеть от физических свойств жидкого субстрата. Жидкость предпочтительно содержит табакосодержащий материал, содержащий летучие ароматические соединения табака, которые выделяются из жидкости при нагреве. В качестве альтернативы или дополнительно, жидкость может содержать нетабачный материал. Жидкость может содержать воду, растворители, этанол, растительные экстракты и натуральные или искусственные ароматизаторы. Предпочтительно, жидкость также содержит вещество для образования аэрозоля. Примерами подходящих веществ для образования аэрозоля являются глицерин и пропиленгликоль. Преимущество обеспечения части для хранения жидкости состоит в возможности поддержания высокого уровня гигиены. Использование капиллярного фитиля, проходящего между жидкостью и электрическим нагревательным элементом, обеспечивает возможность получения сравнительно простой конструкции системы. Жидкость имеет такие физические свойства, включая вязкость и поверхностное натяжение, которые обеспечивают возможность переноса жидкости через капиллярный фитиль за счет капиллярного действия. Часть для хранения жидкости предпочтительно представляет собой емкость. Часть для хранения жидкости предпочтительно может не быть повторно заправляемой. Таким образом, при израсходовании жидкости в части для хранения жидкости генерирующую аэрозоль систему заменяют. В качестве альтернативы, часть для хранения жидкости может быть повторно заправляемой. В этом случае генерирующая аэрозоль система может быть заменена после определенного количества повторных заправок части для хранения жидкости. Предпочтительно, часть для хранения жидкости выполнена с возможностью хранения жидкости для заданного количества затяжек. Капиллярный фитиль может иметь волоконную или губчатую структуру. Капиллярный фитиль предпочтительно содержит пучок капилляров. Например, капиллярный фитиль может содержать множество волокон, нитей или других трубок с тонким каналом. Волокна или нити могут быть в целом выровнены в продольном направлении генерирующей аэрозоль системы. В качестве альтернативы, капиллярный фитиль может содержать губкообразный или пенообразный материал, который выполнен в форме стержня. Форма стержня может быть такой, чтобы он проходил вдоль продольного направления образующей аэрозоль системы. Структура фитиля образует множество мелких каналов или трубок, через которые обеспечивается возможность переноса жидкости к электрическому нагревательному элементу за счет капиллярного действия. Капиллярный фитиль может содержать любой подходящий материал или комбинацию материалов. Примерами подходящих материалов являются материалы на основе керамики или графита в виде волокон или спеченных порошков. Капиллярный фитиль может иметь любые подходящие капиллярность и пористость для того, чтобы использовать его с жидкостями, имеющими разные физические свойства, такие как плотность, вязкость, поверхностное натяжение и давление пара. Капиллярные свойства фитиля в сочетании со свойствами жидкости обеспечивают постоянное увлажнение фитиля в области нагрева. Если фитиль является сухим, то может происходить его перегрев, что может приводить к термическому разложению жидкости. Во время работы субстрат может быть полностью заключен внутри генерирующей аэрозоль системы. В этом случае пользователь может осуществлять затяжку на мундштуке электрически нагреваемой генерирующей аэрозоль системы. В качестве альтернативы, во время работы субстрат может частично заключен внутри генерирующей аэрозоль системы. В этом случае субстрат может образовывать часть отдельного изделия, и пользователь может осуществлять затяжку непосредственно на этом отдельном изделии. Предпочтительно, генерирующая аэрозоль система представляет собой электрически нагреваемую генерирующую аэрозоль систему. Еще более предпочтительно, генерирующая аэрозоль система представляет собой электрически нагреваемую курительную систему. Генерирующая аэрозоль система содержит канал потока, часть которого может именоваться камерой для образования аэрозоля. Аэрозоль может образовываться из перенасыщенного пара в указанной камере для образования аэрозоля, и затем он может переноситься в рот пользователя. Впускное отверстие для воздуха, выпускное отверстие для воздуха и указанная камера предпочтительно расположены таким образом, что они образуют тракт потока воздуха от впускного отверстия для воздуха до выпускного отверстия для воздуха через камеру для образования аэрозоля таким образом, чтобы переносить аэрозоль к выпускному отверстию для воздуха и далее в рот пользователя. На стенках камеры для образования аэрозоля может образовываться конденсат. Количество конденсата может зависеть от профиля нагрева, особенно ближе к окончанию затяжки. Предпочтительно, кожух генерирующей аэрозоль системы является продолговатым. Конструкция кожуха, включая площадь поверхности, доступную для образования конденсата, будет влиять на свойства аэрозоля и на то, будут ли иметь место утечки жидкости из генерирующей аэрозоль системы. Кожух может содержать оболочку и мундштук. В этом случае все компоненты могут быть заключены внутри либо оболочки, либо мундштука. Кожух может содержать любой подходящий материал или комбинацию материалов. Примеры подходящих материалов включают металлы, сплавы, пластмассы или композитные материалы, содержащие один или более из таких материалов, или термопластичные материалы, подходящие для применения в пищевой или фармацевтической промышленности, например, полипропилен, полиэфирэфиркетон (PEEK) и полиэтилен. Предпочтительно, материал является легким и нехрупким. Материал кожуха может влиять на количество конденсата, образующегося на кожухе, что, в свою очередь, будет влиять на утечки жидкости из системы. Предпочтительно, генерирующая аэрозоль система, является портативной. Генерирующая аэрозоль система может представлять собой курительную систему, и она может иметь размер, сопоставимый с размером обычных сигары или сигареты. Курительная система может иметь общую длину от приблизительно 30 мм до приблизительно 150 мм. Курительная система может иметь наружный диаметр от приблизительно 5 мм до приблизительно 30 мм. Два или более способов, описанных в данном документе, могут использоваться в комбинации. Например, порог окончания затяжки согласно способу по первому аспекту может быть вычислен с использованием способа согласно шестому аспекту. Иначе говоря, порог окончания затяжки по первому аспекту может быть равен промывочному объему по шестнадцатому аспекту. Два или более из способов, описанных в данном документе, могут быть обеспечены в виде разных режимов работы в одной генерирующей аэрозоль системе. Пользователь может иметь возможность выбора того, какой способ будет реализован, с использованием пользовательского интерфейса. Признаки, описанные в отношении одного аспекта, описанного в данном документе, могут быть применимы к другому аспекту, описанному в данном документе. Специалистам в данной области техники должно быть понятно, что признак, описанный в отношении аспекта, применим к другому аспекту. Настоящее изобретение будет далее описано дополнительно лишь на примерах со ссылкой на сопроводительные чертежи, на которых: на Фиг. 1 представлено схематическое изображение генерирующей аэрозоль системы. на Фиг. 2 представлен график, показывающий интенсивность потока воздуха в зависимости от времени, и график, показывающий мощность нагрева в зависимости от времени, в известной генерирующей аэрозоль системе, использующей известный способ управления созданием аэрозоля; на Фиг. 3 представлен график, показывающий интенсивность потока воздуха в зависимости от времени, и график, показывающий мощность нагрева в зависимости от времени, в генерирующей аэрозоль системе согласно настоящему изобретению; на Фиг. 4 представлен график, показывающий интенсивность потока воздуха в зависимости от времени, и график, показывающий мощность нагрева в зависимости от времени, в генерирующей аэрозоль системе согласно настоящему изобретению; на Фиг. 5 представлен график, показывающий интенсивность потока воздуха в зависимости от времени, и график, показывающий мощность нагрева в зависимости от времени, в генерирующей аэрозоль системе согласно настоящему изобретению; на Фиг. 6 представлен график, показывающий интенсивность потока воздуха в зависимости от времени, и график, показывающий мощность нагрева в зависимости от времени, в генерирующей аэрозоль системе согласно шестому аспекту, описанному в данном документе; на Фиг. 7 представлен график, показывающий интенсивность потока воздуха в зависимости от времени, и график, показывающий мощность нагрева в зависимости от времени, в генерирующей аэрозоль системе согласно одиннадцатому аспекту, описанному в данном документе; и на Фиг. 8 представлен график, показывающий интенсивность потока воздуха в зависимости от времени, и график, показывающий мощность нагрева в зависимости от времени, в генерирующей аэрозоль системе согласно шестнадцатому аспекту, описанному в данном документе. На Фиг. 1 представлено схематическое изображение генерирующей аэрозоль системы. Система 100 содержит два основных компонента: картридж 102 и управляющий корпус 104. Соединительный конец 106 картриджа 102 разъемно соединен с соответствующим соединительным концом 108 управляющего корпуса 104. Генерирующее аэрозоль устройство 100 является портативным и имеет размер, сопоставимый с размером обычной сигары или сигареты. Управляющий корпус 104 содержит источник 110 питания, который в данном примере представляет собой перезаряжаемую литий-ионную батарею, и схему 220 управления. Схема 112 управления содержит систему 111 определения затяжек. Картридж 102 содержит кожух 114, содержащий атомайзерный узел 116 и отделение 118 для хранения жидкости. Отделение для хранения жидкости содержит капиллярный материал, который пропитан жидким образующим аэрозоль субстратом. В данном примере образующий аэрозоль субстрат содержит 39% по весу глицерина, 39% по весу пропиленгликоля, 20% по весу воды и ароматизаторов и 2% по весу никотина. Капиллярный материал представляет собой материал, который активно переносит жидкость от одного конца к другому и может быть изготовлен из любого подходящего материала. В данном примере капиллярный материал выполнен из полиэфира. В данном варианте осуществления атомайзерный узел содержит множество электрически проводящих нагревательных нитей, образующих электрически нагреваемый сетчатый нагревательный элемент. При соединении картриджа 102 управляющим корпусом 104 источник 110 питания электрически соединяется с сетчатым нагревательным элементом. Через картридж от впускного отверстия 122 для воздуха мимо атомайзерного узла 116 и до отверстия 124 на мундштучном конце в кожухе 114 проходит канал 140, 145 для потока воздуха. Система выполнена таким образом, что пользователь имеет возможность всасывания через отверстие 124 на мундштучном конце картриджа 100 для втягивания аэрозоля в свой рот. При использовании, когда пользователь осуществляет всасывание через отверстие 124 на мундштучном конце, воздух втягивается через указанный канал для потока воздуха из впускного отверстия 122 для воздуха. Система 111 определения затяжек определяет поток воздуха через канал потока воздуха и активирует атомайзерный узел 116. Схема 112 управления управляет подачей электроэнергии от источника 110 питания на атомайзерный узел 116. Воздух течет мимо атомайзерного узла 116. Атомайзерный узел 116 генерирует пар, который вовлекается в поток воздуха, проходящий через указанный канал потока воздуха. Количество и свойства пара, генерируемого атомайзерным узлом 116, регулируются по меньшей мере частично с использованием мощности, подаваемой на атомайзерный узел 116 от источника 110 питания. Воздух и вовлеченный пар, или аэрозоль, протекают через отверстие 124 на мундштучном конце в рот пользователя. На Фиг. 1 показан один пример электрически нагреваемой генерирующей аэрозоль системы, которая может использоваться с настоящим изобретением. Тем не менее, возможно использование множества других примеров с настоящим изобретением. Настоящее изобретение может использоваться с любой электрически нагреваемой генерирующей аэрозоль системой, содержащей генерирующий аэрозоль элемент, питаемый от источника питания под управлением от электрической схемы. Например, система не обязательно представляет собой курительную систему. Например, образующий аэрозоль субстрат может представлять собой твердый субстрат, а не жидкий субстрат. В качестве альтернативы, образующий аэрозоль субстрат может представлять собой субстрат другой формы, например, гель или пасту. Генерирующий аэрозоль элемент может иметь любую подходящую форму. Общая форма и размер кожуха могут быть изменены, и кожух может содержать разделяемые оболочку и мундштук. Разумеется, возможны и другие вариации. В варианте осуществления по Фиг. 1 схема 112 управления, содержащая систему 111 определения затяжек, является программируемой с целью управления подачей питания на сетчатый нагревательный элемент. Это, в свою очередь, влияет на профиль нагрева, который будет влиять на свойства пара или аэрозоля. Термин «профиль нагрева» относится к графическому представлению мощности, подаваемой на нагревательный элемент (или графическому представлению другого аналогичного параметра, например, тепла, генерируемого нагревательным элементом) в течение времени, занимаемого затяжкой. Однако генерирующая аэрозоль система будет функционировать в значительной степени таким же образом, если схема 112 управления и система 111 определения затяжек были жестко запрограммированы для управления подачей питания на нагревательный элемент. Как и в вышеописанном случае, это будет влиять на профиль нагрева и, как следствие, на размер капель в аэрозоле. На Фиг. 2 представлен график, показывающий интенсивность потока воздуха в зависимости от времени и мощность нагрева в зависимости от времени в известной генерирующей аэрозоль системе, использующей известный способ управления созданием аэрозоля. На Фиг. 2 представлен график, показывающий интенсивность 201 потока воздуха и мощность 203 нагрева, отложенные по вертикальной оси, и время 205, отложенное по горизонтальной оси. Интенсивность 201 потока воздуха показана сплошной линией, а мощность 203 нагрева показана пунктирной линией. Интенсивность потока воздуха определяется системой определения затяжек, такой как система 111 определения затяжек по Фиг. 1. Мощность нагрева, измеряемая в ваттах, представляет собой питание, подаваемое на нагревательный элемент от источника питания, под управлением от электрической схемы, такой как схема 112 управления по Фиг. 1. На Фиг. 2 показана одна затяжка, осуществляемая пользователем на электрически нагреваемой генерирующей аэрозоль системе, такой как показанная на Фиг. 1. Как можно видеть на Фиг. 2, в данном варианте осуществления интенсивность потока воздуха при затяжке изображена в виде нормального или гауссова распределения. Интенсивность потока воздуха начинается с нуля, плавно повышается до максимума 201max и затем вновь снижается до нуля. Тем не менее, интенсивность потока воздуха обычно не имеет четкого гауссова распределения. Однако во всех случаях интенсивность потока воздуха во время затяжки будет повышаться от нуля до максимума, а затем уменьшаться от максимума до нуля. Площадь под кривой интенсивности потока воздуха представляет собой общий объем воздуха при данной затяжке. Если система определения затяжек определила, что интенсивность 201 потока воздуха повысилась до порога 201a в момент времени 205a, то электрическая схема управляет подачей мощности для включения нагревательного элемента и немедленного повышения мощности 203 нагрева от нуля до мощности 203a. Если система определения затяжек определила, что интенсивность 201 потока воздуха вновь снизилась до порога 201a в момент времени 205b, то электрическая схема управляет подачей мощности для выключения нагревательного элемента и немедленного снижения мощности 203 нагрева от мощности 203a до нуля. Между моментом времени 205a и моментом времени 205b, пока система определения затяжек определяет, что интенсивность потока воздуха остается выше порога 201a, подаваемую на нагревательный элемент мощность нагрева поддерживают на уровне мощности 203a. Таким образом, период нагрева представляет собой время 205b - 205a. В варианте осуществления по Фиг. 2 порог интенсивности потока для включения нагревательного элемента является таким же, что и порог интенсивности потока для выключения нагревательного элемента. Преимущество компоновки по Фиг. 2 состоит в простоте конструкции. Однако при данной компоновке существует вероятность перегрева ближе к окончанию затяжки, например, в обведенной кружочком области 207 на Фиг. 2. Кроме того, существует риск того, что, если интенсивность потока при затяжке снова повысится после снижения мощности, подаваемой на нагреватель, до нуля в момент времени 205b, пользователь испытает негативные ощущения вследствие доставки аэрозоля ненадлежащего качества после момента времени 205b из-за того, что нагреватель остается без питания. На Фиг. 3 представлены два графика. Один график показывает интенсивность 301 потока воздуха, отложенную по вертикальной оси, и время 305, отложенное по горизонтальной оси, а другой график показывает мощность 303 нагрева, отложенную по вертикальной оси, и время 305, отложенное по горизонтальной оси. Время 305, показанное на обоих графиках, является одним и тем же временем. Иначе говоря, графики, представленные на Фиг. 3, показывают интенсивность потока воздуха и мощность нагрева при одной и той же затяжке. Интенсивность 301 потока воздуха показана сплошной линией, а мощность 303 нагрева показана пунктирной линией. Интенсивность потока воздуха измеряется как объем в единицу времени, обычно в кубических сантиметрах в секунду. Интенсивность потока воздуха определяется системой определения затяжек, такой как система 111 определения затяжек по Фиг. 1. Мощность нагрева представляет собой питание, подаваемое на нагревательный элемент от источника питания, под управлением от электрической схемы, такой как схема 112 управления по Фиг. 1. На Фиг. 3 показана одна затяжка, осуществляемая пользователем на электрически нагреваемой генерирующей аэрозоль системе, такой как показанная на Фиг. 1. Как можно видеть на Фиг. 3, в данном варианте осуществления профиль затяжки является более сложным, чем профиль затяжки, показанный на Фиг. 2. В данном варианте осуществления интенсивность 301 потока воздуха повышается от нуля до первой максимальной интенсивности 301max1 потока. Затем интенсивность потока воздуха снижается до интенсивности 301min1 потока. Затем интенсивность потока воздуха повышается до второй максимальной интенсивности 301max2 потока. Затем интенсивность потока воздуха снижается до нуля. Если система определения затяжек определила, что интенсивность 301 потока воздуха повысилась до порога 301a в момент времени 305a, то электрическая схема управляет подачей мощности для включения нагревательного элемента и по существу мгновенного повышения мощности 303 нагрева от нуля до мощности 303a. Если система определения затяжек определила, что интенсивность 301 потока воздуха снизилась до порога 301b в момент времени 305b, то электрическая схема управляет подачей мощности для выключения нагревательного элемента и по существу мгновенного снижения мощности 303 нагрева от мощности 303a до нуля. Между моментом времени 305a и моментом времени 305b подаваемая на нагревательный элемент мощность нагрева поддерживается на уровне мощности 303a. Если системой определения затяжек затем определено, что интенсивность 301 потока воздуха повысилась до порога 301c в момент времени 305c, то электрическая схема управляет подачей мощности для включения нагревательного элемента и по существу мгновенного повышения мощности 303 нагрева от нуля до мощности 303c. Если система определения затяжек определила, что интенсивность 301 потока воздуха снизилась до порога 301d в момент времени 305d, то электрическая схема управляет подачей мощности для выключения нагревательного элемента и по существу мгновенного снижения мощности 303 нагрева от мощности 303c до нуля. Между моментом времени 305c и моментом времени 305d подаваемая на нагревательный элемент мощность нагрева поддерживается на уровне мощности 303c. В варианте осуществления по Фиг. 3 порог 301a представляет собой заданную константу, и порог 301d представляет собой другую заданную константу для определения окончания затяжки. Порог 305d ниже порога 301a. Порог 301b составляет 50% от 301 max1, и порог 301c составляет 65% от 301max1. Мощность 303a и мощность 303c равны. На Фиг. 4 представлены два графика. Первый график по Фиг. 4 показывает тот же самый профиль затяжки, что и по Фиг. 3. Он скопирован на Фиг. 4 лишь для сравнения со вторым графиком, показанным на Фиг. 4. Второй график показывает мощность 403 нагрева, отложенную по вертикальной оси, и время 405, отложенное по горизонтальной оси. Время на обоих графиках является одним и тем же временем. Иначе говоря, графики, представленные на Фиг. 4, показывают интенсивность потока воздуха и мощность нагрева при одной и той же затяжке. Интенсивность 301 потока воздуха показана сплошной линией, а мощность 403 нагрева показана пунктирной линией. Интенсивность потока воздуха определяется системой определения затяжек, такой как система 111 определения затяжек по Фиг. 1. Мощность нагрева представляет собой питание, подаваемое на нагревательный элемент от источника питания, под управлением от электрической схемы, такой как схема 112 управления по Фиг. 1. На Фиг. 4 показана одна затяжка, осуществляемая пользователем на электрически нагреваемой генерирующей аэрозоль системе, такой как показанная на Фиг. 1. В момент времени 305z пользователь нажимает кнопку на генерирующей аэрозоль системе. В ответ электрическая схема управляет подачей мощности для включения нагревательного элемента и повышения подаваемой на нагревательный элемент мощности нагрева до уровня 403z мощности. Как показано на Фиг. 4, кнопка нажата пользователем вскоре после начала осуществления затяжки на системе. Тем не менее, пользователь мог бы нажать указанную кнопку до начала осуществления затяжки на системе, и мощность подавалась бы с уровнем 403z мощности перед любым повышением интенсивности потока воздуха. В данном варианте осуществления, если пользователем нажата указанная кнопка, но в течение 10 секунд после нажатия пользователем указанной кнопки система определения затяжек не определила, что интенсивность потока воздуха выше порога 301a, мощность, подаваемая на нагревательный элемент, будет вновь снижена до нуля. Если система определения затяжек определила, что интенсивность 301 потока воздуха повысилась до порога 301a в момент времени 305a, то электрическая схема управляет подачей мощности на нагревательный элемент для немедленного повышения мощности 403 нагрева от 403z до мощности 403a. Мощность, подаваемая на нагревательный элемент, удерживается на этом уровне мощности в течение периода времени, короткого по сравнению со средним временем затяжки и составляющего приблизительно 0,2 секунды, перед снижением до уровня 403х мощности в момент времени 305х. Это обеспечивает начальный всплеск мощности вблизи момента начала затяжки. Если система определения затяжек определила, что интенсивность 301 потока воздуха снизилась до порога 301b в момент времени 305b, то электрическая схема управляет подачей мощности для выключения нагревательного элемента и снижения мощности 403 нагрева от мощности 403 x до нуля. Как показано на Фиг. 4, данное снижение мощности происходит плавно с постоянной скоростью между моментами времени 305b и 305b2. Если системой определения затяжек затем определено, что интенсивность 301 потока воздуха повысилась до порога 301c в момент времени 305c, то электрическая схема управляет подачей мощности для включения нагревательного элемента и немедленного повышения мощности 403 нагрева от нуля до мощности 403c. Если система определения затяжек определила, что интенсивность 301 потока воздуха снизилась до порога 301d в момент времени 305d, то электрическая схема управляет подачей мощности для выключения нагревательного элемента и немедленного снижения мощности 403 нагрева от мощности 403c до нуля. Между моментом времени 305c и моментом времени 305d подаваемая на нагревательный элемент мощность нагрева поддерживается на уровне мощности 403c. В варианте осуществления по Фиг. 4 порог 301a представляет собой заданную константу, и порог 301d представляет собой другую заданную константу для определения окончания затяжки. Порог 305d ниже порога 301a. Порог 301b составляет 50% от 301 max1, и порог 301c составляет 65% от 301max1. Мощность 403a выше мощности 403 x, которая, в свою очередь, выше мощности 403c, которая, в свою очередь, выше мощности 403z. На Фиг. 5 представлены два графика. Один график показывает интенсивность 501 потока воздуха, отложенную по вертикальной оси, и время 505, отложенное по горизонтальной оси, а другой график показывает мощность 503 нагрева, отложенную по вертикальной оси, и время 505, отложенное по горизонтальной оси. Время 505, показанное на обоих графиках, является одним и тем же временем. Иначе говоря, графики, представленные на Фиг. 5, показывают интенсивность потока воздуха и мощность нагрева при одной и той же затяжке. Интенсивность 501 потока воздуха показана сплошной линией, а мощность 503 нагрева показана пунктирной линией. Интенсивность потока воздуха определяется системой определения затяжек, такой как система 111 определения затяжек по Фиг. 1. Мощность нагрева представляет собой питание, подаваемое на нагревательный элемент от источника питания, под управлением от электрической схемы, такой как схема 112 управления по Фиг. 1. На Фиг. 5 показана одна затяжка, осуществляемая пользователем на электрически нагреваемой генерирующей аэрозоль системе, такой как показанная на Фиг. 1. Как можно видеть на Фиг. 5, в данном варианте осуществления профиль затяжки является более сложным, чем профиль затяжки, показанный на Фиг. 3. В данном варианте осуществления интенсивность 501 потока воздуха повышается от нуля до первой максимальной интенсивности 501max1 потока. Затем интенсивность потока воздуха достигает другого локального максимума 501maxz перед снижением до локальной минимальной интенсивности 501min1 потока. Затем интенсивность потока воздуха повышается до еще одной локальной максимальной интенсивности 501max2 потока перед снижением до еще одной локальной минимальной интенсивности 501min2 потока. Затем интенсивность потока воздуха повышается до еще одного локального максимума 501max3 перед снижением до нуля. На Фиг. 5 максимум 501max2 интенсивности потока выше, чем 501max1, который, в свою очередь, выше, чем 501maxz, который, в свою очередь, выше, чем 501max3, который, в свою очередь, выше, чем 501min1, который, в свою очередь, выше, чем 501min2. Если система определения затяжек определила, что интенсивность 501 потока воздуха повысилась до порога 501a в момент времени 505a, то электрическая схема управляет подачей мощности для включения нагревательного элемента и немедленного повышения мощности 503 нагрева от нуля до мощности 503a. Если система определения затяжек определила, что интенсивность 501 потока воздуха снизилась до порога 501b в момент времени 505b, то электрическая схема управляет подачей мощности на нагревательный элемент для немедленного снижения мощности 503 нагрева от мощности 503а до 503вес1. Между моментом времени 505a и моментом времени 505b подаваемая на нагревательный элемент мощность нагрева поддерживается на уровне мощности 503a. Если система определения затяжек затем определила, что интенсивность 501 потока воздуха повысилась до порога 501c в момент времени 505c, то электрическая схема управляет подачей мощности на нагревательный элемент для немедленного повышения мощности 503 нагрева от 503w1 до мощности 503c. Если система определения затяжек определила, что интенсивность 501 потока воздуха снизилась до порога 501d в момент времени 505d, то электрическая схема управляет подачей мощности на нагревательный элемент для немедленного снижения мощности 503 нагрева от мощности 503c до 503w2. Между моментом времени 505c и моментом времени 505d подаваемая на нагревательный элемент мощность нагрева поддерживается на уровне мощности 503c. Если система определения затяжек затем определила, что интенсивность 501 потока воздуха повысилась до порога 501е в момент времени 505е, то электрическая схема управляет подачей мощности на нагревательный элемент для немедленного повышения мощности 503 нагрева от 503w2 до мощности 503е. Если система определения затяжек определила, что интенсивность 501 потока воздуха снизилась до порога 501f в момент времени 505f, то электрическая схема управляет подачей мощности на нагревательный элемент для немедленного снижения мощности 503 нагрева от мощности 503е до 503w3. Между моментом времени 505е и моментом времени 505f подаваемая на нагревательный элемент мощность нагрева поддерживается на уровне мощности 503e. Если система определения затяжек определила, что интенсивность 501 потока воздуха снизилась до уровня ниже порога 501g, то электрическая схема управляет подачей мощности на нагревательный элемент для немедленного снижения мощности 503 нагрева от мощности 503wt3 до нуля. В варианте осуществления по Фиг. 5 порог 501a представляет собой заданную константу, и порог 501g также представляет собой заданную константу для определения окончания затяжки. Порог 501g ниже порога 501a. Локальная максимальная интенсивность 501maxz потока не влияет на порог 501b, поскольку эта локальная максимальная интенсивность 501maxz потока лежит между интенсивностью 501max1 потока и порогом 501b, и локальная максимальная интенсивность 501maxz потока ниже интенсивность 501max1 потока. Если интенсивность 501maxz потока выше интенсивности 501max1 потока, то порог 501b будет вычисляться как пропорциональная доля от интенсивности 501maxz потока. Порог 501b составляет 70% от 501max1. Порог 501c составляет 80% от 501max1. Порог 501d составляет 70% от 501max2. Порог 501e составляет 80% от 501max2. Мощность 503a, мощность 503c, мощность 503e, мощность 503w1, мощность 503w2 и мощность 503w3 представляют собой мощности, заданные таким образом, что наибольшая из мощностей 503w1, 503w2 и 503w3 ниже наименьшей из мощностей 503a, 503c и 503e. Следует отметить, что согласно варианту осуществления по Фиг. 5, мощность, подаваемая на нагревательный элемент, может быть повышена в ответ на повышение интенсивности потока воздуха до уровня выше порога, определяемого локальным максимумом, и снижена в ответ на снижение интенсивности потока воздуха до уровня ниже порога, определяемого локальным максимумом, неограниченным образом. Иначе говоря, хотя на Фиг. 5 показаны три повышения мощности, подаваемой на нагревательный элемент, другой профиль затяжки может показывать четыре, или пять, или даже большее количество повышений мощности, подаваемой на нагревательный элемент. На Фиг. 6 представлен график, показывающий интенсивность потока воздуха в зависимости от времени, и график, показывающий мощность нагрева в зависимости от времени, в генерирующей аэрозоль системе согласно шестому аспекту, описанному в данном документе. На Фиг. 6 представлен график, показывающий отложенную по вертикальной оси интенсивность потока 601 воздуха при первой затяжке 6A и второй затяжке 6B и отложенное по горизонтальной оси время 605, и второй график, показывающий отложенную по вертикальной оси мощность 603 нагрева при первой затяжке 6A и второй затяжке 6B и отложенное по горизонтальной оси время 605. Интенсивность 601 потока воздуха и мощность 603 нагрева при затяжке 6А показаны сплошными линиями, а интенсивность 601 потока воздуха и мощность 603 нагрева при затяжке 6В показаны пунктирными линиями. Интенсивность потока воздуха определяется системой определения затяжек, такой как система 111 определения затяжек по Фиг. 1. Мощность нагрева представляет собой питание, подаваемое на нагревательный элемент от источника питания, под управлением от электрической схемы, такой как схема 112 управления по Фиг. 1. На Фиг. 6 показана одна затяжка, осуществляемая пользователем на электрически нагреваемой генерирующей аэрозоль системе, такой как показанная на Фиг. 1. Как можно видеть на Фиг. 6, в данном варианте осуществления, интенсивности потока воздуха при указанных затяжках показаны как имеющие форму нормальных или гауссовых распределений. При затяжке 6А интенсивность потока воздуха начинается с нуля, плавно повышается до максимума 601maxА и затем плавно снижается обратно до нуля. При затяжке 6B интенсивность потока воздуха начинается с нуля, плавно повышается до максимума 601maxB и затем плавно снижается обратно до нуля. Порог 601a представляет собой заданную константу. Порог 601end также представляет собой заданную константу для определения окончания затяжки. Порог 601bA применяется к затяжке A, а не к затяжке B, и составляет 50% от локального максимума 601maxA. Порог 601bB применяется к затяжке B, а не к затяжке A, и составляет 50% от локального максимума 601maxB. При затяжке 6A, если система определения затяжек определила, что интенсивность 601 потока воздуха повысилась до порога 601a в момент времени 605aA, то электрическая схема управляет подачей мощности для включения нагревательного элемента и немедленного повышения мощности 603 нагрева от нуля до мощности 603a. Из Фиг. 6 можно видеть, что порог 601end ниже порога 601bA, и при затяжке A порог 601bA достигается раньше порога 601end. Таким образом, если система определения затяжек определила, что интенсивность 601 потока воздуха снизилась до порога 601bA в момент времени 605bA, то электрическая схема управляет подачей мощности для выключения нагревательного элемента и немедленного снижения мощности 603 нагрева от мощности 603a до нуля. Между моментом времени 605a и моментом времени 605b подаваемая на нагревательный элемент мощность нагрева поддерживается на уровне мощности 603a. При затяжке 6В, если система определения затяжек определила, что интенсивность 601 потока воздуха повысилась до порога 601а в момент времени 605aB, то электрическая схема управляет подачей мощности для включения нагревательного элемента и немедленного повышения мощности 603 нагрева от нуля до мощности 603а. Из Фиг. 6 можно видеть, что при затяжке B порог 601end достигается раньше порога 601bB. Таким образом, если система определения затяжек определила, что интенсивность 601 потока воздуха снизилась до порога 601end в момент времени 605endB, то электрическая схема управляет подачей мощности для выключения нагревательного элемента и немедленного снижения мощности 603 нагрева от мощности 603a до нуля. Мощность, подаваемая на нагревательный элемент, не изменяется при дальнейшем снижении интенсивности потока воздуха до порога 601bB. Между моментом времени 605a и моментом времени 605b подаваемая на нагревательный элемент мощность нагрева поддерживается на уровне мощности 603a. На Фиг. 7 представлен график, показывающий интенсивность потока воздуха в зависимости от времени, и график, показывающий мощность нагрева в зависимости от времени, в генерирующей аэрозоль системе согласно одиннадцатому аспекту, описанному в данном документе. Первый график по Фиг. 7 показывает интенсивность потока воздуха в зависимости от времени, а второй график по Фиг. 7, показывает мощность нагрева в зависимости от времени. Оба графика относятся к одной затяжке, осуществляемой пользователем на электрически нагреваемой генерирующей аэрозоль системе, такой как показанная на Фиг. 1. Первый график показывает интенсивность 701 потока воздуха, отложенную по вертикальной оси, и время 705, отложенное по горизонтальной оси, а второй график показывает мощность 703 нагрева, отложенную по вертикальной оси, и время 705, отложенное по горизонтальной оси. Время 705, показанное на обоих графиках, является одним и тем же временем. Иначе говоря, графики, представленные на Фиг. 7, показывают интенсивность потока воздуха и мощность нагрева при одной и той же затяжке. Интенсивность 701 потока воздуха показана сплошной линией, а мощность 703 нагрева показана пунктирной линией. Интенсивность потока воздуха определяется системой определения затяжек, такой как система 111 определения затяжек по Фиг. 1. Мощность нагрева представляет собой питание, подаваемое на нагревательный элемент от источника питания, под управлением от электрической схемы, такой как схема 112 управления по Фиг. 1. На Фиг. 7 показана одна затяжка, осуществляемая пользователем на электрически нагреваемой генерирующей аэрозоль системе, такой как показанная на Фиг. 1. Первый график по Фиг. 7 показывает профиль затяжки, на котором интенсивность потока воздуха повышается от нуля до интенсивности 701max потока и затем снижается от 701max до нуля. Данный график имеет форму, схожую с нормальным распределением, имеющим положительную асимметрию или скошенным вправо. Если система определения затяжек определила, что интенсивность 701 потока воздуха повысилась до порога 701a в момент времени 705a, то электрическая схема управляет подачей мощности для включения нагревательного элемента и немедленного повышения мощности 703 нагрева от нуля до мощности 703a. В данном варианте осуществления порог 701a представляет собой заданную константу. Если система определения затяжек определила, что интенсивность 701 потока воздуха снизилась до порога 701b в момент времени 705b, то электрическая схема управляет подачей мощности для выключения нагревательного элемента и немедленного снижения мощности 703 нагрева от мощности 703a до нуля. В данном варианте осуществления порог 701b составляет 70% от интенсивности 701max потока. Затем, начиная с момента времени 705b, система определения затяжек находится в ожидании, течение фиксированного периода времени, равного 0,3 секунды, до момента времени 705c. В момент времени 705c система определения затяжек измеряет интенсивность потока в качестве интенсивности 701c потока и сравнивает ее с пороговой интенсивностью потока для перезапуска (не показана). В данном варианте осуществления пороговая интенсивность потока для перезапуска составляет 60% от интенсивности 701max потока. Если интенсивность 705c потока выше пороговой интенсивности потока для перезапуска, то электрическая схема управляет подачей мощности для включения нагревательного элемента и повышения мощности нагрева. Если интенсивность 705с потока ниже пороговой интенсивности потока для перезапуска, то нагревательный элемент остается выключенным до окончания затяжки или до тех пор, пока не появится другая причина для переключения нагревательного элемента обратно во включенное состояние. В варианте осуществления по Фиг. 7 интенсивность 705c потока выше пороговой интенсивности потока для перезапуска, так что электрическая схема управляет подачей мощности для включения нагревательного элемента и немедленного повышения мощности 703 нагрева от нуля до мощности 703c. В данном варианте осуществления мощность 703c ниже мощности 703a. Подаваемая на нагревательный элемент мощность остается на уровне мощности 703c до тех пор, пока система определения затяжек не определит, что интенсивность потока ниже порога 701d интенсивности потока, и в этот момент электрическая схема управляет подачей мощности для выключения нагревательного элемента и немедленного снижения мощности 703 нагрева от мощности 703c до нуля. В данном варианте осуществления система определения затяжек измеряет интенсивность потока в течение заданного времени после достижения порога 701b интенсивности потока. Указанное заданное время равно времени между моментом времени 705c и моментом времени 705b. Тем не менее, схожий или идентичный эффект может быть обеспечен с использованием множества альтернативных способов. Некоторые из этих альтернатив могут быть пояснены со ссылкой на Фиг. 7. В одном альтернативном примере система определения затяжек может осуществлять регулярные измерения интенсивности потока. Система определения затяжек может сравнивать измеренную интенсивность 701с потока с порогом перезапуска, причем измерение интенсивности 701с потока осуществляется заданное количество раз после первого измерения, осуществленного после снижения интенсивность потока до уровня ниже порога 701b. Затем, аналогично способу, реализованному в варианте осуществления по Фиг. 7, если интенсивность 705c потока выше пороговой интенсивности потока для перезапуска, то электрическая схема управляет подачей мощности для включения нагревательного элемента и повышения мощности нагрева, однако если интенсивность 705c потока ниже пороговой интенсивность потока для перезапуска, то нагревательный элемент остается выключенным до окончания затяжки или до тех пор, пока не появится другая причина для переключения нагревательного элемента обратно во включенное состояние. Во втором альтернативном примере система определения затяжек может измерять интенсивность потока непрерывно или прерывисто. Если система определения затяжек определила, что интенсивность потока ниже порога 701c, то генерирующая аэрозоль система может сравнивать приблизительную разность во времени с порогом времени перезапуска, причем указанная приблизительная разность во времени представляет собой приблизительное время между моментом определения того, что интенсивность потока ниже порога 701b, и моментом определения того, что интенсивность потока ниже порога 701c, где порог 701b выше порога 701c. Затем, если приблизительная разность во времени выше порога времени перезапуска, то электрическая схема управляет подачей мощности для включения нагревательного элемента и повышения мощности нагрева, или, если приблизительная разность во времени ниже порога времени перезапуска, нагревательный элемент остается выключенным до окончания затяжки или до тех пор, пока не появится другая причина для переключения нагревательного элемента обратно во включенное состояние. На Фиг. 8 представлен график, показывающий интенсивность потока воздуха в зависимости от времени, и график, показывающий мощность нагрева в зависимости от времени, в генерирующей аэрозоль системе согласно шестнадцатому аспекту, описанному в данном документе. На Фиг. 8 представлен первый график, показывающий интенсивность 801 потока воздуха, отложенную по вертикальной оси, и время 805, отложенное по горизонтальной оси, и второй график, показывающий мощность 803 нагрева, отложенную по вертикальной оси, и время 805, отложенное по горизонтальной оси. Интенсивность 801 потока воздуха показана сплошной линией, и мощность 803 нагрева показана пунктирной линией. Интенсивность потока воздуха определяется системой определения затяжек, такой как система 111 определения затяжек по Фиг. 1. Мощность нагрева представляет собой питание, подаваемое на нагревательный элемент от источника питания, под управлением от электрической схемы, такой как схема 112 управления по Фиг. 1. На Фиг. 8 показана одна затяжка, осуществляемая пользователем на электрически нагреваемой генерирующей аэрозоль системе, такой как показанная на Фиг. 1. В данном варианте осуществления схема 112 управления, показанная на Фиг. 1, должна содержать средства хранения данных, способные сохранять результаты измерения, получаемые системой 111 определения затяжек. Как можно видеть на Фиг. 8, в данном варианте осуществления интенсивность потока воздуха при указанной затяжке изображена как имеющая форму, схожую с нормальным или гауссовым распределением. Интенсивность потока воздуха начинается с нуля, плавно повышается до максимума 801max и затем снижается обратно до нуля. В данном варианте осуществления генерирующая аэрозоль система прерывисто сохраняет результаты измерения, получаемые системой определения затяжек, в средствах хранения данных. Если система определения затяжек определила, что интенсивность 801 потока воздуха повысилась до порога 801a в момент времени 805a, то электрическая схема управляет подачей мощности для включения нагревательного элемента и немедленного повышения мощности 803 нагрева от нуля до мощности 803a. Если система определения затяжек определила, что интенсивность 801 потока воздуха снизилась до порога 801с в момент времени 805s, то генерирующая аэрозоль система начинает прерывисто вычислять оценочное значение оставшегося объема затяжки на основе текущей определяемой интенсивности потока и оценочного значения текущей скорости изменения интенсивности потока. В данном варианте осуществления порог 801s интенсивности потока составляет 80% от максимальной определяемой интенсивности 801max потока. В данном варианте осуществления датчик потока прерывисто сохраняет значения интенсивности потока. В данном контексте термин «прерывисто» используется в значении «регулярно, с периодом времени TP», хотя система будет функционировать аналогичным образом, если значения сохранялись нерегулярно. Период времени TP мал по сравнению с продолжительностью средней затяжки. В данном варианте осуществления период времени TP равен 0,01 секунды. После достижения порога 801s процессор генерирующей аэрозоль системы вычисляет текущую среднюю скорость Ac изменения интенсивности потока. Текущая средняя скорость Ac изменения интенсивности потока вычисляется путем вычитания значения Qc-5интенсивности потока, которое было сохранено за пять значений интенсивности потока до текущего значения интенсивности потока, из значения Qcинтенсивности потока тока, последующего деления на пять и затем деления на период времени TP. Затем процессор предполагает, что эта текущая средняя скорость Ac изменения интенсивности потока останется постоянной. Это означает, что текущее оставшееся время TC затяжки может быть оценено, если текущая средняя скорость Ac изменения интенсивности потока является отрицательной, как равное взятому со знаком минус частному от деления текущего значения Qc интенсивности потока на текущую среднюю скорость Ac изменения интенсивности потока. Затем процессор вычисляет оценочное значение текущего оставшегося объема Vc затяжки как произведение -0,5 на частное от деления квадрата текущего значения интенсивности потока на текущую среднюю скорость изменения интенсивности потока. Процессор сравнивает каждое вычисленное оценочное значение текущего оставшегося объема Vc затяжки с пороговым объемом. В данном варианте осуществления пороговый объем составляет 3 мл. На первом графике по Фиг. 8, в момент времени 805b измеряют интенсивность 801b потока и сохраняют ее в средствах хранения данных. Затем вычисляют оценочное значение оставшегося объема затяжки. Это оценочное значение оставшегося объема затяжки показано в виде заштрихованной области на первом графике по Фиг. 8. В варианте осуществления по Фиг. 8 это оценочное значение оставшегося объема затяжки представляет собой первое оценочное значение, меньшее 3 мл. Таким образом, электрическая схема управляет подачей мощности для выключения нагревательного элемента и немедленного снижения мощности 803 нагрева от мощности 803a до нуля. На фигурах показаны конкретные варианты осуществления аспектов, описанных в данном документе. Однако следует понимать, что в описанные варианты осуществления могут быть внесены изменения в рамках объема настоящего изобретения. Специалистам в данной области техники должно быть очевидно, что при необходимости признаки, описанные в отношении одного аспекта или варианта осуществления, могут быть применены к одному или более другим аспектам или вариантам осуществления. Предпочтительно, во всех вариантах осуществления, описанных в данном документе, предложен усовершенствованный способ управления созданием аэрозоля в генерирующей аэрозоль системе. В частности, в заявленном изобретении предложен усовершенствованный способ управления созданием аэрозоля во время сложного профиля затяжки.




