Изобретение относится к горной промышленности и может быть использовано при откачивании воды из открытых и подземных горных выработок. Применение предлагаемого способа позволяет оперативно регистрировать отклонения текущего режима работы насосного агрегата от оптимального по критерию удельных затрат электроэнергии Н/η, дает возможность изменять подачу в пределах рабочего интервала, а также увеличивать подачу за счет организации путевой раздачи воды из нагнетательного трубопровода водоотливной установки или уменьшать ее путем дросселирования нагнетательного трубопровода, что упрощает контроль за параметрами работы насосного агрегата, повышает безопасность и расширяет диапазон регулирования. Для достижения этих результатов в известном способе регулирования режима работы водоотливной установки, включающем периодическое измерение подачи Q насоса и ее изменение для снижения удельного расхода электроэнергии, при измерении подачи дополнительно выполняют косвенные измерения напора Н и КПД η насоса, изменение подачи осуществляют в пределах рабочего интервала до достижения режима работы с минимальным отношением Н/η, при этом увеличение подачи обеспечивают за счет резерва мощности привода путем организации путевой раздачи воды из нагнетательного трубопровода водоотливной установки, а для уменьшения подачи дросселируют нагнетательный трубопровод. Кроме того, предусмотрено дросселирование нагнетательного трубопровода осуществлять при закрытых отверстиях для путевой раздачи воды. 1 з.п. ф-лы, 3 ил.
1. Способ регулирования режима работы водоотливной установки, включающий периодическое измерение подачи Q насоса и ее изменение для снижения удельного расхода электроэнергии, отличающийся тем, что при измерении подачи дополнительно выполняют косвенные измерения напора Н и КПД η насоса, изменение подачи осуществляют в пределах рабочего интервала до достижения режима работы с минимальным отношением Н/η, при этом увеличение подачи обеспечивают за счет резерва мощности привода путем организации путевой раздачи воды из нагнетательного трубопровода водоотливной установки, а для уменьшения подачи дросселируют нагнетательный трубопровод. 2. Способ по п. 1, отличающийся тем, что дросселирование нагнетательного трубопровода осуществляют при закрытых отверстиях для путевой раздачи воды.
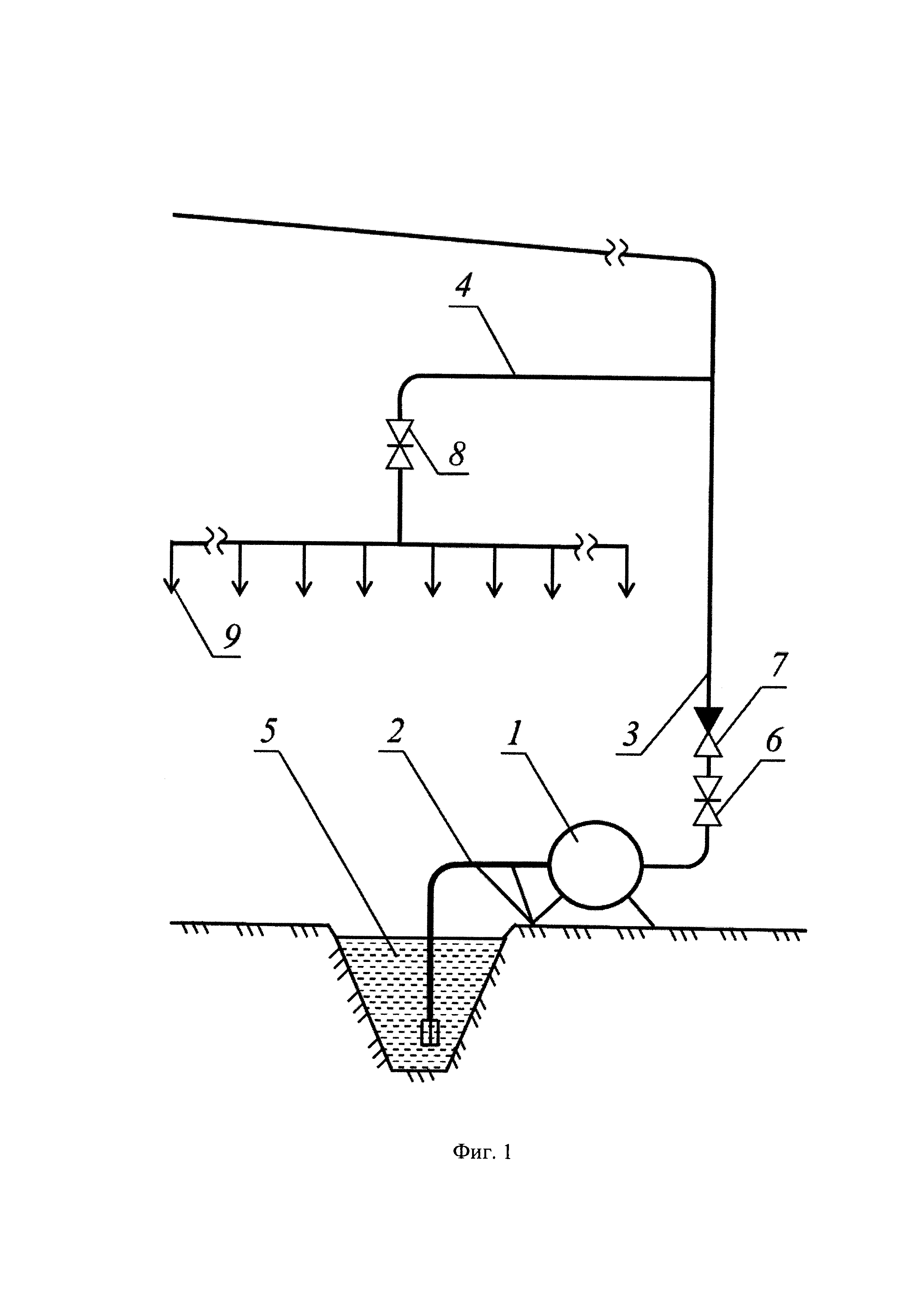
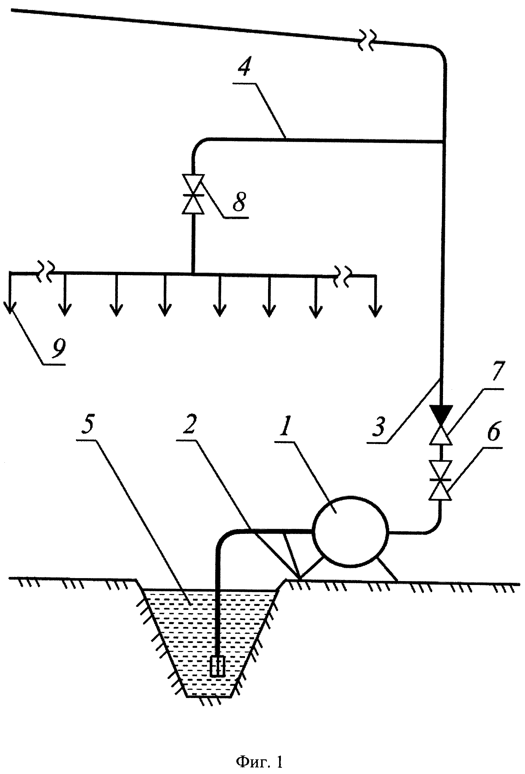
Изобретение относится к горной промышленности и может быть использовано при откачивании воды из открытых и подземных горных выработок. Известен способ регулирования режима работы водоотливной установки, включающий периодическое измерение подачи Q насоса и ее регулирование изменением частоты вращения приводного вала до достижения режима работы с заданными параметрами (авторское свидетельство на изобретение №1751422 (СССР), F04D 15/00, опубл. 30.07.1992, бюл. №28). Недостатком указанного способа регулирования являются неприемлемые затраты на его реализацию в связи с высокой стоимостью преобразователей частоты вращения большой мощности. Известен способ регулирования режима работы водоотливной установки, включающий периодическое измерение подачи Q насоса и активной мощности Nд его привода и изменение подачи путем впуска атмосферного воздуха во всасывающий тракт водоотливной установки для снижения удельного расхода электроэнергии Nд/Q (патент на изобретение №2418196 (РФ), F04D 15/00, опубл. 10.05.2011, бюл. №13). Недостатками данного способа регулирования, принятого за прототип, являются сложность контроля за режимом работы насосного агрегата по его подаче Q и мощности Nд и значительные ограничения при практическом применении в связи с опасностью разрыва потока или возникновения кавитационных автоколебаний в насосе при увеличении расхода воздуха, а также из-за отсутствия резерва производительности. Задачей изобретения является упрощение контроля за параметрами работы насосного агрегата, повышение безопасности и расширение диапазона регулирования. Достигается это тем, что в известном способе регулирования режима работы водоотливной установки, включающем периодическое измерение подачи Q насоса и ее изменение для снижения удельного расхода электроэнергии, при измерении подачи дополнительно выполняют косвенные измерения напора Н и КПД η насоса, изменение подачи осуществляют в пределах рабочего интервала до достижения режима работы с минимальным отношением Н/η, при этом увеличение подачи обеспечивают за счет резерва мощности привода путем организации путевой раздачи воды из нагнетательного трубопровода водоотливной установки, а для уменьшения подачи дросселируют нагнетательный трубопровод. Кроме того, предусмотрено дросселирование нагнетательного трубопровода осуществлять при закрытых отверстиях для путевой раздачи воды. Отличительные признаки - изменение подачи Q в пределах рабочего интервала гарантирует устойчивую работу насоса без кавитации, изменение подачи до достижения режима работы с минимальным отношением Н/η позволяет оперативно регистрировать отклонения текущего режима работы насосного агрегата от оптимального по критерию удельных затрат электроэнергии (при определении напора Н используют показания стационарных приборов - вакуумметра и манометра, что существенно проще косвенного измерения активной мощности привода Nд, выполняемого с помощью токоизмерительных клещей), а увеличение подачи за счет организации путевой раздачи воды из нагнетательного трубопровода водоотливной установки или ее уменьшение путем дросселирования нагнетательного трубопровода дает возможность регулировать режим работы водоотливной установки от левой до правой границы рабочего интервала при наличии резерва необходимой мощности привода. Техническим результатом предлагаемого решения является упрощение контроля за параметрами работы насосного агрегата, повышение безопасности и расширение диапазона регулирования. Предлагаемый способ поясняется схемой и графиками на фиг. 1, 2 и 3. На фиг. 1 представлена гидравлическая схема карьерной водоотливной установки, где 1 - насос; 2 - всасывающий трубопровод; 3 - нагнетательный трубопровод; 4 - оросительный трубопровод; 5 - водосборник; 6 - регулирующий клапан нагнетательного трубопровода; 7 - обратный клапан; 8 - регулирующий клапан оросительного трубопровода; 9 - отверстия для путевой раздачи воды с форсунками; на фиг. 2 - рабочие характеристики Н/η-Q насосов ЦНС 105-98…490; на фиг. 3 - рабочие характеристики Н/η-Q насосов ЦНС 500-160…880. Способ регулирования режима работы водоотливной установки может быть реализован следующим образом. После окончания работ, связанных с монтажом центробежного насоса 1 с всасывающим 2, нагнетательным 3 и оросительным 4 трубопроводами и его обкаткой, проводят типовые испытания насосного агрегата с целью определения действительных рабочих характеристик H-Q, Nв-Q, η-Q и hд-Q. Подачу Q (м3/ч) насоса измеряют с помощью расходомера. Соответствующие текущей подаче значения мощности приводного вала NB, КПД η и напора Н насоса определяют по известным формулам на основании прямых или косвенных измерений величины учитываемых этими формулами факторов. Напор насоса: где Δh - вертикальное расстояние от точки присоединения вакуумметра до оси стрелки манометра, м; рв и рм - показания вакуумметра и манометра, Па; ρ=1000-4030 кг/м3 - плотность перекачиваемой воды; g=9,8 м/с2 - ускорение силы тяжести; νнп и νвп - скорости движения воды в нагнетательном и всасывающем патрубках насоса возле манометра и вакуумметра соответственно, определяемые из выражения Мощность приводного вала: где Мкр - крутящий момент на валу, Н⋅м; ω - угловая скорость вала, с-1. КПД насоса с измеренными рабочими параметрами Q, Н и Nв рассчитывают по следующей формуле: Согласно требованиям безопасности насосный агрегат должен обеспечивать откачку суточных притоков воды Qcyx(м3) в водосборник 5 не более чем за 20 ч и, независимо от часовой производительности Q, выполнять за сутки одну и ту же полезную работу где Нг - геометрическая высота водоотливной установки, м. Количество электрической энергии, затрачиваемое на эту работу, определяют по формуле: где 1,05 - нормативный коэффициент, учитывающий дополнительный расход электроэнергии вспомогательным оборудованием насосной станции; ηд - КПД электропривода насоса; ηс - КПД электросети. В процессе эксплуатации водоотливной установки при открытом регулирующем клапане 6, установленном на нагнетательном трубопроводе 3 перед обратным клапаном 7, и закрытом регулирующем клапане 8 оросительного трубопровода 4 периодически определяют подачу Q и напор Н насосного агрегата 1 с помощью расходомера, вакуумметра и манометра, а также выполняют косвенные измерения его КПД η с целью диагностирования технического состояния насоса и контроля за его работой в пределах рабочего интервала подач. В теплое и сухое время года осуществляют регулирование режима работы водоотливной установки с помощью клапанов (вентилей) 6 или 8 с целью снижения удельного расхода электроэнергии Ecyт/Qcyт. Из уравнения (5) следует, что основной задачей при регулировании рабочего режима насоса по критерию удельного расхода электроэнергии Ecyт/Qcyт является обеспечение минимального отношения Н/η. Анализ графиков зависимости Н/η-Q для выпускаемых отечественной промышленностью центробежных насосов показал, что у большинства из них точка экстремума, соответствующая минимуму удельных энергетических затрат Ecyт/Qcyт, находится за правой границей рабочего интервала подач или отсутствует (фиг. 2), и лишь у немногих из них точка минимума находится внутри рабочего интервала (фиг. 3). В связи с этим, в большинстве случаев для уменьшения удельных затрат электроэнергии на водоотлив потребуется рост расхода воды в насосе. Для увеличения подачи насоса открывают клапан 8, обеспечивая путевую раздачу воды через отверстия с двухфазными форсунками 9. Воду распыляют над большой площадью северного борта карьера в зоне восходящих воздушных потоков без переувлажнения горных пород. Организованная раздача воды приводит к снижению потерь напора в нагнетательном трубопроводе и к росту подачи насоса за счет резерва мощности электропривода. При увеличении подачи необходимо контролировать рост потерь напора во всасывающем трубопроводе 2 с помощью вакуумметра, исходя из условия обеспечения бескавитационной работы насоса. В тех случаях, когда для уменьшения удельных затрат электроэнергии на водоотлив потребуется снизить подачу насоса, дросселируют нагнетательный трубопровод 3 с помощью регулирующего клапана 6. Применение предлагаемого способа позволяет оперативно регистрировать отклонения текущего режима работы насосного агрегата от оптимального по критерию удельных затрат электроэнергии Н/η, дает возможность изменять подачу в пределах рабочего интервала, а также увеличивать подачу за счет организации путевой раздачи воды из нагнетательного трубопровода водоотливной установки или уменьшать ее путем дросселирования нагнетательного трубопровода, что упрощает контроль за параметрами работы насосного агрегата, повышает безопасность и расширяет диапазон регулирования.
м/с (здесь Dп - внутренний диаметр соответствующего патрубка, м).


