Изобретение относится к области термостабилизации грунта вокруг свай методом принудительной регулируемой подачи в термоэлементы теплоносителя заданной температуры от холодильной машины. Способ термостабилизации грунта вокруг свай включает промораживание массива многолетнемёрзлого грунта со сваями, термоэлементами методом принудительной регулируемой подачи в них теплоносителя заданной температуры от внешнего источника охлаждения. Охлаждённый теплоноситель с выхода холодильной машины подают по трубке на вход коллектора охлаждённого теплоносителя, где он распределяется по магистралям, затем поступает последовательно в шланг, транспортные участки, трубку ввода и термоэлемент, который установлен внутри сваи на глубине, которая зависит от зоны растепления грунта, а внутреннее пространство сваи заполнено незамерзающей жидкостью, при этом происходит улучшение теплообмена между корпусом сваи и термоэлементом. Проходя по термоэлементу, теплоноситель нагревается, а температура корпуса сваи и прилегающего к свае грунта снижается, после этого нагретый теплоноситель последовательно поступает на транспортные участки с нагретым теплоносителем, шланг, магистраль и коллектор, на вход холодильной машины. Технический результат состоит в повышении эффективности процесса термостабилизации грунта. 1 з.п. ф-лы, 2 ил., 1 табл.
1. Способ термостабилизации грунта вокруг свай, включающий промораживание массива многолетнемёрзлого грунта со сваями, термоэлементами методом принудительной регулируемой подачи в них теплоносителя заданной температуры от внешнего источника охлаждения, отличающийся тем, что охлаждённый теплоноситель с выхода холодильной машины подают по трубке на вход коллектора охлаждённого теплоносителя, где он распределяется по магистралям, затем поступает последовательно в шланг, транспортные участки, трубку ввода и термоэлемент, который установлен внутри сваи на глубине, которая зависит от зоны растепления грунта, а внутреннее пространство сваи заполнено незамерзающей жидкостью, при этом происходит улучшение теплообмена между корпусом сваи и термоэлементом, проходя по термоэлементу, теплоноситель нагревается, а температура корпуса сваи и прилегающего к свае грунта снижается, после этого нагретый теплоноситель последовательно поступает на транспортные участки с нагретым теплоносителем, шланг, магистраль и коллектор, на вход холодильной машины. 2. Способ по п. 1, отличающийся тем, что
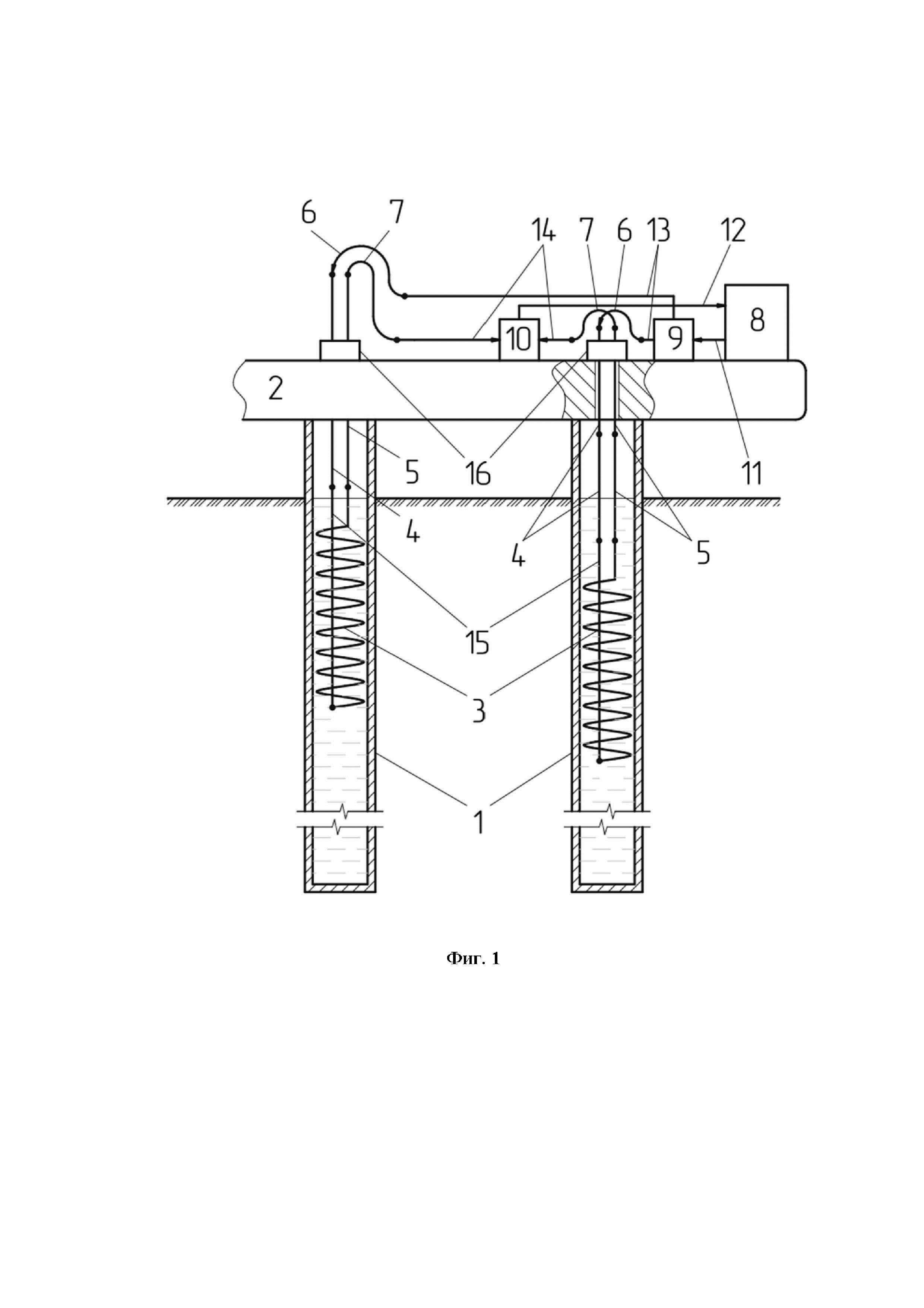
Изобретение относится к области термостабилизации многолетнемёрзлых грунтов для обеспечения устойчивости свайных фундаментов. Известен способ термостабилизации грунта (Горелик Я.Б., Хабитов А.Х. Об эффективности применения термостабилизаторов при строительстве на многолетнемерзлых грунтах // Вестник Тюменского государственного университета. Физико-математическое моделирование. Нефть, газ, энергетика, т. 5, №3, 2019, с. 25-46), включающий размещение внутри корпуса полой сваи испарителя термостабилизатора и вынесение оребрённого конденсатора за пределы корпуса сваи в надземной части. Недостатком способа является недостаточная интенсивность замораживания грунта, а также полная остановка процесса замораживания в тёплое время года. Известен способ промерзания грунта под действием термоопоры (Окороков Н.С., Коркишко А.Н., Коржикова А.П. Экспериментальное исследование принудительно вентилируемой сваи / Вестник МГСУ, т. 15, №5, 2020, с. 665-677), при котором термостабилизацию грунта обеспечивают путём принудительной вентиляции холодного воздуха холодильной машины по телу сваи, погружённой в грунт. Недостатком устройства является использование в качестве хладагента воздуха, обладающего худшими показателями теплоёмкости по сравнению с незамерзающими жидкостями. Известен способ охлаждения грунта и тепловая свая для его охлаждения (патент РФ 2256746, опубл. 20.07.2005), включающий конденсацию пара рабочей жидкости в конденсаторной полости путем охлаждения ее окружающей средой над поверхностью грунта, транспортировку сконденсированной жидкости под действием силы тяжести по транспортировочной магистрали в испарительную полость с последующим ее испарением в ней и обратной транспортировкой пара в конденсаторную полость. Конденсацию пара рабочей жидкости осуществляют в объеме, большем объема, в котором осуществляют испарение рабочей жидкости. Недостатком способа является недостаточная интенсивность замораживания грунта, а также полная остановка процесса замораживания в тёплое время года. Известен способ принудительного понижения температуры вечномерзлого грунта в основаниях свайных фундаментов опор эксплуатируемого моста (патент РФ 2731343, опубл. 01.09.2020), в соответствии с которым при необходимости принудительной проморозки холодным воздухом от воздушной турбохолодильной машины продувают стволы сезоннодействующих охлаждающих устройств (СОУ) после полной откачки из них жидкого хладоносителя, который снова заливают в стволы СОУ после достижения грунтами оснований расчетных отрицательных значений температуры. Недостатком способа является трудоёмкость процессов откачки и закачки жидкого хладоносителя, а также риск утечек хладагента. Известен способ устройства плитного фундамента на сваях для резервуара с низкотемпературным продуктом (патент РФ 2552253, опубл. 10.06.2015), принятый за прототип, включающий дополнительное промораживание массива вечномерзлого грунта со сваями с помощью глубинных термоэлементов методом принудительной регулируемой подачи в них хладагента заданной температуры от внешнего источника его охлаждения по закольцованным распределительным магистралям. Для замораживания грунтового основания под плитой в процессе хранения продукта используют его собственную отрицательную температуру, при этом через определенное время, когда ореол промерзания грунтового основания от воздействия низкотемпературного продукта в резервуаре достигнет расчетных температур, дополнительное принудительное промораживание глубинными термоэлементами частично или полностью прекращают. При необходимости усиления отдельных участков свайного основания, в отдельные магистрали отдельных секторов подается хладагент с более низкой температурой, чем в остальных секторах. Недостатком способа является необходимость бурения скважин для глубинных термоэлементов. Другим недостатком является то, что для замораживания отдельных участков свайного основания с отличающейся интенсивностью необходимо получать хладагент разных температур. Техническим результатом способа является повышение эффективности процесса термостабилизации грунта. Технический результат достигается тем, что охлаждённый теплоноситель с выхода холодильной машины подается по трубке на вход коллектора охлаждённого теплоносителя, где он распределяется по магистралям, затем поступает последовательно в шланг, транспортные участки, трубку ввода и термоэлемент, который установлен внутри сваи на глубине, которая зависит от зоны растепления грунта, а внутреннее пространство сваи заполнено незамерзающей жидкостью, при этом происходит улучшение теплообмена между корпусом сваи и термоэлементом, проходя по термоэлементу, теплоноситель нагревается, а температура корпуса сваи и прилегающего к свае грунта снижается, после этого нагретый теплоноситель последовательно поступает на транспортные участки с нагретым теплоносителем, шланг, магистраль и коллектор, на вход холодильной машины. При увеличении глубины опускания термоэлементов последовательно устанавливают дополнительные транспортные участки. Способ термостабилизации грунта вокруг сваи поясняется следующей фигурой: фиг. 1 – схема размещения оборудования для заморозки грунта на плите и в сваях; фиг. 2 – результаты моделирования, где: 1 – свая; 2 – плита; 3 – термоэлемент; 4 – транспортный участок с охлаждённым теплоносителем; 5 – транспортный участок с нагретым теплоносителем; 6 – шланг с охлаждённым теплоносителем; 7 – шланг с нагретым теплоносителем; 8 – холодильная машина; 9 – коллектор охлаждённого теплоносителя; 10 – коллектор нагретого теплоносителя; 11 – трубка с охлаждённым теплоносителем; 12 – трубка с нагретым теплоносителем; 13 – магистраль с охлаждённым теплоносителем; 14 – магистраль с нагретым теплоносителем; 15 – трубка ввода; 16 – устройство подвеса. Способ реализуется следующим образом. На сваях 1, заглубленных в грунт и образующих свайное поле, закреплена плита 2, на которой установлен внешний источник охлаждения, в качестве которого используют холодильную машину 8. В качестве холодильной машины 8 может быть использована абсорбционная холодильная машина, работающая за счёт избытков тепловой энергии от оборудования, размещённого на плите 2, или компрессорная холодильная машина. Охлаждённый теплоноситель с выхода холодильной машины 8 поступает по трубке с охлаждённым теплоносителем 11 на вход коллектора охлаждённого теплоносителя 9, в котором распределяется по магистралям с охлаждённым теплоносителем 13. После этого охлаждённый теплоноситель поступает последовательно в шланг с охлаждённым теплоносителем 6, транспортные участки с охлаждённым теплоносителем 4 и трубку ввода 15. Затем охлаждённый теплоноситель поступает на вход термоэлемента 3, который установлен внутри сваи 1 на глубине, зависящей от зоны растепления грунта. При необходимости внутри каждой сваи 1 может использоваться несколько термоэлементов 3, установленных последовательно, при этом последовательно устанавливают несколько трубок ввода 15. Для улучшения теплообмена между корпусом сваи 1 и термоэлементом 3 внутреннее пространство сваи 1 заполняется незамерзающей жидкостью, например – керосином. Проходя по термоэлементу 3, теплоноситель нагревается, а температура корпуса сваи 1 в зоне расположения термоэлемента 3 и температура прилегающего к свае 1 грунта снижается. Нагретый теплоноситель с выхода термоэлемента 3 поступает последовательно на транспортные участки с нагретым теплоносителем 5, шланг с нагретым теплоносителем 7 и магистраль с нагретым теплоносителем 14. Затем нагретый теплоноситель поступает в коллектор нагретого теплоносителя 10, с выхода которого через трубку с нагретым теплоносителем 12 теплоноситель подаётся на вход холодильной машины 8. В холодильной машине 8 теплоноситель охлаждается и подаётся на трубку с охлаждённым теплоносителем 11. Затем цикл циркуляции теплоносителя по замкнутому контуру повторяется. При увеличении глубины опускания термоэлементов 3 последовательно устанавливают дополнительные транспортные участки с охлаждённым теплоносителем 4, аналогично последовательно устанавливают дополнительные транспортные участки с нагретым теплоносителем 5. Для закрепления термоэлемента 3 на плите 2 установлено устройство подвеса 16, которое фиксирует транспортный участок с охлаждённым теплоносителем 4 и транспортный участок с нагретым теплоносителем 5. Фиксация в устройстве подвеса 16 может осуществляться путём зажима винтами. Способ поясняется следующим примером. В программном комплексе COMSOL Multiphysics построена модель свайного основания. Свайное основание включает стальную плиту длиной 8 м, шириной 5 м и высотой 0,2 м. Плита закреплена на расположенных в одной плоскости трёх стальных полых сваях диаметром 0,4 м, длиной 10 м, с толщиной стенки 10 мм, и расположена на высоте 2 м над поверхностью земли. На плите установлен объект с мощностью теплового излучения 10 кВт. Внутри свай установлены термоэлементы, изготовленные из медной тонкостенной трубки с наружным диаметром 15 мм, причём расстояние между термоэлементами и внутренней стенкой сваи составляет 20 мм. Термоэлементы представляют собой спирали с 20 витками, межвитковым расстоянием 0,1 м. Внутреннее пространство свай заполнено керосином до уровня поверхности земли, верхнюю часть внутреннего пространства свай занимает воздух. Транспортные участки изготовлены из меди. В транспортные участки подаётся хладон R20, охлаждённый до температуры -3 °С. Транспортные участки с охлаждённым теплоносителем теплоизолированы с помощью полиуретановой трубы с толщиной стенки 50 мм, плотно прилегающей к транспортному участку с охлаждённым теплоносителем. В модели задана скорость теплопереноса в воздушной части расчётной области, составляющая 0,2 м/с. Температура воздуха на границах расчётной области, кроме границы, в сторону которой направлен теплоперенос за счёт ветра, задана равной +8 °С. Начальные условия выше поверхности земли +8 °С. Начальные условия ниже поверхности земли -2 °С, кроме транспортных участков с полиуретановой теплоизоляцией и термоэлементов, для которых начальная температура задана равной -3 °С. Проведено моделирование стационарного процесса термостабилизации грунта вокруг свай. В ходе моделирования изменялась глубина опускания термоэлементов внутри сваи, при этом длина транспортных участков с полиуретановой изоляцией увеличивалась на необходимую величину. Результаты моделирования температурного поля прилегающего к сваям грунта при некоторых вариантах размещения термоэлементов внутри свай показаны в таблице 1. Таблица 1. Варианты размещения змеевиков внутри свай и результаты моделирования температурного поля прилегающего к сваям грунта Анализ результатов моделирования показал, что при заданных условиях различная глубина погружения термоэлементов внутри трёх свай приводит к более низким температурам грунта, чем при одинаковой глубине погружения термоэлементов. На фиг. 2 показаны результаты моделирования, изотермы приведены для варианта № 8 таблицы 1. Управляемость процесса заморозки грунта обеспечивается как регулированием подачи теплоносителя холодильной машиной 8, так и регулированием глубины опускания термоэлемента 3 внутри сваи 1. Повышение эффективности процесса термостабилизации грунта достигается за счет расположения термоэлементов для замораживания грунта внутри свай, а также за счёт возможности регулирования глубины опускания термоэлементов. При увеличении глубины опускания термоэлементов последовательно устанавливают дополнительные транспортные участки с охлаждённым теплоносителем, а также последовательно устанавливают дополнительные транспортные участки с охлаждённым теплоносителем. Для улучшения теплообмена между корпусом сваи и термоэлементом внутреннее пространство свай заполняют незамерзающей жидкостью. № Глубина опускания верхней части термоэлемента относительно уровня земли, м Средняя температура поверхности сваи ниже уровня земли, °С Средняя температура грунта в расчётной области, °С Свая 1 Свая 2 Свая 3 Свая 1 Свая 2 Свая 3 в сечении в объёме 1 Термоэлементы отсутствуют 1,01 0,79 0,54 -0,46 -0,81 2 1 -0,87 -1,05 -1,12 -0,58 -0,84 3 1,5 -0,90 -1,06 -1,13 -0,64 -0,82 4 2 -0,81 -1,00 -1,08 -0,62 -0,88 5 3 -0,84 -0,97 -1,02 -0,61 -0,85 6 1,5 1 1 -0,88 -1,10 -1,19 -0,68 -0,90 7 2 1 1 -0,85 -1,13 -1,22 -0,68 -0,92 8 3 1 1 -1,02 -1,24 -1,31 -0,72 -0,91 9 4 1 1 -0,68 -1,09 -1,14 -0,62 -0,86