патент
№ RU 2783186
МПК F04D29/36

КРЫЛЬЧАТКА ВЕНТИЛЯТОРА

Авторы:
ХЕГЕЛЕ, Карл (DE)
Номер заявки
2021130700
Дата подачи заявки
11.11.2020
Опубликовано
09.11.2022
Страна
RU
Дата приоритета
15.12.2025
Номер приоритета
Страна приоритета
Как управлять
интеллектуальной собственностью
Чертежи 
4
Реферат

[26]

Изобретение относится к крыльчатке вентилятора. Предлагается крыльчатка (1) вентилятора со ступицей (4), которая закреплена по центру относительно привода (8) и выполнена с возможностью соосного с ней вращения между упорами относительно ступицы, и с лопастями вентилятора, проходящими радиально от ступицы по ее окружности и закрепленными в ступице (4) с возможностью поворота в диапазоне, ограниченном упорами ступицы (4), относительно привода (8). Лопасти вентилятора выполнены с возможностью поворота относительно осей (5) лопастей для регулировки угла лопастей (2) вентилятора, при этом предусмотрено совмещение поддержки вращения между пределами упоров ступицы (4) для привода (8), поддержки вращения между ступицей (4) и приводом (8) с неограниченным углом вращения. Неограниченное по вращению соединение привода образовано посредством планетарного привода (18), водило (19) планетарной передачи которого прикреплено к регулировочному кольцу (10) и эпициклическое зубчатое колесо (23) с внутренним зацеплением которого, когда конструкция зубчатого колеса окружает солнечное зубчатое колесо (22), расположено смежно ступице (4) крыльчатки (1) вентилятора на ее стороне. Техническим результатом изобретения является обеспечение изменения на противоположное направления лопастей крыльчатки вентилятора для обеспечения изменения одного положения направления потока на противоположное для более преимущественных условий работы, вследствие чего может быть достигнуто малое время изменения направления потока и уменьшается напряжение в компонентах поддерживающей передачу конструкции. 4 з.п. ф-лы, 4 ил.

Формула изобретения

1. Крыльчатка (1) вентилятора со ступицей (4), которая закреплена по центру относительно привода (8) и выполнена с возможностью соосного с ней вращения между упорами относительно ступицы, и с лопастями вентилятора, проходящими радиально от ступицы по ее окружности и закрепленными в ступице (4) с возможностью поворота в диапазоне, ограниченном упорами ступицы (4), относительно привода (8), при этом лопасти вентилятора выполнены с возможностью поворота относительно осей (5) лопастей для регулировки угла лопастей (2) вентилятора, отличающаяся тем, что предусмотрено совмещение поддержки вращения между пределами упоров ступицы (4) для привода (8), поддержки вращения между ступицей (4) и приводом (8) с неограниченным углом вращения, при этом неограниченное по вращению соединение привода образовано посредством планетарного привода (18), водило (19) планетарной передачи которого прикреплено к регулировочному кольцу (10) и эпициклическое зубчатое колесо (23) с внутренним зацеплением которого, когда конструкция зубчатого колеса окружает солнечное зубчатое колесо (22), расположено смежно ступице (4) крыльчатки (1) вентилятора на ее стороне.

2. Крыльчатка (1) вентилятора, в частности, по п. 1, отличающаяся тем, что крыльчатка (1) вентилятора оснащена центральной опорой в виде направляющего штифта (6), ступицей (4), при этом радиальные лопасти (2) вентилятора закреплены в ступице (4) с возможностью поворота относительно осей (5) лопастей для регулировки углов лопастей, и предоставлено регулировочное кольцо (10), которое является концентрическим относительно центральной оси поворота крыльчатки (1) вентилятора и соединено с лопастями (2) вентилятора посредством конструкции (12) зубчатого колеса и которое обеспечивает совмещение соединений (17) привода с крыльчаткой (1) вентилятора, при этом первое соединение привода ограничивает угол вращения крыльчатки (1) вентилятора относительно ступицы (4) посредством ограничивающих диапазон упоров и второе соединение привода образовано посредством неограниченного вращательного соединения в ограниченном упором диапазоне первого соединения привода.

3. Крыльчатка вентилятора по п. 1 или 2, отличающаяся тем, что первое ограниченное по углу вращательное соединение привода образовано посредством ограниченной упорами направляющей канавки (15) в регулировочном кольце (10) и упорного болта (16), прикрепленного к блоку (8) привода и проходящего в направляющую канавку (15).

4. Крыльчатка вентилятора по любому из предыдущих пунктов, отличающаяся тем, что лопасти (2) вентилятора находятся в зацеплении с регулировочным кольцом (10) посредством угловой зубчатой передачи с шестернями (13), предусмотренными на нижних концах лопастей (2) вентилятора и находящимися в зацеплении с зубчатым кольцом (14), предусмотренным на регулировочном кольце (10).

5. Крыльчатка вентилятора по любому из предыдущих пунктов, отличающаяся тем, что положения лопастей (2) вентилятора относительно привода (8) являются регулируемыми посредством устройства (27) управления и/или считывания, работающего в режиме управления и/или считывания.

Описание

[1]

Крыльчаткивентилятора с лопастями вентилятора, которые проходят радиально от ступицы крыльчатки вентилятора, известны из уровня техники. Их используют в основном для охлаждения и для очистки поверхностей теплообменника посредством генерирования потока воздуха по поверхностям теплообменника.

[2]

Существуют конфигурации, в которых поток воздуха может быть направлен в обратную сторону посредством вращения крыльчатки вентилятора в направлении, противоположном направлению вращения, а также конфигурации, в которых радиальные лопасти вентилятора закреплены с возможностью поворота в ступице крыльчатки вентилятора так, что радиальные лопасти вентилятора могут поворачиваться в положения, в которых они генерируют поток воздуха в противоположном направлении. Если обеспечено обратное движение потока воздуха посредством вращения крыльчатки вентилятора в направлении, противоположном направлению вращения, это может быть обеспечено посредством изменения на противоположное направления приведения в действие узла привода, например направления вращения приводного электродвигателя, или посредством расположения обеспечивающего обратный ход зубчатого привода между приводным двигателем и крыльчаткой вентилятора.

[3]

Кроме того, крыльчатка вентилятора с радиальными лопастями вентилятора, которые закреплены с возможностью поворота в ступице вентилятора, обеспечивает возможность регулирования размера и направления потока воздуха посредством изменения угла лопасти вентилятора так, что вне зависимости от изменения подводимой мощности и/или скорости соответствующего приводного двигателя напор и/или направление генерируемого потока воздуха можно регулировать вплоть до изменения на противоположное направления потока. Например, поток воздуха по поверхности теплообменника может быть изменен с обдувающего потока на всасывающий поток.

[4]

Однако эти возможности ограничены, в частности, в отношении крыльчаток вентилятора с радиальными лопастями вентилятора, которые закреплены с возможностью поворота в ступице крыльчатки вентилятора, тем, что возможность регулирования углов лопасти вентилятора для обеспечения противоположных направлений потока требует определенных расстояний между лопастями вентилятора для обеспечения беспрепятственного поворота лопастей вентилятора между их противоположными конечными положениями. Также следует учитывать, что регулирование лопастей вентилятора относительно осей лопастей вентилятора предусмотрено посредством узла привода в виде углового привода нижних штифтов лопастей вентилятора при помощи ведущих шестерен, которые находятся в зацеплении с зубчатым кольцом, которое, в зависимости от количества лопастей вентилятора, имеет соответственно большой диаметр.

[5]

Это приводит в результате к большому передаточному отношению между шестернями малого диаметра и зубчатым кольцом большого диаметра и, в результате, требует большой движущей силы для зубчатого кольца для регулирования углов лопасти вентилятора в течение коротких периодов, доступных для регулирования углов лопасти вентилятора.

[6]

В патентной заявке Германии DE 10 2018 106 454 A1 раскрыта конструкция крыльчатки вентилятора, которая может вращаться в противоположных направлениях, с соосной ступицей, которая выполнена с возможностью поворота относительно своего центрального привода и выполнена с возможностью регулирования между упорами в определенном диапазоне. По своей окружности ступица оснащена радиальными лопастями вентилятора, которые закреплены в ступице с возможностью поворота между упорами посредством зубчатой передачи для регулирования угловых положений лопастей вентилятора. Зубчатая передача содержит шестерни, которые установлены на лопастях вентилятора концентрически относительно осей поворота лопастей вентилятора и которые находятся в зацеплении с конструкцией ведущего зубчатого колеса, которая является концентрической относительно привода ступицы, вследствие чего образуется угловой привод. Однако это приводит в результате к большому передаточному отношению конструкции ведущего зубчатого колеса к соответствующим шестерням лопастей вентилятора, то есть передаче с высокой скоростью в ограниченном упорами диапазоне вращения конструкции ведущего зубчатого колеса относительно ступицы. Это приводит в результате к соответственно большим регулирующим и ускоряющим силам, в частности в переходной плоскости лопастей вентилятора, причем эта плоскость проходит перпендикулярно оси поворота крыльчатки вентилятора между противоположными направлениями потока воздуха.

[7]

Полученные в результате большие регулирующие и ускоряющие силы приводят к относительно высоким нагрузкам на компоненты, что требует высокопрочной конструкции, в частности для поддерживающих передачу элементов, для обеспечения того, чтобы время регулировки было настолько коротким, насколько это возможно, для переключения лопастей вентилятора между противоположными направлениями движения воздуха.

[8]

Целью настоящего изобретения является обеспечение изменения на противоположное направления лопастей крыльчатки вентилятора для обеспечения изменения одного положения направления потока на противоположное для более преимущественных условий работы, вследствие чего может быть достигнуто малое время изменения направления потока и уменьшается напряжение в компонентах поддерживающей передачу конструкции.

[9]

В соответствии с изобретением обеспечена неограниченная по углу возможность вращения между ступицей и приводом, совмещенная и, следовательно, параллельная ограниченной по углу возможности вращения ступицы относительно привода между вращательными упорами. Таким образом, могут быть реализованы вращательные движения привода и ступицы в противоположных направлениях с ограничивающими по углу упорами привода относительно ступицы и с неограниченной по углу постоянной угловой поддержкой ступицы относительно привода. Это достигается, в частности, посредством планетарного привода, обеспечивающего среднее передаточное отношение при соединении привода со ступицей, имеющей лопасти вентилятора, и с лопастями вентилятора, которые выполнены с возможностью поворота относительно осей лопастей вентилятора. При такой конструкции соответствующие элементы привода, используемые при соединении лопастей вентилятора и привода и привода и ступицы, могут быть сконструированы для изготовления с относительно низкими затратами.

[10]

В соответствии с изобретением в конкретном варианте осуществления целесообразно для приводимой в действие крыльчатки вентилятора с центральной опорой посредством центральной ступицы предоставить лопасти вентилятора, которые проходят радиально от ступицы и закреплены с возможностью поворота в ней, для регулировки угла лопастей вентилятора посредством регулировочного кольца, которое является концентрическим относительно центральной оси поворота крыльчатки вентилятора и проходит вдоль нижних концов лопастей вентилятора. Это регулировочное кольцо соединено с лопастями вентилятора посредством совмещенных приводных конструкций, причем первая предназначена для регулирования угловых положений лопастей вентилятора независимо от привода крыльчатки вентилятора в угловом диапазоне относительно ступицы, ограниченной упорами, и вторая предназначена для обеспечения неограниченного вращения в ограниченном упорами диапазоне регулировки конструкции привода вентилятора.

[11]

В связи с изобретением также целесообразно предоставить опору привода и соединение привода с неограниченным углом поворота, в частности в виде планетарного привода, встроенного в ступицу, и предоставить ступицу, в свою очередь, с отверстием центральной опоры для размещения опорного штифта для крыльчатки вентилятора. Такой опорный штифт проходит предпочтительно в виде осевого удлинения блока привода для приведения в действие крыльчатки вентилятора, таким образом создаются хорошие условия для опорного соединения блока привода и его соединения с крыльчаткой вентилятора.

[12]

Изобретение и его конкретные признаки будут описаны ниже более подробно со ссылкой на прилагаемые графические материалы.

[13]

Показаны:

[14]

на фиг. 1 – вид спереди крыльчатки вентилятора, которая закреплена по центру приводом и соединена с ним и которая содержит лопасти вентилятора, радиально проходящие от ступицы, в которой они закреплены с возможностью поворота относительно осей лопастей;

[15]

на фиг. 2 – вид в осевом разрезе крыльчатки вентилятора, взятый по линии A–A на фиг. 1;

[16]

на фиг. 3 – вид в разрезе, взятый по линии B–B на фиг. 2, показывающий область ступицы крыльчатки вентилятора; и

[17]

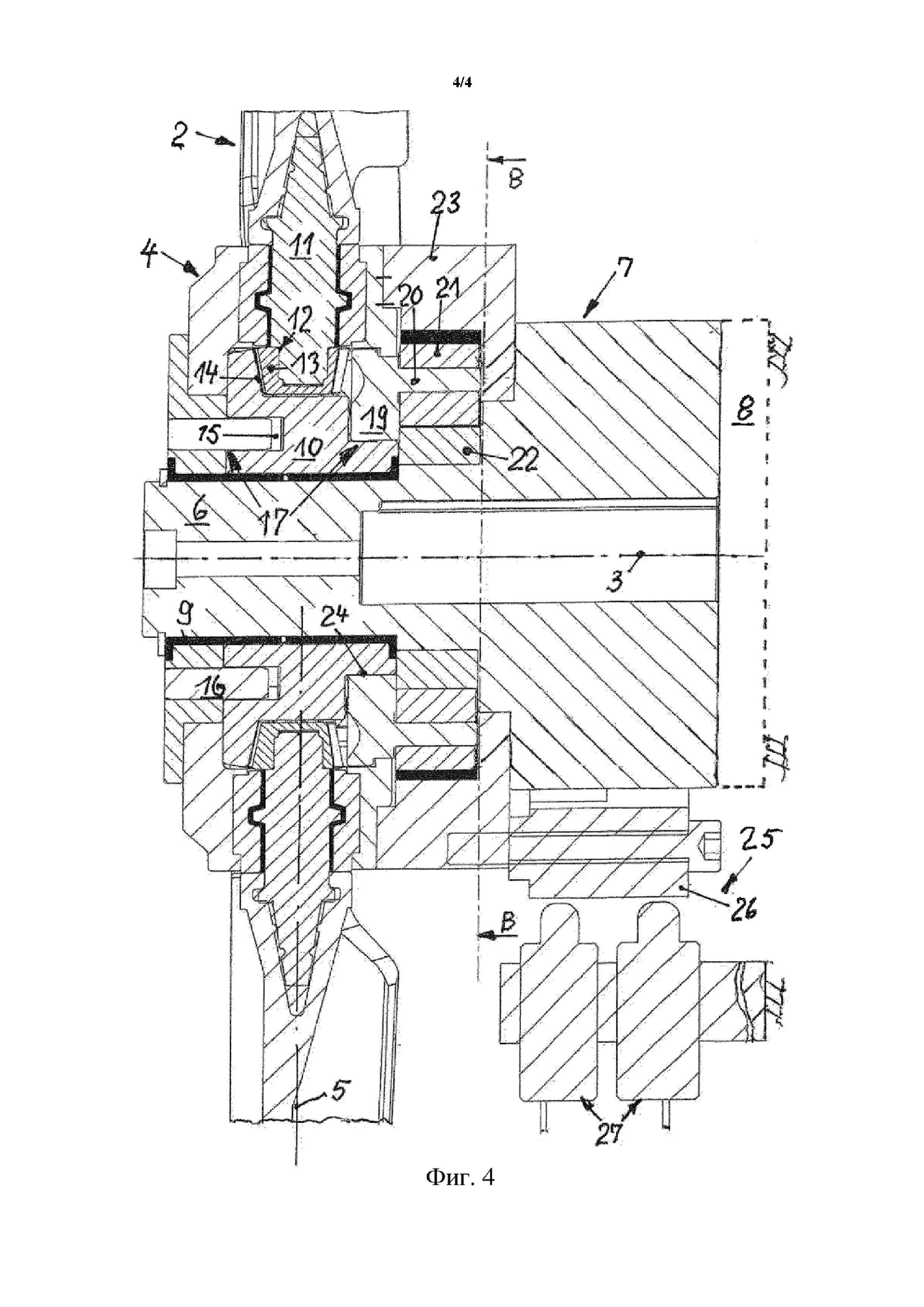
на фиг. 4 – увеличенный вид в разрезе, взятый по линии B–B, показывающий область ступицы с соединениями привода для приведения в действие ступицы и лопастей вентилятора, которые соответственно закреплены в ступице для регулировки углов лопастей вентилятора.

[18]

На графических материалах крыльчатка вентилятора обозначена номером 1. Она имеет радиальные лопасти 2 вентилятора, которые закреплены в центральной ступице 4, которая выполнена с возможностью поворота относительно оси 3 поворота крыльчатки 1 вентилятора. Крыльчатка 1 вентилятора закреплена с возможностью поворота посредством направляющего штифта 6 по центру относительно оси 3 поворота. Направляющий штифт 6 образует часть фланцевого соединения 7 крыльчатки 1 вентилятора с блоком 8 привода, в частности, блоком привода, таким как вал привода.

[19]

Как показано, в частности, на увеличенном представлении по фиг. 4, в ступице 4 размещено центральное регулировочное кольцо 10, которое закреплено с возможностью поворота на направляющем штифте 6 посредством кольца 9 подшипника и при помощи которого лопасти 2 вентилятора находятся в радиальном зацеплении на их нижних концах 11 посредством конструкции 12 для передачи, образованной на нижних концах 11 лопастей вентилятора при помощи конических шестерен 13, которые находятся в зацеплении с кольцеобразным зубчатым кольцом 14 на стороне регулировочного кольца 10. Это образует угловой привод, содержащий плоское зацепление зубчатых колес с шестернями.

[20]

Соединение привода крыльчатки 1 вентилятора, проходящее через ступицу 4 к блоку 8 привода, образовано с учетом вращения крыльчатки 1 вентилятора и углового положения закрепленных в ступице лопастей 2 вентилятора относительно осей 5 лопастей в отношении конкретного углового положения крыльчатки 1 вентилятора посредством двух приводных путей, которые работают совмещенно. Первый из этих приводных путей предусмотрен для вращательной работы крыльчатки 1 вентилятора, приводимой в действие блоком привода под заданным углом в пределах, установленных упорами, и второй совмещенный путь работает с учетом углового положения крыльчатки 1 вентилятора в пределах упора крыльчатки 1 вентилятора относительно блока 8 привода, который определяет относительное угловое положение лопасти 2 вентилятора относительно осей 5 лопастей вентилятора. Таким образом, угловое положение лопастей 2 вентилятора устанавливают посредством совмещения второго приводного пути с первым приводным путем.

[21]

Это достигается посредством конструкции, в которой угловое положение радиально внешних областей ступицы 4, в которых размещены нижние концы лопастей 2 вентилятора, ограничено относительно регулировочного кольца 10, то есть диапазон регулировки ограничен упорами так, что регулировочное кольцо 10 имеет кольцеобразные направляющие канавки 15, в которые для ограничения диапазона регулировки на длину направляющих канавок проходят упорные болты 16, которые имеют фиксированное местоположение.

[22]

Предусмотрен второй приводной путь 17, который работает параллельно первому приводному пути или отличается по типу от первого приводного пути и который в свободном рабочем диапазоне первого приводного пути обеспечивает поддержку вращения регулировочного кольца 10 относительно блока 8 привода. Эта поддержка вращения обеспечена в виде соединения привода, проходящего через диапазон регулировки регулировочного кольца 10 в блок 8 привода, с неограниченной подвижностью для регулировки. Водило 19 планетарной передачи, которое в соответствии с изобретением соединено для вращения с приводом, например посредством некруглой конструкции 24, такой как шестиугольный элемент, обеспечено штифтами 20 подшипников для закрепления планетарных зубчатых колес 21. Планетарные зубчатые колеса 21 находятся в зацеплении с солнечным зубчатым колесом 22, которое соединено с фланцевым соединением 7 и, следовательно, с блоком 8 привода для вращения с ним, опять же посредством некруглой конструкции. Эпициклическое зубчатое колесо 23 с внутренним зацеплением, которое проходит вокруг водила 19 планетарной передачи, закреплено на ступице 4 для вращения с ней. Таким образом, регулировочное кольцо 10 выполнено с возможностью поворота относительно блока 8 привода посредством планетарного привода 18 в пределах ограниченной упорами возможности вращения ступицы 4 относительно регулировочного кольца 10 для регулирования углов лопастей вентилятора. Посредством блокирования планетарного привода 18 положение поворота лопастей 2 вентилятора относительно осей 5 лопастей является фиксированным в соответствующей области диапазона перемещения регулировочного кольца 10. Фиксирование планетарного привода 18 облегчает в соответствии с изобретением также управление крыльчаткой вентилятора для обеспечения конкретного желаемого объема потока воздуха.

[23]

В связи с описанным выше иллюстративным вариантом осуществления изобретения в дополнение может быть целесообразно дополнительно предоставить устройство 25 управления, которое считывает положение поворота ступицы 4 крыльчатки 1 вентилятора для регулировки и возможно фиксации углового положения лопастей вентилятора. Это может быть обеспечено колесом, например ребристым колесом 26 или подобным, которое соединено со ступицей 4 для вращения с ней и при помощи которого соответствующее угловое положение лопастей 2 вентилятора может быть определено посредством оптического или механического устройства считывания, например посредством штыря, который прикреплен к блоку 8 привода и положение которого преобразуется в сигналы управления для объема потока воздуха.

[24]

Кроме того, такое устройство считывания может также быть использовано в качестве устройства активного управления, например в виде штыря управления, для регулирования крыльчатки вентилятора, чтобы обеспечить желаемый объем потока для крыльчатки вентилятора. С указанным устройством 27 считывания и/или управления в каждом случае можно назначить заданные значения, соответствующие требуемому объему потока воздуха, то есть лопасти крыльчатки вентилятора могут быть отрегулированы в соответствующие положения. Это может также быть использовано, при необходимости, для удаленного приведения в действие.

[25]

В целом, вследствие этого представлена крыльчатка вентилятора, которая обеспечивает посредством узла привода с регулировочным кольцом ступицы привода и соединением привода регулировочного кольца, а также лопастей вентилятора, которые закреплены в ступице с возможностью поворота относительно их осей лопастей, регулировку углов лопастей вентилятора посредством соединений привода которые, начиная с привода крыльчатки вентилятора, работают совмещенно в отношении регулировочного кольца. Для регулировки лопастей крыльчатки вентилятора крыльчатка вентилятора может быть оснащена устройством для управления положением поворота лопасти вентилятора и/или устройством для считывания положения поворота лопасти вентилятора, соединенным со ступицей для вращения с ней.

Как компенсировать расходы
на инновационную разработку
Похожие патенты