патент
№ RU 2782230
МПК F16L55/10

Приводная муфта аварийного разъединения (ПМАР)

Авторы:
Тер Маттиас (DE) Дикке-Кюниц Мартин (DE) Хопфензиц Кристиан (DE)
Все (5)
Номер заявки
2022119594
Дата подачи заявки
04.11.2020
Опубликовано
24.10.2022
Страна
RU
Как управлять
интеллектуальной собственностью
Реферат

[140]

Изобретение относится к устройству системы аварийного разъединения трубопровода для текучих сред. Устройство (10) аварийного разъединения имеет первый и второй подмодули (20, 30), зажимное устройство (40), которое в закрытом состоянии удерживает вместе два подмодуля (20, 30) и в открытом состоянии позволяет отделить подмодули (20, 30), а также исполнительное устройство (50). Шток (53) поршня гидропривода исполнительного устройства (50) выталкивается по меньшей мере частично из цилиндра (52), при этом шток (53) поршня соединен посредством редуктора (60) с зубчатой рейкой (61), которая проходит за плоскость сопряжения (SSE) между подмодулями (20, 30) до срабатывания гидравлического привода (51), и редуктор (60) преобразует толкающее движение (SB) поршневого штока (53) в тяговое движение (ZB) зубчатой рейки (61). Часть зубчатой рейки (61), взаимодействующая со вторым подмодулем (30), втягивается в направлении первого подмодуля (20) в результате выталкивания штока (53) поршня из цилиндра (52). 22 з.п. ф-лы, 14 ил.

Формула изобретения

1. Приводная муфта аварийного разъединения (10) для трубопровода для текучих сред (11)

с первым подмодулем (20), оснащенным регулируемым запорным клапаном (21), причем запорный клапан (21) первого подмодуля (20) в закрытом положении предотвращает поток текучей среды через первый подмодуль (20) и пропускает поток текучей среды через первый подмодуль (20) в открытом положении,

вторым подмодулем (30), оснащенным регулируемым запорным клапаном (31), причем запорный клапан (31) второго подмодуля (30) в закрытом положении предотвращает поток текучей среды через второй подмодуль (30) и пропускает поток текучей среды через второй подмодуль (30) в открытом положении,

зажимным устройством (40), которое в закрытом положении удерживает два подмодуля (20, 30) вместе, а в открытом положении обеспечивает возможность разделения подмодулей (20, 30), и

исполнительным устройством (50), расположенным на первом подмодуле (20) и имеющим гидравлический привод (51), который оснащен штоком поршня (53), линейно перемещаемым в цилиндре (52), и который после срабатывания перемещает шток поршня (53), тем самым сначала закрывая запорные клапаны (21, 31), а затем открывая зажимное устройство (40),

отличающаяся тем, что:

исполнительное устройство (50) сконструировано таким образом, что после срабатывания гидравлического привода (51) шток поршня (53) по крайней мере частично выталкивается из цилиндра (52),

шток поршня (53) сообщен через редуктор (60) с зубчатой рейкой (61), которая соединена с запорным клапаном (21) первого подмодуля (20) и запорным клапаном (31) второго подмодуля (30) до включения гидравлического привода (51) и простирается через плоскость сопряжения SSE между подмодулями (20, 30),

редуктор (60) преобразует толкающее движение (SB) штока поршня (53) в тяговое движение (ZB) зубчатой рейки (61), так что, выталкивая шток поршня (53) из цилиндра (52), участок зубчатой рейки (61), взаимодействующий со вторым подмодулем (30), вытягивается по направлению к первому подмодулю (20), и

передаточное число редуктора (60) и длина зубчатой рейки (61) подобраны друг к другу таким образом, что при выталкивании штока поршня (53) из цилиндра (52) участок зубчатой рейки (61), взаимодействующий со вторым подмодулем (30) до открытия зажимного устройства (40), полностью отделяется от второго подмодуля (30) и полностью проходит плоскость сопряжения (SSE).

2. Приводная муфта аварийного разъединения (10) по п.1, отличающаяся тем, что зубчатая рейка (61) и шток поршня (53) расположены под углом друг к другу и имеют угол (β) между собой от 70 до 110 градусов.

3. Приводная муфта аварийного разъединения (10) по любому из предыдущих пунктов, отличающаяся тем, что зубчатая рейка (61) расположена под углом к плоскости сопряжения (SSE), причем угол между зубчатой рейкой (61) и нормалью к поверхности (N) плоскости сопряжения (SSE) составляет от 0,5 до 5 градусов.

4. Приводная муфта аварийного разъединения (10) по любому из предыдущих пунктов, отличающаяся тем, что

редуктор (60) включает в себя поворотный рычаг (62), вращающееся промежуточное колесо (63) и первое запорное колесо (64), сообщающееся с запорным клапаном (21) первого подмодуля (20),

рычаг (62) соединен со штоком поршня (53) посредством первого конца рычага (62a) и поворачивается при перемещении штока поршня (53),

второй конец (62b) рычага (62) снабжен зубчатым зацеплением (62c),

зубчатое зацепление (62c) второго конца рычага (62b) входит в зацепление с промежуточным колесом (63) и вращает промежуточное колесо (63), когда рычаг (62) поворачивается,

промежуточное колесо (63) входит в зацепление с запорным колесом (64) и в случае вращения запорное колесо (64) вращается вместе с промежуточным колесом (63), тем самым регулируя запорный клапан (21) первого подмодуля (20),

запорное колесо (64) также входит в зацепление с зубчатой рейкой (61) и смещает ее в случае вращения.

5. Приводная муфта аварийного разъединения (10) по п.4, отличающаяся тем, что

редуктор (60) имеет еще одно промежуточное колесо (63a) в дополнение к упомянутому промежуточному колесу (63),

оси вращения обоих промежуточных колес (63, 63a) расположены параллельно,

зубчатое зацепление (62c) второго конца рычага (62b) также входит в зацепление с другим промежуточным колесом (63a), и когда рычаг (62) поворачивается, другое промежуточное колесо (63a) также вращается, и

два промежуточных колеса (63, 63a) находятся в зацеплении с запорным колесом (64) и в случае их вращения совместно вращают запорное колесо (64), тем самым совместно регулируя запорный клапан (21) первого подмодуля (20).

6. Приводная муфта аварийного разъединения (10) по любому из предыдущих пунктов, отличающаяся тем, что зубчатая рейка (61) входит в зацепление со вторым запорным колесом (65), сообщающимся с запорным клапаном (31) второго подмодуля (30), и зубчатая рейка (61) при движении вращает второе запорное колесо (65) и регулирует запорный клапан (31) второго подмодуля (30).

7. Приводная муфта аварийного разъединения (10) по любому из предыдущих пунктов, отличающаяся тем, что

первое запорное колесо (64) и запорный клапан (21) первого подмодуля (20) соединены с помощью первого срезного штифта (66) без возможности вращения и первый срезной штифт (66) срезается, как только при закрытии запорного клапана (21) последний достигает своего закрытого положения, и

второе запорное колесо (65) и запорный клапан (31) второго подмодуля (30) соединены посредством второго срезного штифта (67) без возможности вращения; второй срезной штифт (67) срезается, как только при закрытии запорного клапана (31) последний достигает своего закрытого положения.

8. Приводная муфта аварийного разъединения (10) по любому из предыдущих пунктов, отличающаяся тем, что зубчатая рейка (61) имеет такие размеры, что при выталкивании штока поршня (53) из цилиндра (52) первый и второй срезные штифты (66, 67) срезаются еще до открытия зажимного устройства (40).

9. Приводная муфта аварийного разъединения (10) по любому из предыдущих пунктов, отличающаяся тем, что

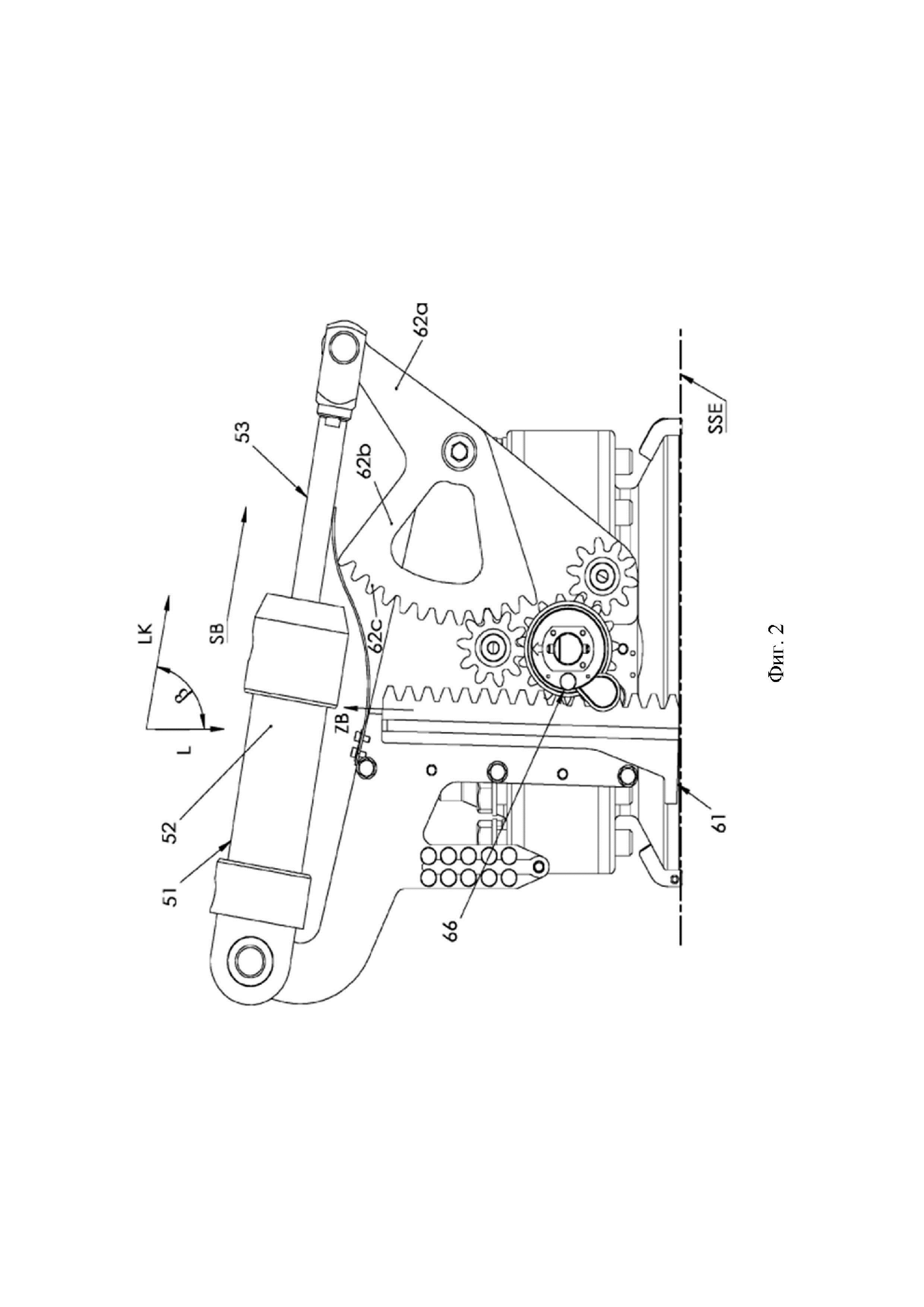
клапанный элемент (22) запорного клапана (21) первого подмодуля (20) поворачивается вокруг первой поворотной оси (SA1), и

клапанный элемент (32) запорного клапана (31) второго подмодуля (30) поворачивается вокруг второй поворотной оси (SA2), расположенной параллельно первой поворотной оси (SA1).

10. Приводная муфта аварийного разъединения (10) по любому из предыдущих пунктов, отличающаяся тем, что две поворотные оси (SA1, SA2) - если смотреть вдоль нормали к поверхности (N) плоскости сопряжения (SSE) - расположены не одна над другой, а смещены относительно друг друга.

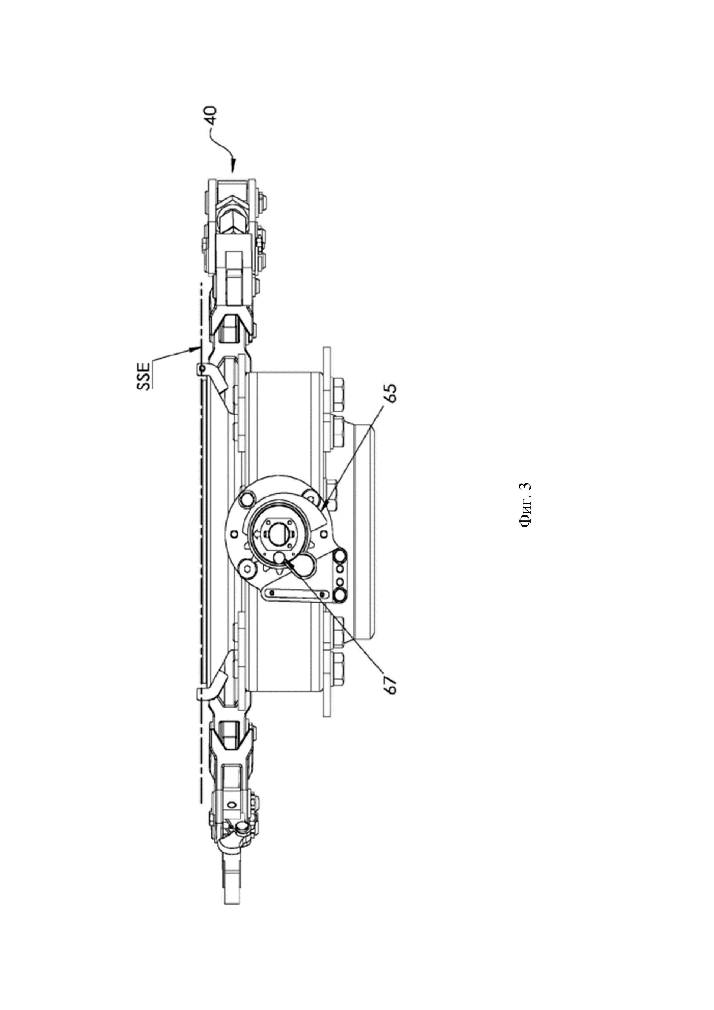
11. Приводная муфта аварийного разъединения (10) по любому из предыдущих пунктов, отличающаяся тем, что две поворотные оси (SA1, SA2) - если смотреть вдоль нормали к поверхности (N) плоскости сопряжения (SSE) - разделены нормалью к поверхности (N), проходящей через центр тяжести поверхности (FSP) площади поперечного сечения потока (A).

12. Приводная муфта аварийного разъединения (10) по любому из предыдущих пунктов, отличающаяся тем, что обе поворотные оси (SA1, SA2), проецируемые вдоль нормали к поверхности (N) плоскости сопряжения (SSE) на плоскость сопряжения (SSE), проходят через центр тяжести поверхности (FSP) площади поперечного сечения потока (A) с одинаковой дистанцией, при этом центр тяжести поверхности (FSP) лежит между двумя поворотными осями (SA1, SA2).

13. Приводная муфта аварийного разъединения (10) по любому из предыдущих пунктов, отличающаяся тем, что противоположное смещение между поворотными осями (SA1, SA2) адаптировано к угловому расположению зубчатой рейки (61), а именно таким образом, что:

2V/Z=tan α,

где α обозначает угол между продольной осью (L) зубчатой рейки (61) и нормалью к поверхности (N) плоскости сопряжения (SSE), V - расстояние между поворотными осями (SA1, SA2), проецируемыми вдоль нормали к поверхности (N) плоскости сопряжения (SSE) на плоскость сопряжения (SSE), а Z - расстояние между поворотными осями (SA1, SA2) - если смотреть вдоль нормали к поверхности (N) плоскости сопряжения (SSE).

14. Приводная муфта аварийного разъединения (10) по любому из предыдущих пунктов, отличающаяся тем, что

зажимное устройство (40) имеет рычаг (42), вилкообразную головку (43), которая удерживает рычаг (42) во вращательном состоянии, и запорную пластину (44) с углублением (45),

причем в закрытом состоянии зажимного устройства (40) кулачок (42a) рычага (42) имеет опору в углублении (45) запорной пластины (44) и при наличии поворотной силы, которая выталкивает вилкообразную головку (43) из запорной пластины (44), рычаг (42) поворачивается и кулачок (42a) поворачивается за свою мертвую точку (TP), в результате чего зажимное устройство (40) сжимается в мертвой точке (TP) кулачка (42a), накапливая механическую энергию, и резко открывается за счет механической энергии, как только кулачок (42a) проходит мертвую точку (TP).

15. Приводная муфта (10) аварийного разъединения по любому из предыдущих пунктов, отличающаяся тем, что рычаг (42) имеет форму, совместимую со стандартным гаечным ключом.

16. Приводная муфта (10) аварийного разъединения по любому из предыдущих пунктов, отличающаяся тем, что рычаг (42) имеет две параллельные поверхности, которые позволяют применять стандартный гаечный ключ или динамометрический ключ для поворота рычага (42).

17. Приводная муфта (10) аварийного разъединения по любому из предыдущих пунктов, отличающаяся тем, что имеется коленчатый шарнир (46), который активируется упором зубчатой рейки (61) при движении участка зубчатой рейки (61), взаимодействующего со вторым подмодулем (30), тем самым создавая механическое поворотное усилие, с помощью которого открывается зажимное устройство (40).

18. Приводная муфта (10) аварийного разъединения по любому из предыдущих пунктов, отличающаяся тем, что имеется коленчатый шарнир (46), который активируется упором зубчатой рейки (61) при движении участка зубчатой рейки (61), взаимодействующего со вторым подмодулем (30), тем самым создавая механическое поворотное усилие, которое выталкивает вилкообразную головку (43) зажимного устройства (40), тем самым поворачивая кулачок (42a) за мертвую точку (TP) и вызывая открытие зажимного устройства (40).

19. Приводная муфта аварийного разъединения (10) по любому из предыдущих пунктов, отличающаяся тем, что

зубчатое зацепление (62c) поворотного рычага (62) изготовлено из первого материала,

промежуточное колесо (63) - из второго материала, отличающегося от материала зубьев (62c),

запорное колесо (64), которое сообщается с запорным клапаном (21) первого подмодуля (20), - из материала, отличного от материала промежуточного колеса (63), и

зубчатая рейка (61) - из другого материала, нежели каждое из двух запорных колес.

20. Приводная муфта (10) аварийного разъединения по любому из предыдущих пунктов, отличающаяся тем, что зубчатое зацепление (62c) поворотного рычага (62) изготовлено из первого материала, промежуточное колесо (63) - из второго материала, запорные колеса - из первого материала, а зубчатая рейка (61) - из второго материала.

21. Приводная муфта (10) аварийного разъединения по любому из предыдущих пунктов, отличающаяся тем, что первый материал - нержавеющая сталь, а второй материал - алюминиевая бронза или наоборот первый материал - алюминиевая бронза, а второй материал - нержавеющая сталь.

22. Приводная муфта аварийного разъединения (10) по любому из предыдущих пунктов, отличающаяся тем, что регулировочные средства (80), предназначенные для регулировки обоих подмодулей (20, 30) относительно друг друга при соединении подмодулей (20, 30), съемно прикреплены как минимум к одному из подмодулей (20, 30).

23. Приводная муфта аварийного разъединения (10) по любому из предыдущих пунктов, отличающаяся тем, что ось поворотного рычага (62) редуктора (60) механически поддерживается двумя внешними опорными пластинами (70), заключающими рычаг (62) между собой.

Описание

[1]

Изобретение относится к устройству системы аварийного разъединения трубопровода для текучих сред.

[2]

Приводная муфта аварийного разъединения (ПМАР) с признаками в соответствии с ограничительной частью пункта 1 формулы изобретения известна из международной патентной заявки WO 2020/056351 A1. В патентной заявке описана приводная муфта аварийного разъединения (ПМАР) с двумя подмодулями, зажимным устройством, которое в закрытом состоянии удерживает два подмодуля вместе, а в открытом состоянии позволяет разъединить подмодули, и исполнительным устройством, расположенным на одном из подмодулей, с гидравлическим приводом, который имеет шток поршня, линейно перемещающийся в цилиндре, и после срабатывания перемещает шток поршня, тем самым сначала закрывая запорные клапаны, а затем открывая зажимное устройство.

[3]

В основе изобретения лежит задача создания системы аварийного разъединения с приводной муфтой аварийного разъединения, которая имеет компактную конструкцию и отличается особой функциональной надежностью.

[4]

Согласно изобретению, эта задача решается посредством приводной муфты аварийного разъединения, имеющей признаки согласно пункту 1 формулы изобретения. Варианты исполнения приводной муфты аварийного разъединения (ПМАР), согласно изобретению, указаны в пунктах формулы изобретения.

[5]

В соответствии с этим согласно изобретению предусмотрено, что исполнительное устройство сконструировано таким образом, что после срабатывания гидравлического привода шток поршня выталкивается из цилиндра, поршневой шток соединен через редуктор с зубчатой рейкой, которая перед срабатыванием гидравлического привода сцеплена с запорным клапаном первого подмодуля и запорным клапаном второго подмодуля и простирается через интерфейсную плату между подмодулями, редуктор преобразует толкающее движение штока поршня в тяговое движение зубчатой рейки, в результате выталкивания штока поршня из цилиндра участок зубчатой рейки, взаимодействующий со вторым подмодулем, вытягивается в направлении первого подмодуля.

[6]

Существенное преимущество приводной муфты аварийного разъединения (ПМАР) согласно изобретению заключается в преобразовании толкающего движения штока поршня в тяговое движение зубчатой рейки, как предусмотрено в изобретении: срабатывание приводной муфты аварийного разъединения при толкающем движении штока поршня обеспечивает оптимальную защиту штока поршня от внешних воздействий, таких как загрязнение или обледенение, до срабатывания в цилиндре гидравлического привода, так что отказ привода крайне маловероятен; последующее преобразование толкающего движения в тяговое позволяет зубчатой рейке после срабатывания гидравлического привода полностью или по крайней мере в значительной степени пространственно отделиться от второго подмодуля, благодаря чему после отделения предотвращается столкновение зубчатой рейки и второго подмодуля, например, в результате раскачивания подмодулей относительно друг друга, или по крайней мере снижается риск повреждения деталей.

[7]

Предпочтительным является вариант, когда передаточное число редуктора и длина зубчатой рейки подобраны друг к другу таким образом, что при выталкивании штока поршня из цилиндра участок рейки, взаимодействующий со вторым подмодулем до открытия зажимного устройства, полностью отделяется от второго подмодуля и полностью проходит плоскость сопряжения.

[8]

При таком варианте исполнения можно добиться того, что зубчатая рейка остается полностью отделенной от второго подмодуля после срабатывания гидравлического привода, что позволяет надежно избежать столкновения зубчатой рейки и второго подмодуля, например, из-за раскачивания подмодулей относительно друг друга.

[9]

Зубчатая рейка и шток поршня расположены под углом друг к другу с целью создания компактной конструкции. Они расположены относительно друг друга под углом в диапазоне от 70 до 110 градусов.

[10]

Также преимуществом является расположение зубчатой рейки под углом к плоскости сопряжения, причем угол между зубчатой рейкой и нормалью к поверхности плоскости сопряжения составляет от 0,5 до 5 градусов.

[11]

Редуктор включает в себя поворотный рычаг, вращающееся промежуточное колесо и первое запорное колесо, сообщающееся с запорным клапаном первого подмодуля.

[12]

Рычаг сцеплен со штоком поршня посредством первого конца рычага и поворачивается при движении штока поршня. Второй конец рычага снабжен зубьями.

[13]

Преимуществом является то, что зубья второго конца рычага входят в зацепление с промежуточным колесом и вращают последнее при повороте рычага.

[14]

Промежуточное колесо находится в зацеплении с запорным колесом и при вращении вращает последнее, тем самым регулируя запорный клапан первого подмодуля.

[15]

Запорное колесо также входит в зацепление с зубчатой рейкой и смещает ее в случае вращения.

[16]

Ввиду больших усилий, необходимых для открытия механизма разъединения приводной муфты аварийного разъединения, преимуществом является, если в редукторе помимо упомянутого промежуточного колеса имеется еще одно промежуточное колесо, оси вращения обоих промежуточных колес расположены параллельно, зубья второго конца рычага также находятся в зацеплении с другим промежуточным колесом и при повороте рычага другое промежуточное колесо также вращается, а оба промежуточных колеса находятся в зацеплении с запорным колесом и совместно вращают последнее в случае их вращения, тем самым совместно регулируя запорный клапан первого подмодуля.

[17]

Зубчатая рейка также находится в зацеплении со вторым запорным колесом, которое сообщено с запорным клапаном второго подмодуля и при перемещении вращает второе запорное колесо, тем самым регулируя запорный клапан второго подмодуля.

[18]

Первое запорное колесо и запорный клапан первого подмодуля соединены без возможности вращения посредством первого срезного штифта; первый срезной штифт срезается, как только запорный клапан при закрытии достигает своего закрытого положения.

[19]

Второе запорное колесо и запорный клапан второго подмодуля соединены без возможности вращения с помощью второго срезного штифта; второй срезной штифт срезается, как только запорный клапан при закрытии достигает своего закрытого положения.

[20]

Зубчатая рейка имеет такие размеры, что при выталкивании штока поршня из цилиндра первый и второй срезные штифты срезаются еще до открытия зажимного устройства. Такая конструкция обеспечивает закрытие запорных клапанов при отсоединении зажимного устройства.

[21]

Клапанный элемент запорного клапана первого подмодуля поворачивается вокруг первой поворотной оси, а клапанный элемент запорного клапана второго подмодуля поворачивается вокруг второй поворотной оси, расположенной параллельно первой поворотной оси.

[22]

Две поворотные оси - если смотреть вдоль нормали к поверхности плоскости сопряжения - расположены не друг над другом, а смещены относительно друг друга.

[23]

Также преимуществом является то, что две поворотные оси - если смотреть вдоль нормали к поверхности плоскости сопряжения - разделены нормалью к поверхности, проходящей через центр тяжести поверхности поперечного сечения потока.

[24]

Обе поворотные оси, проецируемые вдоль нормали к поверхности плоскости сопряжения на плоскости сопряжения, проходят через центр тяжести поверхности поперечного сечения потока на одинаковом расстоянии, причем центр тяжести поверхности лежит между двумя поворотными осями.

[25]

Противоположное смещение между поворотными осями адаптировано к угловому расположению зубчатой рейки, а именно таким образом, что:

[26]

2V/Z=tan α

[27]

где α обозначает угол между продольной осью зубчатой рейки и нормалью к поверхности плоскости сопряжения, V - расстояние между поворотными осями, проецируемыми вдоль нормали к поверхности плоскости сопряжения на плоскости сопряжения, а Z - расстояние между поворотными осями, если смотреть вдоль нормали к поверхности плоскости сопряжения.

[28]

Что касается зажимного устройства, то оно включает в себя удерживающий рычаг, вилкообразную головку, обеспечивающую возможность вращения рычага, и запорную пластину с углублением.

[29]

В последнем упомянутом варианте исполнения преимуществом является то, что в закрытом состоянии зажимного устройства кулачок рычага имеет опору в углублении запорной пластины и при наличии поворотной силы, которая выталкивает вилкообразную головку из запорной пластины, рычаг выталкивателя поворачивается и кулачок поворачивается за свою мертвую точку, в результате чего рычаг зажимного устройства сжимается, накапливая механическую энергию, и резко открывается за счет механической энергии, как только кулачок выталкивателя проходит мертвую точку.

[30]

Зажимной рычаг имеет форму, совместимую со стандартным гаечным ключом.

[31]

Особое преимущество заключается в том, что рычаг имеет две параллельные поверхности, которые позволяют использовать стандартный гаечный ключ или динамометрический ключ для поворота рычага.

[32]

Что касается открытия зажимного устройства, то преимуществом в данном случае является наличие коленчатого шарнира, который активируется упором зубчатой рейки при движении участка зубчатой рейки, взаимодействующего со вторым подмодулем, тем самым создавая механическое поворотное усилие, с помощью которого открывается зажимное устройство.

[33]

Особенно предпочтительно, чтобы коленчатый шарнир активировался упором зубчатой рейки при движении участка зубчатой рейки, взаимодействующего со вторым подмодулем, тем самым создавая механическое поворотное усилие, с помощью которого выталкивается наружу в радиальном направлении вилкообразная головка зажимного устройства, тем самым поворачивая кулачок за мертвую точку и вызывая открытие зажимного устройства.

[34]

Что касается материалов, то предпочтительно, чтобы зубья поворотного рычага были изготовлены из первого материала, промежуточное колесо - из второго материала, отличного от материала зубьев, запорное колесо, соединяющееся с запорным клапаном первого подмодуля - из другого материала, нежели промежуточное колесо, а зубчатая рейка - из другого материала, нежели любое из обоих запорных колес.

[35]

Зубья поворотного рычага предпочтительно изготовлены из первого материала, промежуточное колесо - из второго материала, запорные колеса - из первого материала, а зубчатая рейка - из второго материала.

[36]

Первым материалом предпочтительно является нержавеющая сталь, а вторым материалом - алюминиевая бронза, или, наоборот, первый материал - алюминиевая бронза, а второй материал - нержавеющая сталь.

[37]

Что касается последующего соединения подмодулей после предыдущего срабатывания приводной муфты аварийного разъединения (ПМАР), то предпочтительно, если регулировочные средства для регулировки двух подмодулей относительно друг друга при соединении подмодулей, закреплены по меньшей мере на одном из подмодулей с возможностью отсоединения. Такая конструкция обеспечивает легкий доступ к регулировочным средствам, при последующей повторной сборке приводной муфты аварийного разъединения (ПМАР), например, в порту или в другом месте эксплуатации.

[38]

Ось поворотного рычага редуктора - с учетом возникающих усилий механически поддерживается двумя внешними опорными пластинами, которые заключают рычаг между собой.

[39]

Приводная муфта аварийного разъединения (ПМАР) может использоваться для любых трубопроводов для текучих сред, т.е. жидкостей или газов, в частности нефтехимических веществ, таких как нефть. Основное использование - автоматизированные системы налива в суда-танкеры, автоматизированные стендеры, стендеры для нефти, нефтепродуктов, продуктов нефтехимии, сжиженных углеводородных газов и сжиженного природного газа.

[40]

Ниже изобретение поясняется более подробно на основании вариантов исполнения; при этом в качестве примера приводятся следующие изображения:

[41]

Рис. 1-12 первый вариант исполнения приводной муфты аварийного разъединения (ПМАР) согласно изобретению,

[42]

Рис. 13 вариант исполнения приводной муфты аварийного разъединения (ПМАР) в соответствии с рисунками 1-12, и

[43]

Рис. 14 расположение поворотных осей при запорных клапанах приводной муфты аварийного разъединения (ПМАР) согласно рис. 1-12 и 13.

[44]

Для большей наглядности на рисунках всегда используются одинаковые ссылочные обозначения для идентичных или сопоставимых компонентов.

[45]

На рис. 1 показан вариант исполнения приводной муфты аварийного разъединения (ПМАР) 10 для трубопровода для текучих сред 11 согласно изобретению. Трубопровод для текучих сред 11 может использоваться для транспортировки любых текучих сред, т.е. жидкостей или газов, в частности, для транспортировки нефтехимических веществ, таких как сырая нефть. Основное использование - автоматизированные системы налива в суда-танкеры, автоматизированные стендеры, стендеры для нефти, нефтепродуктов, продуктов нефтехимии, сжиженных углеводородных газов и сжиженного природного газа.

[46]

Приводная муфта аварийного разъединения (ПМАР) 10 включает в себя первый подмодуль 20, верхний на рис. 1, который оснащен регулируемым запорным клапаном 21 (см. рис. 5). Запорный клапан 21 может включать в себя в качестве клапанного элемента 22 поворотную клапанную заслонку, как показано в качестве примера на рис. 5 и 12. Запорный клапан 21 первого подмодуля 20 в своем закрытом положении предотвращает поток текучей среды через первый подмодуль 20 и пропускает поток текучей среды в открытом положении.

[47]

Приводная муфта аварийного разъединения (ПМАР) 10 дополнительно включает в себя второй подмодуль 30, нижний на рис. 1, который, как и первый подмодуль 20, оснащен регулируемым запорным клапаном 31.

[48]

Запорный клапан 31 второго подмодуля 30 также может в качестве клапанного элемента 32 включать в себя поворотную клапанную заслонку, как показано в качестве примера на рис. 5 и 12. Запорный клапан 31 второго подмодуля 30 в своем закрытом положении предотвращает поток текучей среды через второй подмодуль 30 и пропускает поток текучей среды в открытом положении.

[49]

Как показано на рисунке, запорные клапаны 21 и 31 в качестве клапанных элементов могут иметь поворотные заслонки; альтернативно запорные клапаны также могут иметь исполнение в виде запорных элементов, таких как шаровые краны или шаровые клапаны.

[50]

Приводная муфта аварийного разъединения (ПМАР) 10 дополнительно включает в себя зажимное устройство 40, которое в закрытом состоянии удерживает два подмодуля 20 и 30 вместе и в открытом состоянии позволяет разделить подмодули 20 и 30.

[51]

Для приведения в действие приводной муфты аварийного разъединения (ПМАР) 10 на первом подмодуле 20 расположено исполнительное устройство 50 с гидравлическим приводом 51, который имеет шток поршня 53, линейно перемещаемый в цилиндре 52. В исходном состоянии до срабатывания приводной муфты аварийного разъединения (ПМАР) 10 - как показано на рис. 1 - шток поршня 53 находится в цилиндре 52 и таким образом защищен от воздействия окружающей среды, например, грязи или обледенения. После срабатывания гидравлического привода 51 шток поршня 53 выдвигается из цилиндра 52, при этом сначала закрываются запорные клапаны 21 и 31 и только потом открывается зажимное устройство 40.

[52]

Для этого шток поршня 53 сообщен через редуктор 60 с зубчатой рейкой 61, которая до включения гидравлического привода 51 соединена с запорным клапаном 21 первого подмодуля 20 и запорным клапаном 31 второго подмодуля 30 и простирается через плоскость сопряжения SSE между подмодулями 20 и 30. Редуктор 60 преобразует толкающее движение SB штока поршня 53 в тяговое движение ZB зубчатой рейки 61, так что, выталкивая шток поршня 53 из цилиндра 52, участок зубчатой рейки 61, взаимодействующий со вторым подмодулем 30, вытягивается по направлению к первому подмодулю 20.

[53]

Передаточное число редуктора 60 и длина зубчатой рейки 61 предпочтительно подобраны друг к другу таким образом, что при выталкивании штока поршня 53 из цилиндра 52 участок зубчатой рейки 61, взаимодействующий со вторым подмодулем 30 до открытия зажимного устройства 40, полностью отделяется от второго подмодуля 30 и полностью проходит плоскость сопряжения SSE.

[54]

На рисунке 2 показан первый подмодуль 20 после того, как зубчатая рейка 61 полностью прошла плоскость сопряжения SSE и, таким образом, больше не может столкнуться со вторым подмодулем 30 (см. рис. 3).

[55]

Клапанные элементы 22 и 32 (см. рис. 5, 12 и 14) обоих подмодулей 20 и 30 могут поворачиваться каждый вокруг своей поворотной оси SA1 и SA2. Поворотные оси SA1 и SA2 расположены параллельно друг другу, но - если смотреть вдоль нормали к поверхности N плоскости сопряжения SSE - они расположены не одна над другой, а смещены относительно друг друга, будучи разделены нормалью к поверхности N, проходящей через центр тяжести поверхности FSP поперечного сечения потока A.

[56]

Такое расположение поворотных осей SA1 и SA2 обеспечивает самостоятельное закрытие клапанных элементов 22 и 32 при потоке текучей среды, если их намеренно не удерживать открытыми.

[57]

Преимуществом является то, что две поворотные оси SA1' и SA2', проецируемые вдоль нормали к поверхности N плоскости сопряжения SSE на плоскость сопряжения SSE, проходят через центр тяжести поверхности FSP поперечного сечения потока A с одинаковой дистанцией или смещением V, при этом центр тяжести поверхности FSP лежит между двумя поворотными осями SA1 и SA2.

[58]

Что касается смещения V поворотных осей SA1 и SA2, предусмотрено, что зубчатая рейка 61 или ее продольная ось L расположена не перпендикулярно плоскости сопряжения SSE (см. рис. 4), а под углом, причем угол α между зубчатой рейкой 61 и нормалью к поверхности N плоскости сопряжения SSE предпочтительно составляет от 0,5 до 5 градусов.

[59]

Противоположное смещение V между поворотными осями SA1 и SA2 - как показано в качестве примера на рис. 4 и 14 - адаптировано к угловому расположению зубчатой рейки 61, а именно таким образом, что:

[60]

2V/Z=tan α

[61]

где α обозначает угол между продольной осью L зубчатой рейки 61 и нормалью к поверхности N плоскости сопряжения SSE, V - смещение между поворотными осями SA1' и SA2', проецируемыми вдоль нормали к поверхности N плоскости сопряжения SSE на плоскость сопряжения SSE, а Z - дистанцию между поворотными осями - если смотреть вдоль нормали к поверхности плоскости сопряжения SSE.

[62]

Продольная ось L зубчатой рейки 61 и продольная ось LK штока поршня 53 - с учетом компактной конструкции - также расположены под углом друг к другу. Угол β (см. рис. 2) между ними составляет от 70 до 110 градусов.

[63]

Что касается формы исполнения редуктора 60, то в варианте исполнения согласно рисункам с 1 по 12 предусмотрено, что редуктор 60 включает в себя поворотный рычаг 62, вращающееся промежуточное колесо 63 и первое запорное колесо 64, сообщенное с запорным клапаном 21 первого подмодуля 20. Первый конец 62а подъемного рычага 62 шарнирно соединен со штоком поршня 53 и поворачивается при его движении.

[64]

Второй конец 62b рычага 62 снабжен зубьями 62c, которые входят в зацепление с промежуточным колесом 63 и вращают его при повороте рычага 62. Промежуточное колесо 63, в свою очередь, входит в зацепление с запорным колесом 64 и вращает последнее при повороте, тем самым поворачивая клапанный элемент 22 запорного клапана 21 первого подмодуля 20.

[65]

Запорное колесо 64, кроме того, также входит в зацепление с зубчатой рейкой 61 и смещает ее в случае вращения.

[66]

Зубчатая рейка 61 также - до срабатывания гидравлического привода 51 - входит в зацепление со вторым запорным колесом 65, сообщающимся с запорным клапаном 31 второго подмодуля 30. Зубчатая рейка 61 при движении вращает второе запорное колесо 65, тем самым поворачивая клапанный элемент 32 запорного клапана 31 второго подмодуля 30.

[67]

На рис. 1-3 также показано, что первое запорное колесо 64 и запорный клапан 21 первого подмодуля 20 соединены посредством первого срезного штифта 66 без возможности вращения. Первый срезной штифт 66 срезается, как только клапанный элемент 22 при закрытии запорного клапана 21 достигает своего закрытого конечного положения.

[68]

Второе запорное колесо 65 и запорный клапан 31 второго подмодуля 30 соединены посредством второго срезного штифта 67 без возможности вращения; второй срезной штифт 67 срезается, как только клапанный элемент 32 при закрытии запорного клапана 31 достигает своего закрытого конечного положения. Срезные штифты 66 и 67 обеспечивают дальнейшее вращение запорных колес 64 и 65, когда запорные клапаны 21 и 31 закрыты и занимают свое конечное положение, и дальнейшее движение зубчатой рейки 61 в направлении первого подмодуля 20 остается возможным или не блокируется запорными клапанами 21 и 31.

[69]

Зубчатая рейка 61 имеет такие размеры, что когда шток поршня 53 выталкивается из цилиндра 52, первый и второй срезные штифты 66 и 67 срезаются еще до открытия зажимного устройства 40, т.е. оба запорных клапана 21 и 31 надежно закрыты до того, как подмодули 20 и 30 будут отделены друг от друга.

[70]

На рис. 5 более подробно показана конструкция зажимного устройства 40. Зажимное устройство 40 включает в себя зажимные губки 41, которые прижимаются к подмодулям 20 и 30 посредством рычага 42, вилкообразной головки, удерживающей рычаг 42 во вращательном положении, и запорной пластины 44, которая имеет углубление 45.

[71]

В закрытом состоянии зажимного устройства 40, как показано на рис. 5 и 6, кулачок 42а рычага 42 упирается в углубление 45 запорной пластины 44. При наличии поворотной силы, обозначенной на рис. 5 и 6 стрелкой с ссылочным знаком P1, и которая выталкивает вилкообразную головку 43 из запорной пластины 44, рычаг 42 поворачивается против часовой стрелки, т.е. на рисунке 6 по направлению стрелки P2, в результате чего кулачок 42a поворачивается за пределы своей мертвой точки TP. В мертвой точке TP кулачка 42a зажимное устройство 40 сжимается еще больше, чем в исходном состоянии, накапливая механическую энергию; с помощью накопленной механической энергии зажимное устройство 40 резко открывается, как только кулачок 42a проходит мертвую точку TP.

[72]

Преимуществом здесь является то, что рычаг 42 имеет форму, совместимую со стандартным гаечным ключом, как показано в качестве примера на рис. 7. Рычаг 42 имеет две параллельные поверхности, которые позволяют применять стандартный гаечный ключ или динамометрический ключ для вращения зажимного рычага 42; показанная форма позволяет закрывать зажимное устройство 40 с помощью стандартного гаечного или динамометрического ключа. Таким образом, после каждого процесса открытия, с одной стороны, зажимное устройство 40 может быть снова закрыто простыми средствами, а с другой стороны, усилие закрытия, необходимое для надежного сцепления подмодулей 20 и 30, или для простого открытия зажимного устройства 40, может контролироваться с помощью динамометрического ключа.

[73]

Чтобы в закрытом состоянии зажимного устройства 40 создать поворотное усилие для открытия зажимного устройства 40 в варианте исполнения согласно рис. 1-12 предусмотрен коленчатый шарнир 46 (см. рис. 6a и 8), который активируется упором 61a зубчатой рейки 61 при движении участка зубчатой рейки 61, взаимодействующего со вторым подмодулем 30, тем самым создавая механическое поворотное усилие, действующее радиально наружу вдоль направления стрелки P1 на рис. 5, за счет которого зажимное устройство 40 открывается. В варианте исполнения согласно рис. 6a и 8, коленчатый шарнир 46 включает два коленчатых рычага 46a и 46b, которые шарнирно соединены друг с другом посредством болта 46c. При активации болт 46c перемещается вдоль продольного направления зубчатой рейки 61 под действием упора 61a зубчатой рейки, в результате чего два коленчатых рычага 46a и 46b раздвигаются перпендикулярно продольному направлению зубчатой рейки 61, создавая тем самым поворотное усилие P1.

[74]

Как только зубчатая рейка 61 ударяет упором 61a по коленчатому шарниру 46, коленчатый шарнир 46 выталкивает вилкообразную головку 43 из зажимного устройства 40, тем самым поворачивая кулачок 42a за мертвую точку TP и в результате вызывая открытие зажимного устройства 40.

[75]

Чтобы воспринимать возникающие силы, ось вращения D62 поворотного рычага 62 редуктора 60 механически поддерживается двумя внешними опорными пластинами 70, которые заключают рычаг 62 между собой; это показано в качестве примера на рис. 9.

[76]

Для того чтобы можно было легко соединить подмодули 20 и 30 согласно рис. 2 и 3, предусмотрены регулировочные средства 80, как показано на рис. 10 и 11, которые подходят для регулировки двух подмодулей 20 и 30 относительно друг друга; в варианте исполнения согласно рис. 10 и 11 они съемно закреплены на обоих подмодулях 20 и 30. При этом регулировочные средства 80 служат для осевого выравнивания, а точная регулировка вращения может осуществляться с помощью упоров 81, которые крепятся к подмодулям 20 и 30 соответственно с помощью регулировочного винта 82.

[77]

На рис. 13 показано другое исполнение редуктора 60. В варианте исполнения, показанном на рис. 13, редуктор 60 помимо промежуточного колеса 63 имеет еще одно промежуточное колесо 63а. Оси вращения обоих промежуточных колес 63 и 63a расположены параллельно, а зубья 62c второго конца рычага находятся в непосредственном зацеплении с обоими промежуточными колесами 63 и 63a. Таким образом, когда рычаг 62 поворачивается, оба промежуточных колеса 63 и 63a вращаются синхронно. Два промежуточных колеса 63 и 63a находятся в зацеплении с запорным колесом 64 и, в случае их собственного вращения, совместно вращают запорное колесо 64, тем самым совместно регулируя запорный клапан 21 первого подмодуля 20.

[78]

Хотя изобретение было подробно проиллюстрировано и описано на основе вариантов исполнения, изобретение не ограничено раскрытыми вариантами исполнения, и специалисты в данной области могут использовать другие варианты, не выходя за пределы правовой охраны изобретения.

[79]

Ссылочные знаки

[80]

10 Приводная муфта аварийного разъединения

[81]

11 Трубопровод для текучих сред

[82]

20 Подмодуль

[83]

21 Запорный клапан

[84]

22 Клапанный элемент

[85]

30 Подмодуль

[86]

31 Запорный клапан

[87]

32 Клапанный элемент

[88]

40 Зажимное устройство

[89]

41 Зажимные губки

[90]

42 Рычаг

[91]

42a Кулачок

[92]

43 Вилкообразная головка

[93]

44 Запорная пластина

[94]

45 Углубление

[95]

46 Коленчатый шарнир

[96]

46a Коленчатый рычаг

[97]

46b Коленчатый рычаг

[98]

46c Болт

[99]

50 Исполнительное устройство

[100]

51 Гидравлический привод

[101]

52 Цилиндр

[102]

53 Шток поршня

[103]

60 Редуктор

[104]

61 Зубчатая рейка

[105]

61a Упор зубчатой рейки

[106]

62 Рычаг

[107]

62a Первый конец рычага

[108]

62b Второй конец рычага

[109]

62c Зубчатое зацепление

[110]

63 Промежуточное колесо

[111]

63a Промежуточное колесо

[112]

64 Запорное колесо

[113]

65 Запорное колесо

[114]

66 Срезной штифт

[115]

67 Срезной штифт

[116]

70 Опорная пластина

[117]

80 Регулировочные средства

[118]

81 Регулировочный упор

[119]

82 Регулировочный винт

[120]

A Площадь поперечного сечения потока

[121]

D62 Ось вращения рычага

[122]

FSP Центр тяжести поверхности

[123]

L Продольная ось

[124]

LK Продольная ось

[125]

N Нормаль к поверхности

[126]

P1 Поворотное усилие

[127]

P2 Направление вращения

[128]

SA1 Ось поворота

[129]

SA2 Ось поворота

[130]

SA1' Проецируемая ось поворота

[131]

SA2' Проецируемая ось поворота

[132]

SB Толкающее движение

[133]

SSE Плоскость сопряжения

[134]

TP Мертвая точка

[135]

V Смещение

[136]

Z Расстояние

[137]

ZB Тяговое движение

[138]

α Угол

[139]

β Угол

Как компенсировать расходы
на инновационную разработку
Похожие патенты