патент
№ RU 2781984
МПК E04B7/14
Номер заявки
2022105971
Дата подачи заявки
05.03.2022
Опубликовано
21.10.2022
Страна
RU
Как управлять
интеллектуальной собственностью
Чертежи 
1
Реферат

[14]

Изобретение относится к строительству, а именно к однопоясной вантовой конструкции здания. Технический результат изобретения заключается в снижении материалоемкости конструкции. Однопоясная вантовая конструкция здания включает ванту, разомкнутый опорный контур, закрепленный на вертикальной несущей конструкции, плиты покрытия, стены и бетонный пол. Вертикальная несущая конструкция выполнена с контрфорсом и установлена на фундамент, на котором устроен бетонный пол, ванта пропущена через отверстия, выполненные в разомкнутом опорном контуре и бетонном полу, причем оба конца ванты закреплены друг к другу с образованием замкнутого контура по периметру поперечного сечения здания. Наружные стены закреплены к вертикальным участкам ванты. 1 ил.

Формула изобретения

Однопоясная вантовая конструкция здания, включающая ванту, разомкнутый опорный контур, закрепленный на вертикальной несущей конструкции, плиты покрытия, стены и бетонный пол, отличающаяся тем, что вертикальная несущая конструкция выполнена с контрфорсом и установлена на фундамент, на котором устроен бетонный пол, ванта пропущена через отверстия, выполненные в разомкнутом опорном контуре и бетонном полу, причем оба конца ванты закреплены друг к другу с образованием замкнутого контура по периметру поперечного сечения здания, при этом наружные стены закреплены к вертикальным участкам ванты.

Описание

[1]

Изобретение относится к строительству и может быть использовано в зданиях и сооружениях.

[2]

Известно вантовое покрытие, включающее однопоясные ванты, разомкнутый опорный контур прямоугольного в плане сооружения, закреплённый к вертикальной несущей конструкции, плиты покрытия, а восприятие распора, создаваемого вантами, осуществлено посредством оттяжек, заанкеренными в грунте и рассчитанных на противодействие выдёргивающей силе (см. "Инженерные конструкции"/ В.Н. Голосов и др., М.: Выс. шк., 1991, с.311, рис.8.6.) [1].

[3]

Недостатком аналога является то, что для восприятия распора вант используется дополнительная система оттяжек с анкерами в грунте в виде бетонных массивов, винтовых свай, тарельчатых упоров и т.п., особенно усложненных при слабых грунтах основания. Это усложняет вантовую конструкцию, увеличивает расход материала и трудоемкость строительства, затрудняет конструирование наружных стен и архитектурное решение сооружения.

[4]

Наиболее близким к заявляемому техническому решению является предварительно напряженная вантовая конструкция, включающая ванту, разомкнутый опорный контур, вертикальную несущую конструкцию, плиты покрытия, стены и бетонный пол, (см. патент N 2173751, МПК Е04В 7/14, опубл.20.09.2001 г.).

[5]

Недостатками прототипа являются сложность вантовой конструкции, а также трудоемкость строительства и большой расход материала за счет того, что для повышения жесткости вантовой системы и погашения распора, ванта снабжена жесткой балкой-распоркой, длиной больше величины перекрываемого пролета и горизонтально расположенными стойками, гибкой замкнутой затяжкой, длиной, равной удвоенной длине ванты, а также за счет, значительного количества разномерных подвесок и наклонных стяжек с узлами крепления их обоих концов к другим элементам, при этом консольные выступы балки-распорки с вантой, выходящие за пределы вертикальной опоры  усложняют и конструирование наружных стен, и архитектурное решение сооружения.

[6]

Техническим результатом заявляемой однопоясной вантовой конструкции здания является погашение распора ванты внутри самой конструкции, упрощение вантовой конструкции здания, уменьшение расхода материала и трудоемкости строительства, использование вертикальных участков вант для крепления стен и соответственно упрощение конструирования наружных стен и архитектурного решения сооружения.

[7]

Технический результат достигается тем, что в однопоясной вантовой конструкции здания, включающей ванту, разомкнутый опорный контур, вертикальную несущую конструкцию, плиты покрытия, стены и бетонный пол, согласно изобретению, вертикальная несущая конструкция выполнена с контрфорсом и установлена на фундамент, на котором устроен бетонный пол, ванта пропущена через отверстия, выполненные в разомкнутом опорном контуре и бетонном полу, причем оба конца ванты закреплены друг к другу с образованием замкнутого контура по периметру поперечного сечения здания, при этом наружные стены закреплены к вертикальным участкам ванты».

[8]

Данная конструкция однополюсной ванты позволит погасить распор внутри самой конструкции, упростить вантовую конструкцию здания, уменьшить расход материала и трудоемкость строительства, использовать вертикальные участки ванты для крепления стен и упростить конструирование наружных стен и архитектурное решение здания.

[9]

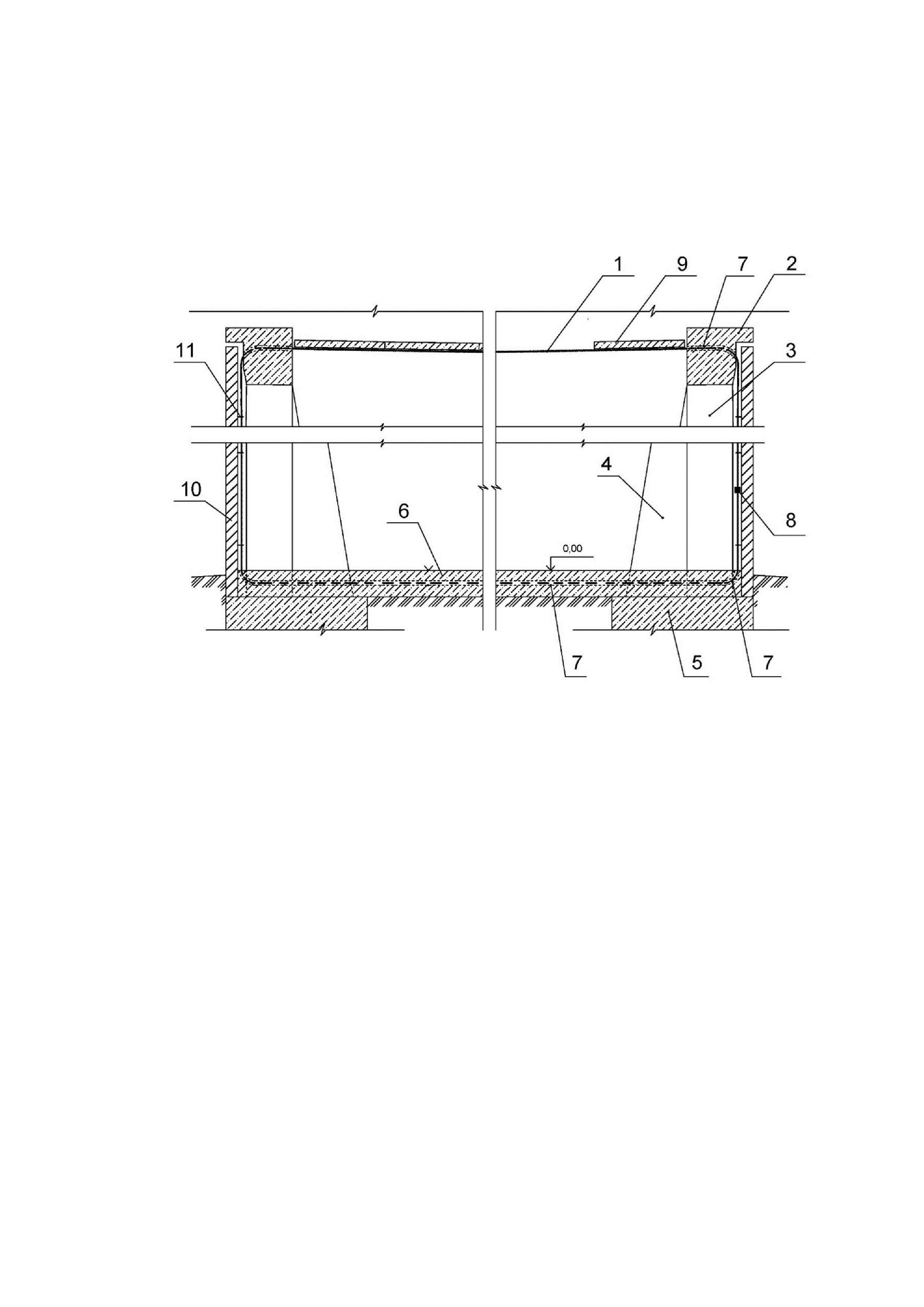
Сущность изобретения поясняется чертежом, где на фигуре изображен поперечный разрез однопоясной вантовой конструкции здания. 

[10]

Однопоясная вантовая конструкция здания, включает ванту 1, выполненную в виде замкнутого контура по периметру поперечного сечения здания, разомкнутый опорный контур 2, закреплённый на вертикальной несущей конструкции 3 с контрфорсом 4, фундамент 5 под вертикальную несущую конструкцию 3 с контрфорсом 4, бетонный пол 6, отверстие 7, через которое свободно пропущена ванта 1, причем ее концы 8 закреплены друг с другом, с образованием замкнутого контура по периметру поперечного сечения здания. Ограждающие конструкции здания: плиты покрытия 9, а также наружные стены 10 опираются на несущую ванту 1. Крепление стены 10 к ванте 1 осуществлено на несущую ванту 1 петлевым выпуском 11 из стены 10.

[11]

Однопоясная вантовая конструкция здания, работает следующим образом.

[12]

Несущую ванту 1 свободно пропускают через отверстие 7, образованное в разомкнутом опорном контуре 2, в фундаменте 5 несущей конструкции 3 с контрфорсом 4 и в бетоне пола 6. После натяжения ванты 1 её концы 8 закрепляют друг с другом, создавая замкнутый контур по периметру поперечного сечения здания, сооружения. Железобетонные плиты покрытия 9, закрепляют на ванте 1, обеспечивая необходимую жесткость покрытия 9, а также возможность создания предварительно напряженной железобетонной оболочки. Ванте 1 придают дополнительную функцию восприятия нагрузок от наружных стен 10. Крепление 11 наружных стен 10 к ванте 1 осуществляют на вертикальных участках ванты 1. При воздействии на ванту 1 вертикальной нагрузки от плит покрытия 9 и горизонтальной нагрузки от стен 10 на ванту 1, в стадии эксплуатации, происходит перераспределение усилий равномерно по всей ванте 1, что обуславливает эффективность ее работы. Усилия от нагруженной ванты 1 гасят опорный контур 2, контрфорсы 4 вертикальных несущих конструкций 3 и бетонный пол 6.

[13]

Использование предлагаемой вантовой конструкции здания, сооружения, позволит, по сравнению с прототипом, погасить распор внутри самой конструкции, упростить вантовую конструкцию, уменьшить расход материала и трудоемкость строительства, использовать вертикальные участки ванты для крепления стен и соответственно упростить конструирование наружных стен и архитектурное решение внутреннего и внешнего вида здания, сооружения.

Как компенсировать расходы
на инновационную разработку
Похожие патенты