Изобретение относится к камерам сгорания газотурбинных двигателей, работающим на природном газе, и может найти применение в двигателях морского и наземного назначения. Горелочное устройство малоэмиссионной камеры сгорания, установленное на входе в жаровую трубу, содержит корпус, включающий штуцера, радиальный завихритель, каналы подвода топлива, камеру смешения. По меньшей мере в один из штуцеров установлен регулируемый клапанный блок, состоящий из опорных элементов, один из которых представлен в виде гильзы с наружной резьбой, пружины, запорного элемента, выполненного в виде поджимного штока с заглушкой, при этом в кольце камеры смешения выполнены отверстия суммарной площадью, обеспечивающей работу горелочного устройства при подаче газа только в первый - пусковой - топливный канал при закрытом сечении на входе в завихритель. Технический результат - повышение надежности регулирования расхода воздуха, поступающего в горелку, во всём диапазоне работы двигателя за счет регулирования проходной площади горелки, используя для этого давление топливного газа, поступающего в полость горелки. 2 н. и 1 з.п. ф-лы, 7 ил.
1. Горелочное устройство малоэмиссионной камеры сгорания, установленное на входе в жаровую трубу и содержащее корпус, включающий штуцера, радиальный завихритель, каналы подвода топлива, камеру смешения, отличающееся тем, что по меньшей мере в один из штуцеров установлен регулируемый клапанный блок, состоящий из опорных элементов, один из которых представлен в виде гильзы с наружной резьбой, пружины, запорного элемента, выполненного в виде поджимного штока с заглушкой, при этом в кольце камеры смешения выполнены отверстия суммарной площадью, обеспечивающей работу горелочного устройства при подаче газа только в первый - пусковой - топливный канал при закрытом сечении на входе в завихритель. 2. Способ регулирования расхода воздуха, поступающего в горелочное устройство, заключающийся в изменении, в зависимости от нагрузки ГТД, количества воздуха, поступающего в камеру смешения, отличающийся тем, что изменение количества воздуха, поступающего в камеру смешения, осуществляется за счет закрытия отверстия на входе в радиальный завихритель при помощи клапана, при этом при подаче основного топливного газа во второй канал, шток клапана перемещает соединённое с ним кольцо, которое открывает сечение на входе в завихритель, а с прекращением подачи газа во второй канал кольцо возвращается в исходное положение и закрывает данное сечение. 3. Горелочное устройство малоэмиссионной камеры сгорания по п.1, отличающееся тем, что корпус горелки с корпусом камеры сгорания образует резьбовые соединения через гильзы клапанов во втором канале подачи топливного газа в горелку.
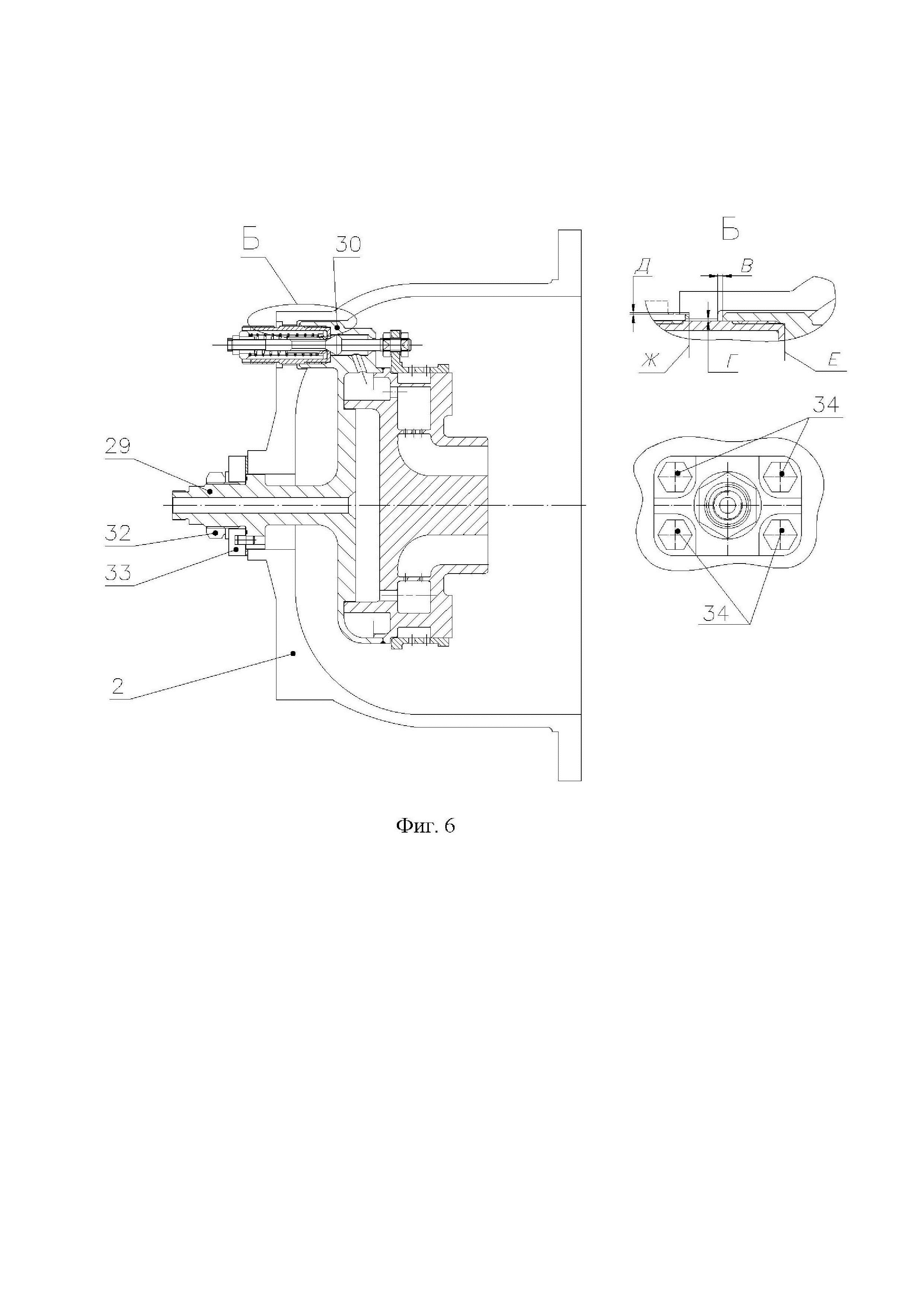
Изобретение относится к камерам сгорания, газотурбинных двигателей работающим на природном газе и может найти применение в двигателях морского и наземного назначения. Основным элементом малоэмиссионной камеры сгорания (КС) является горелочное устройство (горелка) во фронтовой части жаровой трубы. В современных КС, в целях понижения вредных выбросов оксида азота (NOX) и оксида углерода (COX), реализуется работа на обеднённой топливной смеси, что может спровоцировать возникновение вибрационного горения, приводящее к выработкам и разрушению элементов двигателя. Для обеспечения работоспособности экологической камеры сгорания во всём диапазоне режимов применяется двухканальная топливная система. Перспективы развития малоэмиссионных КС ГТД связаны с созданием систем управления, позволяющих, в условиях изменения условий при работе ГТД, воздействовать на регулирующие элементы. В качестве регулирующих элементов могут выступать топливные коллекторы, перепускные трубы и (или) фронтовые устройства изменяемой геометрии (Сиротин Н.Н., Марчуков Е.Ю., Новиков А.С. «Основы конструирования, производства и эксплуатации авиационных газотурбинных двигателей и энергетических установок в системе CALS технологий» Книга 1. - М.: Наука, 2011. стр. 448, 479). Известно горелочное устройство малоэмиссионной камеры сгорания, установленное на входе в жаровую трубу («Николаевские газотурбинные двигатели и установки. История создания» ГП НПКГ «Зоря-Машпроект» - Николаев, 2005 г., стр.119), и содержащее корпус, включающий штуцера, радиальные завихрители, установленный на выходе из каналов подвода топлива, камеру смешения. Топливный газ (далее - газ) из полостей горелки подаётся в полые лопатки завихрителей и через отверстия в лопатках, поступает в кольцевые камеры смешения. Запуск двигателя и его работа на низких режимах осуществляется подачей газа только в завихритель первого - пускового канала. В дальнейшем происходит подключение второго канала. При этом для устранения вибрационного горения на каждый режим требуется свой алгоритм распределения топлива по двум каналам. Недостатком такой конструкции является следующее. Определяющие параметры горелки, такие как площади завихрителей и расход газа обеспечивают необходимые характеристики КС на основном (номинальном) режиме. При этом поступающий в зону горения воздух не регулируется. Поэтому, на запуске и режимах ниже номинального количество воздуха, поступающего в горелку, выше необходимого, что ухудшает запуск и приводит к возникновению виброгорения. Кроме того, здесь из-за «обеднения» топливо-воздушной смеси при низкой температуре в зоне горения, увеличиваются выбросы несгоревших оксида углерода и углеводорода. Снижение вредных выбросов может достигаться за счёт обеспечения постоянства состава смеси (α=const) в зоне горения во всём диапазоне работы двигателя путём применения элементов, регулирующих распределение воздуха в жаровой трубе. Так, на максимальных режимах значительная часть воздуха должна подаваться в первичную зону для минимизации образования сажи и NO2. При снижении мощности двигателя для обеспечения низких уровней выбросов СО и НС необходимо удерживать высокую температуру в первичной зоне за счёт сокращения доли первичного воздуха, например, уменьшая площадь завихрителей горелки. Известен способ регулирования расхода воздуха (Международная заявка № WO 94/00718, МПК F23R 3/34, 3/36, F23D 17/00, F23D 14/26, опубл. 06.01.1994), заключающийся в изменении, в зависимости от нагрузки ГТД, количества воздуха поступающего в камеру смешения горелок. Предусмотрен дополнительный подвод сжатого воздуха из компрессора двигателя в каналы горелок. Данный воздух отбирается из кольцевого канала КС через трубопровод, содержащий регулируемый клапан и соединённый с коллектором, от которого этот воздух через трубопроводы подводится к каждой горелке. Регулирование расхода осуществляется изменением проходной площади канала трубопровода в линии отбора закомпрессорного воздуха. В трубопроводе установлен клапан, изменяющий проходное сечение трубопровода. На режиме запуска клапан установлен в позицию минимального открытия и минимальное количество воздуха поступает в горелочное устройство. При увеличении нагрузки необходима подача дополнительного воздуха в первичную зону жаровой трубы, что осуществляется открытием клапана и поступлением воздуха из кольцевого канала КС через коллектор и трубопроводы - к каналам горелок. Недостатком этого способа является низкая эффективность, так как расход дополнительного воздуха в этом случае определяется не только дозирующими элементами в каналах горелок, но и перепадом давления между полостями кольцевого канала КС и первичной зоны жаровой трубы. При такой схеме, в результате потерь давления воздуха на клапане, в коллекторе и подводящих трубопроводах, вероятно, не будет обеспечено необходимое увеличение расхода воздуха через горелку. Техническим результатом, достигаемым в заявленном изобретении, является разработка устройства и способа для его осуществления, позволяющие повысить надежность регулирования расхода воздуха поступающего в горелку, во всём диапазоне работы двигателя, за счет регулирования проходной площади горелки, используя для этого давление топливного газа, поступающего в полость горелки. Технический результат в заявленном устройстве достигается тем, что в горелочном устройстве малоэмиссионной камеры сгорания, установленном на входе в жаровую трубу и содержащем корпус, включающий штуцера, радиальный завихритель, каналы подвода топлива, камеру смешения в отличие от известного, по меньшей мере в один из штуцеров установлен регулируемый клапанный блок, состоящий из опорных элементов, один из которых представлен в виде гильзы с наружной резьбой, пружины, запорного элемента, выполненного в виде поджимного штока с заглушкой, при этом в кольце камеры смешения выполнены отверстия суммарной площадью, обеспечивающей работу горелочного устройства при подаче газа только в первый - пусковой топливный канал при закрытом сечении на входе в завихритель. Технический результат в заявленном способе достигается тем, что в способе регулирования расхода воздуха, заключающемся в изменении, в зависимости от нагрузки ГТД, количества воздуха поступающего в камеру смешения, в отличие от известного изменение количества воздуха поступающего в камеру смешения осуществляется за счет закрытия отверстия на входе в радиальный завихритель при помощи клапана, при этом, при подаче основного топливного газа во второй канал, шток клапана перемещает соединённое с ним кольцо, которое открывает сечение на входе в завихритель, а с прекращением подачи газа во второй канал, кольцо возвращается в исходное положение и закрывает данное сечение. При этом, корпус горелки с корпусом камеры сгорания образует резьбовые соединения через гильзы клапанов во втором канале подачи топливного газа в горелку. На фигурах представлены: - фиг. 1 - продольный разрез конструкции горелочного устройства; - фиг. 2 - продольный разрез клапана; - фиг. 3 - положение клапана в исходном состоянии (клапан закрыт); - фиг. 4 - положение клапана в рабочем состоянии (клапан открыт); - фиг. 5 - продольный разрез горелки; - фиг. 6 - вид горелочного устройства при сборке; - фиг. 7 - вид клапана, не связанного с фланцем регулировочного кольца (в случае варианта горелки, имеющей несколько клапанов). На фиг. 1 представлено предлагаемое горелочное устройство. В состав выносной трубчато-кольцевой КС входят: жаровая труба 1, корпус камеры сгорания, состоящий из нескольких (по числу горелок) крышек 2 с фланцами, состыкованными с общим кольцевым участком 3. На каждой из крышек 2 закреплена горелка 4. Газ в горелку подводится по двум каналам. В полость 5 первого - пускового канала через штуцер 6, в полость 7 - второго канала через штуцер 8. Каждая полость через отверстия 9, 10 сообщается с полостями полых лопаток первого (пускового) 11 и второго 12 каналов и формируют камеру закручивания (завихритель). В каждой лопатке выполнены отверстия 13, через которые газ поступает в кольцевую камеру смешения 14. Лопатки 11 и 12, для равномерного подвода газа в камеру смешения 14 чередуются. На входе во второй канал горелки расположен клапан - см. фиг. 2 в составе: гильза 15 с двумя участками наружной резьбы, отличающимися величиной шага, пружина 16, поджимающая шток 17, на который вворачивается поршень 18 с пазами для прохода газа. Положение поршня фиксируется (после регулировки на давление открытия) гайкой 19. Противоположный резьбовой участок штока 17 предназначен для монтажа на него кольца 20 фиг. 3. Способ осуществляется в камере сгорания, содержащей во фронтовом устройстве одно или несколько горелочных устройств с предварительно подготовленной топливовоздушной смесью. В исходном состоянии, на запуске и режимах малой мощности, когда газ подаётся только в первый (пусковой) канал горелки, клапан закрыт - см. фиг. 3. Кольцо 20 полностью перекрывает кольцевой канал 21 на входе в завихритель горелки. Воздух из кольцевого канала КС поступает в завихритель через отверстия 22 в кольце 20, размеры и количество которых обеспечивают (для данных режимов) необходимые расход и равномерность потока воздуха на входе в завихритель. Кроме того, закрытый клапан изолирует трубопровод коллектора основного топлива от возможного попадания в него продуктов сгорания. При переходе на режим большей мощности подключается второй (основной) канал подачи газа в горелку. Соответственно, расход воздуха, поступающий в горелку необходимо увеличить. Вытекая из отверстий 23 (фиг. 4), газ перемещает шток 17 до упора в поверхность 24. Далее через отверстия 25, 26 газ попадает в полости лопаток 12, откуда из отверстий 13 - в камеру смешения 14 - см. фиг. 1, 4. При этом кольцо 20, перемещаясь со штоком 17, открывает кольцевой канал на входе в завихритель. Таким образом, на режимах повышенной мощности задействованы оба канала подвода газа при полностью открытом кольцевом канале на входе в завихритель горелки. С понижением мощности и отключении подачи газа во второй канал пружина клапана возвращает шток с кольцом в исходное состояние, а кольцевой канал на входе в завихритель закрывается (с сохранением минимально необходимого расхода воздуха через отверстия в кольце 20). Количество мест стыковки штоков 17 с кольцом 20 - предпочтительно не менее двух для предотвращения перекоса кольца при перемещениях. Аналогичная конструкция горелочного устройства проверена в составе камеры сгорания, где в результате ее использования состав топливовоздушной смеси в зоне горения был более равномерным. Особенности конструкции и сборки горелочного устройства. Горелка - см. фиг. 5 включает лопаточный завихритель 27 и корпус 28 с резьбовыми бобышками первого 29 и второго 30 каналов, соединённые сваркой (пайкой) с формированием полостей первого 5 и второго 7 газовых каналов. На бобышку 30 до упора по резьбе монтируется клапан фиг. 2. На конец штока 17 своим фланцем крепится кольцо 20 с помощью гаек 31. Сборка горелочного устройства, состоящего из горелки фиг. 5 с крышкой 2 - см. фиг. 6: - бобышка первого канала 29 «притягивается» гайкой 32 к фланцу 33, который крепится к крышке 2 болтами 34. - монтаж штуцеров 6, 8 на бобышку 29 и «внешний» участок резьбы гильзы клапана до упора в посадочную поверхность крышки 2 - см. фиг. 1. В результате, горелка на крышке фиксируется креплением центральной бобышки 29. Конструкция периферийного соединения, когда горелка и крышка скреплены через «промежуточную» гильзу клапана, упрощает сборку, допуская наличие зазоров В, Г, Д (см. вид Б фиг. 6), при этом обеспечивая необходимую надёжность и герметичность по стыкам Е и Ж. Собранное горелочное устройство монтируется на корпус 3 КС. Стопорение (фиксация от поворота по резьбе) гильзы клапана 15 обеспечивается тем, что она вкручена в бобышку 30 по резьбе с одним шагом, а в саму гильзу вкручен (и снаружи законтрен) штуцер 8 по резьбе с другим шагом. Таким образом, поворот гильзы (сразу по двум участкам резьбы с разными шагами) невозможен. Количество мест подвода основного (через клапаны) топлива зависит от габаритов горелки и расхода газа. Предпочтительно иметь их не менее трёх, равномерно расположенных по окружности, т.к. данные стыки являются также и опорами крепления горелки к крышке. В составе горелки все клапаны вместе с кольцом 20 должны при открытии работать синхронно с обеспечением одновременного упора всех контактных поверхностей штоков с бобышками 24 (фиг. 4), для чего возможен подбор минимальных местных зазоров по стыкам «гайки 31 - фланец кольца 20». Возможен вариант горелки, имеющей несколько клапанов в канале основного топлива, но с кольцом 20 стыкуются не все из них. Тогда место подвода газа, где шток не соединён с кольцом, может иметь конструкцию фиг. 7. Здесь шток 35 при открытом клапане упирается в дно бобышки 36. Таким образом, данное техническое решение позволяет регулировать проходную площадь горелки, что в свою очередь приводит к повышению эффективности регулирования расхода воздуха поступающего в горелочное устройство малоэмиссионной камеры сгорания.