Изобретение относится к строительству, а именно к элементам шпунтового сборно-разборного ограждения, используемого для обустройства котлована при выполнении ремонтных, аварийно-восстановительных и плановых работ на магистральных трубопроводах в условиях обводненности и слабых грунтов (II и III тип заболоченности). Шпунтовый профиль для шпунтового ограждения котлована, имеющий по меньшей мере две стенки и по меньшей мере одну полку, в которой выполнен вырез для трубы. Снабжен по меньшей мере одним элементом перекрытия пространства под трубой, размещенным с внутренней стороны полки и в отверстиях по меньшей мере двух стенок и выполненным с возможностью поворота вокруг оси трубы для перекрытия пространства под трубой, фиксации в этом положении и возврата в исходное положение. Технический результат состоит в обеспечении упрощения конструкции шпунтового профиля для сборно-разборного шпунтового ограждения котлована для выполнения работ на магистральных трубопроводах в условиях обводненности и слабых грунтов, облегчении его монтажа, демонтажа и эксплуатации при одновременном повышении его надежности и шпунтового сборно-разборного ограждения в целом при его применении. 22 з.п. ф-лы, 13 ил.
1. Шпунтовый профиль для шпунтового ограждения котлована, имеющий по меньшей мере две стенки и по меньшей мере одну полку, в которой выполнен вырез для трубы, отличающийся тем, что снабжен по меньшей мере одним элементом перекрытия пространства под трубой, размещенным с внутренней стороны полки и в отверстиях по меньшей мере двух стенок и выполненным с возможностью поворота вокруг оси трубы для перекрытия пространства под трубой, фиксации в этом положении и возврата в исходное положение. 2. Шпунтовый профиль по п.1, отличающийся тем, что высота шпунтового профиля больше высоты присоединяемых к нему шпунтовых профилей шпунтового ограждения. 3. Шпунтовый профиль по п.1, отличающийся тем, что ширина полки с вырезом для трубы больше ширины полки присоединяемых к нему шпунтовых профилей шпунтового ограждения. 4. Шпунтовый профиль по п.1, отличающийся тем, что по меньшей мере один элемент перекрытия пространства под трубой выполнен с возможностью движения вокруг оси трубы посредством привода по опоре скольжения над вырезом в полке. 5. Шпунтовый профиль по п.4, отличающийся тем, что в качестве привода может быть использован механический, гидравлический, электрический или электро-механический привод. 6. Шпунтовый профиль по п.5, отличающийся тем, что в качестве привода использован реверсивный полноповоротный гидравлический двигатель роторно-планетарного типа. 7. Шпунтовый профиль по п.1, отличающийся тем, что выполненный в полке вырез для трубы снабжен по краю уплотнительным элементом для более плотного прилегания к трубе. 8. Шпунтовый профиль по п.1, отличающийся тем, что по меньшей мере один элемент перекрытия пространства под трубой снабжен уплотнительным элементом для более плотного прилегания к трубе. 9. Шпунтовый профиль по п.7 или 8, отличающийся тем, что уплотнительный элемент выполнен из эластичного материала. 10. Шпунтовый профиль по п.7 или 8, отличающийся тем, что уплотнительный элемент выполнен петлеобразным в поперечном сечении. 11. Шпунтовый профиль по п.7 или 8, отличающийся тем, что уплотнительный элемент выполнен с возможностью наполнения его воздухом или жидкостью для более плотного прилегания к трубе. 12. Шпунтовый профиль по п.1, отличающийся тем, что выполнен волнообразным в поперечном сечении или корытного типа. 13. Шпунтовый профиль по п.1, отличающийся тем, что выполнен составным по вертикали и имеет по меньшей мере одну верхнюю часть и нижнюю часть, снабженную по меньшей мере одним элементом перекрытия пространства под трубой. 14. Шпунтовый профиль по п.1, отличающийся тем, что снабжен с внутренней стороны по меньшей мере одним поперечным ребром жесткости. 15. Шпунтовый профиль по п.1, отличающийся тем, что шпунтовый профиль и по меньшей мере один элемент перекрытия пространства под трубой выполнены из металла 16. Шпунтовый профиль по п.1, отличающийся тем, что по меньшей мере один элемент перекрытия пространства под трубой выполнен в форме плоского разомкнутого кольца или плоского сектора кольца 17. Шпунтовый профиль по п.1, отличающийся тем, что по меньшей мере один элемент перекрытия пространства под трубой выполнен в форме круга с вырезом сложной формы для трубы. 18. Шпунтовый профиль по п.17, отличающийся тем, что форма выреза для трубы представляет собой сочетание сегмента круга и прямоугольника, при этом хорда сегмента круга является одновременно стороной прямоугольника. 19. Шпунтовый профиль по любому из пп.1-18, отличающийся тем, что по меньшей мере один элемент перекрытия пространства под трубой выполнен по меньшей мере из одной пластины. 20. Шпунтовый профиль по любому из п.1-18, отличающийся тем, что по меньшей мере один элемент перекрытия пространства под трубой выполнен из двух или нескольких соединенных между собой пластин. 21. Шпунтовый профиль по п.20, отличающийся тем, что крепление пластин между собой по внешнему краю одновременно является элементами в схеме 22. Шпунтовый профиль по любому из пп.1-18, отличающийся тем, что по меньшей мере один элемент перекрытия пространства под трубой выполнен цельным или полым. 23. Шпунтовый профиль по пп.1-18, отличающийся тем, что содержит два или несколько элементов перекрытия пространства под трубой, расположенных по меньшей мере в одной плоскости относительно оси шпунтовой стены ограждения.
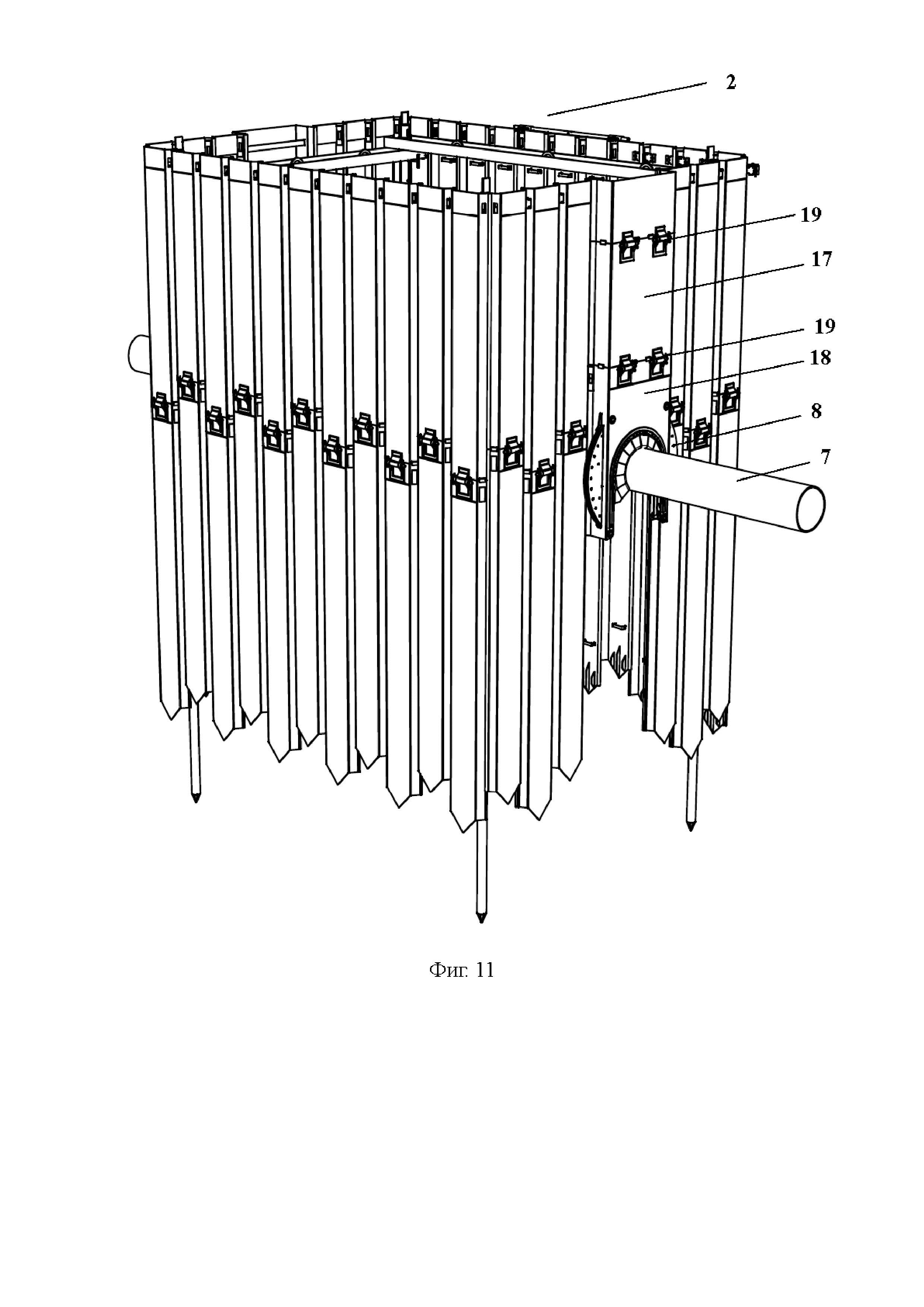
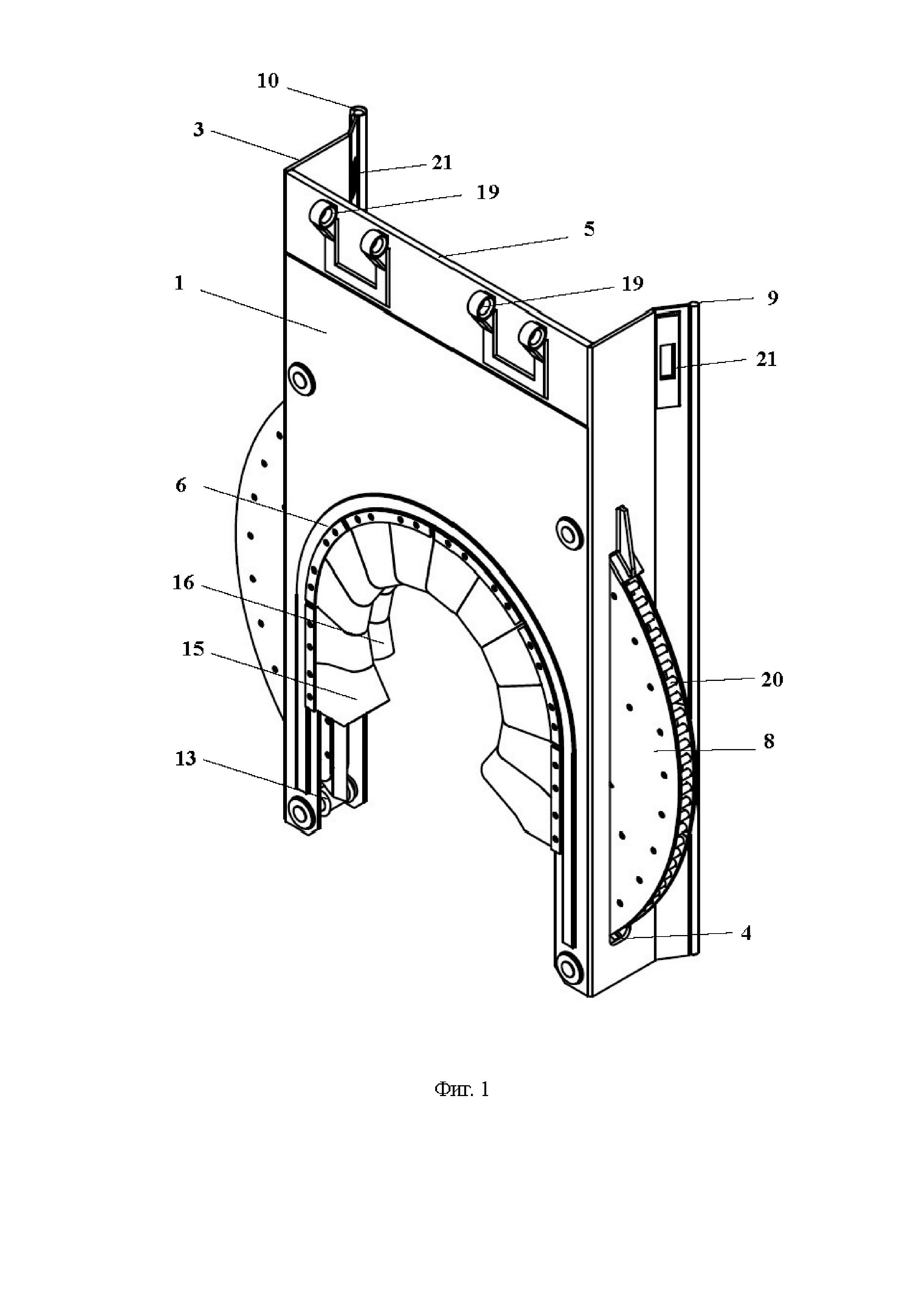
Изобретение относится к строительству, а именно к элементам шпунтового сборно-разборного ограждения, используемого для обустройства котлована при выполнении ремонтных, аварийно-восстановительных и плановых работ на магистральных трубопроводах в условиях обводненности и слабых грунтов (II и III тип заболоченности). Из уровня техники известна торцевая шпунтовая панель шпунтового сборно-разборного ограждения для обустройства котлована при проведении работ на магистральном трубопроводе, имеющая наклонные стенки и расширенную полку, в нижней части которой выполнен вырез в форме полукруга, а к торцу приварена металлическая пластина для исключения повреждения изоляции на трубопроводе (Патент РФ №2705674, МПК E02D17/04, опубл. 11.11.2019). При проведении ремонтных работ на магистральном трубопроводе необходимо обеспечить отсутствие грунта с жидкостью в зоне проведения работ на глубину ниже уровня трубы, как минимум на 300 мм. Однако известная торцевая шпунтовая панель не обеспечивает перекрытие потока избыточно увлажненного слабого грунта под трубой. Для предотвращения поступления грунта в зону котлована через пространство под трубой, как правило, в нем размещают полиэтиленовые пакеты, заполненные различными материалами, засыпают их глиной и утрамбовывают посредством ковша экскаватора, создавая пробку под трубой. После проведения работ все пакеты извлекают из котлована, чтобы предотвратить загрязнение окружающей среды. Данный процесс трудоемкий, длительный и сложный. Кроме того, такая конструкция под трубопроводом получается одноразовой и ненадежной. Также из уровня техники известно приспособление для создания ограждения вокруг ремонтируемого трубопровода, состоящее из шпунта, соединенного тягой с гидроцилиндром, секторообразных направляющих, в которые вставлены шиберы, имеющие на краях пальцы. При погружении гидроцилиндрами смежных шпунтов они находят на пальцы шиберов и производят поворот шиберов вокруг трубы до смыкания под трубой (Патент РФ №2122071, E02D11/00, опубл. 20.11.1998). Данное приспособление направлено на предотвращение поступления жидкости в зону котлована через пространство по трубой, однако данная конструкция является громоздкой, сложной в монтаже и демонтаже, а также недостаточно надежной. Смыкание шиберов под трубой зависит от точности попадания смежных шпунтов в пальцы шиберов, а размыкание шиберов необходимо осуществлять с помощью тросов, которые вторыми концами должны зацепляться за пальцы. Достаточно затруднительно с помощью тросов, погружаемых гидроцилиндрами, зацепиться за пальцы шиберов. При неоднократном использовании данного приспособления пальцы могут быть легко повреждены, а значит смыкание шиберов может не произойти. Кроме того, данное приспособление не является универсальным, поскольку его возможно использовать при возведении шпунтового ограждения только с устройством для создания шпунтовой стенки котлована по патенту РФ №2122071. Задачей, на решение которой направлено изобретение, является создание усовершенствованного шпунтового профиля для сборно-разборного ограждения котлована при выполнении работ на магистральных трубопроводах в условиях обводненности и слабых грунтов, лишенного недостатков вышеуказанных аналогов, а также расширение арсенала технических средств указанного назначения. Технический результат изобретения заключается Технический результат достигается тем, что шпунтовый профиль для шпунтового ограждения котлована, имеющий Целесообразно, чтобы высота шпунтового профиля была больше высоты присоединяемых к нему шпунтовых профилей шпунтового ограждения. Целесообразно, чтобы ширина полки с вырезом для трубы была больше ширины полки присоединяемых к нему шпунтовых профилей шпунтового ограждения. Целесообразно, чтобы по меньшей мере один элемент перекрытия пространства под трубой был выполнен с возможностью движения вокруг оси трубы посредством привода по опоре скольжения над вырезом в полке. В качестве привода может быть использован механический, гидравлический, электрический или электромеханический привод, предпочтительно - реверсивный полноповоротный гидравлический двигатель роторно-планетарного типа. Целесообразно, чтобы выполненный в полке вырез для трубы был снабжен по краю уплотнительным элементом, выполненным петлеобразным в поперечном сечении из эластичного материала и с возможностью наполнения его воздухом или жидкостью для более плотного прилегания к трубе. Целесообразно, чтобы по меньшей мере один элемент перекрытия пространства под трубой был снабжен уплотнительным элементом, выполненным петлеобразным в поперечном сечении из эластичного материала и с возможностью наполнения его воздухом или жидкостью для более плотного прилегания к трубе. Целесообразно, чтобы шпунтовый профиль был выполнен волнообразным в поперечном сечении или корытного типа. Целесообразно, чтобы шпунтовый профиль был выполнен составным по вертикали и имел по меньшей мере одну верхнюю часть и нижнюю часть, снабженную по меньшей мере одним элементом перекрытия пространства под трубой. Целесообразно, чтобы шпунтовый профиль был снабжен с внутренней стороны по меньшей мере одним поперечным ребром жесткости. Целесообразно, чтобы шпунтовый профиль и по меньшей мере один элемент перекрытия пространства под трубой были выполнены из металла Целесообразно, чтобы по меньшей мере один элемент перекрытия пространства под трубой был выполнен в форме плоского разомкнутого кольца и/или плоского сектора кольца Целесообразно, чтобы по меньшей мере один элемент перекрытия пространства под трубой был выполнен из одной пластины, двух или нескольких соединенных между собой пластин. При этом целесообразно, чтобы крепление пластин между собой по внешнему краю одновременно являлось элементами в схеме передачи крутящего момента Целесообразно, чтобы по меньшей мере один элемент перекрытия пространства под трубой был выполнен цельным или полым. Целесообразно, чтобы шпунтовый профиль содержал два или несколько элементов перекрытия пространства под трубой, расположенных в одной, двух или нескольких плоскостях относительно оси шпунтовой стены ограждения. Изобретение поясняется чертежами. На Фиг.1 представлен шпунтовый профиль для ограждения с открытым положением элемента перекрытия пространства под трубой (общий вид). На Фиг.2 представлен шпунтовый профиль для ограждения с закрытым положением элемента перекрытия пространства под трубой (общий вид). На Фиг.3 представлен шпунтовый профиль для ограждения с открытым положением элемента перекрытия пространства под трубой (вид с наружной стороны). На Фиг.4 представлен шпунтовый профиль для ограждения с закрытым положением элемента перекрытия пространства под трубой (вид с наружной стороны). На Фиг.5 представлен шпунтовый профиль для ограждения с открытым положением элемента перекрытия пространства под трубой (вид с внутренней стороны). На Фиг.6 представлен шпунтовый профиль для ограждения с закрытым положением элемента перекрытия пространства под трубой (вид с внутренней стороны). На Фиг.7 представлен шпунтовый профиль для ограждения с открытым положением элемента перекрытия пространства под трубой (вид сбоку). На Фиг.8 представлен шпунтовый профиль для ограждения с открытым положением элемента перекрытия пространства под трубой (в продольном разрезе). На Фиг.9 представлен шпунтовый профиль для ограждения с открытым положением элемента перекрытия пространства под трубой (вид сверху). На Фиг.10 представлен элемент перекрытия пространства под трубой с уплотнительным элементом (вид спереди и вид сбоку). На Фиг.11 представлено шпунтовой ограждение со шпунтовым профилем с открытым положением элемента перекрытия пространства под трубой. На Фиг.12 представлено шпунтовой ограждение со шпунтовым профилем с закрытым положением элемента перекрытия пространства под трубой. На Фиг.13 шпунтовый профиль со смежными шпунтовыми профилями ограждения. В предпочтительном варианте исполнения шпунтовый профиль 1 для сборно-разборного ограждения 2 для обустройства котлована при проведении работ на магистральном трубопроводе выполнен следующим образом. Шпунтовый профиль 1 для ограждения 2 представляет собой сварной шпунтовый профиль корытного типа, который имеет Стенки 3 шпунтового профиля 1 выполнены на свободных концах с замковыми элементами 9 и 11. В предпочтительном варианте исполнения свободный конец одной наклонной стенки снабжен гребнем 9, а другой — обоймой 10. При введении гребня 9 в обойму 10 смежного шпунтового профиля 11 образуется замковое соединение. Замковое соединение также может быть выполнено в виде замка типа «Ларсен», «кулачок — обойма уголок» и др. В других вариантах исполнения шпунтовый профиль 1 для сборно-разборного ограждения 2 котлована может представлять собой волнообразный шпунтовый профиль, имеющий две наклонные стенки, полку, две наклонные полустенки и полки или имеющий две полки, одну наклонную стенку и две наклонные полустенки. В таком исполнении шпунтового профиля любая из полок может быть выполнена с вырезом для трубы и с закрепленным на ней элементом перекрытия пространства под трубой. Свободные концы стенок также должны быть оснащены элементами замкового соединения. Для обеспечения беспрепятственного поворота перекрывающего элемента 8 вокруг трубы 7 высота H шпунтового профиля 1 больше высоты h стандартных присоединяемых к нему шпунтовых профилей 11 шпунтового ограждения 2. Ширина L1 полки 5 с вырезом 6 для трубы 7 может быть больше ширины L2 полки стандартных присоединяемых к нему шпунтовых профилей 11 шпунтового ограждения 2. При этом ширина L1 полки 5 будет зависеть от диаметра трубопровода 7, на котором необходимо провести работы. Шпунтовый профиль 1 может содержать один, два или несколько элементов перекрытия пространства под трубой 8, расположенных в одной, двух или нескольких плоскостях относительно оси шпунтовой стены ограждения 2. В предпочтительном варианте исполнения шпунтовый профиль 1 содержит один элемент перекрытия пространства под трубой 8. Элемент перекрытия пространства под трубой 8 может быть выполнен в форме плоского разомкнутого кольца и/или плоского сектора кольца Элемент перекрытия пространства под трубой 8 может быть выполнен цельным или полым, из одной пластины, двух или нескольких соединенных между собой пластин. Выполнение элемента перекрытия пространства под трубой 8 из двух или трех, соединенных между собой относительно тонких пластин, обеспечивает снижение веса конструкции и увеличение несущей способности перекрывающего элемента 8. В предпочтительном варианте исполнения элемент перекрытия пространства под трубой 8 выполнен из двух пластин скрепленных между собой. При этом крепление 20 пластин между собой по внешнему краю одновременно является цевками в схеме цевочной передачи крутящего момента Элемент перекрытия пространства 8 под трубой 7 закреплен с внутренней стороны (обращенной внутрь котлована) полки 5 шпунтового профиля 1 посредством Элемент перекрытия пространства 8 выполнен с возможностью движения вокруг оси трубы 7 в обе стороны посредством привода по опоре скольжения 13 над вырезом 5 в полке 4. Опора скольжения 13 может быть выполнена в форме втулки или шпульки, в случае однослойного или одного перекрывающего элемента 8, или в форме сдвоенной шпульки - в случае двух элементов или двухслойного перекрывающего элемента 8. Элемент перекрытия пространства 8 может быть выполнен с возможностью В качестве привода может быть использован механический, гидравлический, электрический или электромеханический привод. В предпочтительном варианте исполнения в качестве привода использован реверсивный полноповоротный гидравлический двигатель роторно-планетарного типа 14. Он позволяет с минимальным увеличением веса конструкции и с сохранением её компактности обеспечить значительное усилие для поворота перекрывающего элемента 8, что крайне важно при осуществлении работ в условиях обводненности и слабых грунтов. В предпочтительном варианте исполнения выполненный в полке 5 вырез 6 для трубы 7 снабжен по краю уплотнительным элементом 15. Уплотнительный элемент 15 может быть выполнен из эластичного полимерного материала, в частности из резины. Уплотнительный элемент 15 может быть выполнен петлеобразным в поперечном сечении с возможностью наполнения его воздухом или жидкостью для более плотного прилегания к трубе. Также уплотнительный элемент 15 может выполнять функцию защитного слоя (футляра), а внутрь его петлеобразной полости может быть помещен элемент (не показан) из эластичного материала, в частности резины, который непосредственно заполняют воздухом или жидкостью. В этом случае элемент 15 будет предотвращать от повреждения помещенный в него наполняемый воздухом или жидкостью элемент (например, в виде сектора пневматической камеры). В предпочтительном варианте исполнения элемент перекрытия пространства 8 под трубой 7 также снабжен уплотнительным элементом 16. Уплотнительный элемент 16 может быть выполнен из эластичного полимерного материала, в частности из резины. Уплотнительный элемент 16 может быть выполнен петлеобразным в поперечном сечении с возможностью наполнения его воздухом или жидкостью для более плотного прилегания к трубе. Также уплотнительный элемент 16 может выполнять функцию защитного слоя (футляра), а внутрь его петлеобразной полости может быть помещен элемент (не показан) из эластичного материала, в частности резины, который непосредственно заполняют воздухом или жидкостью. В этом случае элемент 16 будет предотвращать от повреждения помещенный в него наполняемый воздухом или жидкостью элемент (например, в виде сектора пневматической камеры). Уплотнительные элементы 15,16 предназначены для обеспечения более плотного прилегания к трубе 7, а также для предотвращения повреждения трубы 7 при погружении шпунтового профиля 1 и при повороте перекрывающего элемента 8. Шпунтовый профиль 1 может быть выполнен составным по вертикали для наращивания по высоте в зависимости от глубины размещения трубопровода 7, т. е. иметь верхний 17 и нижний 18 элементы, зафиксированные между собой посредством замковых элементов 19 (например, замковых элементов, раскрытых в патенте РФ №2705674). С внутренней стороны полки верхнего элемента 17 и нижнего 18 элемента, снабженного элементом перекрытия пространства 8 под трубой 7, могут быть выполнены поперечные ребра жесткости. Так, верхний элемент может быть снабжен двумя ребрами жесткости, а нижний элемент одним ребром жесткости, расположенным в верхней его части над вырезом 5 для трубы 7. Верхний элемент может быть выполнен различной длины, но должен иметь такую же форму и высоту профиля, как у нижнего 18 элемента, снабженного элементом перекрытия пространства 8 под трубой 7. Верхний 17 и нижний 18 элементы шпунтового профиля могут быть дополнительно снабжены грузозахватными элементами в форме плоских петель, П-образных в поперечном сечении, соединенных сваркой с полкой 5 или стенками 3, или отверстиями 21 вблизи верхних кромок стенок верхнего 17 и нижнего 18 элементов шпунтового профиля или другими элементами для подъема, погружения и извлечения шпунтового профиля посредством грузоподъемного механизма, а также для надежной фиксации изделий на транспортном средстве. При необходимости, при погружении шпунтового профиля П-образные элементы могут быть удалены. Шпунтовый профиль 1 и элементы перекрытия пространства 8 под трубой 7 могут быть выполнены из металла Все элементы устройства, кроме сварного шпунтового профиля, являются сборно-разборными и легко могут быть отремонтированы или заменены. В предпочтительном варианте исполнения устройство используют следующим образом. Вначале осуществляют сборку стенок сборно-разборного шпунтового ограждения 2 котлована до трубопровода 7 (например, согласно патенту РФ №2705674), собирая две П-образные части комплекта. Торцевую часть ограждения 2 формируют в первую очередь с применением шпунтового профиля 1, оснащенного элементом перекрытия пространства 8 под трубой 7. Посредством вибропогружателя шпунтовые профили 11 погружают строго вертикально по разные стороны от двух шпунтовых профилей 1, оснащенных элементом перекрытия пространства 8 под трубой 7, таким образом, чтобы посередине длинной части шпунтового ограждения 2 осталось пространство для одного непогруженного шпунтового профиля для замыкания первого уровня ограждения 2. Шпунтовое ограждение 2 с одной и с другой стороны замыкают рядовым шпунтовым профилем 11, применяя для этого специальную струбцину - талреп. Для того, чтобы замыкающий сторону периметра шпунтовый профиль 11 вошел в замки соседних шпунтовых профилей 11 посредством талрепа соседние шпунты либо раздвигают, либо сжимают. Таким образом при погружении замковые элементы 9, 10, расположенные на свободных концах стенок 3 шпунтового профиля 1, и замковые элементы смежных шпунтовых профилей 11 ограждения 2 образуют соединение, замыкая периметр шпунтового ограждения 2 контура котлована. В зависимости от глубины размещения трубопровода 7 шпунтовый профиль 1, как и смежные шпунтовые профили 11 ограждения 2, может быть нарощен по вертикали, путем соединения нижней части 18 шпунтового профиля 1 с перекрывающим элементом 8 и верхней части 17 шпунтового профиля 2 с помощью замковых элементов 19. Предварительно отверстия 21 в шпунтовых профилях 11 и 1 закрывают заглушками, чтобы при погружении шпунтов ниже уровня воды в отверстия 21 не поступала вода. Затем производят частичное изъятие из внутреннего контура котлована жидкого грунта и воды до уровня появления верхней части трубы 7 над изымаемой жидкостью и грунтом. При необходимости, дополнительно очищают напором воды элементы шпунтового профиля 1 с перекрывающим элементом 8. После этого посредством привода 14, в частности посредством реверсивного полноповоротного гидравлического двигателя роторно-планетарного типа, осуществляют поворот перекрывающего элемента 8 вокруг оси трубы 7, полностью перекрывая пространство под трубой 7. Далее из котлована осуществляют выемку грунта. После максимального извлечения грунта из котлована уплотнительные элементы 15 и 16, внутри которых размещены наполняемые элементы (не показаны) из эластичного материла, выполненные в виде сектора пневматической камеры, наполняют воздухом или жидкостью для обеспечения более плотного прилегания к трубе 7 и максимального уменьшения потока жидкости в периметр огороженного шпунтом котлована. Затем, при необходимости, в котловане максимально убирают воду и грунт из под трубы 7 на максимально возможную глубину. После этого проводят ремонтные, аварийно-восстановительные или плановые работы на данном участке трубопровода 7. После проведения необходимых работ на участке трубопровода 7 ограждение 2 разбирается в обратном порядке, начиная с подготовки к демонтажу шпунтового профиля 1, оснащенного элементом перекрытия пространства 8 под трубой 7. В котлован по меньшей мере до уровня середины трубы 7 вносят жидкий грунт посредством экскаватора. А затем посредством привода 14, в частности посредством реверсивного полноповоротного гидравлического двигателя роторно-планетарного типа, осуществляют поворот перекрывающего элемента 8 вокруг оси трубы 7 в обратную сторону, открывая пространство под трубой 7 и производят фиксацию элемента перекрытия пространства 8 в открытом первоначальном положении. После этого посредством экскаватора производят обратную засыпку котлована жидким грунтом на уровень окружающего котлован грунта. С помощью вибропогружателя и при помощи талрепа (последний имеет возможность ослабить напряжение в замках шпунтового профиля 11) шпунтовый профиль 11 из центра каждой длинной стороны шпунтового ограждения извлекают из котлована, а затем и все остальные шпунтовые профили 11, шпунтовый профиль 1 с перекрывающим элементом 8 и другие элементы шпунтового сборно-разборного ограждения 2. После выемки и окончания использования все шпунтовые профили, замковые элементы и механизмы элемента перекрытия пространства под трубой очищают от грязи и грунта. Применение изобретения показало, что упрощенная и облегченная конструкция шпунтового профиля с перекрывающим элементом для сборно-разборного шпунтового ограждения котлована позволяет облегчить и ускорить монтаж и демонтаж шпунтового ограждения котлована, и при этом повысить надежность ограждения. Кроме того, предложенный шпунтовый профиль с перекрывающим элементом обладает высокой надежностью, ремонтопригодностью и прост в эксплуатации.