патент
№ RU 2779800
МПК E04G23/08

Способ демонтажа монолитной железобетонной конструкции с утилизацией материалов от разборки

Авторы:
Роздобутько Матвей Русланович Пресняков Артур Андреевич Денисов Виктор Николаевич
Все (7)
Номер заявки
2022100733
Дата подачи заявки
12.01.2022
Опубликовано
13.09.2022
Страна
RU
Как управлять
интеллектуальной собственностью
Чертежи 
3
Реферат

[57]

Изобретение относится к области строительства, а именно к способу демонтажа монолитных железобетонных конструкций с последующей утилизацией образованного строительного материала. Техническим результатом является возможность проведения демонтажа в стесненных условиях и утилизации строительного материала после разборки. Способ демонтажа монолитной железобетонной конструкции заключается в бурении шпуров, отбойке блока, устройства в шпурах сквозных отверстий для строповки железобетонной конструкции, через которые крепятся цепные стропы. Затем выполняется строповка с выборкой слабины цепей стропа, алмазная резка монолитной железобетонной конструкции на блоки, перемещение блоков краном к месту отбойки. После отбойки выполняется удаление арматуры, измельчение образовавшегося бетонного лома, упаковка и вывоз арматуры на металлообрабатывающий завод. 7 ил.

Формула изобретения

Способ демонтажа монолитной железобетонной конструкции с утилизацией материалов от разборки, заключающийся в бурении шпуров, отбойке блока, отличающийся тем, что после бурения в шпурах выполняются сквозные отверстия для строповки монолитной железобетонной конструкции, через которые петлей крепятся цепные стропы, а затем выполняется строповка с выборкой слабины цепей стропа, алмазная резка монолитной железобетонной конструкции на блоки с помощью канатной машины в соответствии с грузоподъемностью крана, перемещение блоков железобетонной конструкции краном к месту отбойки, а после отбойки выполняется удаление арматуры гидравлическими ножницами, установленными на экскаваторе, измельчение образовавшегося бетонного лома в щековой дробилке, упаковка и вывоз арматуры на металлообрабатывающий завод, при этом отбойка блока выполняется хаотично направленными трещинами отбойным молотком, установленным на экскаваторе.

Описание

[1]

Изобретение относится к области строительства, а именно к способу демонтажа монолитных железобетонных конструкций с последующей утилизацией образованного строительного материала после разборки.

[2]

В рамках предложенного изобретения под монолитной железобетонной конструкцией понимается монолитная железобетонная плита, являющаяся структурным элементом массива монолитного строения объекта капитального строительства, а в качестве примера применения предложенного способа демонтажа монолитной железобетонной конструкции с утилизацией материалов от разборки представлен демонтаж монолитной железобетонной плиты.

[3]

Известен способ безвзрывного разрушения в статическом режиме монолитных объектов, включающий комплект гидроклиньев - DARDA - немецкой фирмы Porsfeld Gmbh und Со, гидроклинья типа C-15W - японской фирмы Hirado Ltd, а также установки: HRS-100, HRS-97, HRS-60, HRS-40, HRS-33, из публикаций в Горном журнале в июне 1996 г. Ю.А. Лебедевым, А.К. Горьковым, А.Б. Макаровым, В.Т. Колодиным в статье: "Безвзрывной раскол скального массива", стр. 35-40 - [1]. Способ блочного разрушения монолитных объектов включает бурение шпура или скважины, размещение в нем гидроклинового распорного устройства, имеющего клин и раздвижные матрицы, и пакера, включение насоса, заполнение жидкостью распорного устройства под давлением через канальную трубу, образование трещины, выключение насоса и извлечение распорного устройства. Недостатком данного способа является возможность его ограниченного использования в городских условиях для демонтажа объекта.

[4]

Общеизвестными способами разрушения объектов капитального строительства (зданий и сооружений) является их демонтаж с помощью обрушения посредством использования соответствующей строительной техники с целью механического воздействия на строительные конструкции - [2], а также посредством проведения взрывных работ - [3]. Поскольку нарушение устойчивости объекта при разрушении соответствующих связей в ходе демонтажа может повлечь за собой самопроизвольный обвал строительных конструкций, данной способ требует значительного увеличения ограждаемой площади участка, на котором ведутся строительные работы. Кроме этого, демонтаж общеизвестными способами сопровождается образованием значительного количества строительного мусора различных форм и размеров, требующего утилизации.

[5]

Наиболее близким аналогом, принятым в качестве прототипа, заявляемого способа является «Способ блочного разрушения монолитных объектов и устройства для его осуществления» (RU 2224106С2, Е21С 37/02, 2000.01, Е21С 37/08, 2000.01) - [4]. Реализация данного способа заключается в бурении шпура в скальной породе, размещении в нем гидроклинового распорного устройства, имеющего клин и раздвижные матрицы, и пакера.

[6]

В соответствии с известным способом на первом этапе перекрывают канальную трубу и статическим напором жидкости с помощью матриц распорного гидроклинового устройства формируют концентрацию напряжений в монолитном объекте в заданном направлении, затем открывают канальную трубу для выпуска струи, создавая гидродинамический удар по клину, образуют кумулятивную струю на выходе из распорного устройства, под действием которой и при динамическом напоре расклинивающих усилий образуют трещину в монолитном объекте. В соответствии со способом-прототипом процесс трещинообразования развивается следующим образом. Микротрещина возникает вначале при статическом нагружении во время перемещения канальной трубы с клиньями. Затем гидродинамический удар по направляющему конусу развивает микротрещины. Кумуляция увеличивает трещину до критических размеров, после чего эффективными становятся расклинивающие усилия. Расклинивающие усилия возрастают прямо пропорционально квадрату диаметра трещины. Процесс прекращается при выходе трещины на свободную поверхность или отключении насосов.

[7]

Недостатком указанного способа является отсутствие возможности его использования для разрушения железобетонных конструкций зданий и сооружений в виду его применимости для разрушения скальных пород. Кроме этого, существенным недостатком способа-прототипа является то, что в его описании не предусмотрено выполнение технологических операций, предусматривающих безопасное выполнение работ при демонтаже конструкций, а также операций, предусматривающих уменьшение размеров и конфигурации образовавшегося строительного мусора.

[8]

Задача, на решение которой направлено заявленное изобретение, заключается в подготовке к утилизации демонтируемой железобетонной конструкции и последующей ее утилизации с учетом удаления арматуры из структуры образовавшегося бетонного лома и перемещения конструкции от места демонтажа для обеспечения безопасности выполнения работ.

[9]

Технический результат, который реализуется при использовании предложенного технического решения, заключается в повышении технологической эффективности производства демонтажных работ за счет сокращения времени выполнения подготовительных работ с целью расчета отлета обломков конструкций при механическом разрушении объекта и определения мест механического воздействия, отсутствия необходимости проведения взрывных работ, привлечения крупногабаритной строительной техники за исключением одного крана, сокращения размера ограждаемого участка, на которой происходит демонтаж объекта капитального строительства, обеспечения уменьшения размеров образующегося при демонтаже строительного мусора и его последующей утилизации.

[10]

Указанный технический результат достигается следующим образом. Общими признаками прототипа и заявляемого способа является то, что в соответствии с известным способом пробуриваются шпуры и выполняется отбойка блока.

[11]

Отличительными признаками заявляемого способа являются:

[12]

1. выполнение сквозных отверстий после бурения в шпурах для строповки монолитной железобетонной конструкции, через которые петлей крепятся цепные стропы;

[13]

2. выполнение строповки с выборкой слабины цепей стропа;

[14]

3. выполнение алмазной резки монолитной железобетонной конструкции на блоки с помощью канатной машины в соответствии с грузоподъемностью крана;

[15]

4. перемещение блоков железобетонной конструкции краном к месту отбойки;

[16]

5. отбойка блока хаотично направленными трещинами отбойным молотком, установленным на экскаваторе;

[17]

6. выполнение удаления арматуры гидравлическими ножницами, установленными на экскаваторе;

[18]

7. измельчение образовавшегося бетонного лома в щековой дробилке;

[19]

8. упаковка и вывоз арматуры на металлообрабатывающий завод.

[20]

Совместное применение в заявляемом способе указанных отличительных признаков позволяет получить положительный эффект, который заключается в том, что при использовании данного способа повышается технологичность выполнения демонтажных работ, в частности, при крупноэлементной разборке монолитной железобетонной конструкции за счет вычленения железобетонной плиты из массива монолитного строения при алмазной резке канатной машиной, снижения трудоемкости отделения арматурных каркасов от бетона при демонтаже и отбойке бетонного камня хаотично направленными трещинами до образования бетонного лома и его измельчения в щековой дробилке.

[21]

Изобретение пояснено чертежами.

[22]

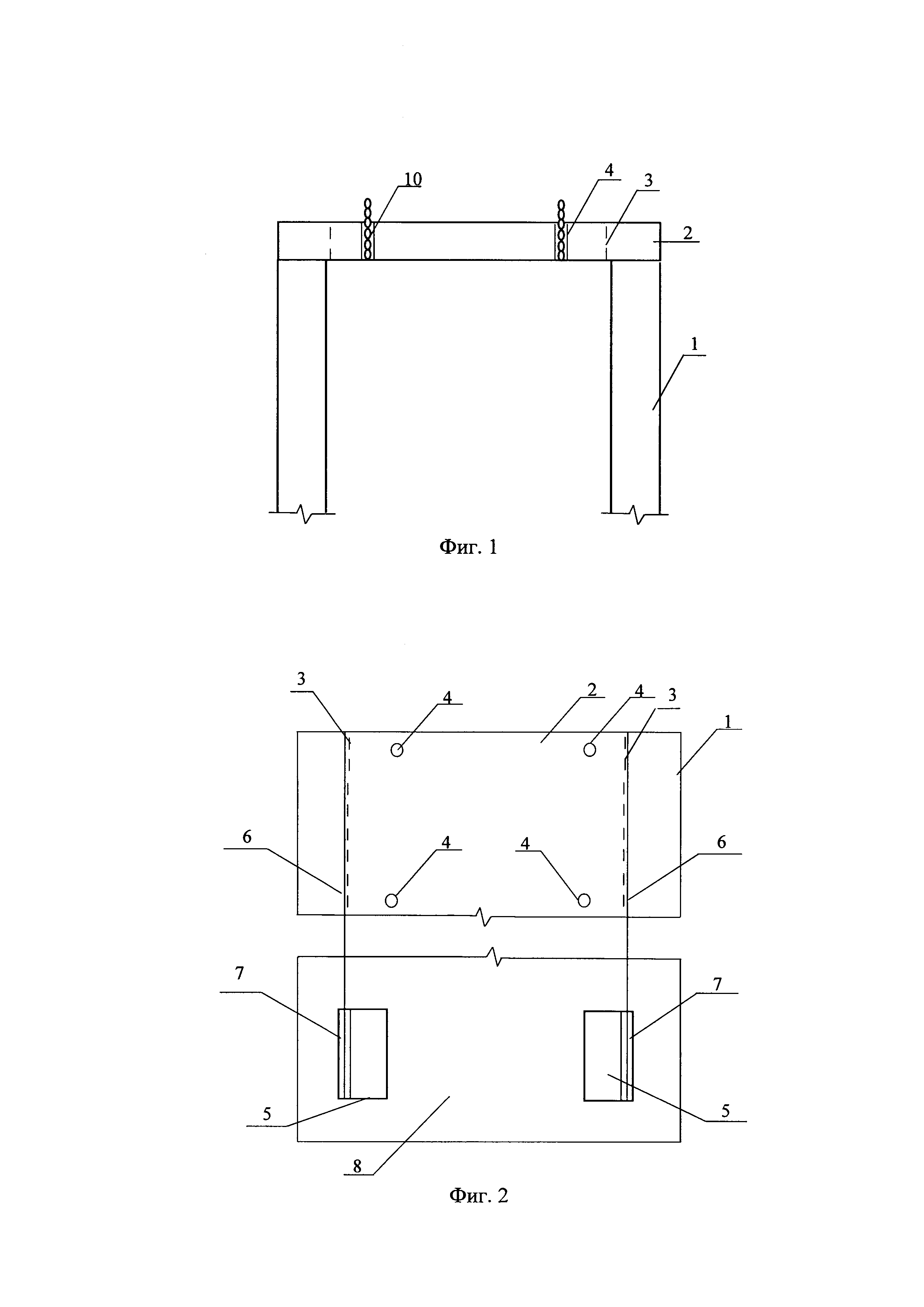
На фигуре 1 представлено устройство шпуров и строп для перемещения блока монолитной железобетонной конструкции к месту демонтажа.

[23]

На фигуре 2 представлена схема устройства распила монолитной железобетонной конструкции для вычленения блока из массива монолитной железобетонной конструкции.

[24]

На фигуре 3 представлено перемещение блока монолитной железобетонной конструкции к месту отбойки после вычленения из массива монолитной железобетонной конструкции.

[25]

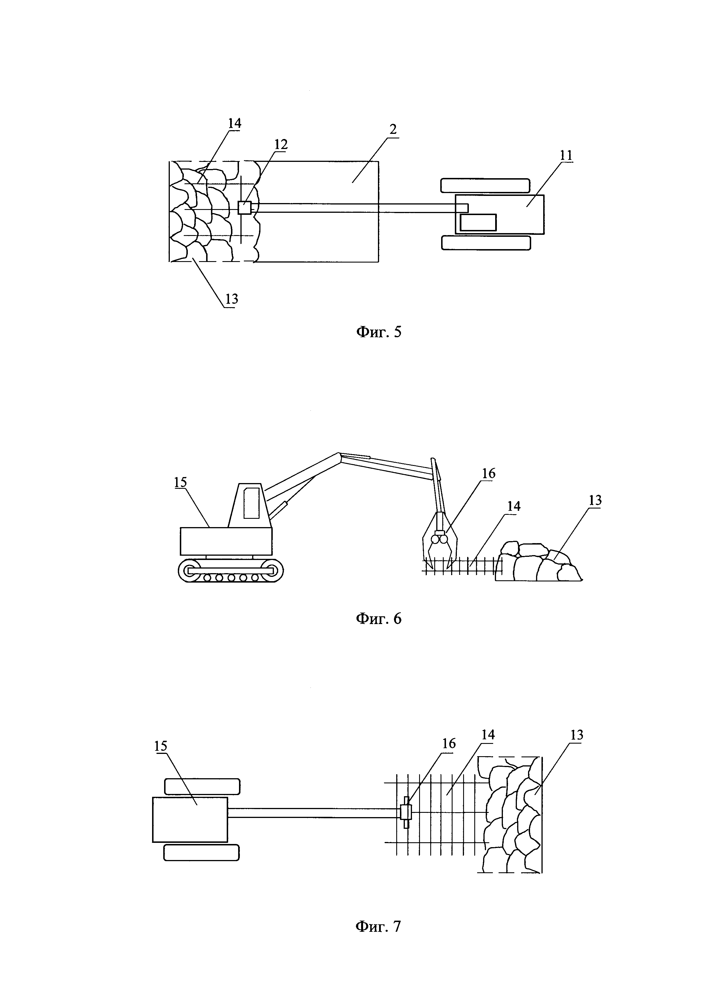
На фигурах 4 и 5 представлено выполнение отбойки блока монолитной железобетонной конструкции отбойным молотком, установленным на экскаваторе (вид сбоку и вид сверху).

[26]

На фигурах 6 и 7 представлено удаление арматуры гидравлическими ножницами, установленными на экскаваторе (вид сбоку и вид сверху).

[27]

На фигурах 1…7 используются следующие обозначения арабскими цифрами:

[28]

1 - железобетонная стена монолитной конструкции;

[29]

2 - железобетонная плита монолитной конструкции;

[30]

3 - место распила железобетонной конструкции для вычленения блока из массива монолитной железобетонной конструкции;

[31]

4 - шпур;

[32]

5 - канатная машина;

[33]

6 - трос с алмазным напылением;

[34]

7 - рабочий механизм канатной машины;

[35]

8 - рабочий участок монолитной железобетонной конструкции для размещения канатной машины;

[36]

9 - кран;

[37]

10 - четырехветвевой цепной строп;

[38]

11 - экскаватор с отбойным молотком;

[39]

12 - отбойный молоток;

[40]

13 - бетонный лом;

[41]

14 - арматура;

[42]

15 - экскаватор с гидравлическими ножницами;

[43]

16 - гидравлические ножницы.

[44]

Поскольку демонтаж монолитной железобетонной конструкции возможно осуществить неоднократно предложенным способом, данный способ является промышленно применимым.

[45]

Применение способа демонтажа монолитной железобетонной конструкции с утилизацией материалов от разборки допускается при заблаговременном расчленении единой монолитной железобетонной конструкции на два участка разрушением или распилом по вертикали для обеспечения технологических операций по размещению и работе канатной машины (5) на рабочем участке железобетонной плиты монолитной железобетонной конструкции (8), демонтаж которого с использованием разработанного способа не осуществляется.

[46]

Применение заявленного способа осуществляется следующим образом. Заблаговременно обеспечивается подготовка рабочего участка монолитной железобетонной плиты (8) для размещения канатной машины (5) с целью проверки отсутствия каких-либо соединений между участком монолитной железобетонной плиты (2), планируемым к демонтажу, и рабочим участком монолитной железобетонной плиты (8). Также перед началом производства работ заблаговременно выполняется установка канатных машин (5) на рабочем участке монолитной железобетонной плиты (8) с определением места распила железобетонной плиты (3) для вычленения блока из массива монолитной железобетонной конструкции и установка в необходимое положение с натяжением троса с алмазным напылением (6) канатной машины (5). При натяжении троса с алмазным напылением (6) проверяется соединение данного троса (6) с рабочим механизмом (7) канатной машины (5).

[47]

Следующим этапом является устройство четырех шпуров (4) в теле участка железобетонной плиты монолитной конструкции (2), планируемого к демонтажу, буром и выполнение сквозных отверстий в шпурах (4). Затем в сквозные отверстия шпуров (4) выполняется крепление четырехветвевого цепного стропа (10), который в свою очередь монтируется к стреле крана (9). Далее после крепления четырехветвевого цепного стропа (10) к стреле крана (9) осуществляется выборка слабины цепей стропа (10) с целью определения необходимого натяжения цепей стропа (10), а затем выполняется распил (алмазная резка) железобетонной плиты монолитной конструкции (2) для вычленения блока из массива монолитной железобетонной конструкции тросом с алмазным напылением (6) за счет работы канатной машины (5) (схема представлена на фигуре 2).

[48]

Алмазная резка железобетонной плиты монолитной конструкции (2) на блоки осуществляется с учетом грузоподъемности крана (9), который после алмазной резки выполняет перемещение блоков железобетонной плиты монолитной конструкции (2) к месту отбойки. Перемещение к месту отбойки осуществляется с соблюдением соответствующих норм и правил перемещения груза на строительной площадке с учетом расстояния отлета груза при повреждении стропа (10).

[49]

После перемещения блока железобетонной плиты монолитной конструкции (2) к месту отбойки реализуется разрушение блока отбойным молотком (12), являющегося технологическим оборудованием, соответствующим образом закрепленным на экскаваторе (11). За счет изменения угла воздействия отбойного молотка (12) экскаватора (11) на поверхность блока железобетонной плиты монолитной конструкции (2) при отбойке обеспечивается получение хаотично направленных трещин в структуре железобетона для образования бетонного лома (13).

[50]

Следующим этапом является удаление арматуры (14), участки которой оказались оголены в результате разрушения блока железобетонной плиты монолитной конструкции (2) при отбойке, с использованием гидравлических ножниц (16), являющихся технологическим оборудованием, соответствующим образом закрепленным на экскаваторе (15). После удаления арматуры (14) в непосредственной близости от места отбойки выполняется измельчение образовавшегося бетонного лома (13) в щековой дробилке (на фигурах не представлено), являющейся известным технологическим оборудованием, предназначенным для обеспечения рециклинга бетонных изделий. При этом щековая дробилка имеет технологическую возможность разделения образовавшегося щебня на три фракции. После измельчения бетонного лома (13) образуется материал для вторичного использования (щебень), который вывозится с объекта для последующей реализации.

[51]

На заключительном этапе после измельчения образовавшегося бетонного лома (13) выполняется упаковка арматуры (14), удаленной из образовавшегося бетонного лома (13) при отбойке, и ее вывоз соответствующим транспортно-технологическим оборудованием (экскаваторы, грузовой транспорт) на металлообрабатывающий завод для переработки.

[52]

Использованные источники

[53]

1. Лебедев Ю.А., Горьков А.К., Макаров А.Б., Колодин В.Т. Безвзрывной раскол скального массива. Горный журнал, 1996. - С. 35-40.

[54]

2. Черноиван В.Н., Леонович С.Н., Черноиван Н.В. Эффективные технологии производства работ по ликвидации не эксплуатируемых производственных объектов // Наука и техника. - Т. 15, №2. - 2016. - С. 95-106.

[55]

3. Ефрюшин С.В., Юрченко А.И. Исследование поведения динамически-изменяющейся расчетной схемы 4-этажного монолитного железобетонного каркаса при демонтажных работах взрывным способом // Строительная механика и конструкции. - 2020. - №2 (25). - С. 69-77.

[56]

4. Патент на изобретение РФ: RU 2224106 С2 от 20.02.2002, МПК Е21С 37/02, Е21С 37/08 «Способ блочного разрушения монолитных объектов и устройства для его осуществления».

Как компенсировать расходы
на инновационную разработку
Похожие патенты