патент
№ RU 2778520
МПК G01N1/10

Пробоотборник закрытого типа для осуществления отбора проб нефти/нефтепродукта

Авторы:
Сазонова Мария Алексеевна
Номер заявки
2021127190
Дата подачи заявки
15.09.2021
Опубликовано
22.08.2022
Страна
RU
Как управлять
интеллектуальной собственностью
Чертежи 
3
Реферат

[73]

Изобретение относится к устройствам отбора проб нефти и нефтепродуктов закрытого типа, предназначенным для герметичного взятия точечных проб нефти или нефтепродуктов из резервуаров для хранения или иных емкостей, например ж/д и автоцистерн с заданной глубины. Раскрыт пробоотборник закрытого типа для осуществления отбора проб нефти или нефтепродукта, содержащий основной корпус, крышку основного корпуса, емкость для отбора пробы и подъемный механизм с рукояткой, расположенный на крышке основного корпуса. Пробоотборник дополнительно содержит шаровый кран, емкость для отбора пробы содержит крышку, снабженную шарниром, разделяющим крышку емкости для отбора пробы на подвижную и неподвижную части, подъемный механизм включает два шкива, расположенные на одной оси на шпоночном соединении, втулку, измерительную и вспомогательную ленты, прикрепленные к неподвижной и подвижной частям крышки емкости для отбора пробы соответственно, и фиксатор, расположенный на оси подъемного механизма, причем длина вспомогательной ленты больше длины измерительной ленты, на внешней стороне основного корпуса расположена емкость с подвижным поршнем, а на внутренней части крышки основного корпуса расположен стопорный элемент. Изобретение обеспечивает повышение эффективности работы пробоотборника закрытого типа за счет исключения контакта оператора с вредными парами нефти и нефтепродуктов, повышения достоверности отобранной пробы и увеличения производительности выполнения работы. 4 з.п. ф-лы, 3 ил.

Формула изобретения

1. Пробоотборник закрытого типа для осуществления отбора проб нефти или нефтепродукта, содержащий основной корпус, крышку основного корпуса, емкость для отбора пробы и подъемный механизм с рукояткой, расположенный на крышке основного корпуса, отличающийся тем, что дополнительно содержит шаровый кран, емкость для отбора пробы содержит крышку, снабженную шарниром, разделяющим крышку емкости для отбора пробы на подвижную и неподвижную части, подъемный механизм включает два шкива, расположенные на одной оси на шпоночном соединении, втулку, измерительную и вспомогательную ленты, прикрепленные к неподвижной и подвижной частям крышки емкости для отбора пробы соответственно, и фиксатор, расположенный на оси подъемного механизма, причем длина вспомогательной ленты больше длины измерительной ленты, на внешней стороне основного корпуса расположена емкость с подвижным поршнем, а на внутренней части крышки основного корпуса расположен стопорный элемент.

2. Пробоотборник закрытого типа по п. 1, отличающийся тем, что на внутренней поверхности крышки основного корпуса расположены очистные ролики.

3. Пробоотборник закрытого типа по любому из пп. 1, 2, отличающийся тем, что на внешней поверхности основного корпуса расположен клапан для сброса избыточного давления.

4. Пробоотборник закрытого типа по п. 3, отличающийся тем, что емкость для отбора проб выполнены из латуни.

5. Пробоотборник по п. 4, отличающийся тем, что длина вспомогательной ленты больше длины измерительной ленты на величину, равную радиусу подвижной крышки.

Описание

[1]

ОБЛАСТЬ ТЕХНИКИ, К КОТОРОЙ ОТНОСИТСЯ ИЗОБРЕТЕНИЕ

[2]

Изобретение относится к устройствам отбора проб нефти или нефтепродуктов закрытого типа, предназначенным для герметичного взятия точечных проб нефти или нефтепродуктов из резервуаров для хранения или иных емкостей, например ж/д и автоцистерн с заданной глубины.

[3]

УРОВЕНЬ ТЕХНИКИ

[4]

Эффективность работы (выполнения своего функционального назначения и получения требуемого результата) пробоотборника закрытого типа складывается из следующих параметров:

[5]

1) исключение или минимизация контакта оператора, осуществляющего отбор пробы, с вредными парами нефти и нефтепродуктов, находящимися в резервуаре;

[6]

2) обеспечение точности отбора пробы с заданной глубины, т.е. точного позиционирования пробоотборника на заданную глубину резервуара и не менее значимо сохранения качества и количества отобранного продукта в первоначальном (отобранном) виде, т.е. обеспечение достоверности и заданного объема пробы;

[7]

3) производительность работы устройства.

[8]

Из уровня техники известна стационарная система отбора проб с измерительным люком (RU 192558 U1, 23.09.2019, патентообладатель: Общество с ограниченной ответственностью "Научно-производственное объединение Машиностроения "Сварог" (RU)), содержащая с установочным фланцем цилиндрический корпус, внутри которого расположен пробоотборник, закрепленный на перфорированной ленте посредством подвеса, силовую стойку с фиксатором в верхней части, установленную вдоль корпуса свободно в кронштейне, закрепленном на корпусе, устройство намотки перфорированной ленты, устройство прямого слива со сливной трубкой, смотровые окна, счетчик глубины погружения, причем устройство намотки соединено с крышкой корпуса и силовой стойкой, а силовая стойка выполнена в виде трубы на стержне, жестко закрепленном к нижней части корпуса, при этом в верхней части цилиндрического корпуса, на его внутренней поверхности, жестко закреплена П-образная направляющая планка на расстоянии, равном (0,1÷0,5)h от верхней кромки цилиндрического корпуса, причем ширина паза направляющей планки соответствует h, а длина планки составляет (1,5÷2,0)h, где h - ширина ленты измерительной рулетки. Пробоотборник представляет собой нержавеющий сосуд, в который отбирается проба. Перфорированная лента закреплена на ступице барабана гайкой М 4 и намотана на барабан в устройстве намотки, которое соединено с крышкой корпуса и силовой стойкой.

[9]

Также из уровня техники известно устройство для закрытого отбора проб нефти и нефтепродуктов из резервуара (RU 178121 U1, 23.03.2018, патентообладатель: Общество с ограниченной ответственностью "Научно-производственное объединение Машиностроения "Сварог" (RU)), содержащее с установочным фланцем цилиндрический корпус, внутри которого расположен пробоотборник, закрепленный на перфорированной ленте посредством подвеса, силовую стойку с фиксатором в верхней части, установленную вдоль корпуса свободно в кронштейне, закрепленном на корпусе, устройство намотки перфорированной ленты, устройство прямого слива со сливной трубкой и шторкой, смотровые окна, счетчик глубины погружения, причем устройство намотки соединено с крышкой корпуса и силовой стойкой, а силовая стойка выполнена в виде трубы на стержне, жестко закрепленном к нижней части корпуса, при этом сливная трубка устройства прямого слива установлена на фланце в подвижной шторке через манжету и свободно установлена в хомут, закрепленный на фланце корпуса, а соединение корпуса с подвижной шторкой устройства прямого слива выполнено с уплотнительным кольцом, кроме того, высота подъема h трубы силовой стойки от кронштейна задана выражением h>l1+l2, где l1 - длина пробоотборника, l2 - длина подвеса.

[10]

Кроме того, из уровня техники известна стационарная система отбора проб с измерительным люком, содержащая с установочным фланцем цилиндрический корпус, внутри которого расположен пробоотборник, закрепленный на перфорированной ленте посредством подвеса, силовую стойку с фиксатором в верхней части, установленную вдоль корпуса свободно в кронштейне, закрепленном на корпусе, устройство намотки перфорированной ленты, устройство прямого слива со сливной трубкой, смотровые окна, счетчик глубины погружения, причем устройство намотки соединено с крышкой корпуса и силовой стойкой, а силовая стойка выполнена в виде трубы на стержне, жестко закрепленном к нижней части корпуса (см. RU 2696448 С1 от 01.08.2019, патентообладатель: Общество с ограниченной ответственностью "Научно-производственное объединение Машиностроения «Сварог»). Сливная трубка выполнена из трех частей: приемной трубки, перепускной камеры и трубки слива. Перепускная камера цилиндрической формы шарнирно закреплена в устройстве прямого слива. Приемная трубка выполнена из трубы, изогнутой в одной плоскости и жестко закреплена одним концом с цилиндрической частью перепускной камеры. Трубка слива выполнена из трубы, изогнутой в двух перпендикулярных плоскостях и жестко соединена одним концом с торцом перепускной камеры. В зоне соединения на трубке слива предусмотрен прямолинейный участок, находящийся в зоне радиального подвижного уплотнения, установленного в корпусе устройства прямого слива. Причем внутренняя полость перепускной камеры выполнена в виде двух перпендикулярно расположенных цилиндрических каналов, соединенных между собой и внутренними полостями приемной трубки и трубки слива.

[11]

При некоторых различиях в конструкции известных из уровня техники аналогов, общим недостатком устройств закрытого типа для отбора пробы является недостаточная эффективность их работы по следующим причинам.

[12]

Рассматриваемые пробоотборники предназначены для закрытого отбора проб нефти и нефтепродуктов, т.е. потенциально исключают контакт оператора с вредными парами нефти и нефтепродуктов при осуществлении отбора пробы. Однако, при первичном закреплении пробоотборника к крышке цилиндрического корпуса присутствует испарение опасных паров нефти или нефтепродукта из полости резервуара в рабочую среду, в связи с чем во время данной операции оператор контактирует с вредными испарениями, в связи с чем снижается эффективность работы пробоотборника закрытого типа.

[13]

Операция забора пробы в известных аналогах осуществляется с помощью открытия верхнего клапана пробоотборника. При достижении заданной глубины, открытие верхнего клапана пробоотборника осуществляется резким обратным движением рукоятки, которое приводит к натяжению перфорированной ленты и открытию клапана. Подъем пробоотборника с отобранным продуктом (пробой) осуществляется посредством движения вверх той же перфорированной ленты, связанной с пробоотборником через подвес и открывающей обратный клапан, т.е. при открытом верхнем клапане, так как отсутствует механизм возвращения клапана в исходное положение, а перфорированная лента натянута. В связи с чем при подъеме пробоотборника из резервуара существует высокая вероятность смешения слоев пробы и как следствие снижение точности пробы (достоверности) т.е. снижение результата работы, в связи с чем снижается эффективность работы пробоотборника.

[14]

Операция слива пробы в известных аналогах осуществляется посредством подключения нижнего клапана пробоотборника к сливной трубке, контроль за которым осуществляется через специализированные смотровые окна. При этом, в случае применения пробоотборника на резервуарах с сырой нефтью смотровые окна могут быть загрязнены частично или полностью, что затрудняет или делает контроль за подключением невозможным и оператор вынужден осуществить маневр вслепую, что требует затраты большего времени, т.е. снижает производительность проведения отбора, а также может привести к потере некоторого количества отобранного продукта при сливе (его стекание обратно в резервуар), в связи с чем потребуется повторный отбор пробы и время на проведение операции увеличится, что снижает эффективность работы устройства.

[15]

РАСКРЫТИЕ СУЩНОСТИ ИЗОБРЕТЕНИЯ

[16]

Технической задачей, на решение которой направлено заявляемое изобретение, является создание устройства закрытого типа для осуществления отбора проб нефти или нефтепродуктов, лишенного указанных выше недостатков.

[17]

Технический результат, достигаемый при реализации заявляемого изобретения, заключается в повышении эффективности работы устройства закрытого типа для осуществления отбора пробы нефти или нефтепродукта (выполнения своего функционального назначения и получения требуемого результата), посредством сокращения контакта оператора с вредными испарениями продуктов, находящихся в резервуарах, в том числе при отборе проб через вспомогательные или замерные люки не оборудованные перепускными или отсекающими клапанами, повышения точности (достоверности) отбора пробы с заданной глубины и увеличения производительности проведения операции.

[18]

Заявляемый технический результат достигается за счет того, что пробоотборник закрытого типа для осуществления отбора проб нефти и нефтепродукта, содержащий основной корпус, крышку основного корпуса, емкость для отбора пробы и подъемный механизм с рукояткой, расположенный на крышке основного корпуса, дополнительно содержит шаровый кран, емкость для отбора пробы содержит крышку, снабженную шарниром, разделяющим крышку емкости для отбора пробы на подвижную и неподвижную части, подъемный механизм включает два шкива, расположенные на одной оси на шпоночном соединении, втулку, измерительную и вспомогательную ленты, прикрепленные к неподвижной и подвижной частям крышки емкости для отбора пробы соответственно, причем длина вспомогательной ленты больше длины измерительной ленты, и фиксатор, расположенный на оси подъемного механизма, на внешней стороне основного корпуса расположена емкость с подвижным поршнем, а на внутренней части крышки основного корпуса расположен стопорный элемент.

[19]

Дополнительно пробоотборник закрытого типа для осуществления отбора проб нефти и нефтепродукта может включать очистные ролики и клапан для сброса избыточного давления.

[20]

Предпочтительно, чтобы емкость с подвижным поршнем была выполнена съемной, а длина вспомогательной ленты была больше длины измерительной ленты на величину равную радиусу подвижной крышки.

[21]

КРАТКОЕ ОПИСАНИЕ ЧЕРТЕЖЕЙ

[22]

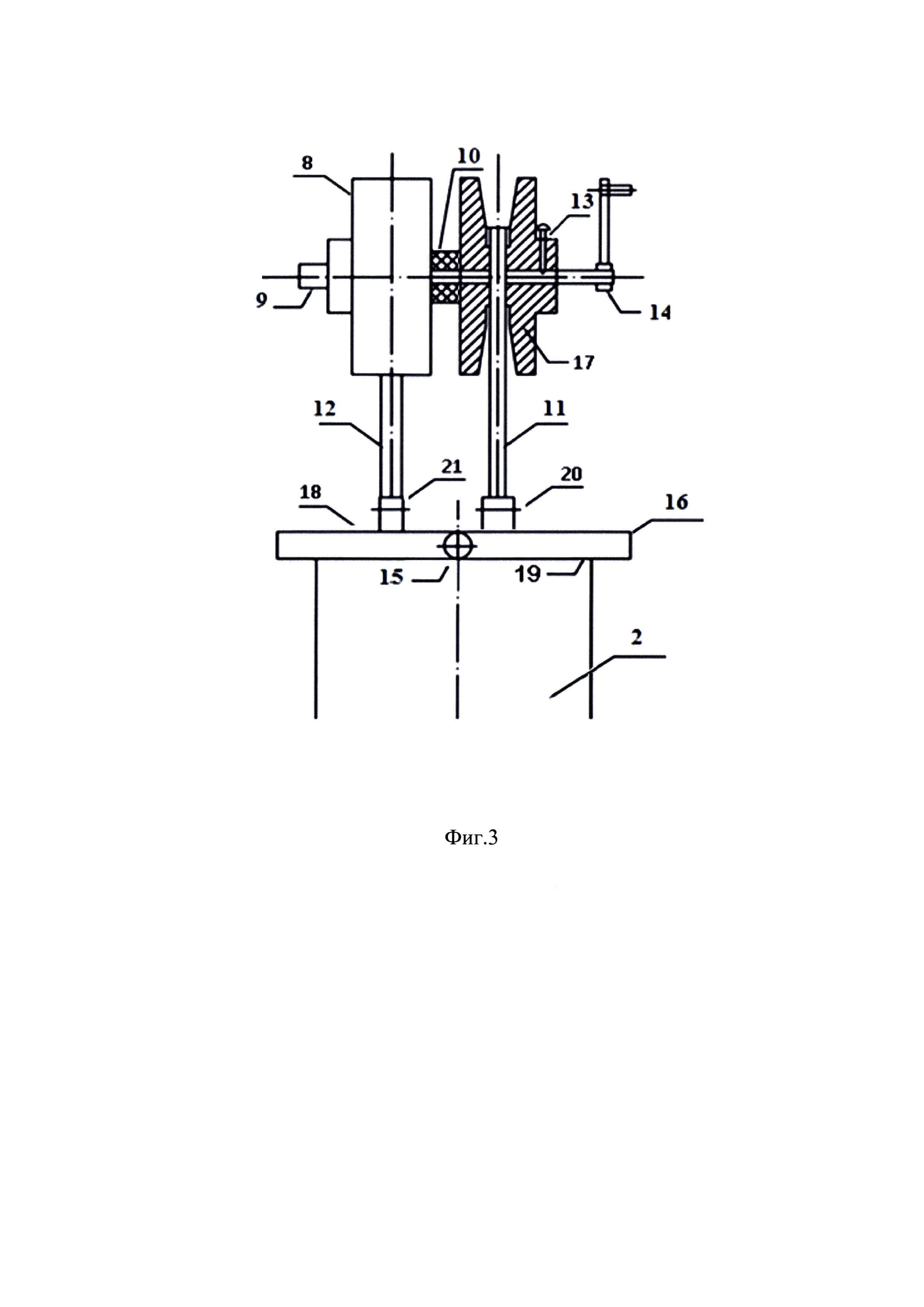
Пробоотборник закрытого типа для осуществления отбора проб нефти/нефтепродукта иллюстрируется фигурами 1-3, где на фиг. 1 изображен общий вид пробоотборника закрытого типа для осуществления отбора проб нефти и нефтепродукта, на фиг. 2 - вид А пробоотборника закрытого типа для осуществления отбора проб нефти и нефтепродукта, на фиг. 3 - подъемный механизм пробоотборника закрытого типа для осуществления отбора проб нефти и нефтепродукта.

[23]

Позиции на фигурах 1-3 имеют следующие обозначения:

[24]

1 - основной корпус

[25]

2 - емкость для отбора пробы

[26]

3 - крышка основного корпуса

[27]

4 - емкость с подвижным поршнем

[28]

5 - очистные ролики

[29]

6 - клапан для сброса избыточного давления

[30]

7 - шаровый кран

[31]

8 - первый шкив

[32]

9 - ось

[33]

10 - втулка

[34]

11 - измерительная лента

[35]

12 - вспомогательная лента

[36]

13 - фиксатор

[37]

14 - рукоятка

[38]

15 - шарнир

[39]

16 - крышка емкости для отбора пробы

[40]

17 - второй шкив

[41]

18 - подвижная часть крышки емкости для отбора пробы

[42]

19 - неподвижная часть крышки емкости для отбора пробы

[43]

20 - ушко неподвижной части крышки

[44]

21 - ушко подвижной части крышки.

[45]

СВЕДЕНИЯ, ПОДТВЕРЖДАЮЩИЕ ВОЗМОЖНОСТЬ ОСУЩЕСТВЛЕНИЯ ИЗОБРЕТЕНИЯ

[46]

Пробоотборник закрытого типа для осуществления отбора проб нефти и нефтепродукта содержит основной корпус (1), крышку основного корпуса (3), емкость для отбора пробы (2) и подъемный механизм с рукояткой, расположенный на крышке основного корпуса (3).

[47]

Основной корпус (1) представляет собой полый цилиндр, сверху которого расположена крышка основного корпуса (3), герметично перекрывающая его внутреннее пространство, а снизу - фланец для установки основного корпуса (1) на шаровый кран (7). Шаровый кран (7) выполняет функцию отсекающего элемента, корпус шарового крана (7) содержит верхний фланец для соединения с основным корпусом (1) и нижний фланец для установки на вспомогательный люк резервуара, за счет чего значительно снижается контакт оператора с вредными парами нефти или нефтепродукта, а также исключается выход испарений в окружающую среду и обеспечивается возвращение паров внутрь резервуара. Преимущество шарового крана (7) заключается в более высоком герметичном классе, по сравнению, например, с клиновыми задвижками, а также в возможности пропуска емкости для забора проб (2) в пространство резервуара через пропускное сечение шарового крана в положение «открыто». Кроме того, конструкция шарового крана (7) проста и унифицирована, в связи с чем имеет широкий типоразмер и высокую ремонтопригодность.

[48]

Также внутри основного корпуса (1) расположена емкость для отбора пробы (2), предназначенная непосредственно для забора пробы. Емкость для отбора пробы (2) представляет собой тонкостенный цилиндрический сосуд (толщина его не превышает 4 мм) предпочтительно из искронеобразующего материала - латуни - с крышкой (16) того же диаметра.

[49]

Крышка емкости для отбора пробы (16) состоит из двух частей, соединенных шарниром (15): подвижной части крышки емкости для отбора (18) и неподвижной части крышки емкости для отбора (19).

[50]

Неподвижная часть крышки емкости для отбора пробы (19) представляет собой припаянный к верхним кромкам емкости для отбора пробы (2) полукруг. На неподвижной части крышки емкости для отбора пробы (19) расположено ушко (20), предназначенное для зацепления с измерительной лентой (11) с помощью держателя, находящегося на конце измерительной ленты (11), для перемещения емкости для отбора пробы (2) на заданную глубину резервуара для осуществления точечного отбора проб.

[51]

Подвижная часть крышки емкости для отбора пробы (18) представляет собой полукруг, шарнирно закрепленный с неподвижной частью крышки емкости для отбора пробы (19) с помощью шарнира (15). На подвижной части крышки емкости для отбора пробы (18) расположено ушко (21), предназначенное для зацепления со вспомогательной лентой (12), с помощью держателя, находящегося на конце вспомогательной ленты (12), для осуществления открытия/закрытия подвижной части крышки емкости для отбора пробы (18).

[52]

Подъемный механизм включает первый (8) и второй (17) шкивы, расположенные на одной оси на шпоночном соединении, втулку (10), измерительную ленту (11) и вспомогательную ленту (12), прикрепленные к крышке пробоотборника (16), фиксатор (13) и рукоятку (14). Подъемный механизм установлен на крышке основного корпуса (3) на опорах посредством сварки (см. фиг. 2).

[53]

Первый и второй шкивы (8, 17) расположены на одной оси (9) на шпоночном соединении. Между шкивами (8, 17) на оси (9) расположена втулка (10), которая представляет собой цилиндр из текстолита и предназначена для конструктивного расстояния между шкивами.

[54]

На первом шкиве (8) расположена вспомогательная лента (12). Первый шкив (8) выполняет функцию открытия и закрытия подвижной части крышки емкости для отбора пробы (18).

[55]

На втором шкиве (17) расположена измерительная лента (11). Второй шкив (17) предназначен для подъема и опускания емкости для отбора пробы (2) на заданную глубину резервуара.

[56]

На оси (9) расположен фиксатор (13), выполненный с возможностью фиксации второго шкива (17) от вращения, представляющий собой цилиндр с головкой в верхней части и конусом с противоположной стороны для упора в ось, и предназначенный для регулирования подвижности: при опущенном фиксаторе оба шкива (8), (17) крутятся одновременно, фиксатор (13) поднят - подвижным остается только первый шкив (8).

[57]

Первый (8) и второй (17) шкивы приводятся в движение посредством рукоятки (14).

[58]

Измерительная (11) и вспомогательная (12) ленты представляют собой ленту плоского сечения, изготовленную из мягкой пружинной стали, на концах которых расположены держатели, например, карабины или крюки. На измерительную ленту (11) нанесены деления с шагом в 1 мм, для совершения отбора с расчетного уровня, с точностью до десятых долей. Длина вспомогательной ленты (12) больше длины измерительной ленты (11) для беспрепятственного открытия подвижной части крышки емкости для отбора пробы (18) во время забора пробы и исключения риска ее непреднамеренного открытия при движении, что повышает достоверность полученной пробы и как следствие повышает эффективность пробоотборника. Причем предпочтительно, чтобы длина вспомогательной ленты (12) была больше длины измерительной ленты (11) на величину равную радиусу подвижной крышки (18) емкости для отбора пробы (2), т.к. при значительном превышении этой величины - вспомогательная лента будет свободно лежать на крышке емкости для отбора пробы (16), в том числе на ее неподвижной части (19) и может запутаться с измерительной лентой (11).

[59]

Измерительная лента (11) расположена на втором шкиве (17) и прикреплена к неподвижной части крышки емкости для отбора пробы (19) через ушко (20) держателем.

[60]

Вспомогательная лента (12) расположена на первом шкиве (8) и прикреплена к подвижной части крышки емкости для отбора пробы (18) через ушко (21) держателем.

[61]

Снаружи на основном корпусе (1) посредством кронштейнов установлена емкость с подвижным поршнем (4), которая предназначена для слива пробы из емкости для отбора пробы (2). Емкость с подвижным поршнем (4) представляет собой полый цилиндрический сосуд с крышкой и поршнем с Т-образной ручкой. При этом в днище емкости с подвижным поршнем (4) выполнено отверстие для прохода Т-образной ручки вниз за пределы цилиндрического сосуда. В указанном отверстии установлено уплотнительное кольцо, не позволяющее пробе вытекать за пределы емкости с подвижным поршнем (4). Длина Т-образной ручки рассчитывается таким образом, чтобы оставался зазор между рукоятью и нижней частью сосуда для удобства захвата оператором. Емкость с подвижным поршнем (4) содержит кран для слива пробы в тару. Кроме того, предпочтительно, чтобы емкость с подвижным поршнем (4) устанавливалась на кронштейнах с возможностью снятия для дальнейшего ее обслуживания, ремонта или замены.

[62]

Также снаружи основного корпуса (1) может быть расположен клапан для сброса избыточного давления (6).

[63]

На внутренней части крышки основного корпуса (3) установлен стопор (на фигурах не показан), представляющий собой выступающую планку и предназначенный для остановки емкости для отбора пробы (2) на требуемом уровне для слива продукта из емкости для отбора пробы (2) в емкость с подвижным поршнем (4). Дополнительно на внутренней поверхности крышки основного корпуса (3) могу быть расположены очистные ролики (5), предназначенные для направления и очистки измерительной (11) и вспомогательной (12) лент.

[64]

РАБОТА УСТРОЙСТВА ОСУЩЕСТВЛЯЕТСЯ СЛЕДУЮЩИМ ОБРАЗОМ.

[65]

Первоначально на вспомогательный люк резервуара для хранения нефти и нефтепродуктов устанавливается отсекающий элемент - шаровый кран (7), на который, с помощью фланца, крепится основной корпус (1). Перед размещением емкости для отбора пробы (2) в основной корпус (1) необходимо убедиться, что шаровый кран (7) находится в положении «закрыт», а клапан для сброса избыточного давления (6) (при его наличии) - в рабочем состоянии. После чего оператором открывается и фиксируется верхняя крышка основного корпуса (3), емкость пробоотборника (2) закрепляется к измерительной (11) и вспомогательной (12) лентам с помощью держателей, расположенных на концах лент (11, 12), например, карабинов или крюков, и колец (20, 21), расположенных на подвижной (18) и неподвижной (19) частях крышки емкости для отбора пробы (2).

[66]

Наличие отсекающего элемента - шарового крана (7) ограничит выброс вредных паров нефти и нефтепродуктов в окружающую среду и исключает их контакт с оператором во время установки емкости для отбора проб (2) в основной корпус (1) при отборе проб из резервуаров, находящихся в эксплуатации и не оборудованных отсекающим или перепускающим клапаном на люке резервуара, чем повышает эффективность закрытого принципа отбора пробы.

[67]

Затем проверяется герметичность всех элементов установки. Шаровый кран (7) переводится в положении «открыто» и емкость для отбора пробы (2) опускается на расчетную величину, для взятия пробы с заданного уровня. Вращением рукоятки (14) «от себя» емкость для отбора пробы (2) опускается через основной корпус (1) на расчетную величину, фиксатор (13), находящийся на оси (9), опущен и оба шкива (8, 17) крутятся одновременно, измерительная (11) лента натянута.

[68]

При этом подвижная часть крышки емкости для отбора пробы (18) находится в положении «закрыто», т.е. плотно прилегает к верхним кромкам корпуса емкости пробоотборника (2) за счет давления столба жидкости в резервуаре и распределения основной массы емкости для отбора пробы (2) на измерительную (11) ленту, за счет ее натяжения, в то время как вспомогательная (12) лента находится в не полностью натянутом состоянии из-за разниц длин. Увеличение длины вспомогательной (12) ленты на величину равную радиусу подвижной крышки (18) исключает возможность сильного натяжения вспомогательной ленты (12), которое может привести к непроизвольному открытию крышки (18) при опускании емкости для отбора пробы (2) вниз.

[69]

После достижения необходимой отметки на измерительной ленте (11), фиксатор (13) поднимается, первый шкив (8) и второй шкив (17) разделяются, подвижным остается первый шкив (8) и соответственно вспомогательная лента (12). Вращением рукоятки (14) «на себя» вспомогательная лента (12) поднимает подвижную часть крышки емкости для отбора пробы (18) для поступления в нее отбираемой жидкости - нефти или нефтепродукта. После завершения отбора пробы вращением рукоятки (14) в обратном направлении, с контролем натяжения вспомогательной ленты (12), осуществляется закрытие подвижной части крышки емкости для отбора пробы (18), фиксатор (13) возвращается в исходное положение, и емкость для отбора пробы (2) поднимается внутри основного корпуса (1) посредством вращения рукоятки (14), наматывания на второй шкив (17) измерительной ленты (11), прикрепленной к неподвижной части крышки емкости для отбора пробы (19), до стопорного элемента, расположенного на внутренней стороне крышки основного корпуса (3). Одновременно, учитывается пространство, для свободного помещения гибкого шланга в емкость для отбора пробы (2). При этом подвижная часть крышки емкости для отбора пробы (18) находится в положении «закрыто», т.е. плотно прилегает к верхним кромкам емкости пробоотборника (2) за счет того, что подъем осуществляется посредством второго шкива (17) с измерительной лентой (11), а вспомогательная лента (12) не натягивается. Таким образом, модернизация подъемного механизма и конструкции крышки емкости для отбора пробы (2) в заявленном изобретении обеспечивает ее возвращение в герметичное положение после отбора пробы и во время движения емкости с отобранной пробой вверх, тем самым увеличивая точность пробы с определенного уровня (достоверность пробы), так как исключается вероятность смешения слоев, как, например, при подъеме пробоотборника с открытым клапаном в известных из уровня техники аналогах, что повышает точность результата работы пробоотборника и соответственно его эффективность.

[70]

Кроме того, модернизация крышки и подъемного механизма, позволяет расположить измерительную (11) и вспомогательную (12) ленты по существу параллельно между собой, за счет чего исключается их перекручивание, смещение от заданной траектории движения и запутывание между собой, в связи с чем во время подъема емкости для отбора пробы (2) с продуктом отсутствует ее перекос относительно основного корпуса (1) и потенциальный розлив пробы, т.е. проба доставляется в требуемом объеме с первого раза, исключается вероятность повторного отбора пробы и повышается эффективность работы устройства. Кроме того, такой перекос в закрытом основном корпусе (1) без контроля процесса оператором (в отличие от открытого принципа отбора пробы) может вызвать удар емкости для отбора пробы (2) о стенку основного корпуса (1), что потенциально может привести к образованию искры и возгоранию. В связи с чем, модернизация крышки и подъемного механизма, а также дополнительно изготовление емкости для отбора пробы (2) из искронеобразующего материала - латуни повышает безопасность проведения работ.

[71]

Фиксатор (13) позволяет осуществить управление первым (8) и вторым (17) шкивами, расположенными на одной оси (10), при помощи одной рукоятки (14), т.е. одной рукой оператора, что в свою очередь обеспечивает равномерную скорость подъема и также исключается перекос емкости для отбора пробы (2) относительно основного корпуса (1), непреднамеренное открытие подвижной части крышки пробоотборника (18) и потенциальный розлив пробы, т.е. проба доставляется в требуемом объеме с первого раза, исключается вероятность повторного отбора пробы и повышается эффективность работы устройства, а также дополнительно повышается безопасность проведения работ.

[72]

Шаровый кран (7) возвращается в положение «закрыто», после чего следует операция слива отобранной пробы. Для слива отобранной пробы через канал, предусмотренный в емкости с поршнем (4), гибкий шланг запускается в емкость для отбора пробы (2) для извлечения всего отобранного продукта в емкость с поршнем (4). Посредством поршня оператор осуществляет опорожнение емкости для отбора пробы (2) и слив продукта в емкость с поршнем (4). Из емкости с поршнем (4) проба может сливается в тару с помощью крана или оставаться в самой емкости для дальнейшей транспортировки. Поскольку подъем емкости для отбора пробы (2) осуществляется до стопора, расположенного на внутренней части крышки основного корпуса (2), а перекос емкости для отбора пробы (2) исключен, то контроль за введением гибкого шланга в полость емкости для отбора пробы (2) не требуется, отсутствует необходимость применения смотровых окон, используемых в известных из уровня техники аналогах, и оператору не требуется затрачивать время на стыковку сливной трубки с клапаном, а потеря какого-либо количества пробы вследствие неправильной стыковки исключается, в связи с чем увеличивается точность отбора пробы, производительность работы устройства для отбора проб, и в итоге повышение эффективности работы устройства.

Как компенсировать расходы
на инновационную разработку
Похожие патенты