Использование: в области электротехники. Технический результат - улучшение массогабаритных и виброакустических характеристик автономной системы надежного электроснабжения при стабилизации напряжений сетей переменного и постоянного тока и гальванической развязке между сетями. Автономная система надежного электроснабжения содержит синхронный генератор со статором, аккумуляторную батарею, активный выпрямитель напряжения. Согласно изобретению, в пазы пакета статора основной трехфазной обмотки статора укладывается дополнительная трехфазная обмотка, соединенная в звезду; начала которой соединены с тремя буферными реакторами и тремя фильтровыми конденсаторами активного выпрямителя напряжения. Основная трехфазная обмотка и дополнительная трехфазная обмотка имеют общий - магнитопровод, а коэффициент трансформации между основной трехфазной обмоткой и дополнительной трехфазной обмоткой выбирается исходя из соотношения значений напряжений основной сети переменного тока и резервной сети постоянного тока. 6 ил.
Автономная система надежного электроснабжения, содержащая синхронный генератор со статором, содержащим основную трехфазную обмотку, соединенную в звезду, которая образует основную сеть переменного тока, к которой подключены потребители переменного тока, и ротором с постоянными магнитами, приводимым во вращение движителем с постоянной частотой вращения, аккумуляторную батарею, которая образует резервную сеть постоянного тока, к которой подключены потребители постоянного тока, и активный выпрямитель напряжения, содержащий шесть транзисторов, шесть обратных диодов, три буферных реактора со стороны трех фаз сети переменного тока, три фильтровых конденсатора параллельно трем фазам сети переменного тока и конденсатор со стороны сети постоянного тока, подключенный параллельно к аккумуляторной батарее, отличающаяся тем, что в пазы пакета статора основной трехфазной обмотки статора укладывается дополнительная трехфазная обмотка, соединенная в звезду, начала которой соединены с тремя буферными реакторами и тремя фильтровыми конденсаторами активного выпрямителя напряжения, причем основная трехфазная обмотка и дополнительная трехфазная обмотка имеют общий магнитопровод, а коэффициент трансформации между основной трехфазной обмоткой и дополнительной трехфазной обмоткой выбирается, исходя из соотношения значений напряжений основной сети переменного тока и резервной сети постоянного тока.
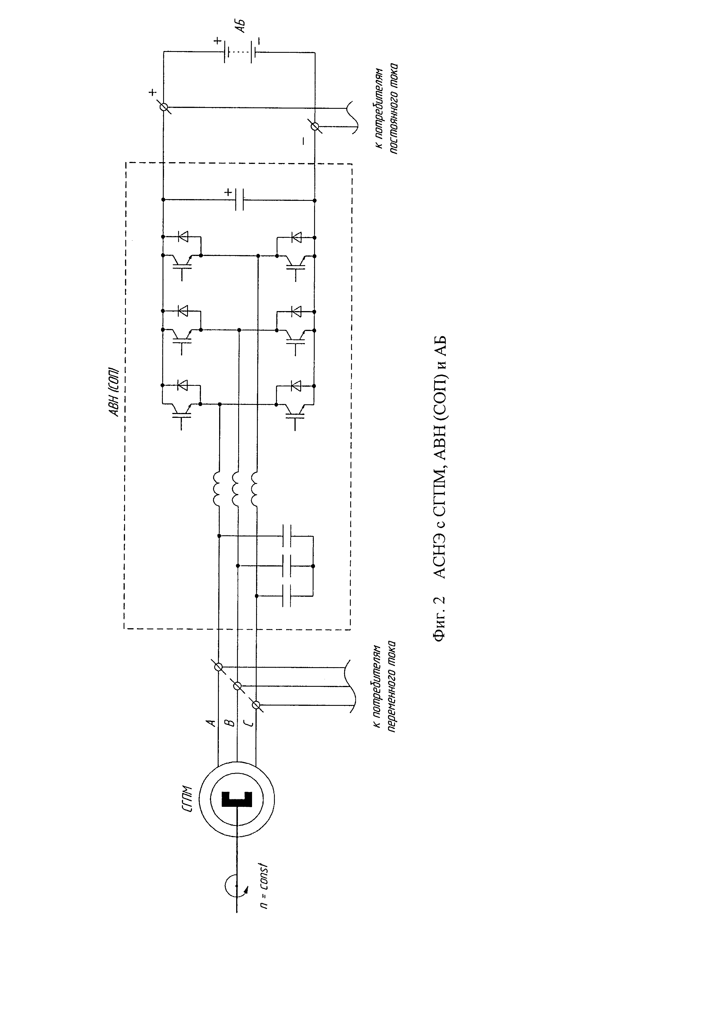
Изобретение относится к области электротехники, а именно к автономным системам надежного электроснабжения (АСНЭ), содержащим в своем составе основной источник электропитания - трехфазный синхронный генератор с постоянными магнитами (СГПМ), приводимый во вращение движителем с постоянной частотой вращения, резервный источник электропитания - аккумуляторную батарею (АБ) и устройство преобразования электроэнергии - статический обратимый преобразователь (СОП), который осуществляет двунаправленное преобразование электроэнергии от СГПМ к АБ и обратно. Особенностью СГПМ является нестабильность его выходного напряжения при изменении значения тока и коэффициента мощности нагрузки. С целью стабилизации напряжения СГПМ используются дополнительные устройства, которые осуществляют подмагничивание генератора. Такую функцию можно реализовать, в частности, с помощью активного выпрямителя напряжения (АВН). Принципиальная схема АВН, представленная, например, в [1], изображена на фиг. 1. Если к АВН со стороны переменного тока подключить трехфазный СГПМ, а со стороны постоянного тока - АБ, то посредством АВН может осуществляться двунаправленная передача энергии от сети переменного тока (СГПМ) к сети постоянного тока (АБ) и обратно, т.е. АВН будет являться СОП. Принципиальная схема АСНЭ, содержащая трехфазный СГПМ с постоянной частотой вращения n, АВН (СОП) и АБ, представлена на фиг. 2. На фиг. 2 основной сетью электропитания является трехфазная сеть переменного тока (А, В, С), а резервной сетью - сеть постоянного тока (+, -). При нормальной работе СГПМ и АБ устройство преобразования электроэнергии, работающее в качестве АВН, производит как заряд (подзаряд) АБ и питание потребителей постоянного тока резервной сети посредством регулирования и стабилизации напряжения постоянного тока на шинах +, -, так и стабилизацию напряжения СГПМ - напряжения основной сети переменного тока на шинах А, В, С. Данный режим СОП называется зарядным или выпрямительным. При выводе из работы основного источника электропитания (СГПМ) устройство преобразования электроэнергии осуществляет в режиме автономного инвертора напряжения питание потребителей основной сети переменного тока путем преобразования энергии от резервного источника электропитания (АБ) в трехфазное стабилизированное напряжение на шинах А, В, C: Данный режим СОП называется инверторным. При выводе из работы АБ устройство преобразования электроэнергии осуществляет стабилизацию напряжения СГПМ. Часть схемы фиг. 2, не содержащая АБ, представленная в [2], выбрана в качестве прототипа (фиг. 3). Данное решение позволяет стабилизировать выходное напряжение СГПМ при изменении тока и коэффициента мощности нагрузки [2]. Недостатком этой схемы при ее использовании в составе АСНЭ, содержащей АБ, является наличие гальванической связи между сетями переменного и постоянного тока и несогласованность значений напряжения в данных сетях. Для гальванической развязки и согласования значений напряжения сетей переменного и постоянного тока используют трансформатор с применением СОП (см., например, [3]). На фиг. 4 представлена принципиальная схема АСНЭ, содержащая СГПМ, АВН (СОП), АБ и трансформатор Т. В случае если потребители переменного тока используют стандартную частоту 50 Гц, СГПМ и Т также должны быть выполнены на частоту 50 Гц. Недостатком использования в АСНЭ трансформатора является ухудшение ее массогабаритных и виброакустических характеристик. Целью предлагаемого технического решения является улучшение массогабаритных и виброакустических характеристик АСНЭ, содержащей СГПМ, АВН (СОП) и АБ, при обеспечении двунаправленной передачи энергии между сетями переменного и постоянного тока, гальванической развязки между ними, стабилизации напряжения сети переменного тока, регулирования и стабилизации напряжения сети постоянного тока, а также обеспечение стартерного режима СГПМ. Принципиальная электрическая схема АСНЭ, отражающая предлагаемое техническое решение, представлена на фиг. 5. В схеме фиг. 5 СГПМ имеет основную трехфазную обмотку, формирующую напряжение основной сети переменного тока на шинах А1, В1, С1, и дополнительную трехфазную обмотку, подключенную к АВН (СОП) через клеммы А2, В2, С2. Обе обмотки гальванически развязаны и связаны через общий магнитопровод. С помощью дополнительной обмотки осуществляется стабилизация напряжения сети переменного тока путем подмагничивания СГПМ. Дополнительная трехфазная обмотка СГПМ укладывается в те же пазы статора, что и основная обмотка СГПМ, что представлено на фиг. 6. Коэффициент трансформации между основной и дополнительной обмотками выбирается таким образом, чтобы обеспечить работу АСНЭ в указанных выше режимах СОП при заданных значениях напряжений СГПМ и АБ. Пример расчета коэффициента трансформации между основной и дополнительной обмотками. Примем: - фазное напряжение основной сети (основной обмотки СГПМ) U1=220 В, - напряжение резервной сети (АБ) UAБ=(175…320) В. В соответствии с [1] выходное напряжение АВН Ud>2,45⋅U1=539 В, поэтому понижающий коэффициент трансформации между основной и дополнительной обмотками должен быть: KТ>539 В/175 В=3,08. Для обеспечения необходимого запаса примем для дальнейших расчетов KT=3,5. С учетом того, что система управления АВН обладает двухконтурной системой регулирования активной и реактивной составляющих его входного тока [1,4], предлагаемая АСНЭ (фиг. 5) в различных режимах работает следующим образом. 1. СГПМ находится в нормальной работе. АБ выведена из работы. Этот режим соответствует выпрямительному режиму СОП. От СГПМ осуществляется электропитание потребителей переменного и постоянного тока. Стабилизация выходного линейного напряжения на шинах А1, В1, С1 на уровне 380 В осуществляется в функции значения тока и коэффициента мощности нагрузки регулированием реактивного тока дополнительной обмотки, которое осуществляется контуром регулирования реактивного тока АВН [4]. Данный ток обеспечивается за счет реактивной энергии, накопленной в буферных реакторах и конденсаторе АВН на стороне постоянного тока. При этом магнитный поток основной обмотки регулируется таким образом, чтобы обеспечить стабильность выходного напряжения СГПМ на шинах А1, В1, С1. Регулирование и стабилизация напряжения постоянного тока в диапазоне (175…320) В на шинах +, - осуществляется при помощи контура регулирования активной составляющей тока АВН, протекающего в буферных реакторах. 2. СГПМ выведен из работы путем механического отсоединения ротора СГПМ от вала движителя. АБ в нормальной работе. Этот режим соответствует инверторному режиму СОП. АБ является источником электропитания потребителей переменного и постоянного тока. Потребители постоянного тока питаются напрямую от АБ напряжением (175…320) В. АВН работает в режиме автономного инвертора напряжения (АИН), обеспечивающего электропитание потребителей переменного тока. При напряжении АБ, равном 175 В, максимальное действующее значение фазного напряжения АИН (фазное напряжение дополнительной обмотки), соответствующее максимальному времени открытия транзисторов на периоде ШИМ, равно: UAИН=175 В/2,45=71,4 В. С учетом коэффициента трансформации KT=3,5 максимальное действующее значение фазного напряжения основной обмотки равно: U1=3,5⋅71,4 В=250 В. Для получения номинального фазного напряжения основной сети 220 Е осуществляется регулирование напряжения АИН вниз в режиме ШИМ. При напряжении АБ, равном 320 В, максимальное действующее значение фазного напряжения основной обмотки равно: U1=457 В. Для получения номинального фазного напряжения основной сети 220 В осуществляется регулирование напряжения АИН вниз в режиме ШИМ. Из приведенных выше расчетов следует, что выбранный коэффициент трансформации обеспечивает формирование действующего значения фазного напряжения основной сети переменного тока на уровне 220 В. Стабилизация данного напряжения при изменении тока и коэффициента мощности нагрузки осуществляется с помощью подмагничивания СГПМ путем регулирования реактивного тока АВН за счет энергии, накопленной в буферных реакторах и конденсаторе АВН на стороне постоянного тока. В этом режиме СГПМ работает в режиме двигателя на холостом ходу, что соответствует стартерному режиму СГПМ. 3. СГПМ и АБ в нормальной работе. Этот режим соответствует зарядному и выпрямительному режиму СОП и нормальному функционированию энергосистемы. В отличие от режима п. 1 в данном режиме СГПМ, помимо электропитания потребителей переменного и постоянного тока, осуществляет также заряд (подзаряд) АБ. В остальном этот режим идентичен режиму п. 1. Изложенная выше методика расчета коэффициента трансформации между основной и дополнительной обмотками может быть использована для расчета коэффициента трансформации при других соотношениях значений напряжений основной сети переменного тока и резервной сети постоянного тока. Из изложенного видно, что во всех режимах, характерных для работы АСНЭ; предлагаемое техническое решение позволяет стабилизировать напряжение на шинах переменного тока A1, B1, С1, а также стабилизировать и регулировать напряжение на шинах постоянного тока +, - с осуществлением гальванической развязки между сетями переменного и постоянного тока. Список источников [1] Р.Т. Шрейнер. Математическое моделирование электроприводов переменного тока с полупроводниковыми преобразователями частоты. Екатеринбург: УРО РАН, 2000, 654 с. [2] С.А. Харитонов, Д.В. Коробков, Д.В. Макаров, А.Г. Гарганеев. Стабилизация напряжения синхронного генератора с постоянными магнитами при переменной нагрузке. Доклады ТУСУР №1 (25), ч. 1, июнь 2012 г. [3] А.Р. Мамутов, М.В. Пронин, А.Г. Воронцов. Моделирование обратимого статического многотактного преобразователя переменно-постоянного напряжения. Известия СПбГЭТУ «ЛЭТИ» №10, 2013 г. [4] Н.Ю. Шевырева. Повышение качества электроэнергии при электроснабжении буровых установок с частотно-регулируемым электроприводом: Диссертация на соискание ученой степей канд. техн. наук: 05.09.03 / Шевырёва Наталия Юрьевна. - Москва, 2016. - 173 с.