патент
№ RU 2777982
МПК C07C67/08

Способ непрерывного получения сложных эфиров дикарбоновых кислот и установка для его осуществления

Авторы:
Усманов Рустем Айтуганович Аетов Алмаз Уралович Гумеров Фарид Мухамедович
Все (8)
Номер заявки
2021120339
Дата подачи заявки
09.07.2021
Опубликовано
12.08.2022
Страна
RU
Как управлять
интеллектуальной собственностью
Чертежи 
2
Реферат

[39]

Изобретение относится к области органической химии, а именно к способам и устройствам для непрерывного получения сложных эфиров дикарбоновых кислот, и может быть использовано для получения сложных эфиров дикарбоновых кислот из растительных масел. Способ непрерывного получения сложных эфиров дикарбоновых кислот включает этерификацию дикарбоновых кислот в реакторе с последующим выделением целевого продукта. Предварительно исходные компоненты перемешивают в механическом смесителе и направляют насосом высокого давления на этерификацию, процесс этерификации осуществляют в проточном реакторе змеевикового типа при температуре 339,8°С и выше, затем полученные продукты реакции подают в конденсатор на охлаждение, охлажденные продукты реакции направляют в две емкости для сбора и разделения продуктов реакции с возможностью попеременного заполнения продуктами реакции из конденсатора, а линию вывода продуктов реакции из конденсатора обвязывают с механическим смесителем. Установка непрерывного получения сложных эфиров дикарбоновых кислот содержит последовательно расположенные реактор и конденсатор. Установка дополнительно содержит последовательно расположенные механический смеситель и насос высокого давления, реактор выполнен в виде проточного реактора змеевикового типа, а на участке после конденсатора установка снабжена двумя емкостями, оснащенными вентилями, с возможностью попеременного заполнения продуктами реакции по линии отвода из конденсатора, при этом линия отвода продуктов реакции из конденсатора сообщена с механическим смесителем. Технической задачей является разработка способа и установки получения сложных эфиров дикарбоновых кислот, которые позволяют получать сложные эфиры дикарбоновых кислот без применения катализатора в непрерывном режиме, упрощение способа, а также процесса эксплуатации и обслуживания установки, повышение качества получаемой продукции и производительности. Предлагаемые способ и установка позволяют проводить непрерывный процесс получения сложных эфиров дикарбоновых кислот без использования катализатора. Предлагаемая установка является простой, высокопроизводительной, при этом имеет небольшие габариты, что облегчает ее эксплуатацию и обслуживание. Предлагаемый способ обеспечивает устойчивость режимов проведения процесса этерификации и, как следствие, более высокое качество продукции, а также позволяет повысить производительность оборудования. 2 н.п. ф-лы, 2 ил., 1 табл., 4 пр.

Формула изобретения

1. Способ непрерывного получения сложных эфиров дикарбоновых кислот, включающий этерификацию дикарбоновых кислот в реакторе с последующим выделением целевого продукта, отличающийся тем, что предварительно исходные компоненты перемешивают в механическом смесителе и направляют насосом высокого давления на этерификацию, процесс этерификации осуществляют в проточном реакторе змеевикового типа при температуре 339,8°С и выше, затем полученные продукты реакции подают в конденсатор на охлаждение, охлажденные продукты реакции направляют в две емкости для сбора и разделения продуктов реакции с возможностью попеременного заполнения продуктами реакции из конденсатора, а линию вывода продуктов реакции из конденсатора обвязывают с механическим смесителем.

2. Установка непрерывного получения сложных эфиров дикарбоновых кислот, содержащая последовательно расположенные реактор и конденсатор, отличающаяся тем, что установка дополнительно содержит последовательно расположенные механический смеситель и насос высокого давления, реактор выполнен в виде проточного реактора змеевикового типа, а на участке после конденсатора установка снабжена двумя емкостями, оснащенными вентилями, с возможностью попеременного заполнения продуктами реакции по линии отвода из конденсатора, при этом линия отвода продуктов реакции из конденсатора сообщена с механическим смесителем.

Описание

[1]

Группа изобретений относится к области органической химии, а именно к способам и устройствам для непрерывного получения сложных эфиров дикарбоновых кислот, и может быть использовано для получения сложных эфиров дикарбоновых кислот из растительных масел.

[2]

Известны способ и устройство для непрерывного получения сложных эфиров дикарбоновых кислот (см. с. 17-18 Попова Л.М. «Технология органических веществ»: учебное пособие / ВШТЭ СПбГУПТД. - СПб., 2019. Часть II. - 65 с.: ил. 20). Способ ведут в колонном реакторе со сплошным слоем катализатора. Реакция протекает в жидкой фазе, причем при синтезе эфиров низших спиртов для повышения степени конверсии кислоты применяют избыток спирта. Технологическая схема включает в себя адиабатический реактор с насадкой (сульфокатионит), в который, смешиваясь, поступают спирт и кислота, затем реакционная масса переходит в экстракционную колонну, где извлекают водой избыток спирта (и непревращенную кислоту). С низа колонны водный спирт поступает в отпарную колонну для отгонки спирта, возвращаемого на реакцию в реактор. Вода, подаваемая на экстракцию, тоже рециркулирует, из системы выводят только небольшое количество воды, из которой регенерируют непревращенную кислоту. С верха колонны отводят образовавшийся эфир. Устройство содержит колонный реактор непрерывного типа со сплошным слоем катализатора, экстракционную колонну, колонну для рекуперации спирта, конденсатор, кипятильник, насос для подачи воды и вентили. Устройство работает следующим образом. В реактор со сплошным слоем катализатора, смешиваясь, поступают исходные продукты: спирт и кислота. Затем реакционная масса направляется из реактора в экстракционную колонну, где из прореагировавшей массы, с помощью воды, извлекают избыток спирта и не вступившую в реакцию кислоту. Сверху из экстракционной колонны отводят образовавшийся целевой продукт - сложный эфир.

[3]

Недостатками способа и устройства являются сложность и длительность процесса, необходимость использования катализатора, который в конце процесса необходимо отделять от целевого продукта, большие габариты реакторов и экстракционных колонн, требующие больших производственных площадей.

[4]

Известен также способ непрерывного получения сложных эфиров дикарбоновых кислот (см. с. 203 Лебедев Н.Н. "Химия и технология основного органического и нефтехимического синтеза" М., Химия. 1988. - 592 с.), включающий этерификацию дикарбоновой кислоты одноатомным спиртом в присутствии катализатора (неорганическая кислота) в реакторе в состоянии кипения смеси с одновременной отгонкой паров воды. Устройство для осуществления способа содержит реактор типа тарельчатой колонны с паровым обогревателем (кипятильником), конденсатор и сепаратор. Реактор, конденсатор и сепаратор располагаются друг за другом на одной линии. В реактор непрерывно подают исходные компоненты в жидком виде: спирт, кислоту и катализатор. При отгонке из реактора летучего компонента (азеотропная смесь воды и эфира) протекает химическая реакция. При этом целевой продукт - эфир накапливается в реакторе и выводится из него, а смесь паров воды и эфира конденсируется и затем разделяется в сепараторе на два слоя (воду выводят из системы). Каждая тарелка реактора, имеющая слой жидкости высотой 0,5-1,0 м, играет роль отдельного реактора, причем жидкость перетекает по колонне сверху вниз и находится на каждой тарелке в состоянии кипения, что обеспечивает совмещение химической реакции с ректификацией. Катализатор и менее летучий реагент (обычно кислота) подают на одну из верхних тарелок, а второй реагент - в определенное место по высоте колонны, соответствующее летучести реагента, причем жидкость и пар движутся противотоком.

[5]

Недостатками являются сложность и длительность процесса, использование катализатора, большие габариты реакторов и экстракционных колонн, требующие больших производственных площадей. Известный способ непрерывного получения сложных эфиров дикарбоновых кислот включает использование катализаторов реакции этерификации, который в конце процесса необходимо отделять от целевого продукта.

[6]

Наиболее близким является способ получения сложных эфиров дикарбоновых кислот (патент RU №2631425, МПК С07С 67/08, 69/82, 69/50, опубл. 22.09.2017 г.), включающий процесс этерификации дикарбоновых кислот, выбранных из терефталевой, себациновой и смеси органических кислот, одноатомным спиртом в сверхкритических условиях в реакторе периодического действия, а именно в точке фазового перехода при температуре не менее 340°С и давлении не менее 2,76 МПа в течение 30 минут В результате реакции получается смесь целевого и побочных продуктов и далее проводится их разделение.

[7]

Недостатком способа является то, что он не позволяет получать сложные эфиры дикарбоновых кислот в непрерывном режиме, в связи с чем снижается производительность.

[8]

Наиболее близкой является установка для непрерывного получения сложных эфиров дикарбоновых кислот (см. схема «г» на с. 203-204, Лебедев Н.Н. "Химия и технология основного органического и нефтехимического синтеза" М., Химия. 1988. - 592 с.), содержащая последовательно расположенные реактор типа тарельчатой колонны с паровым обогревателем (кипятильником), конденсатор и сепаратор.

[9]

Недостатками известной установки являются сложность аппаратурного оформления процесса этерификации, использование катализатора и длительность процесса, а также сложность эксплуатации и обслуживания установки из-за больших габаритов аппаратов, что влияет на производительность.

[10]

Технической задачей является разработка способа и установки получения сложных эфиров дикарбоновых кислот, которые позволяют получать сложные эфиры дикарбоновых кислот без применения катализатора в непрерывном режиме, упрощение способа, а также процесса эксплуатации и обслуживания установки, повышение качества получаемой продукции и производительности.

[11]

Техническая задача решается способом непрерывного получения сложных эфиров дикарбоновых кислот, включающим этерификацию дикарбоновых кислот в реакторе с последующим выделением целевого продукта.

[12]

Новым является то, что предварительно исходные компоненты перемешивают в механическом смесителе и направляют насосом высокого давления на этерификацию, процесс этерификации осуществляют в проточном реакторе змеевикового типа при температуре 339,8°С и выше, затем полученные продукты реакции подают в конденсатор на охлаждение, охлажденные продукты реакции направляют в две емкости для сбора и разделения продуктов реакции с возможностью попеременного заполнения продуктами реакции из конденсатора, а линию вывода продуктов реакции из конденсатора обвязывают с механическим смесителем.

[13]

Техническая задача также решается установкой непрерывного получения сложных эфиров дикарбоновых кислот, содержащей последовательно расположенные реактор и конденсатор.

[14]

Новым является то, что установка дополнительно содержит последовательно расположенные механический смеситель и насос высокого давления, реактор выполнен в виде проточного реактора змеевикового типа, а на участке после конденсатора установка снабжена двумя емкостями, оснащенными вентилями, с возможностью попеременного заполнения продуктами реакции по линии отвода из конденсатора, при этом линия отвода продуктов реакции из конденсатора сообщена с механическим смесителем.

[15]

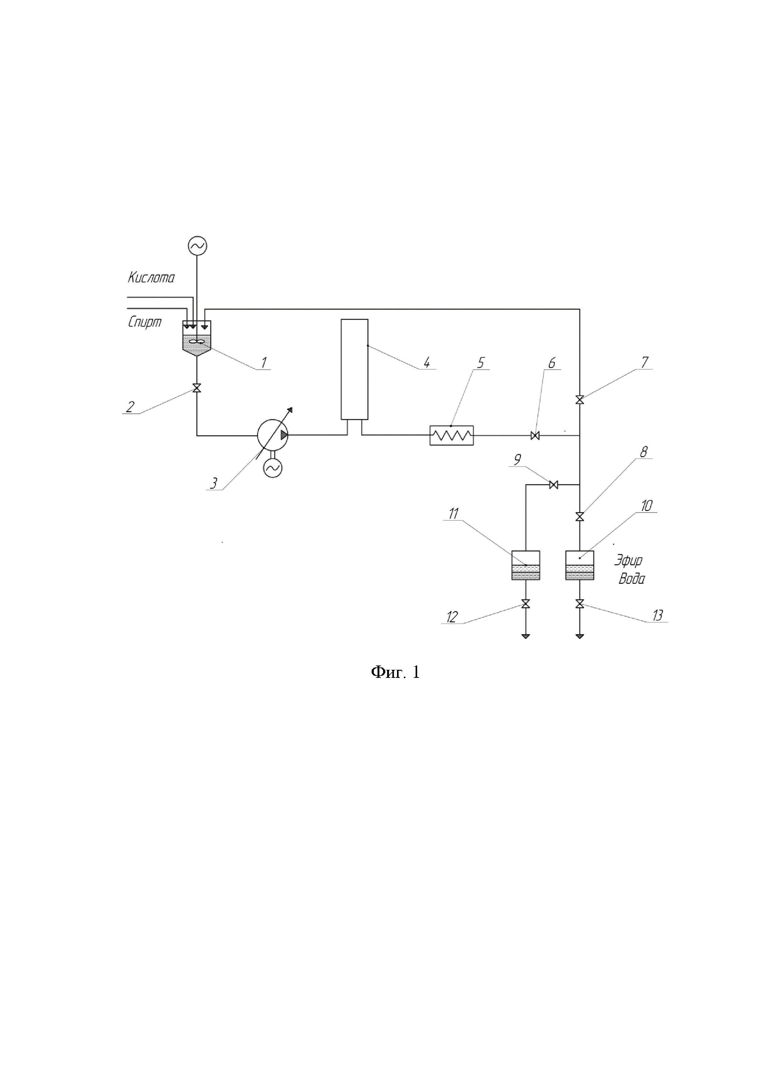
На фиг. 1 представлена схема установки непрерывного получения сложных эфиров дикарбоновых кислот, где 1 - механический смеситель; 2 - вентиль; 3 - насос высокого давления; 4 - проточный реактор змеевикового типа; 5 - конденсатор; 6 - вентиль обратного давления; 7 - вентиль, подающий поток обратно в механический смеситель при прогреве реактора; 8 и 9 - вентили, подающие попеременно продукты реакции; 10 и 11 - емкости для сбора и разделения продуктов реакции; 12 и 13 - вентили для слива воды и эфиров.

[16]

На фиг. 2 представлена пилотная установка.

[17]

Способ непрерывного получения сложных эфиров дикарбоновых кислот осуществляют следующим образом.

[18]

Способ непрерывного получения сложных эфиров дикарбоновых кислот включает этерификацию дикарбоновых кислот в ректоре 4 (см. фиг. 1) с последующим выделением целевого продукта. Предварительно исходные компоненты (кислоту и спирт, например, в оптимальном соотношении 1:2) перемешивают в механическом смесителе 1 (например, смесителе непрерывного действия с механической мешалкой). Получаемую однородную смесь кислоты и спирта через вентиль 2 направляют насосом высокого давления 3 на этерификацию. Предварительное перемешивание исходных компонентов в механическом смесителе 1 позволяет повысить площадь контакта исходных реагентов и тем самым ускорить проведение реакции этерификации. Процесс этерификации осуществляют в проточном реакторе змеевикового типа 4 при температуре 339,8°С и выше. Проточный реактор змеевикового типа 4 позволяет получать сложные эфиры дикарбоновых кислот в непрерывном режиме, а проведение процесса в сверхкритических условиях (339,8°С и выше) исключает использование катализатора, что уменьшает количество стадий проведения процесса в целом, упрощает способ.

[19]

Затем полученные продукты реакции (воду и эфиры дикарбоновых кислот) подают в конденсатор 5, где происходит охлаждение смеси до температуры окружающей среды и переход продуктов реакции в жидкое состояние. Из конденсатора 5 через вентиль 6 обратного давления охлажденные продукты реакции через вентили 8 и 9 направляют в две емкости 10 и 11 для сбора и разделения продуктов реакции, расположенные с возможностью попеременного заполнения продуктами реакции (благодаря открытию и закрытию вентилей 8 и 9) из конденсатора 5. Две емкости 10 и 11 для сбора и разделения продуктов реакции представляют собой металлические емкости (например, металлические сосуды цилиндрической формы в верхней части и конической формы в нижней части), снабженные вентилями 12 и 13 для слива воды и эфиров. Благодаря емкостям 10 и 11 обеспечивается непрерывность процесса, т.к. когда заполняется одна емкость, например, емкость 10, в другой, например, емкости 11, происходит разделение продуктов реакции и их откачка.

[20]

После заполнения емкостей 10 и 11 открывают вентили 12 и 13 соответственно и сливают продукты реакции - воду и эфиры дикарбоновых кислот. Линию вывода продуктов реакции из конденсатора 5 обвязывают с механическим смесителем 1, куда подают поток через вентиль 7.

[21]

Установка непрерывного получения сложных эфиров дикарбоновых кислот содержит последовательно расположенные реактор 4 и конденсатор 5.

[22]

Установка дополнительно содержит последовательно расположенные механический смеситель 1 и насос высокого давления 3. Реактор выполнен в виде проточного реактора змеевикового типа 4. На участке после конденсатора 5 установка снабжена двумя емкостями 10 и 11, оснащенными вентилями 8 и 9, с возможностью попеременного заполнения продуктами реакции по линии отвода из конденсатора 5, а также вентилями 12 и 13 для слива воды и эфиров. При этом линия отвода продуктов реакции из конденсатора 5 сообщена с механическим смесителем 1.

[23]

Установка непрерывного получения сложных эфиров дикарбоновых кислот работает следующим образом.

[24]

Сначала необходимо обеспечить в проточном реакторе змеевикового типа 4 сверхкритические условия для исходного компонента - спирта (например, 2-этилгексанола) за счет нагрева его до температуры выше критической для спирта. Для этого при закрытых вентилях 8 и 9 и открытом вентиле 7 в механический смеситель 1 (например, смеситель с механической мешалкой) непрерывно подают исходные компоненты - дикарбоновую кислоту и одноатомный спирт при определенном объемном соотношении. Получаемая однородная смесь проходит через вентиль 2 и насосом высокого давления 3 подается в проточный реактор змеевикового типа 4. Одновременно включают обогрев проточного реактора змеевикового типа 4 и смесь циркулирует через конденсатор 5, вентиль обратного давления 6 и вентиль 7, затем снова поступает в механический смеситель 1 до тех пор, пока температура смеси в проточном реакторе змеевикового типа 4 не станет выше критической для спирта - 2-этилгексанола (например, 339,8°С). Затем вентиль 6 прикрывают до достижения давления в проточном реакторе змеевикового типа 4 выше критического (например, для 2-этилгексанола 2,76 МПа), т.е. создаются сверхкритические условия для проведения реакции этерификации. Образующийся сложный эфир и побочный продукт реакции - вода поступают в конденсатор 5, где происходит охлаждение смеси до температуры окружающей среды и переход продуктов реакции в жидкое состояние. Затем закрывают вентиль 7 и открывают вентиль 8, продукты реакции поступают в емкость 10 для сбора и разделения продуктов реакции. Процесс переходит в непрерывный режим.

[25]

После заполнения емкости 10 закрывают вентиль 8 и открывают вентиль 9, продукты реакции начинают поступать в емкость 11. Так как сложные эфиры практически не растворяются в воде и имеют плотность ниже плотности воды (0,919 г/см³), при отстаивании в емкости 10 и 11 они поднимаются вверх и располагаются над водой. После расслоения воды и сложного эфира в емкости 10 открывают вентиль 13, в емкости 11 - вентиль 12 и сливают воду из нижней части емкостей 10 и 11. Полученный сложный эфир сливают в емкость для хранения (на фиг. 1, 2 не показана). Использование попеременно двух емкостей 10 и 11 для сбора и разделения воды и сложного эфира обеспечивает непрерывность процесса. В зависимости от производительности проточного реактора змеевикового типа 4 и объема емкостей 10, 11 для сбора и разделения продуктов реакции их количество может быть увеличено.

[26]

Благодаря непрерывности процесса увеличивается производительность установки, а исключение использования катализатора позволяет упростить осуществление способа на предлагаемой установке.

[27]

Предлагаемый способ и установка позволяют получать любые сложные эфиры дикарбоновых кислот. Для перехода на другие исходные компоненты установку после прекращения процесса промывают этанолом.

[28]

Получение сложных эфиров дикарбоновых кислот было осуществлено на экспериментальной пилотной установке (см. фиг. 2). Установка создана на основе технологической схемы (см. фиг.1) и позволяет создавать давление в реакторе до 30 МПа и температуру до 500°С. Основным узлом установки является проточный реактор змеевикового типа 4, обогреваемый индукционным нагревателем. Давление в системе обеспечивается жидкостным плунжерным насосом высокого давления 3 и поддерживается вентилем обратного давления 6.

[29]

Примеры конкретного выполнения.

[30]

Пример 1. Предварительно исходные компоненты - азелаиновую кислоту и спирт 2-этилгексанол перемешали в механическом смесителе и направили насосом высокого давления на этерификацию в проточный реактор змеевикового типа. Получение ди-(2-этилгексилового) эфира азелаиновой кислоты осуществили при температуре 339,8°С и давлении 2,76 МПа. Затем полученные продукты реакции направили в конденсатор на охлаждение, охлажденные продукты реакции с температурой 20°С направили в две емкости для сбора и разделения продуктов реакции. Процесс осуществили безкаталитической этерификацией азелаиновой кислоты в среде спирта 2-этилгексанола в сверхкритических условиях для спирта.

[31]

Пример 2. Предварительно исходные компоненты - адипиновую кислоту и этиловый спирт перемешали в механическом смесителе и направили насосом высокого давления на этерификацию в проточный реактор змеевикового типа. Получение диэтилового эфира адипиновой кислоты осуществили безкаталитической этерификацией адипиновой кислоты в среде этилового спирта в проточном реакторе змеевикового типа в сверхкритических условиях для спирта: при температуре 341°С и давлении 6,395 МПа. Затем полученные продукты реакции направили в конденсатор на охлаждение, охлажденные продукты реакции с температурой 25°С направили в две емкости для сбора и разделения продуктов реакции.

[32]

Пример 3. Пример провели аналогично примерам 1 и 2. Получение ди-(2-этилгексилового) эфира терефталевой кислоты осуществили безкаталитической этерификацией терефталевой кислоты в среде спирта 2-этилгексанола в проточном реакторе змеевикового типа в сверхкритических условиях для спирта: при температуре 340°С и давлении 2,76 МПа.

[33]

Пример 4. Пример провели аналогично примерам 1, 2 и 3. Получение ди-(2-этилгексилового) эфира себациновой кислоты осуществили безкаталитической этерификацией себациновой кислоты в среде спирта 2-этилгексанола в проточном реакторе змеевикового типа в сверхкритических условиях для спирта: при температуре 342°С и давлении 2,76 МПа.

[34]

Результаты проведенных экспериментов представлены в таблице. Из таблицы видно, что у предлагаемого способа непрерывного получения сложных эфиров дикарбоновых кислот наилучшие показатели процесса (конверсия, селективность) по сравнению с наиболее близким аналогом (в результате сравнения аналогичных примеры). Так, селективность процесса по примеру 3 - 98,5 % мас., в то время как селективность аналогичного примера наиболее близкого - 75,62 % мас. Селективность процесса по примеру 4 - 93,5 % мас., в то время как селективность аналогичного примера наиболее близкого - 92,3 % мас.

[35]

Таблица. Результаты проведенных экспериментов

[36]

Показатели процессаПример 1
азелаиновая кислота + 2-этилгексанол
Пример 2
адипиновая кислота + этанол
Пример 3
терефталевая кислота + 2-этилгексанол
Пример 4
себациновая кислота + 2-этилгексанол
Предлагаемый способ
Конверсия, % мас.100100100100
Селективность, % мас.99,2598,298,593,5
Способ по наиболее близкому аналогу
Конверсия, % мас.--100100
Селективность, % мас.--75,6292,3

[37]

Таким образом, предлагаемые способ и установка предоставляют возможность рекуперации теплоты, выделяющейся при охлаждении продуктов реакции, позволяют сократить капитальные и эксплуатационные расходы (на обслуживание и ремонт), позволяют исключить вспомогательные стадии, как загрузка исходных материалов и выгрузка готовых продуктов, дают возможность более полной механизации и автоматизации процесса.

[38]

Предлагаемые способ и установка позволяют проводить непрерывный процесс получения сложных эфиров дикарбоновых кислот без использования катализатора. Предлагаемая установка является простой, высокопроизводительной, при этом имеет небольшие габариты, что облегчает ее эксплуатацию и обслуживание. Предлагаемый способ обеспечивает устойчивость режимов проведения процесса этерификации и, как следствие, более высокое качество продукции, а также позволяет повысить производительность оборудования.

Как компенсировать расходы
на инновационную разработку
Похожие патенты