Изобретение относится к средствам интервального регулирования движения, в частности к мобильным средствам резервирования комплекта аппаратуры радиоблокировки. Система содержит размещенные на посту электрической централизации каждой станции интегрированные устройства микропроцессорной электрической централизации и автоблокировки со станционными и перегонными бесстыковыми рельсовыми цепями тональной частоты, а на локомотивах поездов - бортовые устройства автоматического управления движением поездов с приемником спутниковой навигации и приемопередатчиком мобильной радиосвязи, причем бортовые устройства автоматического управления движением поездов связанны с интегрированными устройствами микропроцессорной электрической централизации и автоблокировки через телемеханические каналы передачи информации по бесстыковым рельсовым цепям тональной частоты и через цифровые радиоканалы мобильной радиосвязи, при этом базовые станции мобильной радиосвязи подключены к железнодорожной сети передачи данных для диспетчерского контроля и управления движением поездов, к которой подсоединены интегрированные устройства микропроцессорной электрической централизации и автоблокировки, радиоблок-центры зонального управления движением поездов и серверы мобильной радиосвязи, при этом блоки контроля и управления соответствующими рельсовыми цепями конструктивно объединены с соответствующими устройствами микропроцессорной электрической централизации и автоблокировки и соединены первыми локальными проводными сетями с группами ближайших к этим устройствам соответствующих рельсовых цепей. Система так же снабжена блоком мобильного комплекса резервного комплекта аппаратуры радиоблокировки, который размещен на мотодрезине с автономным блоком электропитания, подключенным к цепям электропитания блока мобильного комплекса резервного комплекта аппаратуры радиоблокировки, включающего радиостанцию руководителя ремонтных работ, приемник спутниковой навигации и блок резервного радиоблок-центра зонального управления движением поездов, порт данных которого через блок защитного узла межсетевого взаимодействия соединен с блоком интерфейсов подключения к различным типам точек проводного и беспроводного доступа к железнодорожной сети передачи данных. Достигается повышение надежности работы и снижении задержек поездов при отказах устройств радиоблокировки. 1 ил.
Система интервального регулирования движения поездов, содержащая размещенные на посту электрической централизации каждой станции интегрированные устройства микропроцессорной электрической централизации и автоблокировки со станционными и перегонными бесстыковыми рельсовыми цепями тональной частоты, а на локомотивах поездов - бортовые устройства автоматического управления движением поездов с приемником спутниковой навигации и приемопередатчиком мобильной радиосвязи, причем бортовые устройства автоматического управления движением поездов связанны с интегрированными устройствами микропроцессорной электрической централизации и автоблокировки через телемеханические каналы передачи информации по бесстыковым рельсовым цепям тональной частоты и через цифровые радиоканалы мобильной радиосвязи, при этом базовые станции мобильной радиосвязи подключены к железнодорожной сети передачи данных для диспетчерского контроля и управления движением поездов, к которой подсоединены интегрированные устройства микропроцессорной электрической централизации и автоблокировки, радиоблок-центры зонального управления движением поездов и серверы мобильной радиосвязи, при этом блоки контроля и управления соответствующими рельсовыми цепями конструктивно объединены с соответствующими устройствами микропроцессорной электрической централизации и автоблокировки и соединены первыми локальными проводными сетями с группами ближайших к этим устройствам соответствующих рельсовых цепей, отличающаяся тем, что она снабжена блоком мобильного комплекса резервного комплекта аппаратуры радиоблокировки, который размещен на мотодрезине с автономным блоком электропитания, подключенным к цепям электропитания блока мобильного комплекса резервного комплекта аппаратуры радиоблокировки, включающего радиостанцию руководителя ремонтных работ, приемник спутниковой навигации и блок резервного радиоблок-центра зонального управления движением поездов, порт данных которого через блок защитного узла межсетевого взаимодействия соединен с блоком интерфейсов подключения к различным типам точек проводного и беспроводного доступа к железнодорожной сети передачи данных.
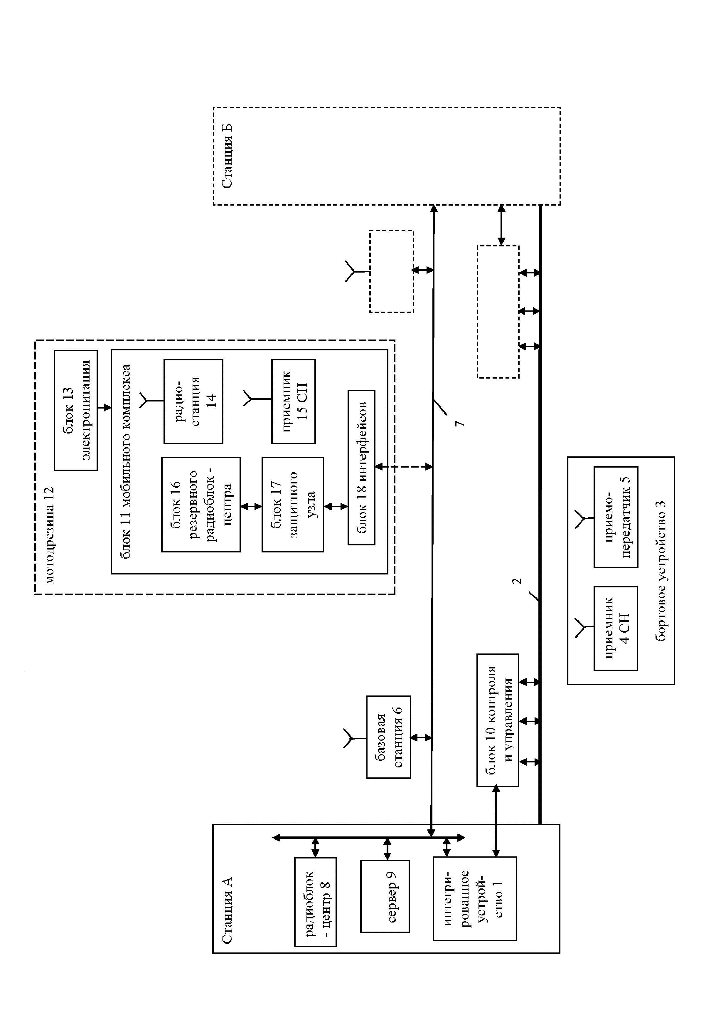
Изобретение относится к области железнодорожной автоматики, телемеханики и связи, может применяться на локомотивах моторвагонного подвижного состава, эксплуатируемых в пассажирском скоростном, высокоскоростном и грузовом движении поездов, как отдельно, так и в составе многоуровневых систем интервального регулирования. Известна система интервального регулирования движения поездов, содержащая размещенные на посту электрической централизации каждой станции интегрированные устройства микропроцессорной электрической централизации и автоблокировки со станционными и перегонными бесстыковыми рельсовыми цепями тональной частоты, а на локомотивах поездов бортовые устройства автоматического управления движением поездов с приемником спутниковой навигации ГЛОНАСС/GPS и приемопередатчиком мобильной радиосвязи GSM-R или аналогичной, причем бортовые устройства автоматического управления движением поездов связанны с интегрированными устройствами микропроцессорных устройств электрической централизации и автоблокировки, как через телемеханические каналы передачи информации по бесстыковым рельсовым цепям тональной частоты, так и через цифровые радиоканалы мобильной радиосвязи GSM-R или аналогичной, при этом базовые станции мобильной радиосвязи GSM-R подключены к магистральной линии передачи цифровых данных для диспетчерского контроля и управления движением поездов, также к этой линии подсоединены интегрированные устройства микропроцессорных блоков (устройств) электрической централизации и автоблокировки и радио - блок центры зонального управления движением поездов и серверы мобильной радиосвязи GSM-R, при этом блоки контроля и управления, соответствующими рельсовыми цепями конструктивно объединены с соответствующими устройствами микропроцессорной электрической централизации и автоблокировки и соединены с группами соответствующих ближайших к этим устройствам рельсовых цепей первыми локальными проводными сетями («Микропроцессорная автоблокировка с рельсовыми цепями тональной частоты АБТЦ-Е на базе компонентов системы EBILock 950 интегрированная в МПЦ EBILock 950»). (https://1520.ru/static/pdf/Products_and_Solutions_of_the_Signaling_Division_ru.pdf) Недостатком известной системы является низкая надежность при отказах элементов системы и ее живучесть в целом. В качестве прототипа принята система интервального регулирования движения поездов, содержащая размещенные на посту электрической централизации каждой станции интегрированные устройства микропроцессорной электрической централизации и автоблокировки со станционными и перегонными бесстыковыми рельсовыми цепями тональной частоты, а на локомотивах поездов бортовые устройства автоматического управления движением поездов с приемником спутниковой навигации ГЛОНАСС/GPS и приемопередатчиком мобильной радиосвязи GSM-R или аналогичной, причем бортовые устройства автоматического управления движением поездов связанны с интегрированными устройствами микропроцессорной электрической централизации и автоблокировки, как через телемеханические каналы передачи информации по бесстыковым рельсовым цепям тональной частоты, так и через цифровые радиоканалы мобильной радиосвязи GSM-R или аналогичной, при этом базовые станции мобильной радиосвязи GSM-R или аналогичной подключены к магистральной линии передачи цифровых данных для диспетчерского контроля и управления движением поездов, а также к этой линии подсоединены интегрированные устройства микропроцессорной электрической централизации и автоблокировки и радиоблок-центры зонального управления движением поездов и серверы мобильной радиосвязи GSM-R или аналогичной, при этом блоки контроля и управления соответствующими рельсовыми цепями конструктивно объединены с соответствующими устройствами микропроцессорной электрической централизации и автоблокировки и соединены с группами соответствующих ближайших к этим устройствам рельсовых цепей локальными проводными сетями. (А.С. Ададуров, П.А. Попов. «Общие принципы работы системы ITARUS-ATC», Журнал "Автоматика, Связь и Информатика", №7, 2010, с. 9-10). Недостатком известной системы является низкая надежность при отказах устройств радиоблокировки системы и ее живучесть в целом. Технический результат изобретения заключается в повышении надежности работы и снижении задержек поездов при отказах устройств радиоблокировки. Технический результат достигается тем, что система интервального регулирования движения поездов, содержащая размещенные на посту электрической централизации каждой станции интегрированные устройства микропроцессорной электрической централизации и автоблокировки со станционными и перегонными бесстыковыми рельсовыми цепями тональной частоты, а на локомотивах поездов бортовые устройства автоматического управления движением поездов с приемником спутниковой навигации и приемопередатчиком мобильной радиосвязи, причем бортовые устройства автоматического управления движением поездов связанны с интегрированными устройствами микропроцессорной электрической централизации и автоблокировки через телемеханические каналы передачи информации по бесстыковым рельсовым цепям тональной частоты и через цифровые радиоканалы мобильной радиосвязи, при этом базовые станции мобильной радиосвязи подключены к железнодорожной сети передачи данных для диспетчерского контроля и управления движением поездов, к которой подсоединены интегрированные устройства микропроцессорной электрической централизации и автоблокировки, радиоблок-центры зонального управления движением поездов и серверы мобильной радиосвязи, при этом блоки контроля и управления соответствующими рельсовыми цепями конструктивно объединены с соответствующими устройствами микропроцессорной электрической централизации и автоблокировки и соединены первыми локальными проводными сетями с группами ближайших к этим устройствам соответствующих рельсовых цепей, согласно изобретению снабжена блоком мобильного комплекса резервного комплекта аппаратуры радиоблокировки, который размещен на мотодрезине с автономным блоком электропитания, подключенным к цепям электропитания блока мобильного комплекса резервного комплекта аппаратуры радиоблокировки, включающего радиостанцию руководителя ремонтных работ, приемник спутниковой навигации и блок резервного радиоблок-центра зонального управления движением поездов, порт данных которого через блок защитного узла межсетевого взаимодействия соединен с блоком интерфейсов подключения к различным типам точек проводного и беспроводного доступа к железнодорожной сети передачи данных. Сущность изобретения поясняется чертежом, на котором приведена структурная схема системы интервального регулирования движения поездов. Система интервального регулирования движения поездов содержит размещенные на посту электрической централизации каждой станции А и Б интегрированные устройства 1 микропроцессорной электрической централизации и автоблокировки со станционными и перегонными бесстыковыми рельсовыми цепями 2 тональной частоты, а на локомотивах поездов бортовые устройства 3 автоматического управления движением поездов с приемником 4 спутниковой навигации (СН) и приемопередатчиком 5 мобильной радиосвязи, причем бортовые устройства 3 автоматического управления движением поездов связанны с интегрированными устройствами 1 микропроцессорной электрической централизации и автоблокировки через телемеханические каналы передачи информации по бесстыковым рельсовым цепям 2 тональной частоты и через цифровые радиоканалы мобильной радиосвязи, при этом базовые станции 6 мобильной радиосвязи подключены к железнодорожной сети 7 передачи данных для диспетчерского контроля и управления движением поездов, к которой подсоединены интегрированные устройства 1 микропроцессорной электрической централизации и автоблокировки, радиоблок-центры 8 зонального управления движением поездов и серверы 9 мобильной радиосвязи, при этом блоки 10 контроля и управления соответствующими рельсовыми цепями конструктивно объединены с соответствующими устройствами 1 микропроцессорной электрической централизации и автоблокировки и соединены первыми локальными проводными сетями с группами ближайших к этим устройствам соответствующих рельсовых цепей 2, блок 11 мобильного комплекса резервного комплекта аппаратуры радиоблокировки размещен на мотодрезине 12 с автономным блоком 13 электропитания, подключенным к цепям электропитания блока 11 мобильного комплекса резервного комплекта аппаратуры радиоблокировки, включающего радиостанцию 14 руководителя ремонтных работ, приемник 15 спутниковой навигации и блок 16 резервного радиоблок-центра зонального управления движением поездов, порт данных которого через блок 17 защитного узла межсетевого взаимодействия соединен с блоком 18 интерфейсов подключения к различным типам точек проводного и беспроводного доступа к железнодорожной сети передачи данных. Система интервального регулирования движения поездов функционирует следующим образом. Каждый радиоблок-центр 8 зонального управления движением поездов в своей зоне ответственности передает на локомотивы информацию о состоянии устройств систем управления движением и обеспечения безопасности, например, свободности и занятости приемоотправочных путей и стрелочных участков, а также данные, поступающие от систем электрической централизации и автоблокировки. Радиоблок-центр 8 является дополнительным каналом получения информации для работы систем безопасности движения поездов и обеспечивает повышение пропускной способности и надежности системы интервального регулирования движения поездов. Стрелками и светофорами на станциях управляет электрическая централизация, имеющая повышенную степень защиты от ошибок системы и операторов. Свободность и занятость участков пути на станции и перегоне контролируется в первую очередь рельсовыми цепями 2 тональной частоты. Кроме того, по рельсовым цепям 2 подаются на локомотивы сигналы автоматической локомотивной сигнализации. Система с помощью цифровых радиоканалов мобильной радиосвязи GSM-R или аналогичной взаимодействует с бортовыми устройствами 3 автоматического управления движением поездов, получая от них информацию, о местоположении локомотивов и передавая на локомотивы информацию о показаниях путевых светофоров, временных ограничениях скорости. Управление движением поездов осуществляется командами, передаваемыми от поездного диспетчера или автодиспетчера по магистральной линии 7 передачи данных диспетчерского контроля и управления движением поездов, соединенной с радиоблок-центрами 8 зонального управления движением поездов. Зона ответственности каждого из радиоблок-центров 8 зонального управления движением поездов ограничена его вычислительными ресурсами и зоной радио покрытия связей GSM-R или аналогичной. Бортовое устройство 3 управления на локомотивах получает информацию о свободности впереди лежащих блок - участков по рельсовым цепям 2, а информацию по ограничениям скорости - из электронной карты участка, хранящейся в его памяти. Бортовое устройство 3 управления также выполняет команды, поступающие по связи GSM-R или аналогичной из радиоблок-центров 8 зонального управления движением поездов, и реализует разрешение на движение только в заданной зоне до следующей контрольной точки. Система обладает повышенной отказоустойчивостью, так как отказ канала GSM-R системы или отказы в работе некоторых из рельсовых цепей 2 на перегоне не приводят к катастрофической ситуации из-за значительного дублирования поступающей в центры управления и на локомотивы информации, необходимой для управления движением поездов. Различие полученной информации по каналам GSM-R и рельсовым цепям 2 анализируется бортовым устройством 3 и для реализации принимается информация, обеспечивающая более высокий уровень безопасности. Такой же принцип используется при определении допустимой скорости движения, информация о которой задается различными источниками: из радиоблок-центра 8 зонального управления движением поездов, электронной картой участка и системой автоматической локомотивной сигнализации. Возможность кодирования рельсовой цепи 2 с конкретным номером, привязанным к инфраструктуре с известными координатами, позволяет реализовать безопасную и адресную передачу информации на поезда. Непрерывно координата местоположения локомотива отслеживается приемником 4 спутниковой навигации ГЛОНАСС/GPS с периодической дополнительной проверкой по электронной карте маршрута при проследовании локомотивом границ рельсовых цепей 2. В предлагаемой системе чтобы избежать при техническом обслуживании и ремонте входящих в нее устройств радиоблокировки снижение пропускной способности и живучести системы в целом используется вместо временно отключенного радиоблок-центра 8 зонального управления и/или связанной с ним части железнодорожной сети 7 передачи данных блок 11 мобильного комплекса резервного комплекта аппаратуры радиоблокировки, размещенный на мотодрезине 12 с автономным источником 13 электропитания, подключенным к цепям электропитания блока 11 мобильного комплекса резервного комплекта аппаратуры радио блокировки. Резервный комплект аппаратуры радиоблокировки включает блок 16 резервного радиоблок-центра зонального управления движением поездов, порт данных которого через блок 17 защитного узла межсетевого взаимодействия соединен с блоком 18 интерфейсов подключения к различным типам точек проводного и беспроводного доступа к железнодорожной сети 7 передачи данных, а также радиостанцию 14 руководителя ремонтных работ и приемник 15 спутниковой навигации. Блок 16 резервного радиоблок-центра зонального управления движением поездов на время технического обслуживания и ремонта части аппаратуры радиоблокировки заменяет ее с полным сохранением ее функций. Блок 17 защитного узла межсетевого взаимодействия обеспечивает защиту системы от несанкционированного доступа, в том числе от злоумышленников и вандалов. Блок 18 интерфейсов подключения к различным типам точек проводного и беспроводного доступа к железнодорожной сети 8 передачи данных позволяет подключить блок 16 резервного радиоблок-центра к железнодорожной сети 8 через все типы точек проводного и беспроводного доступа, используемые в системе, например, такие точки беспроводного доступа, как WI-FI, GSM, GSM-R, LTE-R, DMR широкополосного радио доступа и/или такие точки проводного доступа как оптические и электрические точки доступа для проводного подключения к Ethernet. При этом если имеется проблема обхода протяженного поврежденного участка кабельных соединений, то для обхода может быть использован еще один блок 11 мобильного комплекса резервных комплектов аппаратуры радиоблокировки. Для фиксации в системе координат размещения аппаратуры блока 11 мобильного комплекса используется приемник 15 спутниковой навигации. Руководство процессом технического обслуживания и ремонта осуществляется через имеющуюся в блоке 11 мобильного комплекса радиостанцию 14 руководителя ремонтных работ. Таким образом, предлагаемая система обеспечивает повышение надежности работы и снижение задержек поездов при отказах устройств радиоблокировки.