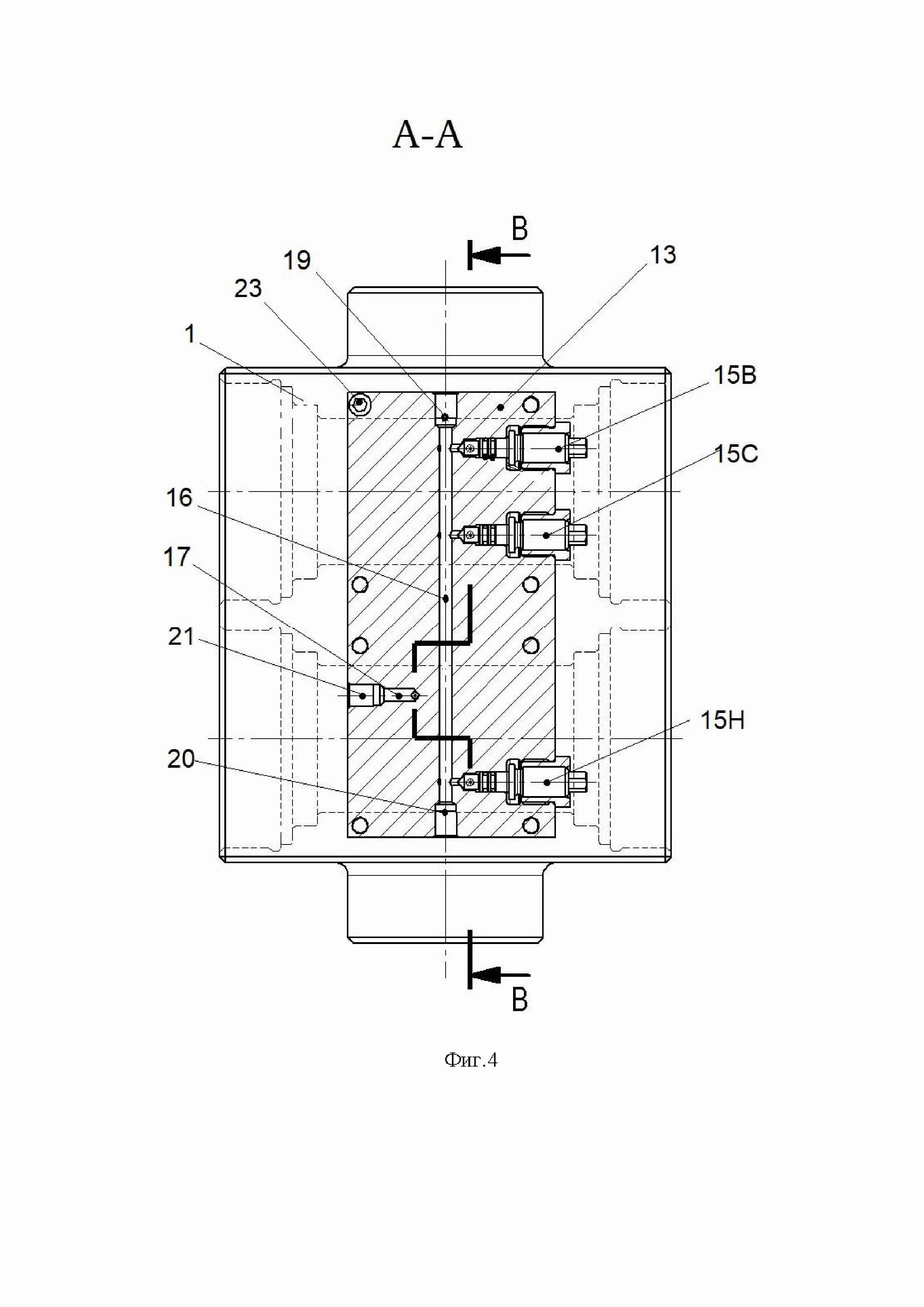
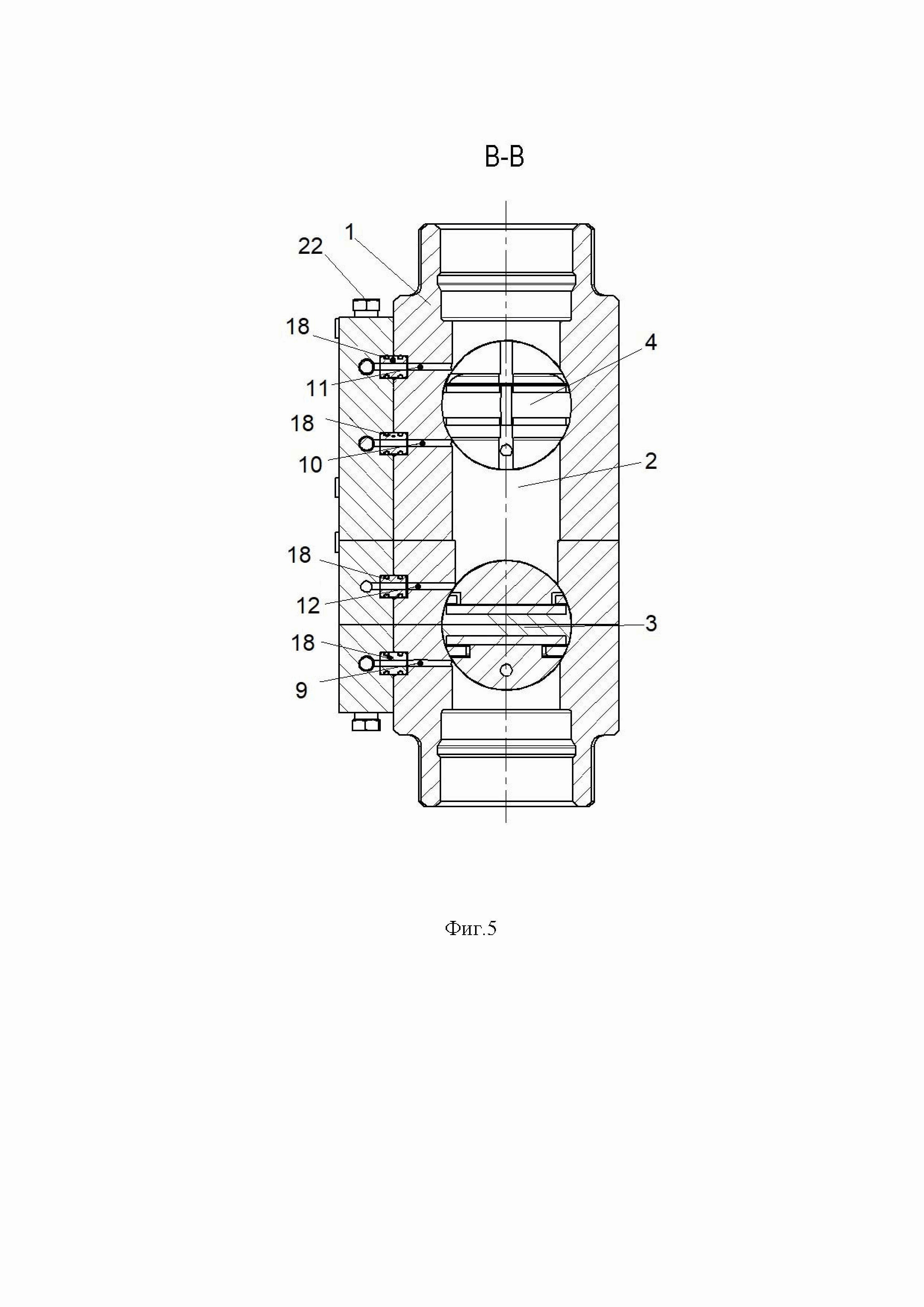
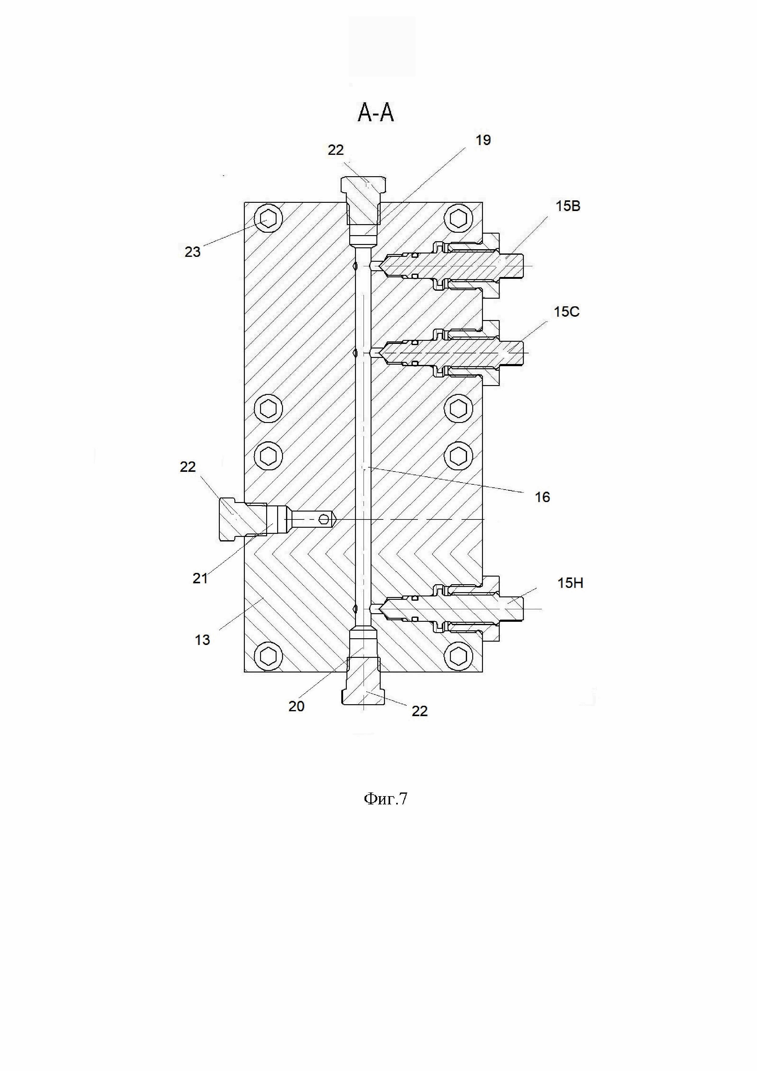
Изобретение относится к оборудованию для обслуживания нефтяных и газовых скважин, к плашечным превенторам, оснащенным двумя плашечными затворами, предназначенным для герметического закрытия канала скважины. Техническим результатом является обеспечение возможности регулировать сообщение замкнутых пространств проходного отверстия корпуса превентора, расположенного над плашечными затворами, между плашечными затворами и под плашечными затворами, а также контролировать давление среды в указанных пространствах, и осуществлять закачку и слив сред в пространства. Предложен превентор плашечный сдвоенный, содержащий корпус (1) с проходным отверстием (2) и двумя плашечными затворами (3) и (4), установленными в плашечных каналах (5) и (6), расположенных поперек проходного отверстия (2) корпуса (1), плашки (7) с механизмами перемещения (8) плашек (7). В стенке корпуса (1) выполнено четыре сквозных отверстия (9, 10, 11, 12), выходящих в проходное отверстие (2) корпуса (1) в пространство над, под и между плашечными затворами (3) и (4). Причем на стенке корпуса (10) превентора над сквозными отверстиями (9, 10, 11, 12) установлен корпус (13) с перепускными каналами (14) и перекрывающим клапаном (15). Корпус (13) накрывает все четыре сквозных отверстия (9, 10, 11, 12), при этом в корпусе (13) выполнен сквозной центральный канал (16), соединяющий три перепускных канала (15), оснащенные перекрывающими клапанами (15), соединенные с тремя сквозными отверстиями (9, 10, 11), выходящими в пространство над, под и между плашечными затворами (3) и (4). В корпусе (13) выполнен четвертый перепускной канал (17), соединенный с четвертым сквозным отверстием (12), выходящим в пространство между плашечными затворами (3) и (4). 5 з.п. ф-лы, 12 ил.
1. Превентор плашечный сдвоенный, содержащий корпус с проходным отверстием и двумя плашечными затворами, установленными в плашечных каналах, расположенных поперек проходного отверстия корпуса, плашки с механизмами перемещения плашек, где в стенке корпуса выполнено четыре сквозных отверстия, выходящих в проходное отверстие корпуса в пространство над, под и между плашечными затворами, причем на стенке корпуса превентора над сквозными отверстиями установлен корпус клапана с перепускными каналами и перекрывающим клапаном, отличающийся тем, что один корпус клапана накрывает все четыре сквозных отверстия, при этом в корпусе клапана выполнен сквозной центральный канал, соединяющий три перепускных канала, оснащенные перекрывающими клапанами, соединенные с тремя сквозными отверстиями, выходящими в пространство над, под и между плашечными затворами, в корпусе клапана выполнен четвертый перепускной канал, соединенный с четвертым сквозным отверстием, выходящим в пространство между плашечными затворами. 2. Превентор плашечный сдвоенный по п. 1, отличающийся тем, что плашечные затворы выполнены с цилиндрическими плашками. 3. Превентор плашечный сдвоенный по п. 1, отличающийся тем, что плашечные затворы выполнены с плоскими плашками. 4. Превентор плашечный сдвоенный по п. 1, отличающийся тем, что механизмы перемещения плашек выполнены с гидроприводом. 5. Превентор плашечный сдвоенный по п. 1, отличающийся тем, что механизмы перемещения плашек выполнены с ручным винтовым линейным приводом. 6. Превентор плашечный сдвоенный по п. 1, отличающийся тем, что механизмы перемещения плашек выполнены комбинированными в виде гидроцилиндра, связанного с ручным винтовым линейным приводом.
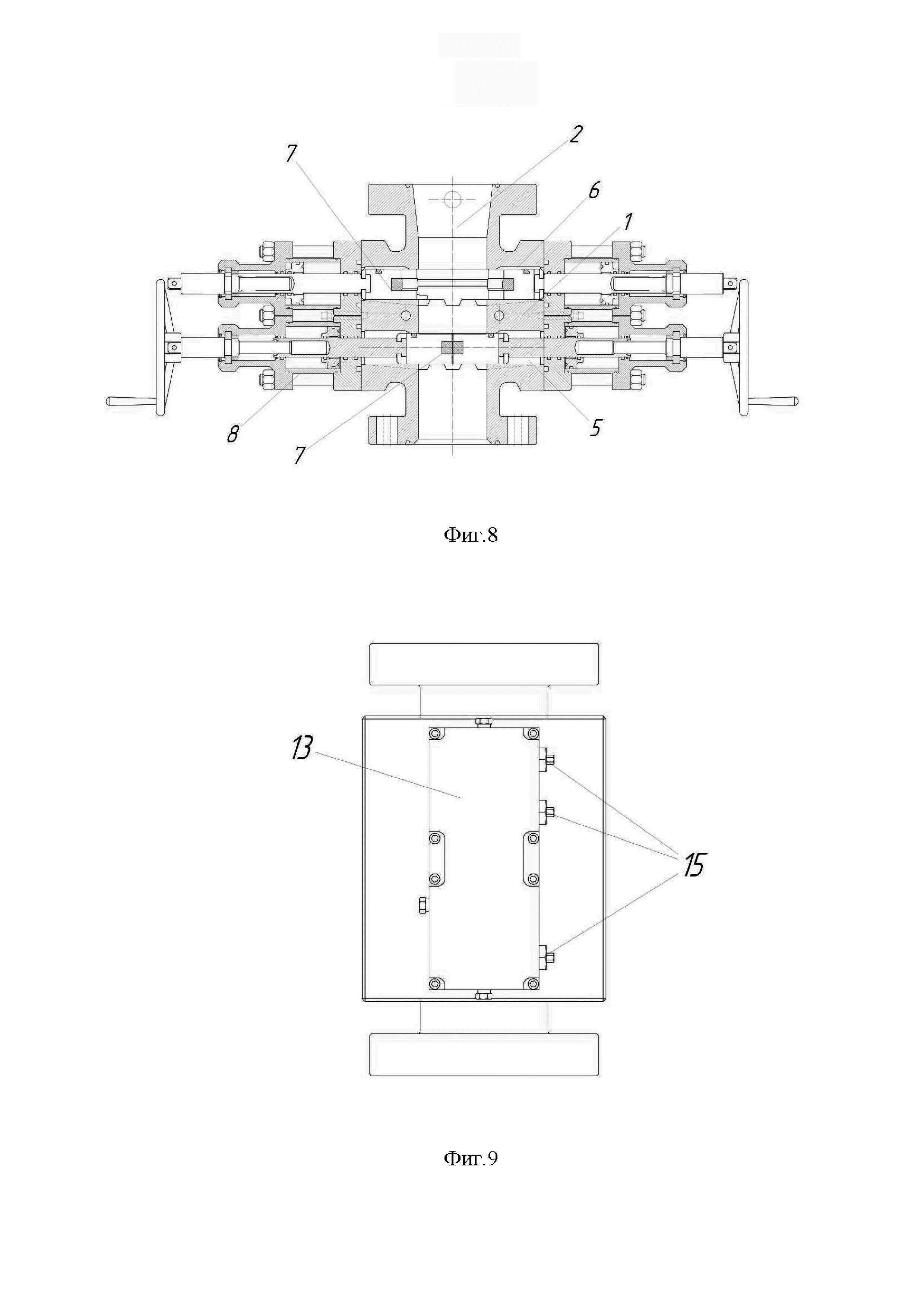
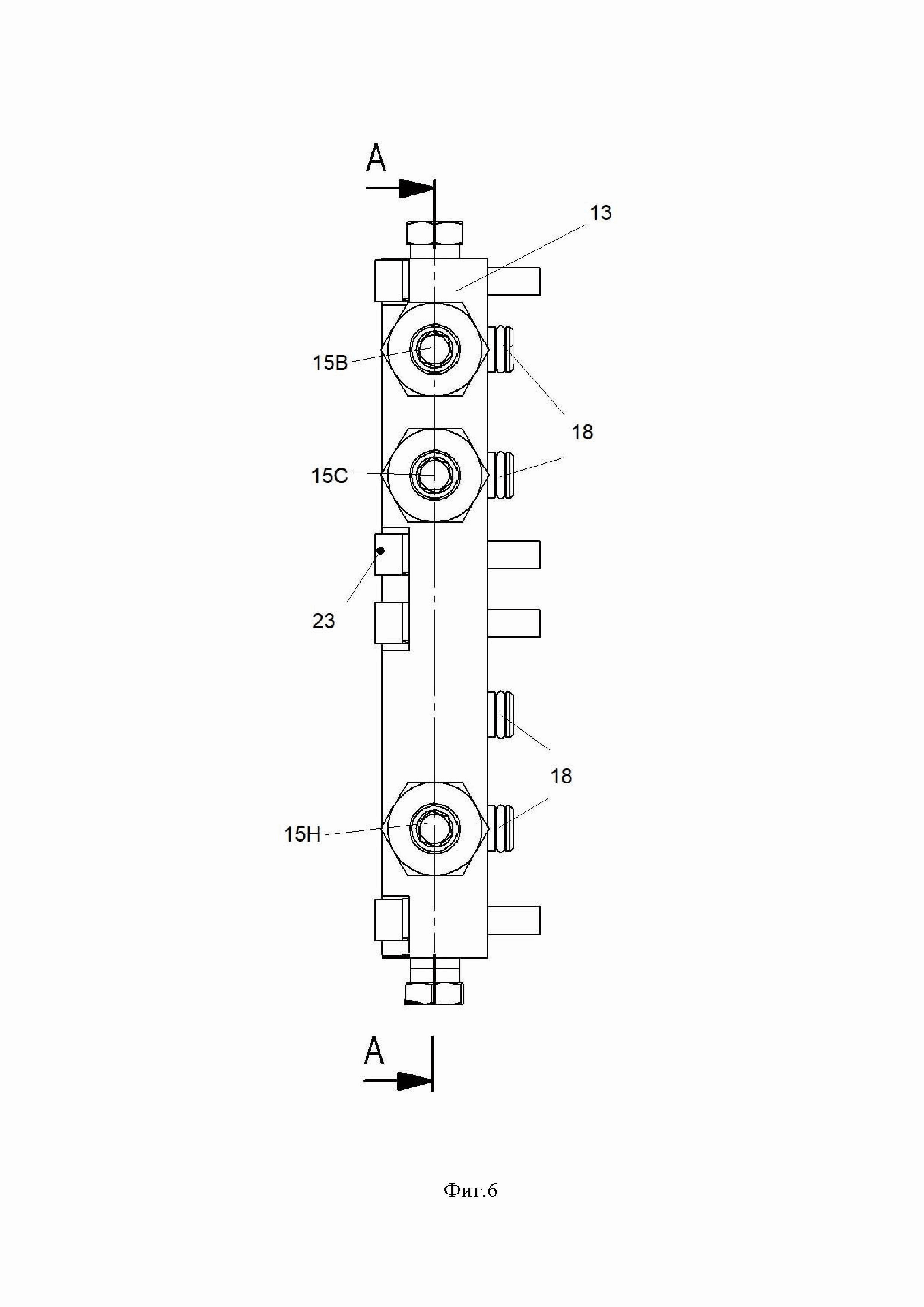
Область техники. Техническое решение относится к оборудованию для обслуживания нефтяных и газовых скважин, для герметизации устья нефтяных и газовых скважин при их строительстве, освоении и ремонте с целью обеспечения безопасного ведения работ по предупреждению и ликвидации нефтегазоводопроявлений и открытых фонтанов, для охраны недр и окружающей среды. Конкретнее относится к плашечным превенторам, оснащенным двумя плашечными затворами, предназначенным для герметического закрытия канала скважины. Уровень техники. Известен превентор ПГ-100х35 с перепускным клапаном (Источник [1]: Курс лекций по теме «Нефтегазопромысловое оборудование». Разработка и эксплуатация нефтяных и газовых месторождений. Устьевое оборудование для работ со скважинными клапанами, стр. 44. Организация-разработчик: Государственное бюджетное профессиональное образовательное учреждение Октябрьский нефтяной колледж им. С.И. Кувыкина (ГБПОУ ОНК) РБ. https://lektsii.org/18-48813.html ). Превентор с гидравлическим управлением, содержит корпус с вертикальным проходным отверстием и горизонтальным каналом, в котором размещен один плашечный затвор, два гидроцилиндра для привода плашек затвора, и перепускной клапан для перекрытия канала, по которому сообщаются пространство над плашечным затвором и под плашечным затвором. Перепускной клапан установлен на боковой поверхности корпуса превентора в собственном корпусе. Корпус перепускного клапана выполнен в виде плиты с каналами, обеспечивающими сообщение пространства проходного канала, расположенного над плашечным затвором и пространства проходного канала, расположенного под плашечным затвором. Наличие перепускного клапана позволяет выравнивать давление над плашечным затвором и под ним, тем самым уменьшается перепад давлений и снижаются усилия для открытия-закрытия превентора. Превентор ПГ-100Х35 можно использовать при выполнении прострелочно-взрывных работ, исследовании скважин и перфорации колонн под давлением. Превентор ПГ-100х35 [1] содержит один плашечный канал, и не позволяет одновременно использовать кабельные и глухие плашки. Конструкция перепускного клапана не позволяет производить контроль давления в скважине, слив жидкостей из скважины и безопасный сброс давления в скважине. Конструкция перепускного клапана не позволяет производить закачку различных технических сред (жидкостей, ингибиторов, растворов и т.п.) непосредственно в скважину при проведении технологических работ и в процессе геофизических исследований скважины. Известны превенторы сдвоенные с гидравлическим управлением с перепускными клапанами (источник [2] патент RU 179918, источник [3] патент RU 179917). Превентор [2;3] содержит корпус с вертикальным проходным отверстием и горизонтальными плашечными каналами, расположенными поперек продольной оси вертикального проходного отверстия. Два плашечных затвора, расположены в цилиндрических плашечных каналах, и четыре плашки оснащены механизмами перемещения плашек. Механизм перемещения плашек выполнен в виде гидроцилиндра, связанного с ручным винтовым линейным приводом. Превентор оснащен двумя перепускными клапанами, по одному для каждого плашечного затвора, каждый из которых установлен в собственном корпусе. Корпус превентора содержит четыре сквозные отверстия выполненных два в верхнюю и два в нижнюю часть проходного отверстия в проекции плашечных затворов. На корпусе превентора установлено два отдельных корпуса с перепускными каналами перекрытыми перепускными клапанами. Перепускные клапаны обеспечивают возможность открытия плашечных затворов при наличии давления в скважине. Наличие перепускного клапана и сквозных отверстий в проходное отверстие корпуса превентора, выполненных в стенке корпуса превентора, над и под плашками позволяет, при необходимости, позволяет выравнивать давление открывая сообщение между сквозными отверстиями. Для открытия плашечных затворов, при наличии давления в скважине, когда из-за перепада давления над плашечным затвором и под плашечным затвором возникают силы, препятствующие перемещению плашек, выравнивают давление над и под плашками. Для этого для каждого плашечного затвора используют свой перепускной клапан. Выкручивают перепускной клапан из корпуса клапана, при этом через канал, выполненный в корпусе клапана открывается сообщение между сквозными отверстиями в корпусе превентора, выполненными в верхнюю и в нижнюю часть проходного канала над и под плашечными затворами. Недостаток превенторов [2,3] заключается в том, что перепускные клапаны для выравнивания давления в пространстве возле плашечного затвора выполнены в отдельном корпусе для верхнего и нижнего плашечного затвора. Каждый клапан установлен в собственном корпусе. Сквозные отверстия в корпусе превентора выполненные в проходное отверстие корпуса превентора, над и под верхним плашечным затвором, не сообщаются со сквозными отверстиями в корпусе превентора выполненные в проходное отверстие над и под нижним плашечным затвором. Перепускные каналы верхнего и нижнего плашечных затворов не сообщаются, что ограничивает функциональные возможности по управлению давлением, контролю давления, опустошению и заполнению полостей средами. Превентор [2,3] не обеспечивает возможность слива среды (жидкостей, флюидов, газов и т.п) из скважины, пространств над/ под/ между плашечными затворами, сброс давления в скважине. Превентор [2,3] не обеспечивает закачку различных технических сред (жидкостей, ингибиторов, растворов и т.п.) непосредственно в скважину при проведении технологических работ в скважинах и в процессе геофизических исследований скважины. Превентор [2,3] не обеспечивает возможность контроля подачи вязко-пластичной жидкости (ВПЖ) над верхними плашками в надпревенторном оборудовании - в лубрикаторной установке устьевого оборудования для увеличения эффективности герметизации при высоком газовом давлении из скважины. Превентор [2,3] не обеспечивает возможность подачи вязко-пластичной жидкости (ВПЖ) над нижними плашками превентора для увеличения эффективности герметизации при высоком газовом давлении из скважины. Превентор [2,3] не обеспечивает возможность слива ВПЖ из лубрикаторной установки после завершения работ. Таким образом, проблема заключается в том, что конструктивное исполнение корпуса перепускного клапана, сквозных отверстий и перепускных каналов ограничивает функциональные возможности, снижает надежность и безопасность эксплуатации оборудования. Превентор предназначен для герметизации устья с целью предупреждения выбросов и открытых нефтяных и газовых фонтанов при наличии в скважине каната или кабеля, проволоки, а также при их отсутствии, герметизации насосно-компрессорных труб. Отказ противовыбросовых превенторов недопустим, поскольку потеря герметичности скважины в случае выброса связана со значительными экономическими и экологическими потерями. Обеспечение возможности выравнивать давление между различными участками проходного канала, закачки и слива сред, позволяет повысить безопасность проводимых работ, повысить их эффективность и снизить трудоемкость. Каналы, соединенные с отдельными линиями, которые выполнены с возможностью инжектировать текучие среды под высоким давлением в скважину или полости превентора или уменьшать давление среды в замкнутых пространствах, необходимы для обеспечения успешной герметизации скважины, снижения рисков отказа оборудования, для предупреждения нефтегазоводопроявлений и открытых фонтанов, обеспечения безопасного ведения работ, охраны недр и окружающей среды. Сущность технического решения. Техническая задача, на решение которой направлено техническое решение, заключается в повышении надежности работы сдвоенных плашечных превенторов, улучшении эксплуатационных качеств превентора, расширении функциональных возможностей за счет применения системы сообщающихся каналов. Предложенное решение расширяет арсенал технических средств для герметизации устья нефтяных и газовых скважин при их строительстве, освоении и ремонте с целью обеспечения безопасного ведения работ по предупреждению и ликвидации нефтегазоводопроявлений и открытых фонтанов, для охраны недр и окружающей среды. Технический результат достигается тем, превентор плашечный сдвоенный содержит корпус с проходным отверстием и двумя плашечными затворами, установленными в плашечных каналах, расположенных поперек проходного отверстия корпуса, плашки с механизмами (приводами) перемещения плашек. В стенке корпуса превентора выполнено четыре сквозных отверстия, выходящих в проходное отверстие корпуса в пространство над, под и между плашечными затворами. Причем на стенке корпуса превентора, над сквозными отверстиями, установлен корпус клапана с перепускными каналами и перекрывающим клапаном. Один корпус клапана накрывает все четыре сквозных отверстия, при этом в корпусе клапана выполнен сквозной центральный канал, соединяющий три перепускных канала, оснащенные перекрывающим клапанами, соединенные с тремя сквозными отверстиями, выходящими в пространство над, под и между плашечными затворами. В корпусе клапана выполнен четвертый перепускной канал, соединенный с четвертым сквозным отверстием, выходящим в пространство между плашечными затворами. Предусмотрено, что превентор плашечный сдвоенный с техническим решением описанной конструкции может быть выполнен с цилиндрическими плашками или с плоскими плашками. Превентор плашечный сдвоенный с описанным техническим решением может быть выполнен с механизмами перемещения плашек, выполненными с гидроприводом, или механизмами перемещения плашек, выполненными с ручным винтовым линейным приводом или с механизмами перемещения плашек, выполненными комбинированными в виде гидроцилиндра, связанного с ручным винтовым линейным приводом. Технический результат заключается в обеспечении возможности регулировать сообщение замкнутых пространств проходного отверстия корпуса превентора расположенного над плашечными затворами, между плашечными затворами и под плашечными затворами, контролировать давление среды в указанных пространствах, осуществлять закачку и слив сред в пространства. Сообщающаяся система каналов и отверстий с перепускными клапанами (манифольд перепускной), выходами, обеспечивающими возможность присоединения устройств, линий и установки заглушек, выполненная параллельно проходному каналу позволяет производить: - безопасное открытие плашек превентора при остаточном давлении в скважине, исключая возможность гидроудара; - слив сред (жидкостей, флюидов, газов и т.п) из скважины и сброс давления в скважине; - закачку различных технических сред (жидкостей, ингибиторов, растворов и т.п.) непосредственно в скважину при проведении технологических работ в скважине и в процессе геофизических исследований скважины; - контроль подачи вязко-пластичной жидкости (ВПЖ) над верхними плашками в надпревенторном оборудовании - в лубрикаторной установке устьевого оборудования для увеличения эффективности герметизации при высоком газовом давлении из скважины. - подачу вязко-пластичной жидкости (ВПЖ) над нижними плашками превентора для увеличения эффективности герметизации при высоком газовом давлении из скважины; - слив ВПЖ из лубрикаторной установки после завершения работ. Корпус с перепускными каналами и перекрывающими клапанами выполняет функцию перепускного монифольда, обеспечивает возможность выравнивания давления в скважинной зоне под плашками превентора, между плашками и над плашками превентора в устьевом оборудовании, а также подачу, слив, переток различных жидкостей при проведении различных технологических операций при освоении, ремонте и при геофизических исследованиях скважин. Изобретение поясняется графическими материалами: Фиг.1 – превентор плашечный сдвоенный гидравлический с перепускным монифольдом, тип 2ПКГ-80х70, 2ПКГ-105х70, 2ПКГ-120х70, 2ПКГ-140х70, 2ПКГ-160х70, 2ПКГ-180х70 общий вид с частичным вырезом корпуса превентора и разрезом корпуса манифольда; Фиг.2 – превентор плашечный сдвоенный гидравлический с перепускным монифольдом, тип 2ПКГ-80х70, 2ПКГ-105х70, 2ПКГ-120х70, 2ПКГ-140х70, 2ПКГ-160х70, 2ПКГ-180х70, основной вид в разрезе; Фиг.3 – превентор плашечный сдвоенный гидравлический с перепускным монифольдом, тип 2ПКГ-80х70, 2ПКГ-105х70, 2ПКГ-120х70, 2ПКГ-140х70, 2ПКГ-160х70, 2ПКГ-180х70, вид со стороны приводов; Фиг.4 – корпус превентора плашечного сдвоенного с перепускным монифольдом, вид А-А (на фиг.3) с разрезом корпуса с перепускными каналами, тип 2ПКГ-80х70, 2ПКГ-105х70, 2ПКГ-120х70, 2ПКГ-140х70, 2ПКГ-160х70, 2ПКГ-180х70, механизмы приводов не показаны; Фиг.5 – превентор плашечный сдвоенный гидравлический с перепускным монифольдом, тип 2ПКГ-80х70, 2ПКГ-105х70, 2ПКГ-120х70, 2ПКГ-140х70, 2ПКГ-160х70, 2ПКГ-180х70, вид В-В (на фиг.4) со стороны плашечных каналов в разрезе; Фиг.6 – манифольд вид сбоку; Фиг.7 – манифольд вид в разрезе, вид А-А на фиг.6. Фиг.8 – превентор плашечный сдвоенный с плоскими плашками и фланцами основной вид в разрезе; Фиг.9 – превентор плашечный сдвоенный с плоскими плашками и фланцами, основной вид, гидроприводы плашек условно не показаны; Фиг.10 – превентор плашечный сдвоенный гидравлический с перепускным монифольдом 2ПКГ-140х70 общий вид; Фиг.11 – превентор плашечный сдвоенный гидравлический с перепускным монифольдом 2ПКГ-140х70 стороны плашечных каналов в разрезе; Фиг.12 – превентор плашечный с ручным управлением плашек и с перепускным монифольдом с фланцами, основной вид в разрезе. Спецификация: 1. корпус; 2. проходное отверстие; 3. нижний плашечный затвор; 4. верхний плашечный затвор; 5. нижний плашечный канал; 6. верхний плашечный канал; 7. плашка; 8. механизм перемещения плашек (привод); 9. сквозное отверстие; 10. сквозное отверстие; 11. сквозное отверстие; 12. сквозное отверстие; 13. корпус монифольда; 14. перепускной канал: 14В-верхний, 14С-средний, 14Н-нижний; 15. перекрывающий клапан: 15В-верхний, 15С-средний, 15Н-нижний; 16. центральный канал; 17. перепускной канал; 18. фитинг; 19. выход верхний; 20. выход нижний; 21. вход; 22. заглушка; 23. винт. Осуществление устройства Пример 1. (фиг.1;2;3;4;5;6;7) Превентор плашечный сдвоенный содержит корпус 1 с проходным отверстием 2 и двумя плашечными затворами 3 и 4. Плашечные затворы 3 и 4 выполнены с цилиндрическими плашками 7. Плашечные затворы 3 и 4 установлены в плашечных каналах 5 и 6, расположенных поперек проходного отверстия 2 корпуса 1. Плашки 7 оснащены механизмами перемещения 8 плашек 7. Механизмы перемещения 8 выполнены комбинированными в виде гидроцилиндра, связанного с ручным винтовым линейным приводом. Корпус 1 превентора выполнен с диаметром проходного отверстия 2, выбранным в диапазоне от 65 до 180 мм, равным 65мм, 80 мм, 105 мм, 120мм, 130мм, 140 мм, 152мм, 160мм, 180 мм. На фиг. 1-5 показан корпус 1 превентора типов 2ПКГ-80х70, 2ПКГ-105х70, 2ПКГ-120х70, 2ПКГ-130х70, 2ПКГ-140х70, 2ПКГ-152х70, 2ПКГ-160х70, 2ПКГ-180х70 с условным проходом отверстия 2 равным 80 мм, 105мм, 120мм, 130мм, 140 мм, 152 мм, 160мм, 180 мм. Корпус 1 превентора снабжен резьбовой нарезкой, посредством которой к корпусу 1 превентора крепится фланец соответствующего типоразмера. Фланцы на фиг.1-5 не показаны. В стенке корпуса 1 выполнено четыре сквозных отверстия 9,10,11,12 выходящих в проходное отверстие 2 корпуса 1 в пространство над, под и между плашечными затворами 3 и 4. Причем на стенке корпуса 1 превентора, над сквозными отверстиями 9,10,11,12, установлен один корпус 13 монифольда с перепускными каналами 14 и перекрывающими клапанами 15. Корпус 13 накрывает все четыре сквозных отверстия 9,10,11,12, при этом в корпусе 13 выполнен сквозной центральный канал 16 соединяющий три перепускных канала 14 (14В-верхний, 14С-средний, 14Н-нижний), оснащенные перекрывающим клапанами 15, соединенные с тремя сквозными отверстиями 9,10,11 выходящими в пространство над, под и между плашечными затворами 3 и 4. В корпусе 13 выполнен четвертый перепускной канал 17 соединенный с четвертым сквозным отверстием 12 выходящим в пространство между плашечными затворами 3 и 4. Монифольд перепускной (фиг.5;6;7) обеспечивающий перетекание скважинных и технологических жидкостей в различные полости проходного отверстия 2 в корпусе 1 превентора содержит корпус 13 в виде стальной плиты, которая перекрывает сквозные отверстия 9,10,11,12. Корпус 13 прикреплен к корпусу 1 превентора винтами 23. В корпусе 13 выполнен центральный канал 16 и перепускные клапаны 14 (нижний 14Н, средний 14С, верхний 14В), с полостями, в которых установлены перекрывающие клапаны 15 (нижний 15Н, средний 15С, верхний 15В). Перепускные каналы 14 (нижний 14Н, средний 14С, верхний 14В), через фитинги 18 соединены со сквозными отверстиями 9,10,11 выполненными в корпусе 1 в проходное отверстие 2 в корпусе 1 превентора. Фитинги 18 установлены на прилегающей к корпусу 1 превентора стороне монифольда, Перепускные клапаны 15, установлены в полостях и перекрывают перепускные каналы 14, сообщающиеся с центральным каналом 16. На прилегающей стороне корпуса 13 выполнено отверстие 12, соединенное через фитинг 18 с проходным отверстием 2 в корпусе 1 превентора. С другой стороны, это отверстие соединено с входом 21 для технологической закачки жидкостей. Центральный канал 16 имеет два технологических резьбовых выхода 19 и 20. Перепускные фитинги 18 имеют уплотнительные кольца и обеспечивают герметизацию между корпусом 1 превентора и корпусом 13 монифольда перепускного. Крепление и фиксация корпуса 13 монифольда на корпусе 1 превентора осуществляется винтами 23. Пример 2. (фиг.6;7;8;9) Превентор плашечный сдвоенный содержит корпус 1 с проходным отверстием 2 и двумя плашечными затворами 3 и 4. Плашечные затворы 3 и 4 выполнены с плоскими плашками 7. Плашечные затворы 3 и 4 установлены в плашечных каналах 5 и 6, расположенных поперек проходного отверстия 2 корпуса 1. Корпус 1 превентора выполнен с диаметром проходного отверстия 2, выбранным в диапазоне от 120 до 180 мм, равным 120мм, 130мм, 140 мм, 152мм, 160мм, 180 мм. Плашки 7 оснащены механизмами перемещения 8 плашек 7. Механизмы перемещения 8 выполнены комбинированными в виде гидроцилиндра, связанного с ручным винтовым линейным приводом. В стенке корпуса 1 выполнено четыре сквозных отверстия 9,10,11,12 выходящих в проходное отверстие 2 корпуса 1 в пространство над, под и между плашечными затворами 3 и 4. Причем на стенке корпуса 1 превентора, над сквозными отверстиями 9,10,11,12, установлен один корпус 13 с перепускными каналами 14 и перекрывающими клапанами 15. Корпус 13 накрывает все четыре сквозных отверстия 9,10,11,12, при этом в корпусе 13 выполнен сквозной центральный канал 16 соединяющий три перепускных 14 (14В-верхний, 14С-средний, 14Н-нижний), оснащенные перекрывающим клапанами 15, соединенные с тремя сквозными отверстиями 9,10,11 выходящими в пространство над, под и между плашечными затворами 3 и 4. В корпусе 13 выполнен четвертый перепускной канал 17 соединенный с четвертым сквозным отверстием 12 выходящим в пространство между плашечными затворами 3 и 4. Монифольд перепускной обеспечивающий перетекание скважинных и технологических жидкостей в различные полости проходного отверстия 2 в корпусе 1 превентора содержит корпус 13 в виде стальной плиты, которая перекрывает сквозные отверстия 9,10,11,12. Корпус 13 прикреплен к корпусу 1 превентора винтами 23. В корпусе 13 выполнен центральный канал 16 и перепускные клапаны 14 (нижний 14Н, средний 14С, верхний 14В), с полостями, в которых установлены перекрывающие клапаны 15 (нижний 15Н, средний 15С, верхний 15В). Перепускные каналы 14 (нижний 14Н, средний 14С, верхний 14В), через фитинги 18 соединены со сквозными отверстиями 9,10,11 выполненными в корпусе 1 в проходное отверстие 2 в корпусе 1 превентора. Фитинги 18 установлены на прилегающей к корпусу 1 превентора стороне монифольда, Перепускные клапаны 15, установлены в полостях и перекрывают перепускные каналы 14, сообщающиеся с центральным каналом 16. На прилегающей стороне корпуса 13 выполнено отверстие 12, соединенное через фитинг 18 с проходным отверстием 2 в корпусе 1превентора. С другой стороны, это отверстие соединено с входом 21 для технологической закачки жидкостей. Центральный канал 16 имеет два технологических резьбовых выхода 19 и 20. Перепускные фитинги 18 имеют уплотнительные кольца и обеспечивают герметизацию между корпусом 1 превентора и корпусом13 монифольда перепускного. Крепление и фиксация корпуса 13 монифольда на корпусе 1 превентора осуществляется винтами 23. Пример 3. (фиг.6;7;10;11) Превентор плашечный сдвоенный 2ПКГ-140х70, содержит корпус 1 с проходным отверстием 2 и двумя плашечными затворами 3 и 4. Плашечные затворы 3 и 4 выполнены с цилиндрическими плашками 7. Корпус 1 превентора выполнен с диаметром проходного отверстия 2, равным 140 мм. Корпус 1 превентора снабжен резьбовой нарезкой, посредством которой к корпусу 1 превентора крепится фланец соответствующего типоразмера. Плашечные затворы 3 и 4 установлены в плашечных каналах 5 и 6, расположенных поперек проходного отверстия 2 корпуса 1. Плашки 7 оснащены механизмами перемещения 8 плашек 7. Механизмы перемещения 8 выполнены с гидроприводом в виде гидроцилиндра, содержащего поршень и шток. В стенке корпуса 1 выполнено четыре сквозных отверстия 9,10,11,12 выходящих в проходное отверстие 2 корпуса 1 в пространство над, под и между плашечными затворами 3 и 4. Причем на стенке корпуса 1 превентора, над сквозными отверстиями 9,10,11,12, установлен один корпус 13 с перепускными каналами 14 и перекрывающими клапанами 15. Корпус 13 накрывает все четыре сквозных отверстия 9,10,11,12, при этом в корпусе 13 выполнен сквозной центральный канал 16 соединяющий три перепускных 14 (14В-верхний, 14С-средний, 14Н-нижний), оснащенные перекрывающим клапанами 15, соединенные с тремя сквозными отверстиями 9,10,11 выходящими в пространство над, под и между плашечными затворами 3 и 4. В корпусе 13 выполнен четвертый перепускной канал 17 соединенный с четвертым сквозным отверстием 12 выходящим в пространство между плашечными затворами 3 и 4. Монифольд перепускной обеспечивающий перетекание скважинных и технологических жидкостей в различные полости проходного отверстия 2 в корпусе 1 превентора содержит корпус 13 в виде стальной плиты, которая перекрывает сквозные отверстия 9,10,11,12. Корпус 13 прикреплен к корпусу 1 превентора винтами 23. В корпусе 13 выполнен центральный канал 16 и перепускные клапаны 14 (нижний 14Н, средний 14С, верхний 14В), с полостями, в которых установлены перекрывающие клапаны 15 (нижний 15Н, средний 15С, верхний 15В). Перепускные каналы 14 (нижний 14Н, средний 14С, верхний 14В), через фитинги 18 соединены со сквозными отверстиями 9,10,11 выполненными в корпусе 1 в проходное отверстие 2 в корпусе 1 превентора. Фитинги 18 установлены на прилегающей к корпусу 1 превентора стороне монифольда, Перепускные клапаны 15, установлены в полостях и перекрывают перепускные каналы 14, сообщающиеся с центральным каналом 16. На прилегающей стороне корпуса 13 выполнено отверстие 12, соединенное через фитинг 18 с проходным отверстием 2 в корпусе 1превентора. С другой стороны, это отверстие соединено с входом 21 для технологической закачки жидкостей. Центральный канал 16 имеет два технологических резьбовых выхода 19 и 20. Перепускные фитинги 18 имеют уплотнительные кольца и обеспечивают герметизацию между корпусом 1 превентора и корпусом13 монифольда перепускного. Крепление и фиксация корпуса 13 монифольда на корпусе 1 превентора осуществляется винтами 23. Пример 4. (фиг.6;7;12) Превентор плашечный сдвоенный содержит корпус 1 с проходным отверстием 2 и двумя плашечными затворами 3 и 4. Плашечные затворы 3 и 4 выполнены с плоскими плашками 7. Плашечные затворы 3 и 4 установлены в плашечных каналах 5 и 6, расположенных поперек проходного отверстия 2 корпуса 1. Корпус 1 превентора выполнен с диаметром проходного отверстия 2, равным 162 мм. Корпус 1 превентора оснащен фланцами. Плашки 7 оснащены механизмами перемещения 8 плашек 7. Механизмы перемещения 8 выполнены с ручным винтовым линейным приводом. В стенке корпуса 1 выполнено четыре сквозных отверстия 9,10,11,12 выходящих в проходное отверстие 2 корпуса 1 в пространство над, под и между плашечными затворами 3 и 4. Причем на стенке корпуса 1 превентора, над сквозными отверстиями 9,10,11,12, установлен один корпус 13 с перепускными каналами 14 и перекрывающими клапанами 15. Корпус 13 накрывает все четыре сквозных отверстия 9,10,11,12, при этом в корпусе 13 выполнен сквозной центральный канал 16 соединяющий три перепускных 14 (14В-верхний, 14С-средний, 14Н-нижний), оснащенные перекрывающим клапанами 15, соединенные с тремя сквозными отверстиями 9,10,11 выходящими в пространство над, под и между плашечными затворами 3 и 4. В корпусе 13 выполнен четвертый перепускной канал 17 соединенный с четвертым сквозным отверстием 12 выходящим в пространство между плашечными затворами 3 и 4. Монифольд перепускной обеспечивающий перетекание скважинных и технологических жидкостей в различные полости проходного отверстия 2 в корпусе 1 превентора содержит корпус 13 в виде стальной плиты, которая перекрывает сквозные отверстия 9,10,11,12. Корпус 13 прикреплен к корпусу 1 превентора винтами 23. В корпусе 13 выполнен центральный канал 16 и перепускные клапаны 14 (нижний 14Н, средний 14С, верхний 14В), с полостями, в которых установлены перекрывающие клапаны 15 (нижний 15Н, средний 15С, верхний 15В). Перепускные каналы 14 (нижний 14Н, средний 14С, верхний 14В), через фитинги 18 соединены со сквозными отверстиями 9,10,11 выполненными в корпусе 1 в проходное отверстие 2 в корпусе 1 превентора. Фитинги 18 установлены на прилегающей к корпусу 1 превентора стороне монифольда, Перепускные клапаны 15, установлены в полостях и перекрывают перепускные каналы 14, сообщающиеся с центральным каналом 16. На прилегающей стороне корпуса 13 выполнено отверстие 12, соединенное через фитинг 18 с проходным отверстием 2 в корпусе 1превентора. С другой стороны, это отверстие соединено с входом 21 для технологической закачки жидкостей. Центральный канал 16 имеет два технологических резьбовых выхода 19 и 20. Перепускные фитинги 18 имеют уплотнительные кольца и обеспечивают герметизацию между корпусом 1 превентора и корпусом13 монифольда перепускного. Крепление и фиксация корпуса 13 монифольда на корпусе 1 превентора осуществляется винтами 23. Использование устройства. Монифольд перепускной предназначен для выравнивания давления в скважинной зоне под плашками превентора, между плашками и над плашками превентора в устьевом оборудовании, а также предназначен для подачи, слива, перетока различных жидкостей при проведении различных технологических операций при освоении, ремонте и при геофизических исследованиях скважин. Монифольд перепускной позволяет производить: 1. Безопасное, исключая возможный гидроудар, открытие плашек превентора при остаточном давлении в скважине. 2. Слив жидкостей (флюидов, газов и т.п) из скважины и сброс давления в скважине. 3. Закачку различных технических жидкостей (ингибиторов, растворов и т.п.) непосредственно в скважину при проведении технологических работ в скважинах и в процессе геофизических исследований скважины. 4. Контроль подачи вязко-пластичной жидкости (ВПЖ) над верхними плашками в надпревенторном оборудовании - в лубрикаторной установке устьевого оборудования для увеличения эффективности герметизации при высоком газовом давлении из скважины. 5. Подачу вязко-пластичной жидкости (ВПЖ) над нижними плашками превентора для увеличения эффективности герметизации при высоком газовом давлении из скважины. 6. Слив ВПЖ из лубрикаторной установки после завершения работ. Описание работы. Превентор устанавливают на устье нефтяной или газовой скважины для ее обслуживания, в процессе капитального ремонта скважин (КРС) или при проведении геофизических работ. Превентор присоединяют к фланцу устьевой крестовины для герметизации скважины при спуске в нее геофизических приборов, перфораторов и прочего оборудования на гибких линиях (кабель, трос, канат, проволока) в процессе освоения, исследования, прострелочно-взрывных работ, в процессе ремонта, а также в перерывах этих работ и при опасных ситуациях. Для герметизации скважины в корпусе 1 перекрывают проходное отверстие 2 плашечными затворами (3 или 4). При отсутствии в скважине гибкой линии закрывают нижний глухой плашечный затвор 3. При наличии в скважине гибкой линии от спущенного оборудования, закрывают верхний кабельный плашечный затвор 4. Процесс закрытия/открытия плашек 7 известен специалистам. Наличие в одном превенторе двух плашечных затворов 3 и 4 с кабельными и глухими плашками 7 позволяет герметизировать скважину при наличии в скважине кабеля и при его отсутствии, т.е. не нужно использовать два превентора с разными плашками или заменять плашки. Превентор присоединяют к фланцу устьевой крестовины или к фланцу трубной головки для герметизации скважины, при спуске в нее скважинных приборов на геофизическом кабеле, при спуске технологического оборудования, при ремонте скважин, при спускоподъемных операциях насосно-компрессорных труб (НКТ), при перерывах в работе и при опасных ситуациях. В случаях, когда в процессе работ или исследований в скважине НКТ не извлекаются из скважины, то для проведении работ внутри НКТ превентор присоединяют к устьевому фланцу трубной головки или крестовины. В этих случаях используются превенторы малого диаметра, с условным проходом 65мм, 80мм, 105мм, 120мм, 130мм. Корпуса таких превенторов снабжены резьбовой нарезкой посредством которой к корпусу превентора крепится фланец соответствующего типоразмера. Фланцы стандартные на чертежах фиг.1-5 не показаны. При проведении ремонтных работ в скважине с извлечением НКТ и с последующим спуском новой колонны НКТ, к устьевому фланцу присоединяют превентор с условным проходом проходного отверстия 2 большего диаметра, например, 140 мм, 152 мм, 160мм, 180мм. После установки превентора на фланец трубной головки, плашки превентора открывают и с помощью подъемника для ремонта скважин (АПРС) производят подъем колонны НКТ через проходное отверстие 2 превентора. При возникновении опасных ситуаций (газонефтеводопроявления) в процессе извлечения НКТ из скважин, а также при перерывах в работах превентор должен обеспечить надежную герметизацию устья скважины, с последующим безопасным открытием устья скважины после устранения опасной ситуации и после перерывов в работах. При проведении работ по бурению или освоению скважины, внутри которой нет насосно-компрессорных труб (НКТ) превентор присоединяют к фланцу устьевой крестовины. В этом случае может использоваться любой типоразмер превенторов в зависимости от размера оборудования (геофизические скважинные приборы, кумулятивные перфораторы и пр.), которое должно пройти сквозь проходное отверстие 2 корпуса 1 превентора. С использованием превентора осуществляют промывку скважины, заливку ингибиторов, растворов кислот, щелочей и т.д. и готовят ее к последующей эксплуатации. Для герметизации перекрывают проходное отверстие 2 корпуса 1. При отсутствии в скважине и в проходном отверстии 2 спускоподъемной линии (колонна труб, кабель, трос от спущенного оборудования), закрывают нижний глухой плашечный затвор 3. При наличии в скважине и в проходном отверстии 2 спускоподъемной линии (колонна труб, кабель, трос от спущенного оборудования), закрывают верхний (трубный, кабельный) плашечный затвор 4. Процесс закрытия/открытия плашек 7 известен специалистам. Наличие в одном превенторе двух плашечных затворов 3 и 4 с трубными (или кабельными) и глухими плашками 7 позволяет герметизировать скважину при наличии спускоподъемной линии (колонна труб, кабель, трос) и при их отсутствии, т.е. не нужно использовать два превентора с разными плашками или заменять плашки. Плашечные затворы 3,4 закрывают дистанционно по гидравлическим линиям или в ручном режиме, в зависимости от конструкции используемого в превентора механизма привода 8 плашек 7. Плашки 7 перемещаются в корпусе 1 независимо друг от друга. В результате встречного движения глухие нижние плашки 7 доходят до контакта друг с другом и перекрывают проходное отверстие 2. В результате встречного движения верхних плашек 7 они перекрывают проходное отверстие 2. Верхние плашки 7 доходят до поверхности гибкой спускоподъемной линии и плотно обжимают её. Плашки 7 перемещаются в корпусе 1 независимо одна от другой, в своем крайнем закрытом положении сходятся в центре корпуса 1 и перекрывают скважину. Эксплуатация превентора осуществляется в условиях агрессивного воздействия внешней среды, при повышенных давлениях. Рабочая среда (флюид) - нефть, газ, газоконденсат, пластовая вода, промывочная жидкость и их смеси. Указанные факторы отрицательно сказываются на сроке службы плашечных затворов 3, 4 снижают работоспособность, долговечность, безотказность, сокращают межремонтный интервал и наработку на отказ. Разница в давлениях среды, в пространстве над, под, между плашечными затворами 3 и 4 приводит к возникновению сил препятствующих движению плашек 7 в каналах 5 и 6. Разница в давлении увеличивает силы трения, вызывает перекосы, препятствует скольжению плашки 7, этим увеличивается величина износа в процессе эксплуатации, повышается риск отказа превентора. В процессе освоения, ремонта скважин, прострелочно-взрывных работ или при проведении геофизических работ со спущенным в скважину оборудованием на гибких спускоподъемных линиях (гибкие трубы, кабель, проволока, трос, канат) при закрытии плашек 7 верхнего плашечного затвора 4 превентора под скважинным давлением, а также при закрытии глухих плашек 7 нижнего плашечного затвора 3 превентора под давлением (после обрыва гибкой спускоподъемной линии) возникает перепад давлений в зоне герметизации – под плашками 7 и над плашками 7 превентора. При последующем открытии плашек 7 превентора из-за перепада давления в зоне герметизации может произойти гидроудар и поломка (разрушение) составных частей надпревенторного оборудования (лубрикаторной установки). Техническое решение (монифольд перепускной описанной конструкции) в сдвоенных превенторах позволяет безопасно произвести сброс остаточного давления в скважине, утилизировать скважинные жидкости (флюиды, газы и т.п.) и после этого безопасно открыть как нижние глухие плашки 7, так и верхние (кабельные, трубные, тросовые) плашки 7. Безопасное открытие плашек 7 нижнего плашечного затвора 3 осуществляют следующим образом. Предварительно все перекрывающие клапаны 15 (15В, 15С, 15 Н) корпуса 13 закрывают. Вход 21 закрыт заглушкой 22. К верхнему выходу верхнему 19 центрального канала 16 подключают манометр (не показан на схемах). К нижнему выходу 20 центрального канала 16 подключен рукав высокого давления (РВД) с быстроразъемным соединением (БРС). РВД с БРС для отвода скважинных флюидов в утилизационные ёмкости. Для открытия глухих плашек 7 нижнего плашечного затвора 3 превентора, исключая возможный гидроудар из-за остаточного давления в скважине, открывают нижний перекрывающий клапан 15Н. Клапаны 15С и 15В остаются закрытыми. После открытия клапана 15Н скважинная жидкость, находящаяся в корпусе 1 превентора снизу под глухими плашками 7 нижнего плашечного затвора 3 начинает перетекать через отверстие 9 и фитинг 18 в полость перепускного канала 14Н, в которой установлен клапан 15Н. Так как клапан 14Н открыт, то скважинная жидкость перетекает в центральный канал 16. После заполнения скважинной жидкостью центрального канала 16 производится контроль давления по манометру на верхнем выходе 19. Используя РВД с БРС, подключенный к нижнему выходу 20 производится отвод скважинных флюидов в утилизационные ёмкости и соответственно производится сброс остаточного давления в скважине. После сброса остаточного давления в скважине до атмосферного давления (контроль осуществляют по манометру на выходе верхнем 19) - глухие плашки 7 нижнего плашечного затвора 3 превентора можно безопасно открывать. Безопасное открытие плашек 7 верхнего плашечного затвора 4 осуществляют следующим образом. Предварительно все клапаны 15 (15В, 15С, 15 Н) закрыты. Вход 21 заглушен. К выходу верхнему 19 подключен манометр. К выходу нижнему 20 подключен РВД с БРС для отвода скважинных флюидов в утилизационные ёмкости. Для безопасного открытия верхних плашек 7 плашечного затвора 4, которые загерметизировали спущенное на гибких спускоподъемных линиях оборудование (глухие нижние плашки 7 нижнего плашечного затвора 3 при этом открыты), открывают вращением против часовой стрелки средний перекрывающий клапан 15С. Клапаны 15В и 15Н остаются закрытыми. После открытия клапана 15С скважинная жидкость, находящаяся в корпусе 1 превентора в проходном отверстии 2 снизу под верхними плашками 7 верхнего плашечного затвора 4 начинает перетекать через сквозное отверстие 10 и фитинг 18 в полость перепускного канала 14С, в которой установлен перекрывающий клапан 15С. Так как перекрывающий клапан 15С открыт, то скважинная жидкость перетекает в центральный канал 16. После заполнения скважинной жидкостью центрального канала 16 производится контроль давления по манометру, подключенному к выходу верхнему 19. Используя РВД с БРС, подключенный к выходу нижнему 20 производится отвод скважинных флюидов в утилизационные ёмкости и соответственно производится сброс остаточного давления в скважине. После сброса остаточного давления в скважине до атмосферного давления - верхние плашки 7 верхнего плашечного затвора 4 превентора можно безопасно открывать. Закачка технических сред в скважину осуществляется следующим образом. Закачка технических сред (жидкостей, растворов, ингибиторов) в скважину производится при открытых глухих плашках 7 нижнего плашечного затвора 3 и закрытых кабельных (или трубных, тросовых) плашках 7 верхнего плашечного затвора 4 превентора, которые загерметизировали спущенное на гибких спускоподъемных линиях оборудование в скважину. Все перекрывающие клапаны 15 (15В, 15С, 15Н) предварительно закрыты. К выходу верхнему 19 подключен манометр. К выходу нижнему 20 присоединена розетка БРС с клапаном, который заглушает выход 20. РВД от насосной станции с технической жидкостью подключают к технологическому резьбовому входу 21, из которого закачиваемая техническая жидкость по каналу 17 через фитинг 18 и сквозное отверстие 12 поступает непосредственно в проходное отверстие 2 корпуса 1 превентора между плашками 7 верхнего плашечного затвора 4 и плашками 7 нижнего плашечного затвора 3 и далее вниз по проходному отверстию 2 корпуса 1 в скважину. Т.к. плашки 7 верхнего плашечного затвора 4 закрыты и клапанами 15В, 15С, 15Н, закрыты все сквозные отверстия 9,10,11, то проникновение закачиваемой технической жидкости в верхнюю часть корпуса превентора и в надпревенторное устьевое оборудование исключается. После завершения закачки к розетке БРС нижнего выхода 20 подключают ответный ниппель БРС с РВД для слива из превентора остаточной технической жидкости. Герметизация вязко-пластичной жидкостью (ВПЖ) над плашками 7 верхнего плашечного затвора 4 при спускоподъемных операциях. В процессе проведения различных работ на гибких спускоподъемных линиях (кабель, проволока, трос, гибкие трубы) в нефтегазовых скважинах имеется большая вероятность газопроявлений с высоким давлением, в этом случае спускоподъемные операции необходимо производить при закрытых плашках 7 (кабельных, тросовых и т.п.) верхнего плашечного затвора 4. На начальной стадии спускоподъемной операции, чтобы спускаемое на гибких линиях оборудование, возможно было спустить в скважину, применяют специальные закрепленные на гибких линиях утяжеленные грузовые навески, т.к. закрытые плашки 7 верхнего плашечного затвора 4 превентора достаточно сильно удерживают гибкую линию от перемещения. После начала перемещения гибких спускоподъемных линий через плашечный полимерный уплотнитель, в зоне контакта полимерного уплотнителя с гибкой линией в результате трения постепенно возникают микроскопические зазоры. Вследствие даже микроскопических зазоров возникает негерметичность для газов под давлением. Для устранения просачивания скважинных газов используется закачка вязкопластичной жидкости (ВПЖ) над плашками 7 верхнего плашечного затвора 4 превентора. Закачка ВПЖ под давлением производится от насосной станции, РВД которой подключена к верхней части лубрикаторной установки с сальником, через который сверху подается гибкая линия (кабель, трос и т.п.). Перед проведением спускоподъемных операций и перед заполнением ВПЖ все перекрывающие клапаны 15 (15В, 15С, 15 Н) предварительно закрыты. К резьбовому входу 21 подключают РВД с БРС для отвода газопроявлений (и / или скважинных флюидов) в утилизационные ёмкости. К резьбовому выходу нижнему 20 подключают РВД с БРС для отвода ВПЖ в сливной бак насосной станции, подающей ВПЖ. Открывают верхний перепускной клапан 15В и включают подачу ВПЖ от насосной станции. После подачи ВПЖ заполняется полностью всё оборудование над плашками 7 верхнего плашечного затвора 4, далее через отверстие 11 и фитинг 18 ВПЖ начинает поступать в полость перепускного канала 14В с открытым перекрывающим клапаном 15В, и далее в центральный канал 16. После заполнения центрального канала 16, и после отвода воздуха через выход нижний 20, БРС РВД на выходе нижнем 20 разъединяют (клапан в БРС блокирует дальнейшее вытекание ВПЖ из центрального канала 16 монифольда). После этого нагнетается давление ВПЖ до заданного значения. Давление ВПЖ в монифольде контролируется по манометру, подключенному к выходу верхнему 19. Отвод скважинного газа под плашками 7 верхнего плашечного затвора 4 осуществляется через отверстие 12 и фитинг 18 и далее по каналу 17 через вход 21 в утилизационные ёмкости. Слив ВПЖ из лубрикаторной установки после завершения работ осуществляют следующим образом. После выполнения спускоподъемных операций перед открытием плашек 7 верхнего плашечного затвора 4 производится сброс ВПЖ из надпревенторного оборудования. Отключают подачу ВПЖ, к БРС на выходе нижнем 20 центрального канала 16 подключают РВД для отвода ВПЖ в сливной бак. В верхнюю часть лубрикатора подключают воздушный компрессор и давлением воздуха ВПЖ выдавливается через открытый перекрывающий клапан 15В в центральный канал 16 и далее через выход нижний 20 в сливной бак. После слива ВПЖ закрывают перекрывающий клапан 15В (клапаны 15С и 15Н также остаются закрытыми). На входе 21 разъединяют БРС (вход 21 автоматически становится заглушен за счет клапанного механизма БРС). Далее выполняют операции, описанные выше в разделе «Безопасное открытие плашек 7 верхнего плашечного затвора 4 осуществляют следующим образом». Герметизация вязко-пластичной жидкостью (ВПЖ) плашек 7 нижнего плашечного затвора 3 при спускоподъемных операциях. Техническое решение для превенторов позволяет произвести закачку ВПЖ для герметизации плашек 7 без использования закачки через лубрикаторную установку. Для этого превентор оснащают плашками 7 нижнего плашечного затвора 3 для гибких спускоподъемных линий, а плашки 7 верхнего плашечного затвора 4 устанавливают глухие, которые закрывают в аварийном случае при обрыве гибкой спускоподъемной линии. Перед проведением спускоподъемных операций и перед заполнением ВПЖ все перекрывающие клапаны 15 (15В, 15С, 15 Н) предварительно закрыты. К резьбовому выходу нижнему 20 подключают РВД с БРС для отвода газопроявлений (и / или скважинных флюидов) в утилизационные ёмкости. К резьбовому входу 21 подключают РВД с БРС для подачи ВПЖ в монифольд. После подачи ВПЖ к входу 21, ВПЖ по каналу 17 через фитинг 18 и отверстие 12 поступает непосредственно в проходное отверстие 2 корпуса 1 превентора над нижними плашками 7 нижнего плашечного затвора 3 превентора, т.к. нижние плашки 7 нижнего плашечного затвора 3 превентора закрыты, то ВПЖ начинает заполнять всё надпревенторное оборудование. Для отвода газопроявлений из скважины открывают клапан 15Н, газопроявления поступают через отверстие 9 и фитинг 18 в центральный канал 16 и далее отводятся в утилизационные ёмкости через РВД, подключенному к выходу нижнему 20. По окончанию работ производится слив ВПЖ, подающий конец РВД отключается от насосной установки и подключается к сливному баку, второй конец РВД остается подключенным на входе нижнем 21, через который закаченная в превентор ВПЖ отводится в сливной бак. После слива ВПЖ РВД отключается от нижнего входа 21 и нижний вход 21 заглушают. Для последующего открытия нижних плашек выполняется последовательность операций, описанная выше в разделе «Безопасное открытие плашек 7 нижнего плашечного затвора 3 осуществляют следующим образом». Таким образом, техническое решение позволяет регулировать сообщение замкнутых пространств проходного отверстия 2 корпуса 1 превентора расположенного над, между, под плашечными затворами 3 и 4, контролировать давление среды в указанных пространствах, осуществлять закачку и слив сред из пространства проходного отверстия 2. Манифольд перепускной это сообщающаяся система каналов и отверстий с перепускными клапанами 15, выходами обеспечивающими возможность присоединения устройств, линий и установки заглушек, выполненная параллельно проходному каналу позволяет производить описанные выше операции, что не доступно для известных аналогов. Заявляемое техническое решение реализовано с использованием выпускаемых промышленностью материалов, и может быть использовано по назначению.