Изобретение относится к нефтегазодобывающей промышленности и предназначено для герметизации межколонного пространства устья скважин между кондуктором и технической колонной, на подземных хранилищах газа. Технический результат заключается в обеспечении герметизации межколонного пространства устья скважины между кондуктором и технической колонной как на скважинах, находящихся в эксплуатации, так и на вновь строящихся скважинах. Предложен герметизатор, включающий составной корпус с размещенным в нем уплотнительным элементом, составную грундбуксу, шпильки и отвод межколонного пространства. Составной корпус расположен на днище и приварен к нему. При этом днище приварено к торцу кондуктора и выполнено с внутренним отверстием для технической колонны с возможностью компенсации эксцентриситета между технической колонной и кондуктором. В верхней части составного корпуса установлена с зазором составная грундбукса, взаимодействующая своей нижней торцевой поверхностью с верхней поверхностью уплотнительного элемента с возможностью компенсации некруглости технической колонны. Нижняя часть составной грундбуксы выполнена с внутренним диаметром, обеспечивающим ее свободный ход относительно технической колонны, а верхняя часть составной грундбуксы выполнена с внутренним диаметром с образованием между ее внутренней поверхностью и технической колонной полости, сообщающейся с радиальным горизонтальным каналом, выполненным в боковой поверхности составной грундбуксы и не ограниченным верхним торцом составного корпуса, и также сообщающейся с радиальным отверстием, выполненным в составном корпусе и сообщающимся с поверхностью раздела между нижней торцевой поверхностью составной грундбуксы и верхней поверхностью уплотнительного элемента. Уплотнительный элемент выполнен разрезным и размещен в составном корпусе на днище. На составной грундбуксе установлена прижимная крышка со сквозными осевыми отверстиями под шпильки, нижние концы которых расположены вдоль наружной поверхности составного корпуса и приварены к ней, а их верхние концы зафиксированы гайками. При этом шпильки установлены с возможностью создания равномерного усилия, передаваемого от прижимной крышки на грундбуксу и на уплотнительный элемент по вертикальной оси. Каждая из деталей: днище, составной корпус, составная грундбукса, крышка прижимная выполнена в виде полуколец, приваренных друг к другу, а отвод межколонного пространства приварен к отверстию, выполненному в кондукторе. 5 з.п. ф-лы, 2 ил.
1. Устройство для герметизации межколонного пространства устья скважины между кондуктором и технической колонной, содержащее составной корпус с размещенным в нем уплотнительным элементом, составную грундбуксу, шпильки, отвод межколонного пространства, отличающееся тем, что составной корпус расположен на днище и приварен к нему, при этом днище приварено к торцу кондуктора и выполнено с внутренним отверстием для технической колонны с возможностью компенсации эксцентриситета между технической колонной и кондуктором, а в верхней части составного корпуса установлена с зазором составная грундбукса, взаимодействующая своей нижней торцевой поверхностью с верхней поверхностью уплотнительного элемента с возможностью компенсации некруглости технической колонны, при этом нижняя часть составной грундбуксы выполнена с внутренним диаметром, обеспечивающим ее свободный ход относительно технической колонны, а верхняя часть составной грундбуксы выполнена с внутренним диаметром с образованием между ее внутренней поверхностью и технической колонной полости, сообщающейся с радиальным горизонтальным каналом, выполненным в боковой поверхности составной грундбуксы и не ограниченным верхним торцом составного корпуса, и также сообщающейся с радиальным отверстием, выполненным в составном корпусе и сообщающимся с поверхностью раздела между нижней торцевой поверхностью составной грундбуксы и верхней поверхностью уплотнительного элемента, при этом уплотнительный элемент выполнен разрезным и размещен в составном корпусе на днище, также на составной грундбуксе установлена прижимная крышка со сквозными осевыми отверстиями под шпильки, нижние концы которых расположены вдоль наружной поверхности составного корпуса и приварены к ней, а их верхние концы зафиксированы гайками, при этом шпильки установлены с возможностью создания равномерного усилия, передаваемого от прижимной крышки на грундбуксу и на уплотнительный элемент по вертикальной оси, причем каждая из деталей: днище, составной корпус, составная грундбукса, крышка прижимная выполнена в виде полуколец, приваренных друг к другу, а отвод межколонного пространства приварен к отверстию, выполненному в кондукторе. 2. Устройство для герметизации по п. 1, отличающееся тем, что отверстие в днище выполнено таким образом, что его ось смещена относительно оси наружного диаметра днища на величину, соответствующую величине эксцентриситета между кондуктором и технической колонной. 3. Устройство для герметизации по п. 1, отличающееся тем, что уплотнительный элемент расположен с возможностью перекрытия радиального отверстия в составном корпусе не более чем на ½ диаметра радиального отверстия, с возможностью компенсации некруглости технической колонны. 4. Устройство для герметизации по п. 1, отличающееся тем, что нижняя часть составной грундбуксы выполнена с наружным диаметром под внутренний диаметр составного корпуса, а верхняя часть составной грундбуксы выполнена с наружным диаметром под наружный диаметр составного корпуса, при этом грундбукса установлена с возможностью взаимодействия своей нижней частью с уплотнительным элементом по плоскости, перпендикулярной оси технической колонны. 5. Устройство для герметизации по п. 1, отличающееся тем, что уплотнительный элемент выполнен в виде разрезных уплотнительных колец, в сечении имеющих форму прямоугольника, уложенных друг на друга со смещением места разреза одного кольца относительно другого. 6. Устройство для герметизации по п. 1, отличающееся тем, что корпус и днище обеспечивают возможность взаимного позиционирования во время монтажа.
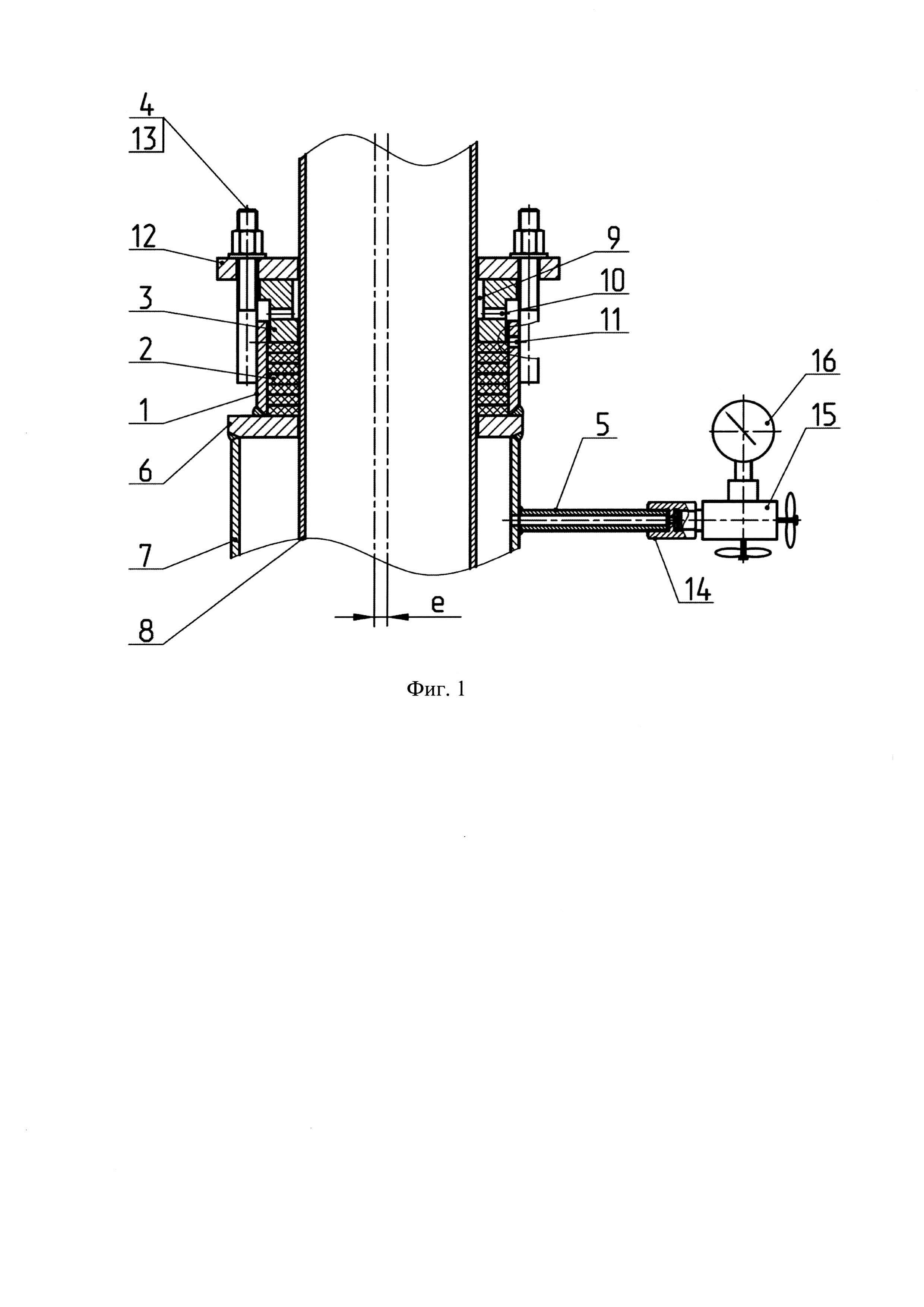
Изобретение относится к нефтегазодобывающей промышленности, и предназначено для герметизации межколонного пространства устья скважин между кондуктором и технической колонной скважин нефтяных и газовых месторождений, подземных хранилищ газа, на подземных хранилищах газа, со сбросом избыточного давления межколонного флюида через отвод межколонного пространства. Изобретение может быть использовано как на скважинах, находящихся в эксплуатации, так и на вновь строящихся скважинах. Известна серийно выпускаемая двухфланцевая колонная головка типа ОКК-2 (см. Абубакиров В.Ф., Архангельский В.Л., и др. Оборудование буровое, противовыбросовое и устьевое: Справ, пособ.: В 2 т. Т. 1 - М.: ООО «ИРЦ Газпром», 2007 г., с. 613), состоящая из литых (кованных) верхнего и нижнего цельных корпусов, клиньевых трубодержателей (клиньевых подвесок) и цельных пакеров - верхних и нижних. Нижняя часть корпуса имеет на внутренней стороне резьбу для навинчивания колонной головки на кондуктор. Цельные пакеры (уплотнительные элементы) предназначены для герметизации межколонного пространства между колоннами и выполнены в виде цельной самоуплотняющихся резиновых манжет (уплотнителей). В боковой стенке корпуса выполнены боковые отводы межколонного пространства. Боковые отводы предназначены для технологических операций, для контроля давления и сброса межколонного флюида. Колонная головка ОКК-2 обеспечивает герметичность между кондуктором и технической колонной. Однако установка колонной головки типа ОКК-2 относится к работам по реконструкции объекта, что требует осуществления следующих основных мероприятий: 1. разработка и утверждение проектной документации; 2. закупка колонной головки типа ОКК-2; 3. глушение скважины; 4. подъем и извлечение из скважины забойного оборудования; 5. установка изолирующего цементного моста в стволе скважины («Правила по обеспечению промышленной безопасности при добыче нефти и газа»); 6. демонтажа существующей колонной головки ОКК-1; 7. компенсация эксцентриситета колонн (при наличии) специальным устройством; 8. нарезка резьбы специальным оборудованием на кондукторе для монтажа колонной головки типа ОКК-2; 9. монтаж ОКК-2, спуск в скважину забойного оборудования; 10. разбурка изолирующего цементного моста и освоение скважины. Монтаж колонной головки типа ОКК-2 на кондуктор требует нарезки резьбы на внешней стороне кондуктора, что не всегда возможно ввиду изношенности, коррозии и некруглости трубы. Кроме того, при наличии эксцентриситета между кондуктором и технической колонной установка колонной головки типа ОКК-2 без эксцентричной муфты специальной конструкции будет невозможна (В.Е. Дубенко, В.В. Крымов, Р.М. Халиуллин «Обеспечение требований промышленной безопасности к устьевой обвязке скважин», Материалы совещания; п. Красная Поляна, 2010). Все вышеперечисленные мероприятия значительно увеличивают время и стоимость работ по герметизации пространства между кондуктором и технической колонной. Известен герметизатор устья скважин разъемный (см. п. РФ RU 2531667С1 от 24.06.2013 г. по кл. Е21В 33/03, опубл. 27.10.2014 г.), конструкция которого имеет: составной корпус, устанавливаемый на торце кондуктора, состоящий из двух полукорпусов, соединенных между собой встык и загерметизированных напряженно-деформированными медьсодержащими прокладками. На нижнем торце каждого полукорпуса приварена полупланшайба с кольцевой канавкой специальной конфигурации на ее нижней торцевой поверхности под разрезное уплотнительное кольцо, выполненное из мягкого металла, причем кольцевая канавка проточена с учетом максимальной толщины стенки кондуктора и максимального эксцентриситета кондуктора и промежуточной (технической) колонны, с обеспечением соосности разъемного цилиндрического корпуса относительно промежуточной (технической) колонны. В верхней части на наружной боковой поверхности каждого полукорпуса приварен полуфланец. Между полуфланцами и полупланшайбами приварены стяжные планки с косынками, под полупланшайбами приварены стяжные планки с пластинами. Все стяжные планки имеют стяжные отверстия под шпильки с гайками. В средней части на внутренней боковой поверхности каждого полукорпуса приварено полукольцо, верхняя торцевая поверхность которого выполнена конусной. Над полукольцами установлены самоуплотняющиеся конусные кольца, выполненные из эластичного материала и разрезанные по всей высоте. Над самоуплотняющимися конусными кольцами установлена разъемная грундбукса, половинки которой зафиксированы зацепами. Нижняя торцевая поверхность разъемной грундбуксы выполнена конусной, а угол наклона ϕ ее торцевой поверхности к вертикальной оси герметизатора определяют из неравенства (ϕ≥arctg(l/f), где f - коэффициент трения эластичного материала по металлу. Верхние торцевые поверхности полуколец и самоуплотняющиеся конусные кольца имеют конусность, соответствующую конусности нижней торцевой поверхности разъемной грундбуксы. В верхней части разъемной грундбуксы и в полуфланцах выполнены сквозные отверстия под упорные шпильки с гайками. Гайки установлены над разъемной грундбуксой, а гайки - над полуфланцами. Над разъемной грундбуксой установлена разъемная упорная втулка. Разъемная упорная втулка имеет резьбовые отверстия, выполненные на ее нижней торцевой поверхности для фиксации верхней части упорных шпилек. Разъемная упорная втулка в верхней части состыкована в единую деталь фиксирующими вкладышами, места стыков которых перпендикулярны местам стыков разъемной упорной втулки. На внутреннюю боковую поверхность разъемной упорной втулки, выполненную конусно, опираются плашки. Кольца, конусные. Герметизатор устья скважин разъемный, по заявлению авторов изобретения, обеспечивает герметичность между кондуктором и технической колонной. Однако, он имеет сложную разъемную конструкцию, предполагающую сборку из достаточно точных и сложных (нетехнологичных) деталей, которые в производстве требуют больших затрат труда и времени. Так, например, каждый из двух полукорпусов герметизатора имеет сварную конструкцию, состоящую из 7 (8) деталей, сориентированных между собой определенным образом. При их сварке, необходимо сориетировать и зафиксировать детали между собой, предусмотреть влияние их увода, под действием сварочного шва от первоначального взаимного положения. Так же сварная конструкция полукорпусов не обеспечит необходимой плоскостности (порядка 0,05 мм) поверхностей под прокладки, по окончанию сварочных работ, и потребует дополнительной механической обработки. Для снятия сварочных напряжений, и исключения в связи с этим, возможной дальнейшей непредвиденной деформации корпуса, не лишним будет провести термический отпуск после сварки. Все это повлечет дополнительные затраты на производство. Кроме того, монтаж герметизатора (принятого за прототип) предполагает точную обработку торца трубы кондуктора, обеспечивающую достаточную плоскостность и требуемую перпендикулярность торца кондуктора оси технической колонны, что в полевых условиях выполнить проблематично, и в ряде случаев (например, при коррозии и, или некруглости кондуктора) даже с применением специального инструмента и оснастки. Герметичность устройства зависит и от прижатия герметизатора к торцу кондуктора. Необходимо упомянуть и об отсутствии дренажных отверстий в грундбуксе и корпусе герметизатора, что приведет к скоплению атмосферных осадков и конденсата в пространстве между технической колонной и корпусом, провоцируя, таким образом, очаг коррозии в этом месте. В целом конструкция герметизатора, принятого за прототип, насчитывает 77 деталей, против 31 детали, предлагаемого герметизатора, при этом форма деталей предлагаемого герметизатора более простая, технологичная, и выполнена со значительно большими допусками, что естественно удешевит конструкцию. Задачей предлагаемого изобретения является расширение функциональных возможностей устройства, а также устранение указанных выше недостатков за счет повышения герметичности устройства и надежности его работы, а также снижение трудоемкости изготовления и себестоимости устройства. Технический результат заключается в обеспечении герметизации межколонного пространства устья скважины между кондуктором и технической колонной как на скважинах, находящихся в эксплуатации, так и на вновь строящихся скважинах. Также технический результат выражается в обеспечении герметичного и надежного соединения днища устройства с кондуктором, герметичного и надежного соединения полуколец составного корпуса, составной грундбуксы и крышки. Кроме того, заявляемое устройство позволяет исключить вредное прямое воздействие межколонного флюида на окружающую среду, характеризуется простотой и дешевизной конструкции. Поставленная задача решается, а технический результат достигается устройством для герметизации межколонного пространства устья нефтегазодобывающей скважины между кондуктором и технической колонной, содержащее составной корпус с размещенным в нем уплотнительным элементом, составную грундбуксу, шпильки, отвод межколонного пространства, отличающееся тем, что составной корпус расположен на днище и приварен к нему, при этом днище приварено к торцу кондуктора и выполнено с внутренним отверстием для технической колонны с возможностью компенсации эксцентриситета между технической колонной и кондуктором, а в верхней части составного корпуса установлена с зазором составная грундбукса, взаимодействующая своей нижней торцевой поверхностью с верхней поверхностью уплотнительного элемента с возможностью компенсации некруглости технической колонны, при этом нижняя часть составной грундбуксы выполнена внутренним диаметром, обеспечивающим ее свободный ход относительно технической колонны, а верхняя часть составной грундбуксы выполнена внутренним диаметром с образованием между ее внутренней поверхностью и технической колонной полости, сообщающейся с радиальным горизонтальным каналом, выполненным в боковой поверхности составной грундбуксы и не ограниченным верхним торцом составного корпуса, и также сообщающейся с радиальным отверстием, выполненным в составном корпусе и сообщающимся с поверхностью раздела между нижней торцевой поверхностью составной грундбуксы и верхней поверхностью уплотнительного элемента, при этом уплотнительный элемент выполнен разрезным и размещен в составном корпусе на днище, так же на составной грундбуксе установлена прижимная крышка со сквозными осевыми отверстиями под шпильки, нижние концы которых расположены вдоль наружной поверхности составного корпуса и приварены к ней, а их верхние концы зафиксированы гайками, при этом шпильки установлены с возможностью создания равномерного усилия, передаваемого от прижимной крышки на грундбуксу и на уплотнительный элемент по вертикальной оси, причем каждая из деталей: днище, составной корпус, составная грундбукса, крышка прижимная, выполнена в виде полуколец, приваренных друг к другу, а отвод межколонного пространства приварен к отверстию, выполненному в кондукторе. В частном случае исполнения отверстие в днище выполнено таким образом, что его ось смещена относительно оси наружного диаметра днища на величину, соответствующую величине эксцентриситета между кондуктором и технической колонной. Уплотнительный элемент расположен с возможностью перекрытия радиального отверстия в составном корпусе не более, чем на ½ диаметра радиального отверстия, с возможностью компенсации некруглости технической колонны. Нижняя часть составной грундбуксы выполнена наружным диаметром под внутренний диаметр составного корпуса, а верхняя часть составной грундбуксы выполнена наружным диаметром под наружный диаметр составного корпуса, при этом грундбукса установлена с возможностью взаимодействия своей нижней частью с уплотнительным элементом по плоскости перпендикулярной оси технической колонны. Уплотнительный элемент выполнен в виде разрезных уплотнительных колец, в сечении имеющих форму прямоугольника, уложенных друг на друга со смещением места разреза одного кольца относительно другого. Корпус и днище обеспечивают возможность взаимного позиционирования во время монтажа. Таким образом, заявляемое техническое решение соответствует условию новизны. Анализ изобретательского уровня показал следующее: из источников патентной документации и научно-технической литературы не выявлены технические решения, имеющие в своей основе признаки, совпадающие с отличительными признаками заявляемого технического решения, обеспечивающими достигаемый технический результат, обусловленный неизвестными свойствами конструктивных элементов герметизатора и связями между конструктивными элементами. Таким образом, заявляемые существенные признаки не следуют явным образом из уровня техники, т.е. соответствуют условию изобретательского уровня. Изобретение поясняется фигурами. На фигуре 1 изображен герметизатор в разрезе, смонтированный на устье скважины. На фигуре 2 изображена форма днища герметизатора, для монтажа на устье скважины, имеющей эксцентриситет (е) кондуктора относительно технической колонны. На фигурах приняты следующие обозначения: 1. Корпус; 2. Уплотнительный элемент; 3. Грундбукса; 4. Шпилька; 5. Отвод межколонного пространства; 6. Днище; 7. Кондуктор; 8. Техническая колонна; 9. Полость; 10. Канал; 11. Отверстие; 12. Прижимная крышка; 13. Гайка; 14. Муфта; 15. Кран с вентилем; 16. Манометр. Герметизатор, Фиг. 1,содержит: составной корпус 1 с размещенным в нем уплотнительным элементом 2, составную грундбуксу 3, шпильки 4, отвод межколонного пространства 5, при этом составной корпус, расположен на днище 6 и приварен к нему, днище приварено к торцу кондуктора 7 и выполнено с внутренним отверстием для технической колонны 8 с возможностью компенсации эксцентриситета (е) между технической колонной 8 и кондуктором 7, а в верхней части составного корпуса 1 установлена с зазором, составная грундбукса 3, взаимодействующая своей нижней торцевой поверхностью с верхней поверхностью уплотнительного элемента 2 с возможностью компенсации некруглости технической колонны 8, при этом нижняя часть составной грундбуксы 3 выполнена внутренним диаметром, обеспечивающим ее свободный ход относительно технической колонны 8, а верхняя часть составной грундбуксы 3 выполнена внутренним диаметром с образованием между ее внутренней поверхностью и технической колонной 8 полости 9, сообщающейся с радиальным горизонтальным каналом 10, выполненным в боковой поверхности составной грундбуксы 3 и не ограниченным верхним торцом составного корпуса 1, и также сообщающейся с радиальным отверстием И, выполненным в составном корпусе 1 и сообщающимся с поверхностью раздела между нижней торцевой поверхностью составной грундбуксы 3 и верхней поверхностью уплотнительного элемента 2, при этом уплотнительный элемент 2 выполнен разрезным и размещен в составном корпусе 1 на днище 6, также на составной грундбуксе 3 установлена прижимная крышка 12 со сквозными осевыми отверстиями под шпильки 4, нижние концы которых расположены вдоль наружной поверхности составного корпуса 1 и приварены к нему, а их верхние концы зафиксированы гайками 13, при этом шпильки 4 установлены с возможностью создания равномерного усилия, передаваемого от прижимной крышки 12 на грундбуксу 3 и на уплотнительные элементы 2 по вертикальной оси, причем каждая из деталей - днище 6, составной корпус 1, составная грундбукса 3, крышка прижимная 12 выполнена в виде полуколец, приваренных друг к другу, а отвод межколонного пространства 5 приварен к отверстию 11, выполненному в кондукторе 7, на противоположный конец отвода установлена муфта 14, в которую вкручен кран с вентилем 15 и манометром 16. В частном случае исполнения: отверстие в днище 6 выполнено таким образом, что его ось смещена относительно оси наружного диаметра днища 6 на величину, соответствующую величине эксцентриситета между кондуктором 7 и технической колонной 8; уплотнительный элемент 2 расположен с возможностью перекрытия радиального отверстия в составном корпусе 1 не более, чем на Vi диаметра радиального отверстия, с возможностью компенсации некруглости технической колонны 8; нижняя часть составной грундбуксы 3 выполнена наружным диаметром под внутренний диаметр составного корпуса 1, а верхняя часть составной грундбуксы 3 выполнена наружным диаметром под наружный диаметр составного корпуса 1, при этом грундбукса 3 установлена с возможностью взаимодействия своей нижней частью с уплотнительным элементом 2 по плоскости перпендикулярной оси технической колонны 8; уплотнительный элемент 2 выполнен в виде разрезных уплотнительных колец, в сечении имеющих форму прямоугольника, уложенных друг на друга со смещением места разреза одного кольца относительно другого; корпус 1 и днище 6 обеспечивают возможность взаимного позиционирования во время монтажа. Герметизатор на устье скважины монтируют в следующем порядке. В кондукторе 7 (Фиг. 1) сверлят отверстие под приварку отвода межколонного пространства 5, после чего отвод межколонного пространства 5 приваривают.К предварительно подготовленной кромке кондуктора 7 приваривают полукольца Фиг. 2 и сваривают их между собой, образуя таким образом днище 6 Фиг. 1. При необходимости производят зачистку сварных швов. Затем на технической колонне 8 замыкают полукольца, образующие корпус 1 и сваривают их между собой. Благодаря свободной подвижности полученного таким образом корпуса 1 по днищу 6, позиционируют корпус 1 соосно технической колонне 8 и приваривают его к днищу 6. Далее на технической колонне 8 замыкают полукольца грундбуксы 3 и сваривают их между собой, аналогично поступают с полукольцами крышки прижимной 12. Проверяют свободный ход грундбуксы 3 во внутреннем пространстве корпуса 1, и свободный ход крышки прижимной 12 по технической колонне 8, при необходимости производят зачистку сварных швов. Затем к корпусу 1 приваривают шпильки 4. Для фиксации шпилек относительно крышки прижимной 12 во время приварки, может быть использована сама крышка прижимная, уложенная на корпус 1, и вкладыши, заполняющие зазор между шпилькой и отверстием под нее. После приварки шпилек 4 вкладыши извлекают за ненадобностью. Далее на днище 6 укладывают разрезные кольца уплотнительные 2, образующие уплотнительный элемент, при этом разрез каждого последующего кольца ориентируют через 90°…180° к разрезу предыдущего кольца. При укладке колец уплотнительных на их поверхность наносят пасту уплотнительную, например, арматол. Кольца уплотнительные 2 могут быть выполнены, например, из эластичного, или волокнистого набивочного материала, благодаря свойству подвижности которого, при оказании давления от грундбуксы 3 происходит деформация уплотнительного элемента 2 и тем самым обеспечивается герметизация межколонного пространства, а также компенсация некруглости технической колонны. Так же в качестве уплотнительного элемента 2, например, может быть применена заливка эластомером типа полиуретан. Затем поочередно устанавливают: грундбуксу 3, крышку прижимную 12. На верхние концы шпилек 4, продетые через отверстия в крышке прижимной 12 навинчивают гайки 13. Гайки закручивают регламентируемым моментом. Для исключения сбора конденсата и атмосферных осадков, в корпусе 1 выполняют дренажные отверстия 11, сообщающиеся с поверхностью раздела грундбуксы 3 и уплотнительного элемента 2, и соединенные дренажным каналом 10 с полостью 9. Избыточным давлением, через отвод межколонного пространства 5, проверяют прочность и герметичность конструкции. В процессе эксплуатации герметизатора контролируют давление межколонного пространства, для чего на отвод межколонного пространства устанавливают муфту 14, кран с вентилем 15, манометр 16. При возрастании давления выше регламентируемого, давление сбрасывают открытием крана 15, межколонный жидкий флюид при этом собирают в специальную емкость. Выполненное таким образом устройство обеспечит герметизацию межколонного пространства устья скважины между кондуктором и технической колонной как на скважинах, находящихся в эксплуатации, так и на вновь строящихся скважинах. Также обеспечит герметичность и надежность соединения днища устройства с кондуктором, герметичность и надежность соединения полуколец составного корпуса, составной грундбуксы и крышки. Кроме того, заявляемое устройство позволит исключить вредное прямое воздействие межколонного флюида на окружающую среду, а также характеризуется простотой и дешевизной конструкции. Опытный образец герметизатора прошел испытания на скважине и подтвердил свою надежность и заявляемый технический результат. Заявляемое устройство имеет ряд преимуществ: обеспечивает герметизацию межколонного пространства устья скважины между кондуктором и технической колонной как на скважинах, находящихся в эксплуатации, так и на вновь строящихся скважинах; благодаря свободной подвижности корпуса герметизатора по днищу при монтаже, достигается соосность корпуса относительно технической колонны, тем самым упрощается изготовление полуколец симметричной формы и размера уплотнительного элемента, грундбуксы, крышки прижимной; посредством сварных соединений обеспечивается герметичность и надежность соединения днища устройства с кондуктором, герметичность и надежность соединения полуколец составного корпуса, составной грундбуксы и крышки; уплотнительным элементом обеспечвается герметизация кольцевого пространства между кондуктором и технической колонной с компенсацией некруглости технической колонны; дренажными отверстиями в грундбуксе и корпусе герметизатора обеспечивается отвод влаги атмосферных осадков и конденсата с пространства между технической колонной и корпусом, предотвращая, таким образом, возникновения очагов коррозии в этом месте или повреждения устройства замерзающей жидкостью; исключается вредное прямое воздействие межколонного флюида на окружающую среду; устройство характеризуется простотой и дешевизной конструкции; Список используемой литературы: 1. Абакиров В.Ф., Архангельский В.Л., и др. Оборудование буровое, противовыбросовое и устьевое: Справ, пособ.: В 2 т.: ООО «ИРЦ Газпром», 2007. 2. Патент РФ RU 2531667С1 от 24.06.2013 г. по кл. Е21В 33/03, опубл. 27.10.2014 г. 3. «Правила по обеспечению промышленной безопасности при добыче нефти и газа» 4. В.Е. Дубенко, В.В. Крымов, Р.М. Халиуллин «Обеспечение требований промышленной безопасности к устьевой обвязке скважин», Материалы совещания; п. Красная Поляна, 2010 г.