Предлагаемое изобретение относится к контрольно-измерительной технике и может быть использовано в системах автоматического определения уровня сыпучих веществ в различных отраслях народного хозяйства, например, в сельском хозяйстве - при измерении уровня зерна в силосных башнях, муки, удобрений, в промышленности строительных материалов - при измерении уровня песка, гравия, щебня, цемента, керамзита и др. Способ измерения уровня сыпучих веществ состоит в том, что чувствительный элемент, опущенный в измеряемое вещество на максимально возможную глубину, периодически вращают с помощью электродвигателя и измеряют значения, по которым определяют уровень сыпучих веществ, при этом чувствительный элемент выполнен в виде измерительной ленты с заданными толщиной, определяющей рабочий угол скручивания ленты, шириной, согласованной с заданным моментом кручения ленты, ограниченным величиной, при которой находящаяся в сыпучем веществе часть ленты не вращается, а при остановке ленты по достижении момента кручения заданной величины исчисляют значение угла скручивания ленты как разность конечного и начального углов поворота ленты, по которому определяют уровень сыпучих веществ. Технический результат - высокая точность определения уровня независимо от типа вещества, его фракционной структуры, степени уплотнения, влажности. 1 ил.
Способ определения уровня сыпучих веществ, заключающийся в том, что чувствительный элемент, опущенный в измеряемое вещество на максимально возможную глубину, периодически вращают с помощью электродвигателя и измеряют значения, по которым определяют уровень сыпучих веществ, отличающийся тем, что чувствительный элемент выполнен в виде измерительной ленты с заданными толщиной, определяющей рабочий угол скручивания ленты, шириной, согласованной с заданным моментом кручения ленты, ограниченным величиной, при которой находящаяся в сыпучем веществе часть ленты не вращается, а при остановке ленты по достижении момента кручения заданной величины исчисляют значение угла скручивания ленты как разность конечного и начального углов поворота ленты, по которому определяют уровень сыпучих веществ.
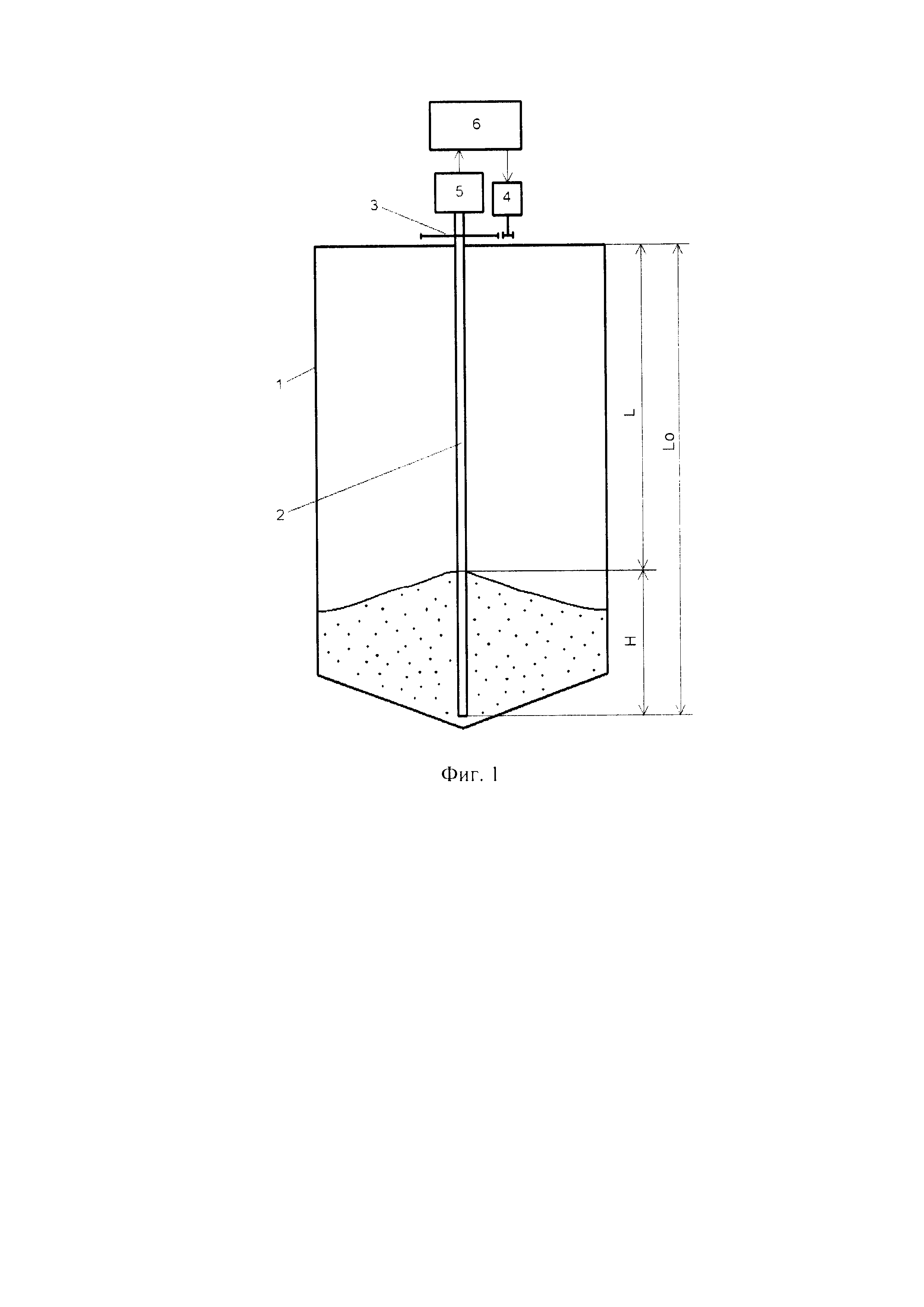
Предлагаемое изобретение относится к контрольно-измерительной технике и может быть использовано в системах автоматического определения уровня сыпучих веществ в различных отраслях народного хозяйства, например, в сельском хозяйстве - при измерении уровня зерна в силосных башнях, муки, удобрений, в промышленности строительных материалов - при измерении уровня песка, гравия, щебня, цемента, керамзита и др. Известны устройства и приборы для определения уровней материалов в емкостях такие как, например, крыльчатые (ротационные) указатели уровня сыпучих материалов, лотовые измерители уровня, емкостные уровнемеры, всевозможные бесконтактные устройства, основанные на отражении направленного излучения от границы раздела воздушной и твердой сред. Недостатки этих известных устройств состоят в следующем: крыльчатые приборы указывают те уровни, на которых они установлены, т.е. дискретно; лотовые уровнемеры имеют длительное время измерения и имеют низкую точность при загрязнении подвижных частей измерителя; емкостные уровнемеры имеют низкую точность измерения из-за влияния на диэлектрическую проницаемость измеряемых материалов влажности, температуры; устройства, использующие неконтактные методы измерения имеют низкую точность измерения из-за нестабильного отражения от наклонных поверхностей сыпучих сред и из-за отражения от стенок емкостей. Известен способ измерения порошкообразной среды (патент RU 2243512, С2, МПК7 G01F 23/00, опубл. 10.09.2004 г.), заключающийся в наложении на порошкообразную среду возмущающего воздействия в виде реверсивного вращения двух стержней, введенных в порошкообразную среду на различные глубины, отличающиеся на известную величину, причем одна из глубин является максимальной, с измерением моментов сил, действующих на стержни. Недостатком способа является низкая точность измерения уровня по причине нелинейности и нестабильности изменения давления внутри измеряемой среды по высоте и нестабильности коэффициента трения между стержнями и измеряемой средой. Наиболее близким по технической сущности является способ определения уровня веществ (патент RU 2042116, С1, МПК6 G01F 23/00, опубл. 20.08.1995 г.), заключающийся в том, что чувствительный элемент периодически вращают с помощью электродвигателя, при этом чувствительный элемент выполнен в виде измерительной штанги и опущен в измеряемое вещество на максимально возможную глубину, а в момент включения электродвигателя измеряют значение его пускового тока, по которому определяют искомое значение уровня. Недостатком известного способа является низкая точность определения уровня, обусловленная зависимостью сопротивления трения чувствительного элемента о вещество от давления вещества на чувствительный элемент, которое нелинейно изменяется по высоте емкости, от типа вещества, его фракционной структуры, степени уплотнения, влажности и т.д. Целью изобретения является повышение точности определения уровня сыпучих веществ. Поставленная цель достигается тем, что в способе определения уровня сыпучих веществ, заключающемся в том, что чувствительный элемент, опущенный в измеряемое вещество на максимально возможную глубину, периодически вращают с помощью электродвигателя и измеряют значения, по которым определяют уровень сыпучих веществ, согласно изобретению чувствительный элемент выполнен в виде измерительной ленты с заданными толщиной, определяющей рабочий угол скручивания ленты, шириной, согласованной с заданным моментом кручения ленты, ограниченным величиной, при которой находящаяся в сыпучем веществе часть ленты не вращается, а при остановке ленты по достижении момента кручения заданной величины исчисляют значение угла скручивания ленты как разность конечного и начального углов поворота ленты, по которому определяют уровень сыпучих веществ. Известно, что угол скручивания φ ленты длиной L, шириной b и толщиной h, скрученной моментом Μ вдоль продольной оси при соотношении b/h>10 (Феодосьев В.И. Сопротивление материалов. М. Изд-во МГТУ, 1999, с. 126), вычисляется по выражению: Из формулы (1) видно, что длина свободной (не находящейся в веществе) части ленты L пропорциональна углу скручивания ϕ, при этом искомая высота сыпучего вещества Η при длине всей ленты Как следует из формул (1) и (2), точность определения уровня сыпучего вещества не зависит от давления среды на чувствительный элемент, от типа вещества, его фракционной структуры, степени уплотнения, влажности. Обязательным условием точного определения уровня является отсутствие вращения той части измерительной ленты, которая будет находиться в сыпучем веществе, при воздействии на ленту момента кручения. Для каждого сыпучего вещества необходимо предварительно согласовать геометрические размеры измерительной ленты (ширину и толщину) с моментом кручения для выполнения указанного условия. На фиг. 1 представлена схема технической реализации способа, где 1 - емкость с сыпучим веществом, 2 - измерительная лента, выполненная, например, из нержавеющей стали, 3 - редуктор для передачи вращения от электродвигателя 4 к измерительной ленте 2, 5 - датчик угла поворота, например абсолютный энкодер угла, для измерения углового положения ленты, 6 - блок управления. Определение уровня производится следующим образом. Блок управления 6 считывает с датчика угла поворота 5 начальное положение угла поворота измерительной ленты 2, включает электродвигатель 4, который вращается и скручивает через редуктор 3 измерительную ленту 2. При достижении заданного момента кручения, заданного блоком управления 6, электродвигатель 4 останавливается, блок управления 6 считывает конечное положение угла поворота измерительной ленты 2 и выключает электродвигатель 4. Измерительная лента 2 возвращается в исходное положение. Блок управления 6 вычисляет угол скручивания измерительной ленты ϕ, как разность конечного и начального углов поворота ленты, затем по формулам 1 и 2 - уровень сыпучего вещества. Таким образом, предлагаемый способ определения уровня сыпучих веществ обеспечивает высокую точность определения уровня независимо от типа вещества, его фракционной структуры, степени уплотнения, влажности.
определяется по выражению: