патент
№ RU 2772158
МПК F27B7/00

СПОСОБ И СИСТЕМА ДЛЯ СНИЖЕНИЯ ОБРАЗОВАНИЯ КОЛЕЦ В ПЕЧАХ ДЛЯ ОБЖИГА ИЗВЕСТИ

Авторы:
ПЕЛТОНЕН, Киммо (US)
Правообладатель:
Номер заявки
2018133606
Дата подачи заявки
24.09.2018
Опубликовано
18.05.2022
Страна
RU
Дата приоритета
15.12.2025
Номер приоритета
Страна приоритета
Как управлять
интеллектуальной собственностью
Чертежи 
6
Реферат

[83]

Изобретение относится к способу обжига известкового шлама в протяженной вращающейся обжиговой печи для обжига известкового шлама. Способ включает введение неконденсируемых газов (НКГ) в протяженную вращающуюся обжиговую печь, имеющую сторону горелки с первой стороны камеры печи и загрузочную сторону со второй стороны камеры печи, расположенную удаленно от первой стороны, при этом НКГ вводятся у места введения ниже по потоку относительно стороны горелки к загрузочной стороне в камере печи, причем температура камеры печи у места введения находится в диапазоне 212-2200°F, и измерение первой температуры в первом местоположении выше по потоку относительно места введения, измерение второй температуры во втором местоположении ниже по потоку относительно места введения, сопоставление первой температуры со второй температурой, для расчета разности температур, добавление хладагента вместе с НКГ у места введения, когда разность температур составляет менее 100°F. Обеспечивается снижение образования колец в середине печи в протяженной вращающейся обжиговой печи, такой как печь для обжига извести, из-за колебаний температуры на стороне горелки и выбросов NOx, возникающих в результате горения кислорода, и соединений кислорода в протяженной вращающейся обжиговой печи. 5 з.п. ф-лы, 6 ил.

Формула изобретения

1. Способ обжига известкового шлама в протяженной вращающейся обжиговой печи для обжига известкового шлама, содержащий:

введение неконденсируемых газов (НКГ) в протяженную вращающуюся обжиговую печь, имеющую сторону горелки с первой стороны камеры печи и загрузочную сторону со второй стороны камеры печи, расположенную удаленно от первой стороны, при этом НКГ вводятся у места введения ниже по потоку относительно стороны горелки к загрузочной стороне в камере печи, причем температура камеры печи у места введения находится в диапазоне 212-2200°F, и

измерение первой температуры в первом местоположении выше по потоку относительно места введения, измерение второй температуры во втором местоположении ниже по потоку относительно места введения, сопоставление первой температуры со второй температурой, для расчета разности температур, добавление хладагента вместе с НКГ у места введения, когда разность температур составляет менее 100°F.

2. Способ по п. 1, дополнительно содержащий введение соединения вместе с НКГ у места введения, в котором соединение выбрано из группы, состоящей из: воздуха, аммиака, спекающего агента, мочевины, кислорода, рециркулирующего топочного газа и водяного пара.

3. Способ по п. 1, в котором температура у места введения составляет 1300-1750°F.

4. Способ по п. 1, дополнительно содержащий прекращение добавления хладагента, когда разность температур составляет 100°F или более.

5. Способ по п. 1, в котором место введения содержит зону предварительного нагрева протяженной вращающейся обжиговой печи.

6. Способ по п. 5, в котором НКГ вводятся у места введения посредством нагнетателя, расположенного кольцеобразно вокруг протяженной вращающейся обжиговой печи в зоне предварительного нагрева.

Описание

[1]

УРОВЕНЬ ТЕХНИКИ

[2]

1. ОБЛАСТЬ ТЕХНИКИ

[3]

[0001] Настоящее раскрытие относится в основном к контролю загрязнения и управления загрязнением в протяженных вращающихся обжиговых печах, а точнее к снижению содержания оксидов азота («NOX») и к ослаблению накопления минеральных веществ в середине печи в печах для известкового шлама, используемых для химической регенерации в целлюлозно-бумажной промышленности.

[4]

2. УРОВЕНЬ ТЕХНИКИ

[5]

[0002] Существует несколько способов для получения целлюлозы в промышленном масштабе, и изготовители стремятся классифицировать эти способы в качестве одной из трех общих категорий: химическое получение целлюлозы, механическое получение целлюлозы и смешанное получение целлюлозы. Смешанное получение целлюлозы включает в себя различные аспекты, как химического, так и механического получения целлюлозы. Вкратце, механическое получение целлюлозы часто включает в себя подачу лигноцеллюлозного материала (например, древесной стружки, багассы, кукурузной соломы, утилизированной макулатуры или другого материала, содержащего белка лигнина и целлюлозных полимеров) через серию размалывающих дисков. Размалывающие диски измельчают лигноцеллюлозный материал до достижения желаемого уровня целлюлозы. Операторы измельчителей могут дополнительно обрабатывать эту целлюлозу, с образованием нескольких продуктов на основе целлюлозы (например, бумаги, упаковочного материала, абсорбирующих наполнителей и т.д.); или операторы измельчителей могут продавать целлюлозу оптом.

[6]

[0003] В химических способах операторы измельчителей обрабатывают лигноцеллюлозный материал сильными кислотами, либо сильными основаниями, для отделения лигнина от целлюлозных волокон. Операторы затем могут отделять, промывать и подвергать дальнейшей обработке целлюлозные волокна, с образованием целлюлозы или других продуктов на основе целлюлозы. Примеры химической обработки включают в себя сульфатную варку (также известную как «сульфатный способ»), сульфитный способ, способ натронной варки целлюлозы и способ варки полуцеллюлозы.

[7]

[0004] Тогда как обработка химикатов для каждого типа химического способа может изменяться, операторы измельчителей часто восстанавливают и повторно используют эти технологические химикаты для экономного управления измельчителем. Например, в сульфатной варке операторы измельчителей готовят лигноцеллюлозный материал с помощью «белого щелока» в крупных герметизированных автоклавах. Белый щелок содержит гидроксид натрия (NaOH) и сульфид натрия (Na2S). После приготовления, взвесь израсходованного химического щелока и необработанная целлюлоза, имеющих непостоянные размеры частиц, покидает автоклав. Израсходованный химический щелок обычно известен как «черный щелок» и содержит органические и неорганические соединения, оставшиеся от процесса варки.

[8]

[0005] Тогда как необработанную целлюлозу подвергают дополнительной обработке, процесс химической регенерации начинается с изоляции, концентрирования, а затем - переноса черного щелока в котел для химического восстановления. Котел для химического восстановления позволяет испарять избыточную влагу, и неорганические соединения в черном щелоке подвергаются пиролизу. Эти неорганические соединения накапливаются в виде расплавленных солей («расплава») на дне котла-регенератора и, в конце концов, втекают в соседний бак плава. Бак плава обычно содержит «слабый белый щелок», содержащий щелоки, используемые для промывки известкового шлама и других осадков. При контактировании со слабым белым щелоком, расплав реагирует и смешивается со слабым белым щелоком, с образованием «зеленого щелока». Зеленый щелок содержит первый компонент белого щелока, сульфид натрия (Na2S) и побочный продукт - карбонат натрия (Na2CO3).

[9]

[0006] Операторы затем очищают и подают зеленый щелок в смеситель и добавляют оксид кальция (CaO) и воду. Оксид кальция обычно известен как «негашеная известь». Негашеная известь экзотермически реагирует с водой, с получением гидроксида кальция, (Ca(OH)2). Гидроксид кальция затем реагирует с карбонатом натрия в зеленом щелоке, с получением другого компонента белого щелока, - гидроксида натрия (NaOH) и побочного продукта карбоната кальция (CaCO3). Карбонат кальция обычно известен как «известковый шлам».

[10]

[0007] На этой стадии, известковый шлам осаждается из раствора белого щелока. Операторы затем очищают и перемещают белый щелок в резервуар для хранения, в ожидании его повторного использования в сульфатной варке. Между тем, операторы промывают и перемещают известковый шлам в печь для обжига извести, для преобразования назад в негашеную известь (т.е. оксид кальция (CaO)). При наличии рециркулированной негашеной извести, операторы измельчителя могут продолжать обрабатывать зеленый щелок и рентабельно восстанавливать белый щелок.

[11]

[0008] Типичная печь для обжига извести состоит из длинного вращающегося цилиндрический кожух, который задает обжиговую камеру печи. Кожух наклонен относительно земли. Горелка размещена в нижнем конце, а установка цепей размещена в верхнем конце. Известковый шлам, содержащий карбонат кальция (CaCO3), натрий и другие примеси, попадает в верхний конец печи, с содержанием влаги примерно 20-30%. Поскольку известковый шлам движется вниз по вращающемуся кожуху к горелке, тепло отводит влагу и предварительно нагревает известковый шлам до достижения температур реакции, с использованием остаточного тепла в топочных газах. Реакция обжига начинается, когда температура шлама достигает 1400°F, но реакция протекает хорошо, только после достижения шламом температуры 1800°F. Восстановленная негашеная известь может быть охлаждена до выхода из нижнего конца печи.

[12]

[0009] Химическое получение целлюлозы также приводит к образованию различных газообразных побочных продуктов из различных источников. Эти газообразные побочные продукты часто содержат соединения серы, включая тиолы, которые имеют неприятный запах и могут быть токсичными. Эти газообразные побочные продукты все вместе могут называться «неконденсируемыми газами» («НКГ») и обычно содержат газы с «общим количеством восстановленной серы («TRS»)». Автоклав в ходе варки производит НКГ, а расширители высвобождают НКГ при концентрировании черного щелока. Источники также включают в себя испарители, системы скипидаров и системы десорбции конденсата. НКГ могут включать в себя, например, соединения серы, такие как сероводород (H2S), метантиол (CH4S), диметилдисульфид ((CH3)2S2) и диметилсульфид ((CH3)2S). Эти НКГ вводят в печь для обжига извести около горелки, для окисления НКГ до их выхода из печи.

[13]

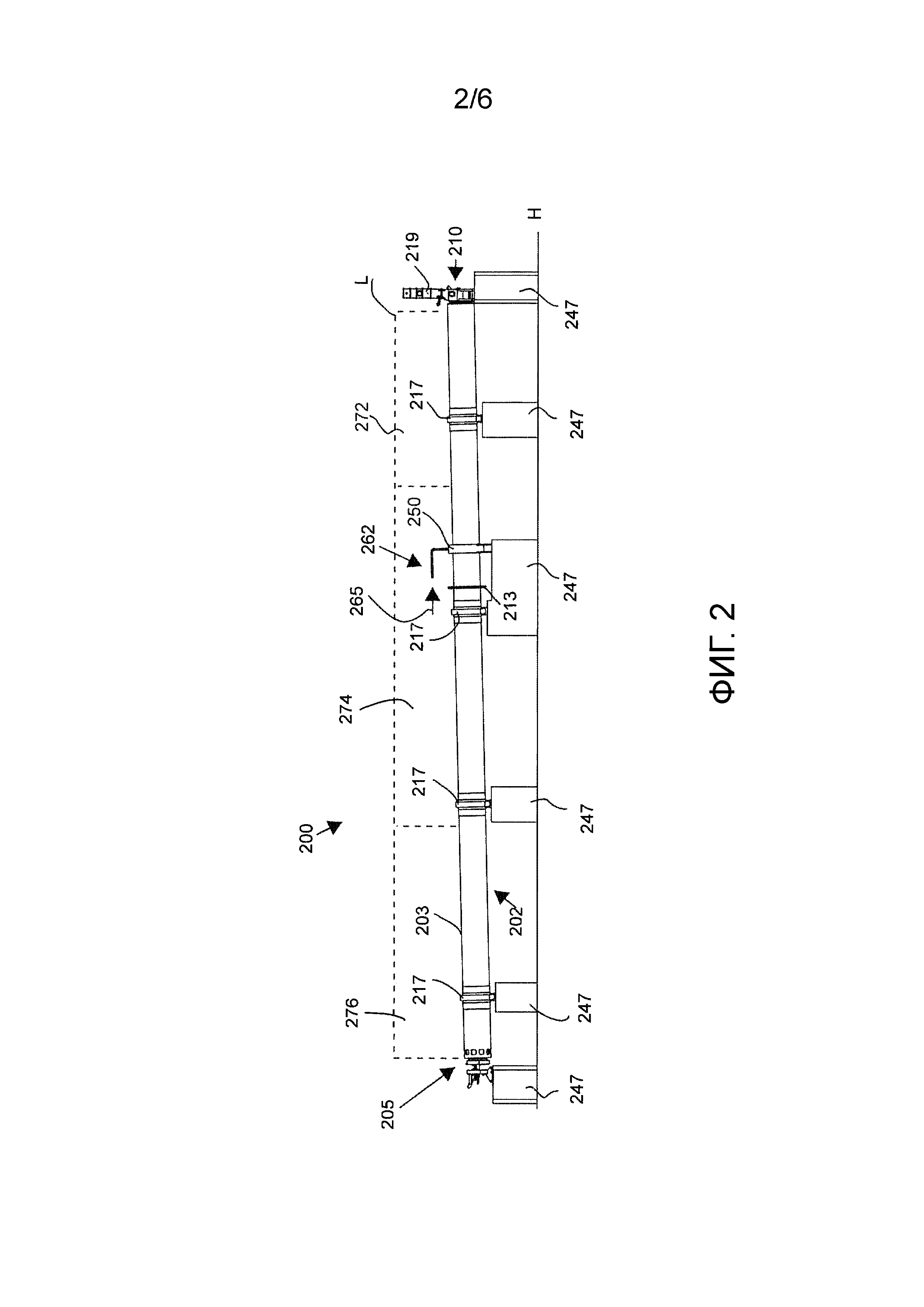
[0010] Процесс химического получения целлюлозы также может привести к образованию многих конденсируемых газов, таких как аммиак (NH3), метанол (CH3OH) и скипидар (C10H16). Эти конденсируемые газы также иногда используют в качестве присадки к топливу в печи для обжига извести и могут быть добавлены в печь для обжига извести на или около горелки.

[14]

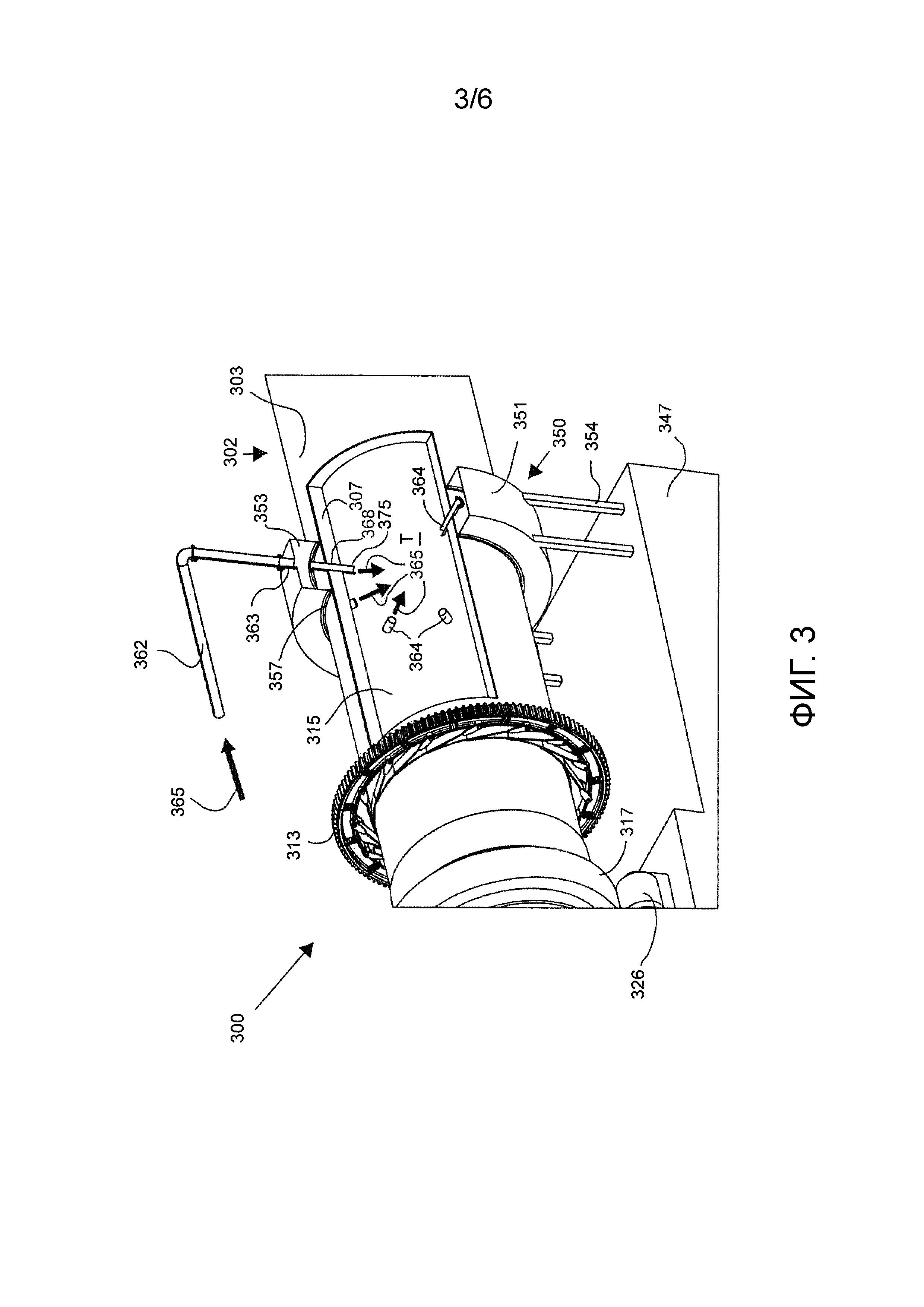
[0011] Натрий в известковом шламе может реагировать с соединениями серы в НКГ в сложных химических составах, с образованием колец в середине печи, которые накапливаются на внутренних стенках огнеупорного материала внутри печи. Эти кольца в середине печи могут создавать температурные карманы вдоль длины печи, что неблагоприятно влияет на реакцию обжига. Кольца в середине печи также снижают объем печи и вызывают накопление реагента выше по потоку относительно колец, что может привести к неполной реакции обжига и дополнительному росту колец. Дополнительно, кольца в середине печи поглощают тепло из системы печи, вынуждая, таким образом, операторов тратить больше энергии на достижение тех же результатов.

[15]

[0012] Прежние попытки снижения образования колец включали в себя охлаждение секций печи, в которых кольца образовывались наибольшей вероятностью, например, секций печи для обжига извести, описанной в Патенте США №4,767,323. Более холодные секции печи могли заморозить расплавленный шлак и заставить замороженный шлак раздроблять стенки, из-за различного термического расширения. Однако, отколовшийся шлак может попадать в слой извести и вскоре переплавляться, загрязняя, таким образом, известковый продукт.

[16]

[0013] Дополнительно, протяженные вращающиеся обжиговые печи генерируют оксиды азота («NOx»), включая окись азота (NO), закись азота (N2O) и диоксид диазота (N2O2). Закись азота (N2O) представляет собой «парниковый газ», который реагирует с воздухом и ультрафиолетовым («УФ») излучением, с образованием окиси азота (NO) и озона (O3) в тропосфере (т.е., в части атмосферы, где люди живут и дышат). УФ-излучение в атмосфере затем может преобразовывать окись азота (NO) назад в закись азота (N2O), устанавливая, таким образом, основание для дополнительного генерирования озона (O3). Тогда как слой озона в стратосфере легко поглощает большую часть УФ-излучения, достигающего Земли из космоса, газообразный озон (O3), тем не менее, является сильным окислителем, токсичным для людей. Кроме того, озон (O3) и NOx и дополнительные загрязнители в тропосфере вносят свой вклад в кислотные дожди. Следовательно, многие правительственные учреждения по охране окружающей среды регулируют выбросы NOx.

[17]

СУЩНОСТЬ ИЗОБРЕТЕНИЯ

[18]

[0014] Проблемы образования колец в середине печи в протяженной вращающейся обжиговой печи, такой как печь для обжига извести, из-за колебаний температуры на стороне горелки и выбросов NOx, возникающих в результате горения кислорода, и соединений кислорода в протяженной вращающейся обжиговой печи, ослабляются за счет введения неконденсируемых газов («НКГ») в протяженную вращающуюся обжиговую печь, у места введения, причем температура у места введения находится в диапазоне от 212 градусов Фаренгейта («°F») до 2200°F (от 100 градусов Цельсия («°C») до примерно 1204,44°C). Является желательным, чтобы НКГ не вводили со стороны горелки протяженной вращающейся обжиговой печи. Является желательным, чтобы место введения находилось в «зоне предварительного нагрева» или в отдельной «зоне обжига». В другом примерном варианте воплощения, температура у места введения может находиться в диапазоне 1300-1750°F (примерно 760-954°C). В других примерных вариантах воплощения, температура у места введения может быть ниже 1300°F, для дополнительного снижения термического синтеза NOx, тогда как окисление НКГ еще продолжается.

[19]

[0015] Для справки, - протяженная вращающаяся обжиговая печь содержит камеру печи, имеющую сторону горелки, расположенную удаленно от загрузочной стороны. Зона обжига начинается на стороне горелки и может простираться примерно на 30-40% от длины протяженной вращающейся обжиговой печи. Зона обжига может иметь диапазон температур примерно 1300-2200°F. Зона предварительного нагрева протяженной вращающейся обжиговой печи расположена ниже по потоку относительно зоны обжига относительно стороны горелки. Зона предварительного нагрева может иметь диапазон температур примерно 212-1300°F (примерно 100-760°C).

[20]

[0016] Не привязываясь к теории, Заявитель раскрыл, что путем введения НКГ в протяженную вращающуюся обжиговую печь ниже по потоку относительно стороны горелки у места введения, имеющего температуру примерно 212-2200°F (предпочтительно, 1300-2200°F), что такой способ позволяет снизить спорадическую активность пламени на стороне горелки, что, в свою очередь, может уменьшить количество циклов замораживания и оттаивания, которые позволяют кольцам в середине печи расти от огнеупорного материала по направлению к оси вращения обжиговой печи. Впрыскивание НКГ в таком месте введения может дополнительно позволить смешивать НКГ с печными газами и снизить температуру вблизи места введения и ниже по потоку относительно места введения, для снижения, таким образом, генерирования NOx.

[21]

[0017] Примерный способ и система, раскрытые в настоящей работе, могут дополнительно допустить более точную регулировку температуры в камере обжиговой печи.

[22]

[0018] Примерная система протяженной вращающейся обжиговой печи может содержать: трубчатый кожух, имеющий внешнюю оболочку и огнеупорную футеровку, расположенную внутри внешней оболочки. Огнеупорная футеровка задает камеру печи; камера печи имеет сторону горелки, загрузочную сторону, расположенную удаленно от стороны горелки, и длину, простирающуюся между стороной горелки и загрузочной стороной. Примерная система может дополнительно иметь нагнетатель, расположенный кольцеобразно вокруг трубчатого кожуха. Нагнетатель может содержать кожух нагнетателя. Кожух нагнетателя задает камеру нагнетателя, расположенную кольцеобразно вокруг трубчатого кожуха, а камера нагнетателя имеет жидкостное сообщение с камерой печи через отверстие. Отверстие, ведущее в камеру печи, расположено на расстоянии примерно двух третей длины камеры печи, если измерять от стороны горелки у места введения, где температура камеры печи находится в диапазоне 1300-1750°F или 1400-1750°F или 1500-1750°F. Таким образом, нагнетатель сконфигурирован для подачи НКГ в зону предварительного нагрева или в зону обжига камеры печи.

[23]

[0019] Примерный способ для снижения накопления колец в середине печи, образовавшихся в протяженной вращающейся обжиговой печи, особенно в печи для обжига извести, может содержать: введение НКГ в камеру вращающейся печи для обжига извести, через камеру нагнетателя, расположенную кольцеобразно вокруг трубчатого кожуха печи для обжига извести. В примерном способе, камера нагнетателя имеет жидкостное сообщение с камерой печи через отверстие. Температура камеры печи в отверстии может находиться в диапазоне 1300-1750°F.

[24]

[0020] В еще одних примерных вариантах воплощения, операторы могут добавлять аммиак (NH3) или мочевину (CH4N2O) ниже по потоку относительно стороны горелки, для ослабления выброса окислов азота («NOX»).

[25]

[0021] Предполагается, что определенные примерные варианты воплощения могут позволить владельцам измельчителей усовершенствовать существующие протяженные вращающиеся обжиговые печи, с помощью системы, описанной в настоящей работе более подробно.

[26]

КРАТКОЕ ОПИСАНИЕ ЧЕРТЕЖЕЙ

[27]

[0022] Вышесказанное будет ясно из следующего более точного описания примерных вариантов воплощения раскрытия, как проиллюстрировано на прилагаемых чертежах, на которых одинаковые номера позиций относятся к одним и тем же деталям на протяжении всех различных изображений. Чертежи не обязательно приведены в масштабе, но при этом акцент делается на иллюстрировании раскрытых вариантов воплощения.

[28]

[0023] ФИГ. 1 представляет собой схематический чертеж поперечного разреза примерной протяженной вращающейся обжиговой печи, содержащей камеру нагнетателя, расположенную примерно на расстоянии двух третей по длине обжиговой камеры печи, если измерять от стороны горелки.

[29]

[0024] ФИГ. 2 представляет собой вид сбоку примерной протяженной вращающейся обжиговой печи, показывающий камеру нагнетателя, расположенную на расстоянии примерно двух третей длины обжиговой камеры печи, если измерять от стороны горелки.

[30]

[0025] ФИГ. 3 представляет собой перспективное изображение секции нагнетателя примерной системы, имеющей разрез, описывающий способ, согласно которому камера нагнетателя имеет жидкостное сообщение с обжиговой камерой печи.

[31]

[0026] ФИГ. 4 представляет собой боковой поперечный разрез секции нагнетателя примерной системы, показывающий введение неконденсируемых газов («НКГ») ниже по потоку относительно горелки через нагнетатель.

[32]

[0027] ФИГ. 5 представляет собой поперечное схематическое изображение примерной системы протяженной вращающейся обжиговой печи, в которой протяженная вращающаяся обжиговая печь представляет собой печь для быстрой сушки.

[33]

[0028] ФИГ. 6 представляет собой схематический чертеж поперечного разреза, отображающий примерный способ для снижения образование колец в середине печи и примерную систему, дополнительно содержащую термопару.

[34]

ПОДРОБНОЕ ОПИСАНИЕ ИЗОБРЕТЕНИЯ

[35]

[0029] Следующее подробное описание предпочтительных вариантов воплощения представлено лишь в иллюстративных и описательных целях и не должно рассматриваться как исчерпывающее или ограничивающее объем и сущность изобретения. Варианты воплощения были выбраны и описаны для наилучшего разъяснения принципов изобретения и его практического применения. Обычный специалист в данной области техники может понять, что для изобретения, раскрытого в данной спецификации, могут быть сделаны многие варианты, без отступления от объема и сущности изобретения.

[36]

[0030] Соответствующие номера позиций указывают на соответствующие детали на протяжении всех представленных изображений. Хотя чертежи представляют варианты воплощения различных признаков и компонентов согласно настоящему раскрытию, чертежи не обязательно приведены в масштабе, и определенные признаки могут быть преувеличены для лучшего иллюстрирования вариантов воплощения настоящего раскрытия, и такие пояснения на примерах никоим образом не должны рассматриваться как ограничивающие объем настоящего раскрытия.

[37]

[0031] Ссылки в спецификации на «один вариант воплощения», на «вариант воплощения», на «примерный вариант воплощения», и т.д., означают, что описанный вариант воплощения может включать в себя конкретный признак, структуру или характеристику, но каждый вариант воплощения может не обязательно включать в себя конкретный признак, структуру или характеристику. Более того, такие фразы не обязательно относятся к одному и тому же варианту воплощения. Кроме того, когда конкретный признак, структура или характеристика описана применительно к варианту воплощения, представляется, что специалисту в данной области техники известно, что он влияет на такой признак, структуру или характеристику применительно к другим вариантам воплощения, независимо от того, описаны ли они явно или нет.

[38]

[0032] Хотя для ясности в дальнейшем описании используются конкретные термины, предполагается, что эти термины относятся только к конкретной структуре варианта воплощения, выбранного для иллюстрации на чертежах, и не предполагается, что они задают или ограничивают объем раскрытия.

[39]

[0033] Формы единственного числа включают в себя множественные объекты, если из контекста четко не следует иное. Численные значения следует понимать как включающие в себя численные значения, которые являются одинаковыми, когда они сведены к одному и тому же количеству значащих Фигур, и численные значения, которые отличаются от значений состояния менее чем на величину экспериментальной ошибки для технологии стандартного измерения типа, описанного в настоящей заявке, для определения величины.

[40]

[0034] Все диапазоны, раскрытые в настоящей работе, включают в себя указанные конечные точки и комбинируются независимо друг от друга (например, диапазон «от 2 грамм до 10 грамм» включает в себя конечные точки, - 2 грамм и 10 грамм и все промежуточные значения).

[41]

[0035] В целях настоящей работы, аппроксимирующая терминология может быть применена для модифицирования любого количественного представления, которое может изменяться, не приводя в результате к изменению основной функции, к которой оно относится. Следовательно, величина, модифицированная под таким термином или терминами, как «примерно» и «почти», может не быть ограничена указанными точными значениями. Определение «примерно» также следует рассматривать как раскрывающий диапазон, заданный абсолютными значениями двумя конечными точками. Например, выражение «примерно 212-1300°F» также раскрывает диапазон «от 212 до 1300°F».

[42]

[0036] Следует отметить, что многие из терминов, используемые в настоящей работе, являются относительными терминами. Например, термины «верхний» и «нижний» являются относительными друг относительно друга по местоположению, т.е., верхний компонент расположен на более высокой отметке, чем нижний компонент в данной ориентации, но эти термины могут поменяться, если устройство переворачивают. Термины «впуск» и «выпуск» являются относительными для текучей среды, текущей через них применительно к данной структуре, например, для текучей среды, текущей через впуск в структуру, и текущей через выпуск из структуры. Термины «выше по потоку» и «ниже по потоку» применяются относительно направления, в котором текучая среда течет через различные компоненты, т.е., потока текучих сред через компонент, расположенный выше по потоку, перед протеканием через компонент, расположенный ниже по потоку.

[43]

[0037] Термины «горизонтальный» и «вертикальный» используют для обозначения направления относительно абсолютного эталона, т.е., уровня земли. Однако, эти термины не следует рассматривать как требующие наличия структур, абсолютно параллельных или абсолютно перпендикулярных друг к другу. Например, первая вертикальная структура и вторая вертикальная структура не обязательно параллельны друг другу. Термины «верх» и «низ» или «основание» используют для обозначения местоположений/поверхностей, где верх всегда выше, чем низ/основание относительно абсолютного эталона, т.е., поверхности Земли. Термины «вверх» и «вниз» также относятся к абсолютному эталону; поток вверх всегда направлен против притяжения Земли.

[44]

[0038] Термин «непосредственно», который используют для обозначения двух компонентов системы, таких как клапаны или насосы, или другие управляющие устройства или датчики (например, датчики температуры или давления), могут быть расположены на пути между двумя названными компонентами.

[45]

[0039] ФИГ. 1 представляет собой схематический чертеж поперечного разреза протяженной вращающейся обжиговой печи 100. Протяженная вращающаяся обжиговая печь 100 может быть использована для обжига извести, цемента, магнезии, доломита, оксид титана и других обжигаемых соединений. Протяженная вращающаяся обжиговая печь 100 содержит трубчатый кожух 102. Трубчатый кожух 102, как правило, наклонен под углом примерно 2-5° от горизонтальной линии H. Трубчатый кожух 102 может иметь внешнюю оболочку 103, обычно изготавливаемую из стали, и огнеупорную футеровку 107. Огнеупорная футеровка 107 обычно содержит кирпичи, бетон, керамику или другие материалы, которые удерживают прочность при температурах печи. Огнеупорная футеровка 107 задает камеру печи 115. Камера 115 печи имеет сторону 105 горелки и загрузочную сторону 110, расположенную удаленно от сторона 105 горелки. Сторона 105 горелки может быть расположена в головке 116 печи. Загрузочная сторона 110 иногда известна как «холодный конец», а сторону 105 горелки специалисты в данной области техники иногда называют «горячим концом». Длина L отделяет сторону 105 горелки от загрузочной стороны 110. Протяженные вращающиеся обжиговые печи 100 могут быть различными по размеру, но типичная протяженная вращающаяся обжиговая печь 100 может составлять примерно 200-400 футов по длине L.

[46]

[0040] Протяженная вращающаяся обжиговая печь 100 дополнительно содержит ведущую шестерню 113 и несколько бандажей 117, кольцеобразно зацепляющихся с трубчатым кожухом 102. Бандажи 117 опираются на ролики (326, ФИГ. 3), расположенные на опорных блоках (247, ФИГ. 2). В ходе работы, двигатель (не изображен) вращает ведущую шестерню 113 и, таким образом, вращает бандажи 117 и протяженную вращающуюся обжиговую печь 100 вокруг центральной оси вращения C. Протяженная вращающаяся обжиговая печь 100 обычно вращается примерно при одном - двух оборотах в минуту. Горелка 124 расположена на стороне 105 горелки камеры 115 печи. В ходе работы, горелка 124 испускает струю пламени 122 для нагрева камеры 115 печи. Поскольку горелка 124 расположена только на стороне 105 горелки, горелка распределяет тепло неравномерно вдоль длины L камеры 115 печи. Это неравномерное распределение тепла создает несколько температурных зон 172, 174, 176.

[47]

[0041] Операторы могут использовать температурную зону, начиная от загрузочной стороны 110, в качестве «зоны сушки» 172. В зоне сушки 172, тепло от топочных газов 125 испаряет избыточную влагу в обжиговых реагентах 120 (т.е., в известковом шламе, когда протяженная вращающаяся обжиговая печь 100 представляет собой печь для обжига извести). Поскольку зона 172 сушки сконфигурирован для испарения избыточной влаги, эффективный диапазон температур нижнего конца зоны сушки обычно представляет собой точку кипения воды, т.е., 212 градусов Фаренгейта (°F) или 100 градусов Цельсия (°C). Типичная зона 172 сушки может простираться примерно на 20-30% от длины L протяженной вращающейся обжиговой печи 100, если измерять от загрузочной стороны 110.

[48]

[0042] Зона 174 предварительного нагрева обычно расположена между зоной 172 сушки и зоной 176 обжига. Зона 174 предварительного нагрева обычно имеет диапазон температур 212-1300°F (100-760°C). Топочные газы 125 нагревают обжиговые реагенты 120 в зоне 174 предварительного нагрева и начинают преобразовывать обжиговые реагенты 120 в более крупные гранулы 120' (например, гранулы извести). Как правило, протяженные вращающиеся обжиговые печи 100 позволяют обрабатывать гранулы 120' в диапазоне размеров примерно от 1 миллиметра (мм) до примерно 50 мм. Типичная зона 174 предварительного нагрева может простираться примерно на 30-40% от длины L протяженной вращающейся обжиговой печи 100 между зоной 172 сушки и зоной 176 обжига.

[49]

[0043] Реакция обжига главным образом происходит в зоне 176 обжига. Зона 176 обжига обычно простирается примерно на 30-40% от длины L протяженной вращающейся обжиговой печи 100, если измерять от стороны 105 горелки. Зона 176 обжига обычно имеет диапазон температур примерно 1300-2200°F (760-1204,44°C).

[50]

[0044] Обычному специалисту в данной области техники должно быть понятно, что температурные зоны 172, 174, 176 представлены в иллюстративных целях, и что позиции температурных зон 172, 174, 176 могут меняться со временем, с учетом выходной мощности горелки. Однако, диапазон температур, содержащих каждую температурную зону 172, 174, 176, позволяет устанавливать местоположение каждой зоны. Линии, изображенные на ФИГ. 1, задействованы для разъяснения приблизительных местоположений температурных зон 172, 174, 176.

[51]

[0045] Природный газ или нефть обычно служат в качестве первичного топлива горелок. Однако, для сохранения количества подходящего первичного топлива и снижения расходов, операторы обычно пополняют первичное топливо одним или более вспомогательных видов 129 топлива 129. Некоторые из этих вспомогательных видов 129 топлива представляют собой побочные продукты целлюлозно-бумажного производства и химического восстановления белого щелока. Другие вспомогательные виды 129 топлива используют, поскольку вспомогательные виды 129 топлива являются недорогими или легкодоступными. Эти вспомогательные виды 129 топлива все вместе могут включать в себя опасные загрязнители воздуха («ОЗВ), такие как жидкий метанол и скипидар. Кроме того, вспомогательные виды 129 топлива могут включать в себя водород, таловое масло, глицерин, низкообъемные высококонцентрированные неконденсируемые газы («НОВК НКГ», также известные как «концентрированные НКГ» или «КНКГ»), образовавшиеся на целлюлозных заводах, газы колонки стриппера (stripper off gases, «SOG», - другой тип НКГ), образованные на выпарной установке, из нефтяного кокса, из газа, полученного в процессе газификации (обычно из биотоплива, такого как кора, древесина и т.д.), биогаз (обычно метан и инертных газов), газ, полученный в процессе газификации из каменного угля и жидкого природного газ. Следует понимать, что вспомогательные виды 129 топлива могут включать в себя сочетания различных видов топлива.

[52]

[0046] Операторы подают вспомогательные виды 129 топлива непосредственно на горелку 124 или вводят вспомогательные виды 129 топлива близко к струе пламени 122 таким образом, чтобы вспомогательные виды 129 топлива могли сгорать вблизи стороны 105 горелки.

[53]

[0047] Горение топлива создает «NOx-топливо», образованное в результате окисления уже ионизованного азота в первичных и вспомогательных топливных горелках 129. Термин «термические NOx» описывает NOx, полученные в результате сгорания азота и соединений кислорода в системе.

[54]

[0048] Дополнительно, операторы могут подавать низкоконцентрированные высокообъемные неконденсируемые газы («НКВО НКГ», также известные как «разбавленные НКГ» или «РНКГ») 166 близко к струе пламени 122, для окисления этих НКВО НКГ 166 до их выхода из загрузочной стороны 110 протяженной вращающейся обжиговой печи 100. Процесс окисления снижает количество загрязнителей, покидающих протяженную вращающуюся обжиговую печь 100. Операторы также сжигают в печи низкообъемные высококонцентрированные («НОВК») газы печь. Эти НОВК-газы содержат намного более высокие концентрации серосодержащих газов, а также испаренный метанол. НКВО НКГ обычно содержат лишь 5-6% NCG по объему. Эти НКВО НКГ 166 обычно содержат общее газы с общим низким содержанием серы (total reduced sulfur, «TRS»), полученные в процессах варки и концентрирования черного щелока. Эти TRS-газы могут включать в себя, например, такие соединения серы, как сероводород (H2S), метантиол (CH4S), диметилдисульфид ((CH3)2S2) и диметилсульфид, ((CH3)2S). TRS-газы являются коррозионными, и их не следует использовать с углеродистой сталью. НКГ также являются высокотоксичными. TRS-газы и обычные ОЗВ метанол и скипидар, которые могут присутствовать вместе с НКГ, могут взрываться в присутствии достаточного количества кислорода.

[55]

[0049] Как правило, обжиговый реагент 120 (например, известковый шлам в химическом восстановлении целлюлозы и бумаги) попадает в загрузочную сторону 110 камеры 115 печи и течет вниз к стороне 105 горелки. Обжиговые реагенты 120 текут противотоком к топочным газам 125. Топочные газы 125 в конце концов покидают загрузочную сторону 110 в виде отработанных газов 133. На стороне 105 горелки, повторно обожженный продукт 127 (например, известь) покидает протяженную вращающуюся обжиговую печь 100 примерно при 1750°F (954,44°C). Для восстановления некоторого количества тепла в протяженной вращающейся обжиговой печи 100, многие протяженные вращающиеся обжиговые печи 100 имеют охладители 138 вблизи стороны 105 горелки. Охладитель 138 может собирать холодный воздух 128 из атмосферы и пропускать этот холодный воздух 128 над выходящим повторно обожженным продуктом 127. Горячий повторно обожженный продукт 127 подогревает этот холодный воздух 128 перед тем, как этот вторичный холодный воздух 128 попадет в камеру 115 печи для поддержания горения.

[56]

[0050] Когда протяженная вращающаяся обжиговая печь 100 представляет собой печь для обжига извести, обжиговый реагент 120 представляет собой известковый шлам. Известковый шлам обычно имеет концентрацию влаги 20-30% на загрузочной стороне 110. Поскольку известковый шлам (см. 120) течет к стороне 105 горелки, остаточное тепло в топочных газах 125 испаряет остаточную влагу и предварительно нагревает известковый шлам (см. 120). Реакция обжига начинается, когда температура известкового шлама достигает 1400°F, но реакция хорошо протекает только после достижения известковым шламом (см. 120) температуры 1800°F. Для более эффективной передачи тепла от топочных газов 125 к известковому шламу (см. 120), протяженные вращающиеся обжиговые печи 100 обычно имеют зону 118 цепной завесы. Несколько цепей 121 повышают площадь поверхности в камере 115 печи, подвергаемую воздействию топочных газов 125, а следовательно, повышает эффективность, с которой тепло передается от топочных газов 125 к известковому шламу (см. 120).

[57]

[0051] Поскольку камера печи температуры приближают температуры обжига примерно от 1400°F до более 1800°F, известковый шлам (см. 120) пластифицируется и гранулируется. Когда обжиговый реагент 120 представляет собой известковый шлам, реакция обжига, как правило, протекает следующим образом: CaCO3+тепло ↔ CaO+CO2. Полнота реакции обжига зависит от времени удержания и профиля температур протяженной вращающейся обжиговой печи 100.

[58]

[0052] Однако, на практике, некоторые виды гранулированного известкового шлама (CaCO3) (см. 120) скапливаются в более крупные гранулы 120'. С течением времени, известковая пыль прилипает и покрывает огнеупорную футеровку 107. Поскольку большая часть известковой пыли накапливается на огнеупорной футеровке 107, и поскольку протяженная вращающаяся обжиговая печь 100 продолжает вращаться, известковый шлам (см. 120), прилипающий к огнеупорной футеровке 107, образует кольцо 130 в середине печи. Первоначально предполагается, что кольцо 130 в середине печи содержит, как негашеную известь, (CaO) и известковый шлам (CaCO3). Этот процесс также может породить шарики соды в диапазоне размеров примерно 0,5-2 футов. Эти шарики соды отчасти нежелательны, поскольку шарики соды препятствуют эффективному протеканию реакции обжига.

[59]

[0053] Образование колец (см. 130) резко усиливается в диапазоне от 150 футов до 200 футов, когда топочные газы обладают температурами в диапазоне примерно 1800-1700°F, а температура твердых материалов находится в диапазоне примерно 1500-1150°F. Не привязываясь к теории, предполагается, что когда известковый шлам (см. 120) достигает температур обжига в зоне 174 предварительного нагрева и в зоне 176 обжига, натрий испаряются со слоя 123 обжигового реагента. Часть натрия будет конденсироваться на само соединение натрия, образуя, таким образом, дымовые частицы. Часть натрия будет прилипать к извести. Расплавленный натрий, как предполагается, действует как «клей», который может притягивать дополнительные частицы извести, слипаясь с ними и с огнеупорной футеровкой 107 протяженной вращающейся обжиговой печи 100. Этот натрий может взаимодействовать с CO3-анионом. Реакции повторной карбонизации и сульфатирования будут отверждать скопление извести, удерживаемой вместе под действием щелочного «клея». Колебания температуры в камере 115 печи порождают циклы заморозки и оттаивания. Эти циклы заморозки и оттаивания приводят к осаждению новых перекрывающихся слоев материала в одной и той же основной области, что, таким образом, приводит к постепенному созданию крупного, структурно более прочного образования колец. Когда скорость эрозии больше не равна скорости осаждения, кольцо 130 в середине печи растет и эффективно снижает диаметр камеры 115 печи.

[60]

[0054] В печи для обжига извести (см. 100), предполагалось, что размер кольца 130 в середине печи сильно зависел от содержания натрия в известковом шламе (см. 120). Если операторы периодически не будут отключать протяженную вращающуюся обжиговую печь 100 для удаления этих колец, рост кольца 130 в середине печи, в конце концов, перегородит камеру 115 печи, что, таким образом, сделает протяженную вращающуюся обжиговую печь 100 непригодной без продолжительного аварийного останова и технического обслуживания.

[61]

[0055] ФИГ. 2 представляет собой вид сбоку примерной протяженной вращающейся обжиговой печи 200, содержащей нагнетатель 250, расположенный примерно на расстоянии двух третей длины L камеры 115 печи от стороны 205 горелки. Нагнетатель 250 может быть расположен кольцеобразно вокруг трубчатого кожуха 202 в зоне 274 предварительного нагрева или в зоне 276 обжига. Не привязываясь к теории, предполагается, что полное окисление НКГ может происходить еще в зоне 274 предварительного нагрева. В других примерных вариантах воплощения, нагнетатель 250 может быть расположен выше по потоку относительно ведущей шестерни 213. Камера 115 печи и трубчатом кожухе 202 может расширяться вверх и вниз от ведущей шестерни 213. Поэтому, может быть желательным размещать нагнетатель 250 вблизи ведущей шестерни 213 или, по меньшей мере, избегать областей расширения трубчатого кожуха 202, во избежание непостоянных соединительных деталей между нагнетателем 250 и трубчатым кожухом 202 и возможны деформаций в уплотнении 357 (ФИГ. 3), соединяющем камеру нагнетателя 250 с трубчатым кожухом 202.

[62]

[0056] В примерном способе, операторы подают НКГ 265 через впускной канал 262, ведущий к нагнетателю 250. Пока дополнительно не указано иное, НКГ 265 может относиться к НКВО НКГ, НОВК НКГ, SOG, газы бункера-накопителя (chip bin gases, «CBG») или их сочетания. Не привязываясь к теории, может быть желательным сначала вводить НКВО НКГ в зону 274 предварительного нагрева или в зону 276 обжига. НКВО НКГ содержат примерно 5-6% НКГ по объему. Остальное содержание обычно соответствует воздуху. За счет введения НКВО НКГ у места введения (375, ФИГ. 3) где температура ниже, чем температура на или вблизи стороны 205 горелки, примерная система не только вводит НКГ 265 в области сниженной температуры, но НКГ сами по себе, особенно НКВО НКГ могут дополнительно снижать температуру камеры 215 на или вблизи места введения 375. Это снижение температуры может нарушит стехиометрическое соотношение, которое ведет к образованию NOx. То есть, впрыскивание НКГ 265 в зону 274 предварительного нагрева или в зону 276 обжига ниже по потоку относительно стороны горелки 205 может нарушить точное соотношение азота и соединений кислорода, пригодное для образования NOx, отчасти за счет разбавления калорий, подходящих для взаимодействия азота и этих соединений кислорода, с образованием NOx. Кроме того, за счет введения НКГ 265 ниже по потоку относительно стороны горелки 205, примерная система и способ, раскрытые в настоящей работе, могут дополнительно снижать время пребывания любых NOx-образующих соединений, присутствующих или впрыснутых вместе с НКГ 265, с дополнительным снижением, таким образом, содержания NOx, способных образовываться в системе. Кроме того, за счет окисления НКГ 265 ниже по потоку относительно стороны горелки 205, а не сжигания НКГ 265 в пламени 122 горелки, примерные системы и способы, раскрытые в настоящей работе, дополнительно предотвращают возникновение источника горения, необходимого для создания термических NOx, что, таким образом, вносит вклад в общее снижение содержания NOx. НКГ, накопленные из процессов измельчения целлюлозы, находятся обычно при температуре примерно 140°F (60°C) или холоднее, в каналах переноса. В определенных примерных вариантах воплощения, накопленные НКГ 265 можно подавать непосредственно в камеру 315 печи в виде НКГ 265, полученных из источников измельчения (например, из химических автоклавов, бункеров-накопителей, испарителей и систем скипидаров). В других примерных вариантах воплощения, НКГ 265 могут быть охлаждены до температуры ниже 140°F (60°C) перед их введением в камеру печи (315, ФИГ. 3). В еще одних примерных вариантах воплощения, НКГ 265 могут быть нагреты приблизительно до температуры камеры 315 печи у места введения 375. Для сравнения, рециркулированный топочный газ присутствует, как правило, в диапазоне от 500°F (260°C) до 1400°F (760°C), в зависимости от того, где топочный газ был рециркулирован. Например, в печах Andritz рециркулированный топочный, газ, как правило, имеет температуру примерно от 500°F (260°C) до 650°F (примерно 343°C).

[63]

[0057] ФИГ. 3 представляет собой перспективное изображение в крупном масштабе нагнетателя 350 примерной протяженной вращающейся обжиговой печи 300, расположенной вокруг трубчатого кожуха 303. ФИГ. 3 показывает разрез, отображающий вид внутри нагнетателя 350 и камеры 315 печи. Нагнетатель 350 расположен кольцеобразно вокруг протяженной вращающейся обжиговой печи 300 на расстоянии примерно двух третей длины L камеры 315 печи, если измерять от стороны горелки 205. Нагнетатель 350 содержит кожух 351 нагнетателя. Кожух 351 нагнетателя задает камеру 353 нагнетателя, расположенную кольцеобразно вокруг внешней оболочки 303 трубчатого кожуха 302. Уплотнения 357 изолируют камеру 353 нагнетателя от внешней атмосферы и позволяет протяженной вращающейся обжиговой печи 300 вращаться, тогда как нагнетатель 350 остается стационарным. Ножки 354 могут поддерживать нагнетатель 350 на опорном блоке 347.

[64]

[0058] Камера 353 нагнетателя сообщается с впускным каналом 362 на впуске 363 нагнетателя, заданным кожухом 351 нагнетателя. Камера 353 нагнетателя дополнительно сообщается с камерой 315 печи через одно или более отверстий 368 в трубчатом кожухе 302. Газопровод 364 может простираться через отверстие 368. В других примерных вариантах воплощения, газопровод 364 может быть опущен. В ходе работы, операторы направляют НКГ 365, предпочтительно, НОВК НКГ, включая газы с общим сниженным содержанием серы («TRS»), через впускной канал 362 в камеру 353 нагнетателя. Из камеры 353 нагнетателя, НКГ 365 рассеиваются в камеру 315 печи через отверстия 368 и, если они имеются, - газопроводы 354. НКГ 365 могут попадать в камеру 315 печи в зоне 274 предварительного нагрева или в зоне 276 обжига.

[65]

[0059] В ходе работы, температура T у места введения 375, у которого НКГ 365 поступают в камеру 315 печи, составляет примерно 1300-1750°F. ФИГ. 3 отображает несколько отверстий 368 в трубчатом кожухе 302 с газопроводом 364, простирающийся через каждое отверстие 368. В изображенном варианте воплощения следует понимать, что под этим подразумеваются места введения 375, расположенные у конца камеры печи, соответствующем газопроводу 364. В примерных вариантах воплощения, в которых отсутствуют газопроводы 364, место введения 375 находится прямо внутри камеры 315 печи, по отношению к отверстию 368. Следует понимать, что в других примерных вариантах воплощения вдоль длины L протяженной вращающейся обжиговой печи 300 может быть расположено более одного нагнетателя 350, при условии, что дополнительные нагнетатели 350 сконфигурированы для введения НКГ 356 у мест введения 375 в камере печи, имеющих температуру T примерно 212-2200°F, предпочтительно, примерно 1300-1750°F. Другие структуры, подходящие для впрыскивания НКГ 365 в протяженную вращающуюся обжиговую печь 300, как было описано в настоящей работе, рассматриваются как входящие в объем этого раскрытия.

[66]

[0060] ФИГ. 4 представляет собой поперечный вид сбоку секции нагнетателя примерной протяженной вращающейся обжиговой печи 400, показанной на ФИГ. 3. Не привязываясь к теории, Заявитель раскрыл, что переменный состав TRS-газов в НКГ 465 вызывает изменения температуры в камере 415 печи, которые могут прервать пламя 122. Поток НКГ 465 в сторону 105 горелки может охлаждать сторону 105 горелки и, таким образом, вносить вклад в колебания температуры на протяжении всей камеры 415 печи. Окисление НКГ 166 на стороне горелки (как показано на ФИГ. 1) может смещать кислород, который требуется для горелки 124 для поддержания пламени 122. Без достаточного количества кислорода, пламя 122 будет истощаться и способствовать «проскоку пламени». Проскок пламени возникает, когда уменьшенное пламя 122 зажигает накопившиеся пакеты сгораемого топлива. Внезапное воспламенение накопленного топлива может привести к небольшому взрыву, который может сделать протяженную вращающаяся обжиговую печь 100 небезопасной для находящихся рядом операторов и привести к значительным колебаниям температуры в камере 415 печи.

[67]

[0061] Заявитель раскрыл, что за счет введения НКГ 465 в зону 274 предварительного нагрева или в зону 276 обжига, температуры зоны предварительного нагрева 274 и зона 276 обжига являются достаточными для окисления НКГ 465, до того как НКГ 465 покинут загрузочную сторону 210 протяженной вращающейся обжиговой печи 200, при смещении охлаждающих эффектов НКГ 465 ниже по потоку относительно середины протяженной вращающейся обжиговой печи 200 (относительно стороны горелки 205) и, таким образом, обходе области протяженной вращающейся обжиговой печи 200, в которой вероятно формируются кольца в середине печи 130. За счет введения НКГ 465 в нагнетатель 450, расположенный на расстоянии примерно от половины (½) до двух третей (⅔) длины L протяженной вращающейся обжиговой печи 200. Заявитель раскрыл способ для снижения колебаний температуры на стороне горелки 205 и, таким образом, обхода циклов заморозки и оттаивания, которые вносят вклад в создание колец 130 в середине печи. При сниженных колебаниях температуры, менее вероятно, что гранулы 120' будут накапливать дополнительный материал при более высокой скорости, чем то, что гранулы 120' будут терять материал, в результате чего, таким образом, устраняется вероятность формирования колец 130 в середине печи.

[68]

[0062] Введение НКГ 465 в зону 274 предварительного нагрева может дополнительно охладить топочные газы 125 ниже по потоку относительно зоны предварительного нагрева 274 (например, в зоне сушки 272), с пассивным поддержанием, таким образом, зоны 272 сушки ниже 1300°F, во избежание накопления пыли известкового шлама (CaCO3), прилипающего к огнеупорным стенкам 407, с образованием колец 130 в середине печи. Предполагается, что накопление известкового шлама на огнеупорных стенках 107 из-за последовательных циклов заморозки и оттаивания дает импульс образованию колец 130 в середине печи. Таким образом, примерная система препятствует образованию колец 130 в середине печи в зоне 274 предварительного нагрева. Менее вероятно, чтобы протяженная вращающаяся обжиговая печь 400 генерировала бы NOx при температуре ниже 1400°F.

[69]

[0063] В другом примерном варианте воплощения, операторы могут, в дополнение к НКГ 465, добавлять воздух (A, ФИГ. 6) в нагнетатель 450. Предполагается, что добавление воздуха может помочь регулированию диапазонов температур в протяженной вращающейся обжиговой печи 400 и дополнительно ослабляет образование колец и генерирование NOx, особенно термическое генерирование NOx.

[70]

[0064] В еще одном варианте воплощения, операторы могут впрыскивать мочевину (CH4N2O) в нагнетатель 450, для снижения накопления оксидов азота (NOX) в отработанных газах 633. (см. ФИГ. 5 и 77). В еще одном варианте воплощения, операторы могут впрыскивать аммиак (NH3) в нагнетатель 450, для снижения накопления оксидов азота (NOX) в отработанных газах 633. (см. ФИГ. 5 и 6).

[71]

[0065] ФИГ. 5 представляет собой поперечное схематическое изображение примерной системы протяженной вращающейся обжиговой печи, причем протяженная вращающаяся обжиговая печь 200 представляет собой печь 500 для быстрой сушки. В печи 500 для быстрой сушки, кольцевая сушилка 570 заменяет зону 118 цепной завесы, присутствующую в стандартных протяженных вращающихся обжиговых печах 100. Кольцевая сушилка 570 обычно расположена выше загрузочной стороны 510. Кольцевая сушилка 570 в стандартных протяженных вращающихся обжиговых печах 100 заменяет зону 272 сушки. Поэтому, горелка 524 и трубчатый кожух 502 задают зону 576 обжига и зону 574 предварительного нагрева в камере 515 печи трубчатого кожуха 502.

[72]

[0066] Перед введением кольцевой сушилки 570, операторы обычно отводят воду из обжигового реагента 520 в известковом фильтре (не изображен). На ФИГ. 5, обжиговый реагент представляет собой известковый шлам. Вода, отведенная из известкового шлама (см. 520), при введении кольцевой сушилки 570, как правило, будет иметь содержание влаги в диапазоне 20-30%. В процессе быстрой сушки, операторы подают известковый шлам (см. 520) в кольцевую сушилку 570 на впуске 571. Известковый шлам (см. 520) затем на короткое время сталкивается с отработанными газами 533, захваченными из загрузочной стороны 510 камеры 515 печи. Отработанные газы могут покидать загрузочную сторону 510 камеры 515 печи при температуре более 1292°F (700°C). Горячие отработанные газы 533 быстро испаряют избыточную влагу в известковом шламе (см. 520), без нагрева известкового шлама (см. 520) в течение достаточно длительного времени для катализа реакции обжига. Таким образом, кольцевая сушилка 570 высушивает известковый шлам 520''. Циклонный сепаратор 573 отделяет высушенный известковый шлам 520'' от отработанных газов 533. Отделенный высушенный известковый шлам 520'' затем подают в загрузочную сторону 510 протяженной вращающейся обжиговой печи 200 для подогрева и обжига.

[73]

[0067] ФИГ. 5 отображает нагнетатель 550, расположенный вокруг трубчатого кожуха 502 вблизи ведущей шестерни 513. Нагнетатель 550 расположен у места введения 575, причем температура T камеры 515 печи у места введения 575 находится в диапазоне 1300-1750°F. Операторы подают НКГ 565 в нагнетатель 550 у места введения 575, для снижения колебаний температуры на стороне горелки 505, для предотвращения, таким образом, циклической заморозки и оттаивания скоплений извести, что вносит вклад в создание колец 130 в середине печи.

[74]

[0068] Сниженные колебания температуры в камере 515 печи, особенно в зоне обжига 576 и в зоне 574 предварительного нагрева, могут позволить горелке 524 и пламени 522 бесперебойно нагревать камеру 515 печи, с повышением, таким образом, выработки обжиговых реагентов 520 и качества повторно обожженного продукта 527.

[75]

[0069] ФИГ. 6 представляет собой поперечное схематическое представление способа для снижения накопления колец в середине печи (см. 130) в протяженной вращающейся обжиговой печи 600, содержащего: введение НКГ 665 в протяженную вращающуюся обжиговую печь 600 у места введения 675, причем температура T камеры 615 печи у места введения 675 находится в диапазоне 1300-1750°F, причем НКГ 665 желательно не вводят в сторону 605 горелки протяженной вращающейся обжиговой печи 600. Место введения 675 желательно находится в зоне 674 предварительного нагрева или в зоне 676 обжига.

[76]

[0070] В определенных примерных вариантах воплощения, операторы могут впрыскивать аммиак (NH3) в камеру 615 печи у места введения 675 для снижения накопления оксидов азота (NOX) в отработанных газах 633 путем селективного каталитического восстановления («СКВ»). В еще одних примерных вариантах воплощения, операторы могут впрыскивать мочевину (CH4N2O) и аммиак (NH3) в камеру 615 печи у места введения 675 для снижения накопления оксидов азота (NOX) в отработанных газах 633 путем селективного некаталитического восстановления («СНКВ»). В еще одних примерных вариантах воплощения, операторы могут добавлять пар или водяной пар (H2O) у места введения 675, для содействия регулированию внутренней температуры и для содействия поддержания температурных зон 672, 674, 676 мест введения. Предполагается, что выбросы оксидов серы («SOx») могут оставаться почти неизменными.

[77]

[0071] В еще одних примерных вариантах воплощения, операторы могут добавлять к НКГ 665 спекающие агенты S, для дополнительного снижения образования колец 130 в середине печи и для облегчения более частого отслаивания загрязнителей от огнеупорных стенок 607. В еще одних примерных вариантах воплощения, операторы могут добавлять к НКГ 665 кислород (O2) для облегчения окисления НКГ 665 вблизи места введения 675. В еще одних примерных вариантах воплощения, операторы могут вводить вместе с НКГ 665 воздух у места введения 675 для облегчения окисления НКГ 665. В еще одних дополнительных примерных вариантах воплощения, операторы могут подвергать рециркуляции топочный газ ТГ у места введения 675. Топочный газ ТГ может быть охлажден перед введением. В других примерных вариантах воплощения, топочный газ ТГ может быть обедненным по кислороду. Не привязываясь к теории, предполагается, что добавление топочного газа ТГ, воздуха A, водяного пара (H2O) или любого их сочетания может разбавить энергию горения, необходимую для создания NOx. Водяной пар (H2O), вода, охлажденный топочный газ ТГ и воздух в данном раскрытии могут называться в целом «хладагентами» 679.

[78]

[0072] ФИГ. 6 также схематически отображает также примерную систему, содержащую протяженную вращающуюся обжиговую печь 600, имеющую сторону 605 горелки, расположенную удаленно от загрузочной стороны 610. Протяженная вращающаяся обжиговая печь 600 содержит внешнюю оболочку 603 и огнеупорную футеровку 607. Огнеупорная футеровка 607 задает камеру 615 печи, содержащую несколько температурных зон 672, 674, 676. Примерная система дополнительно содержит датчик 695 температуры, такой как термопара. Датчик 695 температуры выявляет температуру T камеры 615 печи вблизи местоположения датчика 695 температуры. ФИГ. 6 отображает первый датчик 695a температуры, расположенный выше по потоку относительно места введения 675 (т.е. ближе к стороне 605 горелки) и второй датчик 695b температуры, расположенный ниже по потоку относительно места введения 675 (т.е., ближе к загрузочной стороне 610). Датчик 695 температуры может иметь сигнальную связь с программируемым логическим контроллером («ПЛК»), компьютером, планшетным компьютером или смартфоном (в общем виде, - «процессором»). Процессоры могут отправлять выходной сигнал на дисплей, предоставляя возможность оператору видеть или иным образом визуализировать считывание температуры.

[79]

[0073] Оператор может регулировать режим обработки, исходя из считывания с датчика 695 температуры, для поддержания желаемых режимов работы. В других примерных вариантах воплощения, процессор может автоматически регулировать режим обработки, исходя из считываний с датчика 695 температуры. Например, если датчик 695 температуры указывает, что температура зоны 674 предварительной обработки падает ниже желаемых уровней, то оператор может увеличить количество топлива, потребляемого горелкой 624, для повышения длины пламени 622 и, таким образом, возвращать область камеры 615 печи к желаемой температуре T.

[80]

[0074] Дополнительно способ для снижения накопления колец в печи в протяженной вращающейся обжиговой печи 600 может содержать: подачу обжигового реагента 620 в протяженную вращающуюся обжиговую печь 600 на загрузочной стороне 610 протяженной вращающейся обжиговой печи 600, окисление обжигового реагента 620 в протяженной вращающейся обжиговой печи 600 с помощью горелки 624, расположенной на стороне 605 горелки протяженной вращающейся обжиговой печи 600, причем сторона 605 горелки расположена удаленно от загрузочной стороны 610; и введение НКГ 665 в протяженную вращающуюся обжиговую печь 600 через камеру нагнетателя 453, 553, расположенную кольцеобразно вокруг трубчатого кожуха 602 протяженной вращающейся обжиговой печи 600, причем камера нагнетателя 453, 553 имеет жидкостное сообщение с камерой 615 печи через отверстие 668, и при этом температура T камеры 615 печи у места введения 675 находится в диапазоне 1300-1750°F.

[81]

[0075] Другой примерный способ содержит: измерение первой температуры T1 в первом местоположении выше по потоку относительно места введения 675, измерение второй температуры T2 во втором местоположении ниже по потоку относительно места введения 675, сопоставление первой температуры T1 со второй температурой T2 для определения разности температур, добавление к НКГ 665 хладагента 679 у места введения 675, когда разность температур составляет менее 100°F, причем температура T у места введения 675 составляет 212-2200°F. В других примерных вариантах воплощения, температура T у места введения составляет 1300-1750°F. Примерный способ может дополнительно содержать прекращение добавления хладагента 679, когда разность температур составляет 100°F или более. В еще одних примерных вариантах воплощения, операторы могут добавлять хладагент 679, когда разность температур достигает 100°F.

[82]

[0076] Тогда как данной изобретение было, в частности, показано и описано со ссылками на его примерные варианты воплощения, специалистам в данной области техники следует понимать, что в нем могут быть сделаны различные изменения по форме и по деталям, без отступления от объема изобретения, охватываемого прилагаемой формулой изобретения.

Как компенсировать расходы
на инновационную разработку
Похожие патенты