патент
№ RU 2763419
МПК E04B1/74

Звукопоглощающая сэндвич-панель

Авторы:
Коршунов Александр Николаевич
Правообладатель:
Все (2)
Номер заявки
2021111309
Дата подачи заявки
20.04.2021
Опубликовано
29.12.2021
Страна
RU
Как управлять
интеллектуальной собственностью
Чертежи 
5
Реферат

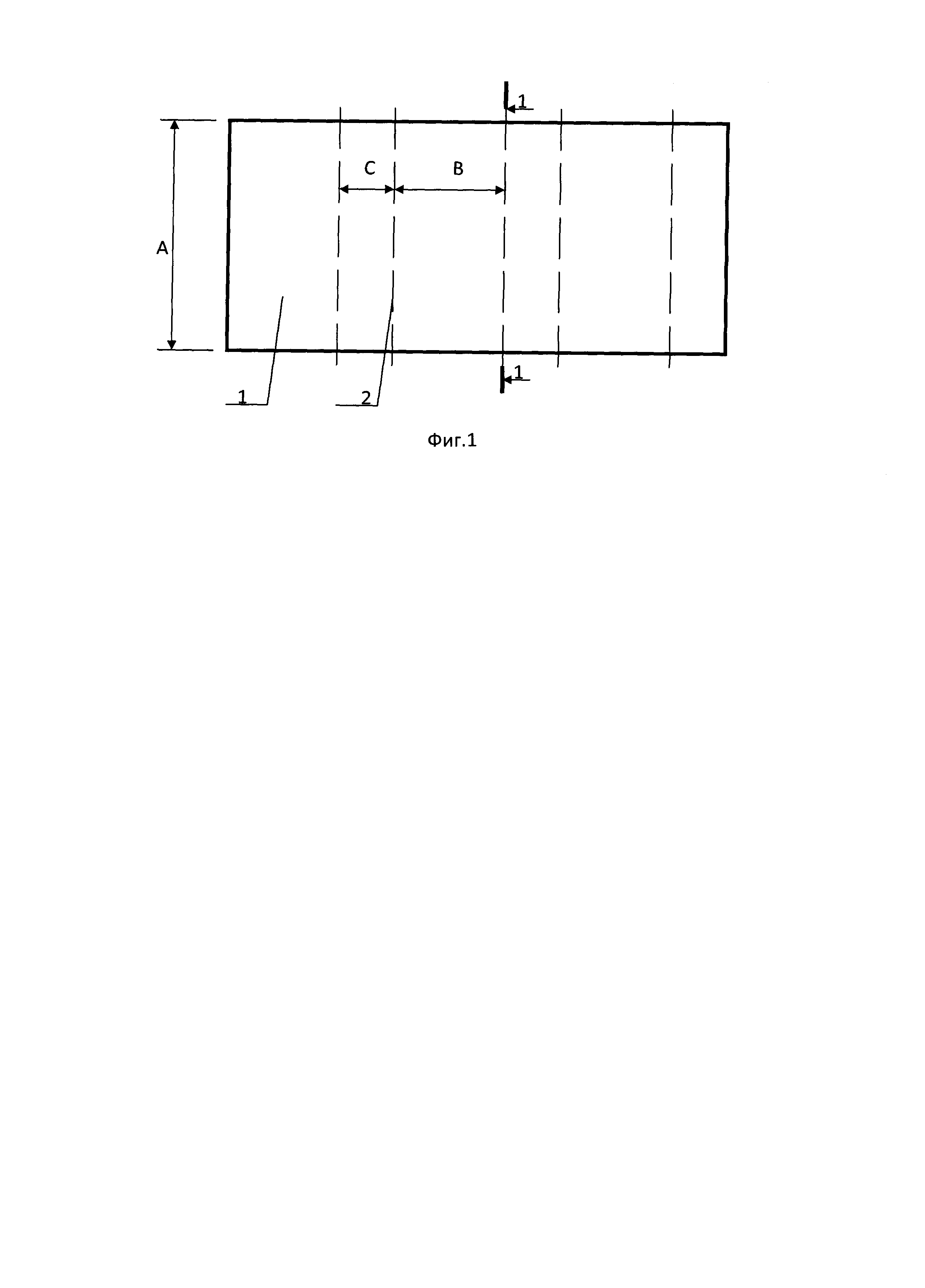
[26]

Изобретение относится к устройствам для защиты от шума и может быть использовано в зданиях и сооружениях для обеспечения нормативного акустического режима, в частности в мероприятиях по звукопоглощению в производственных и жилых помещениях, в защитных экранах для оборудования, являющегося источниками шума, в придорожных шумозащитных экранах и других звукопоглощающих конструкциях. Технический результат - увеличение коэффициента звукопоглощения панели. Предлагается звукопоглощающая сэндвич-панель, состоящая из двух листовых наружных облицовок, одна из которых сплошная, звуконепроницаемая, а другая облицовка имеет сквозную перфорацию в виде отверстий для прохождения через них внутрь панели звуковых волн. Внутри панели находится массив звукопоглощающего материала в виде зафиксированных приклейкой к облицовкам ламелей из минеральной ваты, направление волокон в которых перпендикулярно плоскостям наружных облицовок. Звукопоглощающий массив состоит из чередующихся выступающих и западающих элементов ламелей разной высоты, плотно прижатых друг к другу без зазоров, создавая акустические ловушки. Ламели нарезаны из стандартных минераловатных плит и имеют наклон поверхностей граней к перфорированной облицовке сэндвич-панели в интервале от 0° до 65°, т.е. могут иметь грани от параллельного расположения относительно перфорированной облицовки до отличного от параллельного в различном их сочетании для всего массива звукопоглощающего материала. Из-за разности в высоте ламелей, составляющих массив звукопоглощающего материала сэндвич-панели, к перфорированной звукопроницаемой плоской облицовке сэндвич-панели приклеиваются только выступающие на одинаковую высоту из массива звукопоглощающего материала грани ламелей большей высоты. А ламели меньшей высоты остаются приклеенными только одной гранью к неперфорированной облицовке. 5 з.п. ф-лы, 5 ил.

Формула изобретения

1. Звукопоглощающая сэндвич-панель, состоящая из двух листовых наружных облицовок, одна из которых сплошная, звуконепроницаемая, а другая облицовка имеет сквозную перфорацию в виде отверстий для прохождения через них внутрь панели звуковых волн, внутри панели находится массив звукопоглощающего материала в виде зафиксированных приклейкой к облицовкам ламелей из минеральной ваты, направление волокон в которых перпендикулярно плоскостям наружных облицовок, отличающаяся тем, что ламели внутри сэндвич-панели имеют разную высоту, одна часть ламелей имеет большую высоту, а другая часть ламелей имеет меньшую высоту, при этом грани всех ламелей, имеющих разные высоты, обращенные к сплошной облицовке панели, которая не имеет сквозную перфорацию, лежат в одной плоскости и все ламели крепятся к данной облицовке клеевым соединением, а противоположные грани ламелей, обращенные в сторону сквозной, перфорированной, облицовки, имеют клеевое соединение с данной облицовкой только у ламелей с большей высотой, данные перепады в высотах соседних ламелей образуют внутри звукопоглощающей панели акустические ловушки, образованные боковыми гранями ламелей большей высоты и фронтальными гранями ламелей меньшей высоты.

2. Звукопоглощающая сэндвич-панель по п. 1, отличающаяся тем, что ламели большей высоты имеют меньшую толщину, чем ламели меньшей высоты.

3. Звукопоглощающая сэндвич-панель по п. 1, отличающаяся тем, что акустические ловушки имеют в массиве звукопоглощающего материала поперечное направление относительно длины сэндвич-панели.

4. Звукопоглощающая сэндвич-панель по п. 1, отличающаяся тем, что акустические ловушки имеют в массиве звукопоглощающего материала продольное направление относительно длины сэндвич-панели.

5. Звукопоглощающая сэндвич-панель по п. 1, отличающаяся тем, что акустические ловушки имеют в массиве звукопоглощающего материала смешанные продольно-поперечные направления.

6. Звукопоглощающая сэндвич-панель по п. 1, отличающаяся тем, что ламели с меньшей высотой, фронтальные грани которых обращены к перфорированной облицовке, имеют наклон данных граней к перфорированной облицовке сэндвич-панели в интервале от 0° до 65°, т.е. могут иметь данные грани от параллельного расположения относительно перфорированной облицовки, до отличного от параллельного в различном их сочетании для всего массива звукопоглощающего материала.

Описание

[1]

Изобретение относится к устройствам для защиты от шума и может быть использовано в зданиях и сооружениях для обеспечения нормативного акустического режима, в частности в мероприятиях по звукопоглощению в производственных и жилых помещениях, в защитных экранах для оборудования, являющегося источниками шума, в придорожных шумозащитных экранах и других звукопоглощающих конструкциях.

[2]

Известен акустический диффузор HolzAkustika Diffuser 700-2200 Hz (http://market.yandex.ru/search?text=акустический%20диффузор%20holzakustika%20diffuser%20700-2200%20hz&lr=43&clid=545), данный диффузор позволяют менять акустические свойства конструкции. Достигается это наличием специальных съемных кассет, устанавливаемых в рамку. Кассеты отличаются функциональным предназначением: поглотители (абсорберы) и рассеиватели (диффузоры). Наличие кассет обусловлено возможностью сбалансированно рассеивать звук во всех направлениях в широком диапазоне. При необходимости сделать звук более глухим используются поглотители, а если необходим более сухой звук, то диффузоры. Данное изделие имеет в качестве основной функции, не максимальное увеличение звукопоглощения, а функцию равномерного рассеивания звука, конструкция может иметь звукопоглощающие элементы в качестве вспомогательной, а не основной функции, при этом максимальное увеличение коэффициента звукопоглощения данных элементов не происходит из-за того что, как минимум, выступающие боковые поверхности рамки, определяющие конструкционную прочность диффузора, изготовлены из сплошного плотного звукоотражающего материала, в связи с чем отраженный от нее звук возвращается в помещение фактически без ослабления. Также, как правило, диффузоры изготавливаются с применением горючих материалов -дерева, или полимеров. Кроме этого, сама кассета из минеральной ваты, установленная в рамку, не выполняет функцию по созданию конструктивной прочности изделия.

[3]

Известно изобретение №2266997, в котором шумоизолирующая и шумопоглощающая акустическая сэндвич-панель образована задней и передней панелями. Между панелями размещен шумопоглощающий блок. Акустическая сэндвич-панель оснащена выполненными из профиля с резонирующей полостью разделителями шумового потока, которые расположены со стороны передней панели с наклонными пластинами с козырьками, смонтированными горизонтально и параллельно друг другу с образованием щелевых ловушек. Акустическая сэндвич-панель снабжена плоским модулем, выполненным, по меньшей мере, из одного слоя волокнистого материала, имеющего поверхностную плотность в пределах от 100 до 1500 г/м2, и плоской акустической мембраной из, по меньшей мере, одного слоя звукопроницаемого материала, имеющего поверхностную плотность в пределах от 25 до 200 г/м2. Последняя, совместно с разделителями шумового потока и наклонными пластинами с козырьками смонтированы в объемный модуль из, по меньшей мере, двух вертикально ориентированных разделителей шумового потока, и последовательно зафиксированных на них плоской акустической мембраны и наклонных пластин с козырьками. Плоский и объемный модули смонтированы последовательно с наружной стороны передней панели, а шумопоглощающий блок зафиксирован относительно передней и задней панелей посредством клея, или механически. Недостатком данной конструкции является, большая металлоемкость и трудоемкость изготовления направляющих козырьков звукового потока и всей конструкции звукопоглощающей панели в целом, а также большой уровень звукового давления с фронтальной стороны акустической сэндвич-панели в виду большого процента отраженного от козырьков панели звука, за пределы сэндвич-панели, соответственно сэндвич-панель имеет пониженный коэффициент звукопоглощения.

[4]

Из существующих эффективных методов уменьшения доли отраженного звука от звукопоглощающей конструкции, одним из самых эффективных методов для формирования свободного поля является применение звукопоглощающего материала в форме клиньев, или пирамид.

[5]

Клинообразная геометрия обеспечивает постепенное изменение в акустическом сопротивлении передающей среды, позволяя звуковым волнам поглощаться материалом, но не отражаться на поверхности, в широком диапазоне звуковых частот.

[6]

Эффективность поглощения зависит от геометрии и свойств используемых материалов.

[7]

Недостаток акустических клиньев и пирамид состоит в том, что в варианте материала для широкого применения, с относительно небольшой ценой, они как правило выпускаются из горючих материалов, что часто недопустимо для звукопоглощающих конструкций. Например акустические клинья «ЭхоКор» имеют класс пожарной опасности материала КМ1, т.е. они не являются негорючими (https://echocor.ru/klinya-dlya-bezelkhovykh-kamer/)

[8]

А в варианте не горючих, минеральных материалов это, как правило, не технологичные, мелкосерийные изделия, имеющие большую трудоемкость в изготовлении и стоимость, т.к. изготавливаются из засыпных или набивных материалов, которые требуют изготовления каркаса и облицовок, или натяжных конструкций, имеющих пространственную форму, отличную от плоской формы, что удорожает и усложняет их производство (АКУСТИЧЕСКИЙ ЖУРНАЛ. 2015. том 61. №5. с. 636-644, ФИЗИЧЕСКИЕ ОСНОВЫ ТЕХНИЧЕСКОЙ АКУСТИКИ УДК 534.8.081.7 ЭКСПЕРИМЕНТАЛЬНОЕ ИССЛЕДОВАНИЕ ЗВУКОПОГЛОЩЕНИЯ АКУСТИЧЕСКИХ КЛИНЬЕВ ДЛЯ ЗАГЛУШЕННЫХ КАМЕР, гл. 3.2 Клинья из БСТВ, © 2015 г. И.В. Беляев*-**, А.Ю. Голубев*-**, А.Я. Зверев*, С.Ю. Макашов*, В.В. Нальчиковский**, А.Ф. Соболев*-**, В.В. Черных* *ФГУП НАГИ. Научно-исследовательский Московский комплекс НАГИ 105005 Москва, ул. Радио 17 ** Пермский национальный исследовательский политехнический университет 614990 Пермь. Комсомольский пр. 29 E-mail: vvpal@perm.ru Поступила и редакцию 09.04.2015 г.).

[9]

Кроме этого, объем задач по снижению уровня шума до нормативного в жилых и производственных помещениях не требует полной ликвидации отраженных звуковых волн от звукопоглощающих конструкций, т.е. не требуется абсолютно безэховые помещения, соответственно, очень редко требуется геометрия звукопоглощающих конструкций с идеальными плоскостями в виде клиньев, или пирамид, т.е. для эффективного и достаточного уменьшения отражения звуковых волн от поверхности звукопоглощающих конструкций можно использовать более технологичные геометрические фигуры, образующие требуемую поверхность из стандартных минераловатных штучных изделий.

[10]

Имеются рассеивающие акустические панели (Jvori, Reflex, Stripe Combi, Stripe Fuser …) из линейки ATP, выпускаемой производителем Jocavi (https.//www.redsector.ru/catalog/akusticheskie-materialy/atp/scattering-diffusers/), которые также могут выпускаться и в варианте вкладышей из звукопоглощающих материалов, или их сочетания. Данные панели выпускаются из полимерных материалов, которые могут принимать любую сложную форму, но недостаток данных панелей состоит в том, что они состоят из горючих материалов (полиуретан, экструдированный полистирол …), а не из негорючих звукопоглощающих минеральных материалов, которые менее технологичны в формовке сложных поверхностей панелей. Так же данные панели не имеют конструкционной прочности и не могут быть использованы, как самостоятельные самонесущие ограждающие конструкции.

[11]

Известны стеновые и кровельные акустические сендвич-панели «Kraft SPAN ACOUSTIC)), которые состоят из двух наружных стальных облицовок, изоляционного наполнителя из плит минеральной ваты с перпендикулярно ориентированными волокнами (ламели, нарезанные из стандартных минераловатных плит) к плоскости листовых облицовок, для создания максимальной жесткости конструкции. Одна из облицовок, это звукопроницаемый, перфорированный стальной листа, а вторая облицовка это сплошной стальной лист.Ламели и стальные листы облицовок соединяются друг с другом на клею, образуя единую плоскую, жесткую сэндвич-панель.

[12]

Недостаток данных акустических сэндвич-панелей состоит в том, что слой звукопоглощающего материала, состоящего из набора множества ламелей, в нем, имеет плоскую, а не клиновую, или рельефную поверхность, к фронту звуковых волн, соответственно, существенная доля звуковых волн, не поглощаются, а отражаются от данного плоского слоя звукопоглощающего материала, по этим причинам панели имеют пониженный коэффициент звукопоглощения. Данная конструкция является прототипом предлагаемого решения.

[13]

(https://kraftspan.com/).

[14]

Цель изобретения - уменьшить количество отраженных звуковых волн от поверхности звукопоглощающей сэндвич-панели, выполненной из не горючих, штучных, стандартных, минераловатных, плитных, звукопоглощающих материалов и тем самым увеличить коэффициент звукопоглощения панели.

[15]

Данная задача решается, за счет перехода от плоской наружной поверхности звукопоглощающего массива сэндвич-панели к рельефной поверхности, сочетающей чередование выступающих и западающих элементов из плоскости массива, состоящего из ламелей разной высоты, нарезанных из стандартных минераловатных плит.

[16]

Для изготовления звукопоглощающей сэндвич-панели, из минераловатных стандартных плит нарезаются ламели разной высоты, ламели большей высоты, равной расстоянию между листовыми облицовками плоской сэндвич-панели, т.е. равной толщине сэндвич-панели и также нарезаются ламели меньшей высоты. Ламели нарезаются в виде многогранников. Данные ламели собираются в плотный массив звукопоглощающего материала, у которого одна поверхность, примыкающая к облицовке, в виде сплошного стального листа, имеет набор ламелей, грани которых лежат в одной плоскости, плотно прижатыми друг к другу без зазоров и эти грани всех разновысотных ламелей данной поверхности массива приклеиваются к листовой наружной облицовке. Соответственно, из-за разности в высоте ламелей, составляющих массив звукопоглощающего материала сэндвич-панели, к противоположной, перфорированной, звукопроницаемой, плоской облицовке сэндвич-панели, приклеиваются только выступающие на одинаковую высоту из массива звукопоглощающего материала, грани ламелей большей высоты. А ламели меньшей высоты, остаются приклеенными только одной гранью к не перфорированной облицовке, при этом, они своими боковыми гранями ламелей, относительно своей приклеенной грани, плотно механически обжимаются и жестко зафиксированы между боковыми гранями ламелей большей высоты, которые приклеены своими противоположными гранями к обеим наружным облицовкам сэндвич-панели. Так же, ламели с меньшей высотой, грани которых обращены к перфорированной облицовке, имеют наклон поверхностей данных граней к перфорированной облицовке сэндвич-панели, в интервале от 0° до 65°, т.е. могут иметь грани, от параллельного расположения относительно перфорированной облицовки, до отличного от параллельного, в различном их сочетании для всего массива звукопоглощающего материала.

[17]

На Фиг. 1 показано, как изготавливаются, вышеназванные сэндвич-панели из стандартной минераловатной плиты (поз. 1), которая имеет горизонтальное расположение волокон (поз. 3) в исходной плите (Сеч. 1-1, Фиг. 2). Минераловатная плита, стандартной высоты Н, нарезается поперечными (поз. 2), или продольными резами на ламели требуемой высоты, т.е. на ламели большей высоты это размер В, который соответствует толщине сэндвич-панели (см. Фиг. 4, Фиг. 5) и на ламели меньшей высоты это размер С.Далее ламели с большей (поз. 4) и с меньшей высотой (поз. 5), собираются в плотный, без зазоров, звукопоглощающий массив (Фиг. 4, Фиг. 5), в котором направление волокон минераловатных ламелей перпендикулярно звукопроницаемой облицовке (поз. 6) и не звукопроницаемой облицовке (поз. 7). Звукопроницаемая облицовка сэндвич-панели (поз. 6), с длиной панели равной размеру L, показана на Фиг. 3, она имеет сквозную перфорацию (поз. 11). Все грани ламелей с большей и с меньшей высотой (поз. 5 и поз. 4, Фиг. 4, Фиг. 5) звукопоглощающего массива, со стороны не звукопроницаемой облицовки (поз. 7), находятся в одной плоскости, без зазоров друг относительно друга и приклеиваются к данной сплошной облицовке единым массивом. К противоположной, звукопроницаемой облицовке (поз. 6) приклеиваются своими гранями, только ламели большей высоты (поз. 4). Таким образом, пространственная жесткость звукопоглощающей сэндвич-панели создается наружными облицовками, которые соединены друг с другом в объемную конструкцию клеевым соединением с ламелями, имеющими перпендикулярную ориентацию волокон к данным облицовкам. При этом, звуковые волны, проходя через звукопроницаемую облицовку сэндвич-панели (поз. 6) попадают, как на горизонтальную поверхность звукопоглощающего материала, в виде ламелей большей высоты (поз. 8, Фиг. 4), так же звуковые волны (поз. 9) попадают на фронтальные (поз. 12) и боковые грани (поз. 13) ламелей, акустических ловушек (поз. 10). Наличие в акустических ловушках (поз. 10) разновысотных ламелей (поз. 4, поз. 5), со стороны звукопроницаемой облицовки (поз. 6), ведет к увеличению контактной поверхности, со звуковыми волнами (поз. 9), звукопоглощающего материала, за счет эффекта рассеивания, при котором, направление отраженных звуковых волн от боковых граней ламелей большей высоты (поз. 13) и фронтальных граней ламелей меньшей высоты (поз. 12), т.е. западающих ламелей, происходит не за пределы массива звукопоглощающего материала сендвич-панели (поз. 8), а обратно в его смежные звукопоглощающие поверхности (поз. 9), что соответственно в целом, ведет к увеличению коэффициента звукопоглощения сэндвич-панели. Конструктивный прием, с применением ламелей, когда максимальная жесткость минераловатного наполнителя, в виде направления волокон, сориентирована в направлении, параллельном направлению, возможного механического воздействия на звукопоглощающую конструкцию - в направлении наружных облицовок, позволяет создать жесткую звукопоглощающую панель, при применении стандартного, плитного минераловатного материала с минимальной плотностью, который не содержит в своем составе связующее вещество, то есть из негорючей минеральной ваты.

[18]

Для увеличения удельного процента площади акустических ловушек (поз. 10) в общей площади звукопроницаемой облицовки (поз. 6) звукопоглощающей сэндвич-панели, толщина H1 ламели с большей высотой (поз. 4) принимается меньше толщины Н2 ламели с меньшей высотой (поз. 5), соответственно уменьшается удельный процент звуковых волн (поз. 8, Фиг. 4) с большим процентом отраженных волн за пределы массива звукопоглощающего материала и увеличивается удельный процент звуковых волн (поз. 9, Фиг. 4) с большим процентом повторно отраженных волн в толщу звукопоглощающего материала, что увеличивает коэффициент звукопоглощения сэндвич-панели. При этом, ламели имеющие разную толщину, вырезаются из стандартных минераловатных плит, соответственно с разной исходной толщиной.

[19]

Акустические ловушки (поз. 10) могут иметь в массиве звукопоглощающего материала различное линейное направление, т.е. направление ламелей меньшей высоты, относительно габаритов сэндвич-панели. На фиг. 4, фиг. 5 показано исключительно поперечное направление акустических ловушек в сэндвич-панели, т.е. направление перпендикулярное длине сэндвич-панели L. Акустические ловушки могут иметь также исключительно продольное направление, или смешанные продольно-поперечные направления в их любых процентных сочетаниях.

[20]

Описанная выше звукопоглощающая сэндвич-панель может сочетать в себе, кроме звукопоглощающих свойств также и теплоизоляционные свойства, т.е. она может применяться в ограждающих стеновых конструкциях, в покрытиях зданий и сооружений, при ориентации звукопроницаемой облицовки внутрь помещения, также данные панели эффективны и могут быть применены в защитных экранах для оборудования, являющегося источниками шума, экранах придорожного шумопоглощения и других звукопоглощающих конструкциях.

[21]

На фиг. 1 изображена схема разрезки минераловатной плиты на ламели разной высоты;

[22]

На фиг. 2 изображено поперечное сечение 1-1, той же минераловатной плиты и показано направление волокон в теле данной плиты;

[23]

На фиг. 3 изображена звукопоглощающая сэндвич-панель со стороны звукопроницаемой облицовки;

[24]

На фиг. 4 показано продольное сечение 2-2 звукопоглощающей сэндвич-панели в составе облицовок и звукопоглощающего массива из ламелей с акустическими ловушками, также показано направление падающих, поглощенных и отраженных звуковых волн от ламелей в составе сэндвич-панели;

[25]

На фиг. 5 показано то же сечение звукопоглощающей сэндвич-панели 2-2, но в другом варианте граней ламелей меньшей длины, которые имеют разную комбинацией плоскостей их наклона к звукопроницаемой облицовке.

Как компенсировать расходы
на инновационную разработку
Похожие патенты