патент
№ RU 2763397
МПК H04L1/18

СПОСОБ И УСТРОЙСТВО ПЕРЕДАЧИ ДАННЫХ

Авторы:
ПАН Ксюеминг (CN)
Номер заявки
2020128816
Дата подачи заявки
16.01.2019
Опубликовано
28.12.2021
Страна
RU
Дата приоритета
17.12.2025
Номер приоритета
Страна приоритета
Как управлять
интеллектуальной собственностью
Чертежи 
6
Реферат

[167]

Изобретение относится к области беспроводной связи. Техническим результатом является предотвращение возникновения противоречий на пользовательском оборудовании посредством предоставления возможности пользовательскому оборудованию определения того, как передать PUSCH с динамическим разрешением и PUSCH с настраиваемым разрешением более эффективным образом. Способ передачи включает (в случае использования одного и того же процесса HARQ каналом PUSCH с динамическим разрешением и PUSCH с настраиваемым разрешением) передачу данных одного из PUSCH с настраиваемым и динамическим разрешениями с помощью первого процесса HARQ или передачу PUSCH либо с настраиваемым, либо с динамическим разрешением с помощью первого процесса HARQ, а затем - передачу PUSCH с динамическим или настраиваемым разрешением с помощью этого же процесса. 4 н. и 8 з.п. ф-лы, 13 ил.

Формула изобретения

1. Способ передачи данных для пользовательского оборудования (UE), включающий:

в случае использования одного и того же первого процесса гибридного автоматического запроса на повторение передачи (HARQ) физическим общим восходящим каналом (PUSCH) и PUSCH с настраиваемым разрешением

передачу данных одного из PUSCH с настраиваемым и динамическим разрешениями с использованием первого процесса HARQ,

при этом передача данных одного из PUSCH с настраиваемым и динамическим разрешениями с использованием первого процесса HARQ включает:

отказ от использования первого процесса HARQ для передачи данных PUSCH с настраиваемым разрешением, а также передачу данных PUSCH с динамическим разрешением с использованием первого процесса HARQ;

включает случаи,

когда время передачи PUSCH с настраиваемым разрешением с использованием первого процесса HARQ предшествует времени передачи PUSCH с динамическим разрешением, а также когда повторение PUSCH с настраиваемым разрешением совпадает с передачей PUSCH с динамическим разрешением во временной области, происходит прекращение передачи PUSCH с настраиваемым разрешением посредством первого процесса HARQ, а передача PUSCH с динамическим разрешением посредством первого процесса HARQ осуществляется.

2. Способ передачи данных по п. 1, отличающийся тем, что передача данных одного из PUSCH с настраиваемым и динамическим разрешениями с использованием первого процесса HARQ также включает:

отказ от использования первого процесса HARQ для передачи данных PUSCH с настраиваемым разрешением, повторное определение времени передачи данных PUSCH с настраиваемым разрешением и/или процесса HARQ, а также передачу данных PUSCH с динамическим разрешением с использованием первого процесса HARQ в соответствии с информацией по первой конфигурации; или

отказ от использования первого процесса HARQ для передачи данных PUSCH с динамическим разрешением, а также передачу данных PUSCH с настраиваемым разрешением с использованием первого процесса HARQ в соответствии с информацией по второй конфигурации.

3. Способ передачи данных по п. 2, отличающийся тем, что первый процесс HARQ не используется для передачи данных PUSCH с настраиваемым разрешением и повторное определение времени передачи данных PUSCH с настраиваемым разрешением и/или процесса HARQ осуществляется в соответствии с информацией по первой конфигурации, включает как минимум одну из следующих функций:

настройку первого таймера в соответствии с информацией по первой конфигурации, прекращение передачи данных PUSCH с настраиваемым разрешением с использованием первого процесса HARQ в пределах времени работы первого таймера, а также повторное определение времени передачи данных PUSCH с настраиваемым разрешением в пределах времени бездействия первого таймера;

настройку первого таймера в соответствии с информацией по первой конфигурации, прекращение передачи данных PUSCH с настраиваемым разрешением с использованием первого процесса HARQ в пределах времени работы первого таймера, а также повторное определение времени передачи данных PUSCH с настраиваемым разрешением и процесса HARQ в пределах времени работы или бездействия первого таймера;

если приоритет логического канала PUSCH с настраиваемым разрешением выше, чем приоритет логического канала PUSCH с динамическим разрешением, настройку второго таймера в соответствии с информацией по первой конфигурации, а также передачу данных PUSCH с настраиваемым разрешением с использованием первого процесса HARQ в пределах времени работы второго таймера;

если приоритет логического канала PUSCH с настраиваемым разрешением ниже, чем приоритет логического канала PUSCH с динамическим разрешением, настройку второго таймера в соответствии с информацией по первой конфигурации, а также повторное определение времени передачи данных PUSCH с настраиваемым разрешением в пределах времени бездействия второго таймера; и

если приоритет логического канала PUSCH с настраиваемым разрешением ниже, чем приоритет логического канала PUSCH с динамическим разрешением, настройку второго таймера в соответствии с информацией по первой конфигурации, а также повторное определение времени передачи данных PUSCH с настраиваемым разрешением и процесса HARQ в пределах времени работы или бездействия второго таймера,

также отличающийся тем, что время запуска первого таймера представляет собой время приема динамического разрешения или время передачи PUSCH с динамическим разрешением, а в пределах времени работы первого таймера UE запрещено осуществлять передачу данных PUSCH с настраиваемым разрешением, и приоритет передачи данных PUSCH с настраиваемым разрешением является ниже, чем таковой у PUSCH с динамическим разрешением;

также отличающийся тем, что время запуска второго таймера представляет собой время приема динамического разрешения или время передачи PUSCH с динамическим разрешением, а в пределах времени работы второго таймера UE запрещено осуществлять передачу данных PUSCH с низкоприоритетным логическим каналом.

4. Способ передачи данных по п. 2, отличающийся тем, что первый процесс HARQ не используется для передачи данных PUSCH с динамическим разрешением в соответствии с информацией по второй конфигурации, включает как минимум одну из следующих функций:

настройку третьего таймера в соответствии с информацией по второй конфигурации и, в пределах времени работы третьего таймера, без использования первого процесса HARQ для передачи данных PUSCH с динамическим разрешением, при этом время запуска третьего таймера предшествует времени передачи PUSCH с настраиваемым разрешением, UE запрещается передача данных PUSCH с динамическим разрешением в пределах времени работы третьего таймера, а приоритет передачи PUSCH с динамическим разрешением ниже приоритета передачи PUSCH с настраиваемым разрешением или приоритет логического канала PUSCH с динамическим разрешением ниже приоритета логического канала PUSCH с настраиваемым разрешением;

настройку четвертого таймера в соответствии с информацией по второй конфигурации и, в пределах времени работы четвертого таймера, без использования первого процесса HARQ для передачи данных PUSCH с динамическим разрешением, при этом время запуска четвертого таймера следует за временем передачи PUSCH с настраиваемым разрешением, UE запрещается передача данных PUSCH с динамическим разрешением в пределах времени работы четвертого таймера, а приоритет передачи PUSCH с динамическим разрешением ниже приоритета передачи PUSCH с настраиваемым разрешением или приоритет логического канала PUSCH с динамическим разрешением ниже приоритета логического канала PUSCH с настраиваемым разрешением;

если время передачи данных PUSCH с настраиваемым разрешением с помощью первого процесса HARQ предшествует времени передачи данных PUSCH с динамическим разрешением, настройку пятого таймера в соответствии с информацией по второй конфигурации без использования первого процесса HARQ для передачи данных PUSCH с динамическим разрешением в пределах времени работы пятого таймера,

также отличающийся тем, что в пределах времени работы пятого таймера UE запрещено осуществлять передачу данных PUSCH с динамическим разрешением, время запуска пятого таймера представляет собой время передачи PUSCH с настраиваемым разрешением и приоритет передачи PUSCH с динамическим разрешением ниже приоритета передачи PUSCH с настраиваемым разрешением или приоритет логического канала PUSCH с динамическим разрешением ниже приоритета логического канала PUSCH с настраиваемым разрешением.

5. Способ передачи данных по п. 2, отличающийся тем, что первый процесс HARQ не используется для передачи данных PUSCH с настраиваемым разрешением, а передача данных PUSCH с динамическим разрешением осуществляется с использованием первого процесса HARQ, также включает случаи:

когда время передачи PUSCH с настраиваемым разрешением с использованием первого процесса HARQ предшествует времени передачи PUSCH с динамическим разрешением, а также когда передача PUSCH с настраиваемым разрешением не совпадает с передачей PUSCH с динамическим разрешением во временной области, прекращается передача PUSCH с настраиваемым разрешением посредством первого процесса HARQ, а передача PUSCH с динамическим разрешением посредством первого процесса HARQ осуществляется.

6. Способ передачи данных для сетевого устройства, включающий:

передачу информации по первой конфигурации на пользовательское оборудование (UE), указывающей на то, что UE не должно использовать процесс гибридного автоматического запроса на повторение передачи (HARQ) для передачи данных физического общего восходящего канала (PUSCH) с настраиваемым разрешением, а также на то, что UE должно передать PUSCH с динамическим разрешением с помощью первого процесса HARQ,

при этом информация по первой конфигурации далее используется для конфигурации указания UE в том случае,

когда время передачи PUSCH с настраиваемым разрешением с использованием первого процесса HARQ предшествует времени передачи PUSCH с динамическим разрешением, а также когда повторение PUSCH с настраиваемым разрешением совпадает с передачей PUSCH с динамическим разрешением во временной области, передача PUSCH с настраиваемым разрешением посредством первого процесса HARQ прекращается, а передача PUSCH с динамическим разрешением посредством первого процесса HARQ осуществляется.

7. Способ передачи данных по п. 6, отличающийся тем, что информация по первой конфигурации используется для конфигурации первого таймера, и в пределах времени работы первого таймера UE запрещено осуществлять передачу данных PUSCH с настраиваемым разрешением, время запуска первого таймера представляет собой время приема динамического разрешения или время передачи данных PUSCH с динамическим разрешением, а приоритет передачи PUSCH с настраиваемым разрешением ниже приоритета передачи PUSCH с динамическим разрешением.

8. Способ передачи данных по п. 6, отличающийся тем, что информация по первой конфигурации используется для выполнения конфигурации второго таймера; время запуска второго таймера представляет собой время приема динамического разрешения или время передачи PUSCH с динамическим разрешением, а в пределах времени работы второго таймера UE запрещено осуществлять передачу данных PUSCH с низкоприоритетным логическим каналом.

9. Способ передачи данных по п. 6, отличающийся тем, что информация по второй конфигурации используется для выполнения конфигурации третьего и/или четвертого таймера;

время запуска третьего таймера предшествует времени передачи PUSCH с настраиваемым разрешением, в пределах времени работы третьего таймера UE запрещено осуществлять передачу данных PUSCH с динамическим разрешением, и приоритет передачи PUSCH с динамическим разрешением ниже приоритета передачи PUSCH с настраиваемым разрешением, или приоритет логического канала PUSCH с динамическим разрешением ниже приоритета логического канала PUSCH с настраиваемым разрешением;

время запуска четвертого таймера предшествует времени передачи PUSCH с настраиваемым разрешением, в пределах времени работы четвертого таймера UE запрещено осуществлять передачу данных PUSCH с динамическим разрешением, и приоритет передачи PUSCH с динамическим разрешением ниже приоритета передачи PUSCH с настраиваемым разрешением, или приоритет логического канала PUSCH с динамическим разрешением ниже приоритета логического канала PUSCH с настраиваемым разрешением.

10. Пользовательское оборудование (UE), включающее:

модуль обработки в случае использования одного и того же первого процесса гибридного автоматического запроса на повторение передачи (HARQ) физическим общим восходящим каналом (PUSCH) с динамическим разрешением и PUSCH с настраиваемым разрешением,

предназначенный для передачи PUSCH с настраиваемым и динамическими разрешениями, использующими первый процесс HARQ,

при этом модуль обработки дополнительно предназначен для тех случаев, когда

время передачи PUSCH с настраиваемым разрешением с использованием первого процесса HARQ предшествует времени передачи PUSCH с динамическим разрешением, а также если повторение PUSCH с настраиваемым разрешением совпадает с передачей PUSCH с динамическим разрешением во временной области, прекращается передача PUSCH с настраиваемым разрешением посредством первого процесса HARQ, а передача PUSCH с динамическим разрешением посредством первого процесса HARQ осуществляется.

11. Оборудование по п. 10, отличающееся тем, что модуль обработки дополнительно предназначен для:

передачи данных PUSCH с настраиваемым разрешением посредством первого процесса HARQ, сброса данных, буферизованных в процессе HARQ после передачи данных, а затем – передачи данных PUSCH с динамическим разрешением посредством первого процесса HARQ; или

передачи данных PUSCH с динамическим разрешением посредством первого процесса HARQ, сброса данных, буферизованных в процессе HARQ после передачи данных, а затем – передачи данных PUSCH с настраиваемым разрешением посредством первого процесса HARQ.

12. Сетевое устройство, включающее:

передающий модуль, предназначенный для передачи информации по первой конфигурации на пользовательское оборудование (UE), указывающей на то, что UE не должно использовать первый процесс гибридного автоматического запроса на повторение передачи (HARQ) для передачи данных физического общего восходящего канала (PUSCH) с настраиваемым разрешением, а также на то, что UE должно передать данные PUSCH с динамическим разрешением с помощью первого процесса HARQ,

при этом информация по первой конфигурации далее используется для конфигурации указания UE в том случае,

когда время передачи PUSCH с настраиваемым разрешением с использованием первого процесса HARQ предшествует времени передачи PUSCH с динамическим разрешением, а также когда повторение PUSCH с настраиваемым разрешением совпадает с передачей PUSCH с динамическим разрешением во временной области, прекращается передача PUSCH с настраиваемым разрешением посредством первого процесса HARQ, а передача PUSCH с динамическим разрешением посредством первого процесса HARQ осуществляется.

Описание

[1]

ПЕРЕКРЕСТНЫЕ ССЫЛКИ НА РОДСТВЕННЫЕ ЗАЯВКИ

[2]

[0001] В настоящей заявке испрашивается приоритет на заявку на патент Китая № 201810143339.5, поданную 11 февраля 2018 года, которая включена в настоящий документ посредством ссылки в полном объеме.

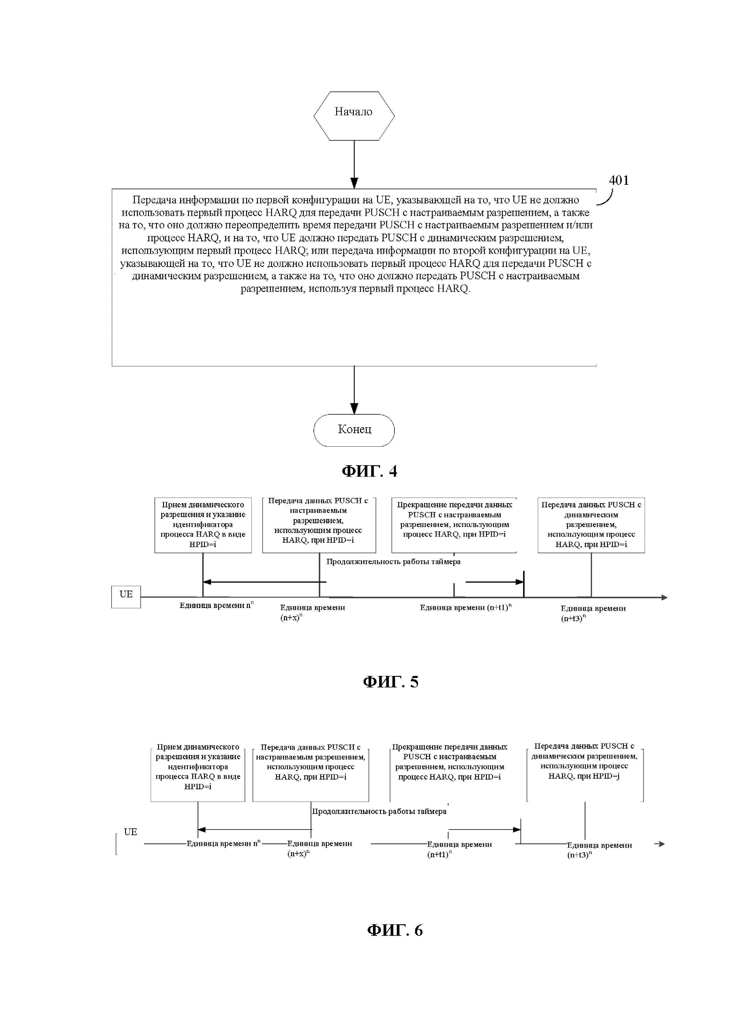
[3]

ОБЛАСТЬ ТЕХНИКИ ИЗОБРЕТЕНИЯ

[4]

[0002] Настоящее изобретение относится к области технологий связи, а конкретно - к способам передачи данных и передающим устройствам.

[5]

УРОВЕНЬ ТЕХНИКИ ИЗОБРЕТЕНИЯ

[6]

[0003] В сравнении с предыдущей системой мобильной связи будущую систему мобильной связи пятого поколения (5G) необходимо приспособить к более разнообразным сценариям и требованиям к обслуживанию. Основные сценарии касательно нового радио (New Radio, NR) включают в себя улучшенный мобильный широкополосный доступ (Enhanced Mobile Broadband, eMBB), потоковую связь машинного типа (massive Machine Type of Communication, mMTC) и сверхнадежную связь с малой задержкой (Ultra Reliable & Low Latency Communication, URLLC), и в рамках этих сценариев крайне востребована система с высокой надежностью, низкой задержкой, широкой полосой пропускания и обширным покрытием.

[7]

[0004] Идентификатор процесса гибридного автоматического запроса на повторение передачи (Hybrid Automatic Repeat Request, HARQ) может совместно использоваться динамическим и настраиваемым разрешениями, поэтому возникает ситуация, когда идентификаторы процессов HARQ для динамического и настраиваемого разрешений передачи данных одинаковы.

[8]

[0005] Буфер данных предыдущей передачи может сохраняться в одном и том же процессе HARQ. В случае если один и тот же процесс HARQ используется для передачи разных данных, данные, сохраненные в буфере процесса HARQ, могут быть заменены новыми, и это может отрицательно повлиять на повтор данных в буфере.

[9]

СУЩНОСТЬ ИЗОБРЕТЕНИЯ

[10]

[0006] Цель настоящего изобретения заключается в предоставлении способов передачи данных и передающих устройств для решения проблемы отрицательного влияния на повторение данных в буфере процесса HARQ вследствие их замещения новыми данными при использовании одного и того же процесса HARQ для передачи разнородных данных.

[11]

[0007] Согласно одному аспекту в некоторых вариантах осуществления настоящего изобретения предлагается способ передачи данных для пользовательского оборудования (UE), включающий в себя (в случае использования одного и того же первого процесса HARQ физическим общим восходящим каналом (Physical Uplink Shared Channel, PUSCH) с динамическим разрешением и PUSCH с настраиваемым разрешением) передачу по одному из каналов PUSCH с настраиваемым разрешением и каналу PUSCH с динамическим разрешением, использующими первый процесс HARQ; передачу по каналу PUSCH с настраиваемым или динамическим разрешением, использующими первый процесс HARQ, а затем - передачу по каналу PUSCH с динамическим или настраиваемым разрешением, использующим первый процесс HARQ.

[12]

[0008] Согласно другому аспекту в некоторых вариантах осуществления настоящего изобретения предлагается способ передачи для сетевого устройства, включающий в себя: передачу информации по первой конфигурации на UE, указывающей на то, что UE не должно использовать первый процесс HARQ для передачи PUSCH с настраиваемым разрешением, а также на то, что оно должно переопределить время передачи PUSCH с настраиваемым разрешением и/или процесс HARQ, и на то, что UE должно передать PUSCH с динамическим разрешением, использующим первый процесс HARQ; или включающий в себя передачу информации по второй конфигурации на UE, указывающей на то, что UE не должно использовать первый процесс HARQ для передачи PUSCH с динамическим разрешением, а также на то, что оно должно передать PUSCH с настраиваемым разрешением, используя первый процесс HARQ.

[13]

[0009] Согласно еще одному аспекту в некоторых вариантах осуществления настоящего изобретения предлагается UE, включающее в себя модуль обработки, который (в случае использования PUSCH с настраиваемым и динамическим разрешениями одного и того же первого процесса HARQ) предназначен для передачи одного из PUSCH с динамическим и настраиваемым разрешениями с помощью первого процесса HARQ или передачи PUSCH либо с настраиваемым, либо с динамическим разрешением с помощью первого процесса HARQ, а затем - передачи PUSCH с динамическим или настраиваемым разрешением с помощью этого же процесса.

[14]

[0010] Согласно еще одному аспекту в некоторых вариантах осуществления настоящего изобретения предлагается сетевое устройство, включающее в себя передающий модуль, предназначенный для: передачи информации по первой конфигурации на UE, указывающей на то, что UE не должно использовать первый процесс HARQ для передачи PUSCH с настраиваемым разрешением, а также на то, что оно должно переопределить время передачи PUSCH с настраиваемым разрешением и/или процесс HARQ, и на то, что UE должно передать PUSCH с динамическим разрешением с помощью первого процесса HARQ; или для передачи информации по второй конфигурации на UE, указывающей на то, что UE не должно использовать первый процесс HARQ для передачи PUSCH с динамическим разрешением, а также на то, что оно должно передать PUSCH с настраиваемым разрешением, используя первый процесс HARQ.

[15]

[0011] Согласно еще одному аспекту в некоторых вариантах осуществления настоящего изобретения предлагается UE, включающее в себя процессор, запоминающее устройство и компьютерную программу, хранимую на этом запоминающем устройстве и выполняемую этим процессором. Процессор предназначен для выполнения компьютерной программы с целью реализации вышеприведенного способа передачи данных.

[16]

[0012] Согласно еще одному аспекту в некоторых вариантах осуществления настоящего изобретения предлагается сетевое устройство, включающие в себя процессор, запоминающее устройство и компьютерную программу, хранимую на этом запоминающем устройстве и выполняемую этим процессором. Процессор предназначен для выполнения компьютерной программы с целью реализации вышеприведенного способа передачи данных.

[17]

[0013] Согласно еще одному аспекту в некоторых вариантах осуществления настоящего изобретения предлагается машиночитаемый носитель данных, в котором хранится компьютерная программа. Компьютерная программа выполняется процессором с целью реализации вышеприведенного способа передачи данных.

[18]

[0014] В результате (если PUSCH с динамическим и настраиваемым разрешениями используется один и тот же процесс HARQ) UE получает возможность определения того, каким образом будет осуществляться передача данных по PUSCH с динамическим и настраиваемым разрешениями, благодаря чему предотвращается возникновение противоречий на пользовательском оборудовании.

[19]

КРАТКОЕ ОПИСАНИЕ ЧЕРТЕЖЕЙ

[20]

[0015] Посредством ознакомления с подробным описанием, приведенным в настоящей заявке далее, специалисту в данной области техники станут очевидны другие преимущества и эффекты. Чертежи используются исключительно с целью иллюстрации предпочтительных вариантов осуществления изобретения и не должны пониматься как ограничивающие настоящее изобретение. Кроме того, одинаковые условные обозначения на чертежах указывают на одинаковые элементы. На этих чертежах

[21]

[0016] ФИГ. 1 - схематический вид, на котором представлена архитектура системы беспроводной связи по одному варианту осуществления настоящего изобретения;

[22]

[0017] ФИГ. 2 - схема последовательности способа передачи данных по одному варианту осуществления настоящего изобретения;

[23]

[0018] ФИГ. 3 - дополнительная схема последовательности способа передачи данных по одному варианту осуществления настоящего изобретения;

[24]

[0019] ФИГ. 4 - схема последовательности другого способа передачи данных по одному варианту осуществления настоящего изобретения;

[25]

[0020] ФИГ. 5 - схематический вид, на котором представлены PUSCH с динамическим и настраиваемым разрешениями по одному варианту осуществления настоящего изобретения;

[26]

[0021] ФИГ. 6 - другой схематический вид, на котором представлена передача PUSCH с динамическим и настраиваемым разрешениями по одному варианту осуществления настоящего изобретения;

[27]

[0022] ФИГ. 7 - еще один схематический вид, на котором представлена передача PUSCH с динамическим и настраиваемым разрешениями по одному варианту осуществления настоящего изобретения;

[28]

[0023] ФИГ. 8 - еще один схематический вид, на котором представлена передача PUSCH с динамическим и настраиваемым разрешениями по одному варианту осуществления настоящего изобретения;

[29]

[0024] ФИГ. 9 - еще один схематический вид, на котором представлена передача PUSCH с динамическим и настраиваемым разрешениями по одному варианту осуществления настоящего изобретения;

[30]

[0025] ФИГ. 10 - схематический вид, на котором представлено UE по одному варианту осуществления настоящего изобретения;

[31]

[0026] ФИГ. 11 - схематический вид, на котором представлено сетевое устройство по одному варианту осуществления настоящего изобретения;

[32]

[0027] ФИГ. 12 - другой схематический вид, на котором представлено UE по одному варианту осуществления настоящего изобретения; и

[33]

[0028] ФИГ. 13 - дополнительный схематический вид, на котором представлено сетевое устройство по одному варианту осуществления настоящего изобретения.

[34]

ПОДРОБНОЕ ОПИСАНИЕ

[35]

[0029] Для обеспечения большей очевидности целей, технических решений и преимуществ настоящего изобретения далее в настоящем документе последнее будет описано четко и полностью в сочетании с чертежами и вариантами осуществления. Очевидно, что следующие варианты осуществления относятся только к части, а не ко всем вариантам осуществления настоящего изобретения, и на основании этих вариантов осуществления специалист в данной области техники без прикладывания каких-либо творческих усилий сможет получить другие варианты осуществления, которые также укладываются в объем настоящего изобретения.

[36]

[0030] Такие термины, как «включает» или любые другие вариации в описании и прилагаемых пунктах настоящего изобретения не рассчитаны на предоставление исключительного охвата, следовательно, процедура, способ, система, изделие или устройство, включающее ряд этапов или операций, может также включать любые другие элементы, не перечисленные в настоящем документе, или может включать любые этапы или операции, присущие процедуре, способу, системе, изделию или устройству. Кроме того, выражение «и/или» в описании и прилагаемых пунктах настоящего изобретения главным образом используется для описания отношения между объектами, и под ним может иметься в виду три сценария. Например, «А и/или В» может означать, что предусматривается только А, предусматривается как А, так и В, и предусматривается только В.

[37]

[0031] Такие выражения, как «для наглядности» и «например», главным образом используются для обозначения примеров, вариантов или объяснения. Любой наглядный вариант осуществления или схема в настоящем изобретении не следует рассматривать как превосходящий другой вариант осуществления или схему. Определенно, эти слова предназначены для обозначения соответствующих понятий конкретным образом.

[38]

[0032] В целях лучшего понимания схемы вариантов осуществления настоящего изобретения, далее, прежде всего, будет описано два следующих технических термина.

[39]

[0033] (1) Настраиваемое разрешение и динамическое разрешение

[40]

[0034] Что касается требований по службе с малой задержкой или периодической службе, NR поддерживает режим передачи данных с настраиваемым разрешением по восходящему каналу, что необходимо для того, чтобы сократить процедуру сигнального взаимодействия и удовлетворить требования по малой задержке. Ресурсы передачи данных с настраиваемым разрешением могут быть настроены полустатически, посредством выпуска сигнала управления радиоресурсами (Radio Resource Control, RRC). В случае поступления данных о службе с высоким приоритетом (например, службе URLLC), UE может передать данные по восходящему каналу с настраиваемым разрешением (например, PUSCH).

[41]

[0035] Что касается стандартных служб (например, данные службы eMBB), базовая станция может передавать динамическое разрешение восходящего канала по нисходящему каналу управления, а после получения разрешения восходящего канала, UE может передать данные на PUSCH с динамическим разрешением в соответствии с планировочными сведениями о разрешении восходящего канала.

[42]

[0036] (2) Идентификатор процесса HARQ (ID)

[43]

[0037] Что касается передачи данных по восходящему каналу, UE может использовать несколько процессов HARQ для того, чтобы снизить задержку в передаче данных. В рамках передачи данных по восходящему каналу с динамическим разрешением, разрешение восходящего канала может содержать обозначение ID процесса HARQ, используемого для передачи данных по восходящему каналу. В случае если запланировано повторение аналогичного блока передачи данных, ID процесса HARQ, обозначаемый разрешением восходящей линии, может быть аналогичным ID процесса HARQ, используемого для начальной передачи данных или для предыдущей передачи данных. Следовательно, до приема разрешения восходящей линии для планирования повторения, данные, переданные ранее, могут быть кэшированы в процессе HARQ до тех пор, пока UE не подтвердит, что данные были успешно переданы, или что требуется передача новых данных.

[44]

[0038] Что касается передачи данных с настраиваемым разрешением, количество процессов HARQ может быть настроено посредством выпуска сигнала RRC. Для блока передачи данных, перемещение которого выполняется посредством PUSCH с настраиваемым разрешением, принятый ID процесса HARQ может быть связан со временем передачи данных и периодом передачи данных с настраиваемым разрешением.

[45]

[0039] Настоящее изобретение будет описано далее в сочетании с чертежами. Способ передачи данных и передающее устройство в вариантах осуществления настоящего изобретения могут применяться для системы беспроводной связи. Система беспроводной связи может представлять собой систему, использующую технологию мобильной связи 5G (далее именуемую системой 5G), разрабатываемую систему долгосрочного развития (Evolved Long Term Evolution, eLTE), или более развитую систему связи. Как изображено на ФИГ. 1, представляющей собой схематический вид, на котором показана архитектура системы беспроводной связи, система беспроводной связи может включать сетевое устройство 10 и UE, например, UE 11, которое может обмениваться данными с сетевым устройством 10. На практике устройства могут быть подключены друг к другу беспроводным способом. На ФИГ. 1 изображена сплошная линия, показывающая взаимосвязь между устройствами.

[46]

[0040] Следует понимать, что система связи может включать множество UE, и сетевое устройство может поддерживать связь с каждым из UE (передавать сигналы или данные).

[47]

[0041] Сетевое устройство в вариантах осуществления настоящего изобретения может представлять собой базовую станцию. Сетевое устройство может представлять собой базовую станцию общего использования, разрабатываемую узловую базовую станцию (eNB), или сетевое устройство (например, узловую базовую станцию следующего поколения (gNB)) или точку приема и передачи (Transmission and Reception Point, TRP) в системе 5G.

[48]

[0042] UE в вариантах осуществления настоящего изобретения может представлять собой мобильный телефон, планшет, ноутбук, ультра-мобильный персональный компьютер (Ultra-Mobile Personal Computer, UMPC), нетбук или карманный персональный компьютер (Personal Digital Assistant, PDA).

[49]

[0043] Как изображено на ФИГ. 2, в некоторых вариантах осуществления настоящего изобретения предлагается способ передачи, реализуемый с помощью UE, предполагающего этап 201 для, если каналом PUSCH с динамическим и настраиваемым разрешением используется один и тот же первый процесс HARQ, передачи данных одного из каналов PUSCH с настраиваемым и динамическим разрешением посредством первого процесса HARQ или передачи данных PUSCH с настраиваемым или динамическим разрешением посредством первого процесса HARQ, а затем - передачи данных PUSCH с динамическим или настраиваемым разрешением посредством первого процесса HARQ.

[50]

[0044] В вариантах осуществления настоящего изобретения предполагается, что в случае когда первый процесс HARQ используется каналом PUSCH с динамическим и настраиваемым разрешением, следует понимать, что процесс HARQ, используемый каналом PUSCH с динамическим разрешением, имеет аналогичный ID процесса, что и процесс HARQ, используемый каналом PUSCH с настраиваемым разрешением.

[51]

[0045] На этапе 201 передача данных PUSCH с настраиваемым или динамическим разрешением посредством первого процесса HARQ, а затем - передача данных PUSCH с динамическим или настраиваемым разрешением посредством первого процесса HARQ может включать: первый режим, предполагающий передачу данных PUSCH с настраиваемым разрешением посредством первого процесса HARQ, сбрасывание данных, находящихся в буфере первого процесса HARQ после передачи данных, а затем - передачу данных PUSCH с динамическим разрешением посредством первого процесса HARQ; и второй режим, предполагающий передачу данных PUSCH с динамическим разрешением посредством первого процесса HARQ, сбрасывание данных, находящихся в буфере первого процесса HARQ после передачи данных, а затем - передачу данных PUSCH с настраиваемым разрешением посредством процесса HARQ.

[52]

[0046] Кроме того, в возможном варианте осуществления настоящего изобретения, динамическое разрешение может быть зашифровано с помощью временного идентификатора сотовой радиосети (Cell Radio Network Temporary Identifier, C-RNTI).

[53]

[0047] В результате (если PUSCH с динамическим и настраиваемым разрешениями используется первый процесс HARQ) UE получает возможность определения того, каким образом будет осуществляться передача данных по PUSCH с динамическим и настраиваемым разрешениями, благодаря чему предотвращается возникновение противоречий на пользовательском оборудовании.

[54]

[0048] Как изображено на ФИГ. 3, в некоторых вариантах осуществления настоящего изобретения предлагается способ передачи, реализуемый UE, который включает следующие этапы.

[55]

[0049] Этап 301: если первый процесс HARQ используется каналом PUSCH с динамическим и настраиваемым разрешением, при этом первый процесс HARQ не используется для передачи данных PUSCH с настраиваемым разрешением, повторное определение времени передачи данных PUSCH с настраиваемым разрешением и/или процесса HARQ, а также передача данных PUSCH с динамическим разрешением посредством первого процесса HARQ в соответствии с информацией по первой конфигурации.

[56]

[0050] Следует понимать, что UE может определять процесс HARQ для канала PUSCH с настраиваемым разрешением в соответствии со временем передачи данных PUSCH с настраиваемым разрешением. Кроме того, следует понимать, что информация по первой конфигурации может быть получена UE от сетевого устройства, а может быть определена предварительно.

[57]

[0051] В вариантах осуществления настоящего изобретения информация по первой конфигурации может иметь следующее влияние.

[58]

[0052] (1) В UE может быть выполнена настройка первого таймера в соответствии с информацией по первой конфигурации, а время запуска первого таймера может представлять собой время приема динамического разрешения или время передачи данных PUSCH с динамическим разрешением. В пределах времени работы первого таймера UE может быть запрещено осуществлять передачу данных PUSCH с настраиваемым разрешением, а приоритет передачи данных PUSCH с настраиваемым разрешением может быть ниже, чем приоритет передачи данных PUSCH с динамическим разрешением.

[59]

[0053] (2) В UE может быть выполнена настройка второго таймера в соответствии с информацией по первой конфигурации, а время запуска второго таймера может представлять собой время приема динамического разрешения или время передачи данных PUSCH с динамическим разрешением. В пределах времени работы второго таймера UE может быть запрещено осуществлять передачу данных PUSCH с низкоприоритетным логическим каналом.

[60]

[0054] Этап 302: если первый процесс HARQ используется каналом PUSCH с динамическим и настраиваемым разрешением, при этом первый процесс HARQ не используется для передачи данных PUSCH с настраиваемым разрешением, передача данных PUSCH с динамическим разрешением с использованием первого процесса HARQ.

[61]

[0055] Этап 303: отказ от использования первого процесса HARQ для передачи данных PUSCH с динамическим разрешением, а также передача данных PUSCH с настраиваемым разрешением с использованием первого процесса HARQ в соответствии с информацией по второй конфигурации.

[62]

[0056] Кроме того, следует понимать, что информация по второй конфигурации может быть получена UE от сетевого устройства, а может быть определена предварительно.

[63]

[0057] В вариантах осуществления настоящего изобретения информация по второй конфигурации может иметь следующее влияние.

[64]

[0058] (1) В UE может быть выполнена настройка третьего таймера в соответствии с информацией по второй конфигурации. В пределах времени работы третьего таймера, передача данных PUSCH с динамическим разрешением может не осуществляться с использованием первого процесса HARQ. Время запуска третьего таймера может быть раньше времени передачи данных PUSCH с настраиваемым разрешением. В пределах времени работы третьего таймера UE может быть запрещено осуществлять передачу данных PUSCH с динамическим разрешением. Приоритет передачи данных PUSCH с динамическим разрешением может быть ниже приоритета передачи PUSCH с настраиваемым разрешением, или же приоритет логического канала PUSCH с динамическим разрешением может быть ниже, чем таковой у PUSCH с настраиваемым разрешением.

[65]

[0059] (2) В UE может быть выполнена настройка четвертого таймера в соответствии с информацией по второй конфигурации, а время запуска четвертого таймера может следовать за временем передачи данных PUSCH с настраиваемым разрешением. В пределах времени работы четвертого таймера UE может быть запрещено осуществлять передачу данных PUSCH с динамическим разрешением. Приоритет передачи данных PUSCH с динамическим разрешением может быть ниже приоритета передачи PUSCH с настраиваемым разрешением, или же приоритет логического канала PUSCH с динамическим разрешением может быть ниже, чем таковой у PUSCH с настраиваемым разрешением.

[66]

[0060] (3) В UE может быть выполнена настройка пятого таймера в соответствии с информацией по второй конфигурации. В пределах времени работы пятого таймера UE может быть запрещено осуществлять передачу данных PUSCH с динамическим разрешением. Время запуска пятого таймера может представлять собой время передачи данных PUSCH с настраиваемым разрешением. Приоритет передачи данных PUSCH с динамическим разрешением может быть ниже приоритета передачи PUSCH с настраиваемым разрешением, или же приоритет логического канала PUSCH с динамическим разрешением может быть ниже, чем таковой у PUSCH с настраиваемым разрешением.

[67]

[0061] (4) В UE может быть выполнена настройка шестого таймера в соответствии с информацией по второй конфигурации. В пределах времени работы шестого таймера UE может быть запрещено осуществлять передачу данных PUSCH с динамическим разрешением. Время запуска шестого таймера может представлять собой время передачи данных PUSCH с настраиваемым разрешением. Приоритет передачи данных PUSCH с динамическим разрешением может быть ниже приоритета передачи PUSCH с настраиваемым разрешением, или же приоритет логического канала PUSCH с динамическим разрешением может быть ниже, чем таковой у PUSCH с настраиваемым разрешением.

[68]

[0062] Этап 304: если первый процесс HARQ используется каналом PUSCH с динамическим и настраиваемым разрешением, передача по одному из PUSCH с настраиваемым и динамическим разрешением с использованием первого процесса HARQ, а затем - передача другого PUSCH с настраиваемым или динамическим разрешением с использованием первого процесса HARQ.

[69]

[0063] Следует понимать, что на UE может быть выполнен любой из этапов 301, 302, 303 и 304, в зависимости от практической потребности.

[70]

[0064] В возможном варианте осуществления настоящего изобретения этап 301 может включать одну или несколько из следующих функций: настройку первого таймера в соответствии с информацией по первой конфигурации, прекращение передачи данных PUSCH с настраиваемым разрешением с использованием первого процесса HARQ в пределах времени работы первого таймера, а также повторное определение времени передачи данных PUSCH с настраиваемым разрешением в пределах времени бездействия первого таймера; а также настройку первого таймера в соответствии с информацией по первой конфигурации, прекращение передачи данных PUSCH с настраиваемым разрешением с использованием первого процесса HARQ в пределах времени работы первого таймера, а также повторное определение времени передачи данных PUSCH с настраиваемым разрешением и процесса HARQ в пределах времени работы или бездействия первого таймера. Время запуска первого таймера может представлять собой время приема динамического разрешения или время передачи данных PUSCH с динамическим разрешением. В пределах времени работы первого таймера UE может быть запрещено осуществлять передачу данных PUSCH с настраиваемым разрешением, а приоритет передачи данных PUSCH с настраиваемым разрешением может быть ниже, чем приоритет передачи данных PUSCH с динамическим разрешением.

[71]

[0065] Кроме того, в возможном варианте осуществления настоящего изобретения, этап 301 может включать одну или несколько из следующих функций: если приоритет логического канала PUSCH с настраиваемым разрешением выше, чем приоритет логического канала PUSCH с динамическим разрешением, настройку второго таймер в соответствии с информацией по первой конфигурации, а также передачу данных PUSCH с настраиваемым разрешением с использованием первого процесса HARQ в пределах времени работы второго таймера; если приоритет логического канала PUSCH с настраиваемым разрешением ниже, чем приоритет логического канала PUSCH с динамическим разрешением, настройку второго таймера в соответствии с информацией по первой конфигурации, а также повторное определение времени передачи данных PUSCH с настраиваемым разрешением в пределах времени бездействия второго таймера; и если приоритет логического канала PUSCH с настраиваемым разрешением ниже, чем приоритет логического канала PUSCH с динамическим разрешением, настройку второго таймера в соответствии с информацией по первой конфигурации, а также повторное определение времени передачи данных PUSCH с настраиваемым разрешением и процесса HARQ в пределах времени работы или бездействия второго таймера. Время запуска второго таймера может представлять собой время приема динамического разрешения или время передачи PUSCH с динамическим разрешением, а в пределах периода времени работы второго таймера UE может быть запрещено осуществлять передачу данных PUSCH с низкоприоритетным логическим каналом.

[72]

[0066] Кроме того, в возможном варианте осуществления настоящего изобретения этап 302 может включать одну или несколько из следующих функций: если время передачи PUSCH с настраиваемым разрешением с использованием первого процесса HARQ предшествует времени передачи PUSCH с динамическим разрешением, а также если передача PUSCH с настраиваемым разрешением не совпадает с передачей PUSCH с динамическим разрешением во временной области, прекращение передачи PUSCH с настраиваемым разрешением посредством первого процесса HARQ, а также передачу PUSCH с динамическим разрешением посредством первого процесса HARQ; если время передачи PUSCH с настраиваемым разрешением с использованием первого процесса HARQ предшествует времени передачи PUSCH с динамическим разрешением и повторение PUSCH с настраиваемым разрешением совпадает с передачей PUSCH с динамическим разрешением во временной области, прекращение передачи PUSCH с настраиваемым разрешением посредством первого процесса HARQ, а также передачу PUSCH с динамическим разрешением посредством первого процесса HARQ; а также если время передачи PUSCH с настраиваемым разрешением с использованием первого процесса HARQ предшествует времени передачи PUSCH с динамическим разрешением и повторение PUSCH с настраиваемым разрешением не совпадает с передачей PUSCH с динамическим разрешением во временной области, прекращение передачи PUSCH с настраиваемым разрешением посредством первого процесса HARQ, а также передачу PUSCH с динамическим разрешением посредством первого процесса HARQ.

[73]

[0067] Кроме того, в возможном варианте осуществления настоящего изобретения этап 303 может включать одну или несколько из следующих функций: настройку третьего таймера в соответствии с информацией по второй конфигурации и в пределах времени работы третьего таймера без использования первого процесса HARQ для передачи данных PUSCH с динамическим разрешением, при этом время запуска третьего таймера предшествует времени передачи PUSCH с настраиваемым разрешением, UE запрещается передача данных PUSCH с динамическим разрешением в пределах времени работы третьего таймера, приоритет передачи PUSCH с динамическим разрешением ниже приоритета передачи PUSCH с настраиваемым разрешением или приоритет логического канала PUSCH с динамическим разрешением ниже приоритета логического канала PUSCH с настраиваемым разрешением; и настройку четвертого таймера в соответствии с информацией по второй конфигурации без использования первого процесса HARQ для передачи данных PUSCH с динамическим разрешением в пределах времени работы четвертого таймера, при этом время запуска четвертого таймера следует за временем передачи PUSCH с настраиваемым разрешением, UE запрещается передача данных PUSCH с динамическим разрешением в пределах времени работы четвертого таймера, приоритет передачи PUSCH с динамическим разрешением ниже приоритета передачи PUSCH с настраиваемым разрешением или приоритет логического канала PUSCH с динамическим разрешением ниже приоритета логического канала PUSCH с настраиваемым разрешением.

[74]

[0068] Кроме того, в возможном варианте осуществления настоящего изобретения этап 303 может включать (если время передачи данных PUSCH с настраиваемым разрешением с помощью первого процесса HARQ предшествует времени передачи данных PUSCH с динамическим разрешением) настройку пятого таймера в соответствии с информацией по второй конфигурации без использования первого процесса HARQ для передачи данных PUSCH с динамическим разрешением в пределах времени работы пятого таймера. В пределах времени работы пятого таймера UE может быть запрещено осуществлять передачу данных PUSCH с динамическим разрешением, время запуска пятого таймера может быть временем передачи PUSCH с настраиваемым разрешением и приоритет передачи PUSCH с динамическим разрешением может быть ниже приоритета передачи PUSCH с настраиваемым разрешением или приоритет логического канала PUSCH с динамическим разрешением может быть ниже приоритета логического канала PUSCH с настраиваемым разрешением.

[75]

[0069] Кроме того, в возможном варианте осуществления настоящего изобретения этап 304 может включать одну или несколько из следующих функций: если время передачи PUSCH с настраиваемым разрешением с использованием первого процесса HARQ предшествует времени PUSCH с динамическим разрешением, а также, если передача PUSCH с настраиваемым разрешением не совпадает с передачей PUSCH с динамическим разрешением во временной области, передачу PUSCH с настраиваемым разрешением посредством первого процесса HARQ, сбрасывание данных, находящихся в буфере процесса HARQ, после первой передачи, и передачу PUSCH с динамическим разрешением посредством первого процесса HARQ; если время передачи PUSCH с настраиваемым разрешением с использованием первого процесса HARQ предшествует времени передачи PUSCH с динамическим разрешением и повторение PUSCH с настраиваемым разрешением совпадает с передачей PUSCH с динамическим разрешением во временной области, передачу PUSCH с настраиваемым разрешением посредством первого процесса HARQ, передачу PUSCH с динамическим разрешением посредством первого процесса HARQ в течение времени передачи PUSCH с динамическим разрешением и прекращение повторения PUSCH с настраиваемым разрешением посредством первого процесса HARQ после времени передачи PUSCH с динамическим разрешением; если время передачи PUSCH с настраиваемым разрешением с использованием первого процесса HARQ следует за временем передачи PUSCH с динамическим разрешением, передачу PUSCH с динамическим разрешением посредством первого процесса HARQ и передачу PUSCH с настраиваемым разрешением с помощью первого процесса HARQ в течение времени передачи PUSCH с настраиваемым разрешением, при этом приоритет передачи или приоритет логического канала PUSCH настраиваемым разрешением не ниже приоритета передачи или приоритета логического канала PUSCH с динамическим разрешением; если передача PUSCH с настраиваемым разрешением с использованием первого процесса HARQ предшествует времени передачи PUSCH с динамическим разрешением, передачу PUSCH с динамическим разрешением посредством первого процесса HARQ и передачу PUSCH с настраиваемым разрешением посредством первого процесса HARQ в течение времени передачи PUSCH с настраиваемым разрешением, при этом приоритет передачи и приоритет логического канала PUSCH с динамическим разрешением не ниже приоритета передачи или приоритета логического канала PUSCH с настраиваемым разрешением.

[76]

[0070] В результате (если PUSCH с динамическим и настраиваемым разрешениями используется один и тот же процесс HARQ) UE получает возможность определения того, каким образом будет осуществляться передача данных по PUSCH с динамическим и настраиваемым разрешениями, благодаря чему предотвращается возникновение противоречий на пользовательском оборудовании.

[77]

[0071] Как изображено на ФИГ. 4, в некоторых вариантах осуществления настоящего изобретения дополнительно предлагается способ передачи, реализуемый с помощью сетевого устройства, который включает этап 401 передачи информации по первой конфигурации на UE, указывая UE не использовать первый процесс HARQ для передачи PUSCH с настраиваемым разрешением, повторно определить время передачи PUSCH с настраиваемым разрешением и/или процесс HARQ, а также выполнить передачу PUSCH с динамическим разрешением посредством первого процесса HARQ, или передачи информации по второй конфигурации на UE, указывая UE не использовать первый процесс HARQ для передачи PUSCH с динамическим разрешением и выполнить передачу PUSCH с настраиваемым разрешением посредством первого процесса HARQ.

[78]

[0072] Кроме того, в возможном варианте осуществления настоящего оборудования информация по первой конфигурации может использоваться для настройки первого таймера. В пределах времени работы первого таймера UE может быть запрещено осуществлять передачу данных PUSCH с настраиваемым разрешением, при этом время запуска первого таймера может представлять собой время приема динамического разрешения или время передачи данных PUSCH с динамическим испытанием, а приоритет передачи PUSCH с настраиваемым разрешением может быть ниже приоритета передачи PUSCH с динамическим разрешением.

[79]

[0073] Кроме того, в возможном варианте осуществления настоящего изобретения, информация по первой конфигурации может использоваться для выполнения конфигурации второго таймера; время запуска второго таймера может представлять собой время приема динамического разрешения или время передачи PUSCH с динамическим разрешением, а в пределах времени работы второго таймера UE может быть запрещено осуществлять передачу данных PUSCH с низкоприоритетным логическим каналом.

[80]

[0074] Кроме того, в возможном варианте осуществления настоящего оборудования информация по второй конфигурации может использоваться для конфигурации третьего таймера и/или четвертого таймера. Время запуска третьего таймера может предшествовать времени передачи PUSCH с настраиваемым разрешением, в пределах времени работы третьего таймера UE может быть запрещено осуществлять передачу данных PUSCH с динамическим разрешением и приоритет передачи PUSCH с динамическим разрешением может быть ниже приоритета передачи PUSCH с настраиваемым разрешением или приоритет логического канала PUSCH с динамическим разрешением может быть ниже приоритета логического канала PUSCH с настраиваемым разрешением. Время запуска четвертого таймера может следовать за временем передачи PUSCH с настраиваемым разрешением, в пределах времени работы четвертого таймера UE может быть запрещено осуществлять передачу данных PUSCH с динамическим разрешением и приоритет передачи PUSCH с динамическим разрешением может быть ниже приоритета передачи PUSCH с настраиваемым разрешением или приоритет логического канала PUSCH с динамическим разрешением может быть ниже приоритета логического канала PUSCH с настраиваемым разрешением.

[81]

[0075] В результате (если PUSCH с динамическим и настраиваемым разрешениями используется первый процесс HARQ) UE получает возможность определения того, каким образом будет осуществляться передача данных по PUSCH с динамическим и настраиваемым разрешениями, благодаря чему предотвращается возникновение противоречий на пользовательском оборудовании.

[82]

[0076] В следующих сценариях UE может получать сигналы по восходящему каналу с динамическим разрешением в пределах единицы времени nn и передача сигналов по восходящему каналу с динамическим разрешением может использоваться для планирования передачи данных PUSCH в пределах единицы времени (n+x)n с использованием процесса HARQ при HPID=i.

[83]

[0077] Сценарий № 1

[84]

[0078] Пример № 1: UE необходимо передать данные в рамках единицы времени (n+t1)n на PUSCH с настраиваемым разрешением, а идентификатор процесса HARQ соответствует PUSCH с настраиваемым разрешением, данные которого передаются в момент, когда HPID=i, а x<t1.

[85]

[0079] Кроме того, в возможном варианте осуществления настоящего изобретения, если нулевой таймер с продолжительностью T был настроен сетью, UE может быть запрещено осуществлять передачу данных PUSCH в пределах времени работы нулевого таймера, т.е. UE может не выполнить передачу данных PUSCH с динамическим разрешением с использованием процесса HARQ при HPID=i в пределах времени работы нулевого таймера.

[86]

[0080] Следует понимать, что вышеуказанная единица времени может представлять собой интервал, подцилк или символ.

[87]

[0081] Более того, UE может получать динамическое разрешение в пределах единицы времени nn и инициировать запуск или сброс нулевого таймера. UE может не выполнить передачу данных PUSCH с настраиваемым разрешением с использованием процесса HARQ при HPID=i в диапазоне единиц времени от nn до (n+T)n.

[88]

[0082] Как изображено на ФИГ. 5, UE может прекратить передачу данных PUSCH с настраиваемым разрешением в пределах единицы времени (n+x)n, где t1<T. UE может повторно определить, что передача данных PUSCH с настраиваемым разрешением будет осуществляться с использованием процесса HARQ при HPID=i в пределах единицы времени (n+t2)n, где t2>T.

[89]

[0083] В качестве альтернативного варианта, как показано на ФИГ. 6, UE может повторно определить, что время передачи PUSCH с настраиваемым разрешением является следующим действительным временем передачи данных с настраиваемым разрешением. Например, передача данных PUSCH с настраиваемым разрешением может осуществляться в пределах единицы времени (n+t3)n с использованием процесса HARQ при HPID=j, где j≠i, t3≤T или t3>T.

[90]

[0084] Пример № 2: после передачи данных PUSCH с динамическим разрешением в пределах единицы времени (n+x)n UE может запустить или сбросить нулевой таймер. UE может не выполнить передачу данных PUSCH с настраиваемым разрешением с использованием процесса HARQ при HPID=i в диапазоне единиц времени от (n+x)n до (n+x+T)n.

[91]

[0085] Кроме того, в возможном варианте осуществления настоящего изобретения UE может прекратить передачу данных PUSCH с настраиваемым разрешением в пределах единицы времени (n+t1)n, где t1<x+T.

[92]

[0086] Более того, UE может повторно определить, что передача данных PUSCH с настраиваемым разрешением будет осуществляться с использованием процесса при HPID=i в пределах единицы времени (n+t2)n, где t2>x+T; или UE может повторно определить, что время передачи PUSCH с настраиваемым разрешением является следующим действительным временем передачи данных с настраиваемым разрешением. Например, передача данных PUSCH может осуществляться с использованием процесса HARQ при HPID=j в пределах единицы времени (n+t3)n, где j≠i, t3≤x+T или t3>x+T.

[93]

[0087] Сценарий № 2

[94]

[0088] Пример № 1: UE необходимо передать данные в рамках единицы времени (n+t1)n на PUSCH с настраиваемым разрешением, а идентификатор процесса HARQ соответствует PUSCH с настраиваемым разрешением, данные которого передаются в момент, когда HPID=i, а x<t1.

[95]

[0089] Если нулевой таймер с продолжительностью T был настроен сетью, а UE имеется на запрет на передачу данных PUSCH с низкоприоритетным логическим каналом в пределах времени работы нулевого таймера, UE может выполнить передачу данных PUSCH с настраиваемым разрешением, приоритет логического канала которого выше приоритета логического канала PUSCH с динамическим разрешением, с использованием процесса HARQ при HPID=i в пределах времени работы нулевого таймера. Помимо этого, UE может быть запрещено осуществлять передачу данных PUSCH с настраиваемым разрешением, приоритет логического канала которого ниже приоритета логического канала PUSCH с динамическим разрешением, с использованием процесса HARQ при HPID=i в пределах времени работы нулевого таймера.

[96]

[0090] Кроме того, в возможном варианте осуществления настоящего изобретения UE может получать динамическое разрешение в пределах единицы времени nn и инициировать запуск или сброс нулевого таймера.

[97]

[0091] Более того, если приоритет логического канала PUSCH с настраиваемым разрешением ниже приоритета логического канала PUSCH с динамическим разрешением, UE может не выполнить передачу данных PUSCH с настраиваемым разрешением с использованием процесса HARQ при HPID=i в диапазоне единиц времени от nn до (n+T)n.

[98]

[0092] Более того, UE может прекратить передачу данных PUSCH с настраиваемым разрешением в пределах единицы времени (n+x)n, где t1<T. UE может повторно определить, что передача данных PUSCH с настраиваемым разрешением будет осуществляться с использованием процесса HARQ при HPID=i в пределах единицы времени (n+t2)n, где t2>T; или повторно определить, что время передачи PUSCH с настраиваемым разрешением представляет собой действительное время передачи данных с настраиваемым разрешением. Например, передача данных PUSCH может осуществляться в пределах единицы времени (n+t3)n с использованием процесса HARQ при HPID=j, где j≠i, t3≤T или t3>T.

[99]

[0093] Когда приоритет логического канала PUSCH с настраиваемым разрешением не ниже приоритета логического канала PUSCH с динамическим разрешением, UE может сбрасывать данные, находящиеся в буфере процесса HARQ, при HPID=i, а также передавать данные PUSCH с настраиваемым разрешением, использующим процесс HARQ, при HPID=i в пределах единицы времени (n+t1)n.

[100]

[0094] Кроме того, в возможном варианте осуществления настоящего изобретения после передачи данных PUSCH с динамическим разрешением в пределах единицы времени (n+x)n UE может запустить или сбросить нулевой таймер.

[101]

[0095] Более того, если приоритет логического канала PUSCH с настраиваемым разрешением ниже приоритета логического канала PUSCH с динамическим разрешением, UE может не выполнить передачу данных PUSCH с настраиваемым разрешением с использованием процесса HARQ при HPID=i в диапазоне единиц времени от nn до (n+x+T)n.

[102]

[0096] Дополнительно UE может прекратить передачу данных PUSCH с настраиваемым разрешением в пределах единицы времени (n+t1)n, где t1<T.

[103]

[0097] Кроме того, в возможном варианте осуществления настоящего изобретения UE может повторно определить, что передача данных PUSCH с настраиваемым разрешением будет осуществляться с использованием процесса HARQ при HPID=i в пределах единицы времени (n+t2)n, где t2<x+T.

[104]

[0098] Кроме того, в возможном варианте осуществления настоящего изобретения, UE может повторно определить, что время передачи PUSCH с настраиваемым разрешением является следующим действительным временем передачи данных с настраиваемым разрешением. Например, передача данных PUSCH может осуществляться в пределах единицы времени (n+t3)n с использованием процесса HARQ при HPID=j, где j≠i, t3≤T или t3>T.

[105]

[0099] Когда приоритет логического канала PUSCH с настраиваемым разрешением не ниже приоритета логического канала PUSCH с динамическим разрешением, UE может сбрасывать данные, находящиеся в буфере процесса HARQ, при HPID=i, а также передавать данные PUSCH с настраиваемым разрешением, использующим процесс HARQ, при HPID=i в пределах единицы времени (n+t1)n.

[106]

[00100] Сценарий № 3

[107]

[00101] Пример № 1: UE необходимо передать данные в рамках единицы времени (n+t1)n на PUSCH с настраиваемым разрешением, а идентификатор процесса HARQ соответствует PUSCH с настраиваемым разрешением, данные которого передаются в момент, когда HPID=i, а x<t1.

[108]

[00102] Если первый таймер с продолжительностью T1 и/или второй таймер с продолжительностью T2 был настроен сетью, UE может быть запрещено осуществлять передачу данных PUSCH с динамическим разрешением в пределах времени работы первого таймера. Приоритет передачи данных PUSCH с динамическим разрешением может быть ниже приоритета передачи PUSCH с настраиваемым разрешением, или же приоритет логического канала PUSCH с динамическим разрешением может быть ниже, чем таковой у PUSCH с настраиваемым разрешением.

[109]

[00103] В пределах времени работы второго таймера UE может быть запрещено осуществлять передачу данных PUSCH с динамическим разрешением. Приоритет передачи данных PUSCH с динамическим разрешением может быть ниже приоритета передачи PUSCH с настраиваемым разрешением, или же приоритет логического канала PUSCH с динамическим разрешением может быть ниже, чем таковой у PUSCH с настраиваемым разрешением.

[110]

[00104] В качестве дополнительного варианта в возможном варианте осуществления настоящего изобретения UE может запускать первый таймер до наступления единицы времени (n+t1)n для передачи PUSCH с настраиваемым разрешением, а также пропускать передачу данных PUSCH с динамическим разрешением, использующего процесс HARQ, или прекращать ее при HPID=i в диапазоне единиц времени от (n+t1-T1)n до (n+t1-1)n; и/или UE может запускать второй таймер после наступления единицы времени (n+t1)n для передачи данных PUSCH с настраиваемым разрешением и пропускать передачу PUSCH с динамическим разрешением, использующим процесс HARQ, или прекращать ее при HPID=i в диапазоне единиц времени от (n+t1+1)n до (n+t1+T2)n.

[111]

[00105] В качестве дополнительного варианта в возможном варианте осуществления настоящего изобретения (в случае если первый и/или второй таймер настроены в соответствии с приоритетностью логических каналов) UE может быть запрещена передача данных PUSCH с низкоприоритетным логическим каналом в пределах времени работы первого и/или второго таймера.

[112]

[00106] В качестве дополнительного варианта в возможном варианте осуществления настоящего изобретения UE может запускать первый таймер до наступления единицы времени (n+t1)n для передачи данных PUSCH с настраиваемым разрешением, а также пропускать или прекращать передачу данных PUSCH с динамическим разрешением, приоритет логического канала которого ниже такового у PUSCH с настраиваемым разрешением, использующим процесс HARQ, при HPID=i в диапазоне единиц времени (n+t1-T1)n до (n+t1-1)n; и/или UE может запускать второй таймер после наступления единицы времени (n+t1)n для передачи данных PUSCH с настраиваемым разрешением, а также пропускать или прекращать передачу данных PUSCH с динамическим разрешением, приоритет логического канала которого ниже такового у PUSCH с настраиваемым разрешением, использующим процесс HARQ, при HPID=i в диапазоне единиц времени от (n+t1+1)n до (n+t1+T2)n.

[113]

[00107] Сценарий № 4

[114]

[00108] Пример № 1: UE необходимо передать данные в рамках интервала n+t1 на PUSCH с настраиваемым разрешением, а идентификатор процесса HARQ соответствует PUSCH с настраиваемым разрешением, данные которого передаются в момент, когда HPID=i, а x>t1.

[115]

[00109] Пример № 1-1: UE может передавать PUSCH с настраиваемым разрешением, начиная с единицы времени (n+t1)n, с количеством повторов N=1.

[116]

[00110] Дополнительно в возможном варианте осуществления настоящего изобретения (в случае если третий таймер был настроен сетью) UE может запускать или сбрасывать третий таймер по получении динамического разрешения в пределах единицы времени nn.

[117]

[00111] В случае запрета для UE на передачу данных PUSCH с настраиваемым разрешением в пределах времени работы третьего таймера или же при запрете для UE на передачу данных PUSCH с низкоприоритетным логическим каналом в пределах времени работы третьего таймера, а также когда приоритет логического канала PUSCH с настраиваемым разрешением ниже, чем таковой у логического канала PUSCH с динамическим разрешением, UE может прекратить передачу данных PUSCH с настраиваемым разрешением, использующим процесс HARQ, при HPID=i в пределах единицы времени (n+t1)n, а также осуществить передачу данных PUSCH с динамическим разрешением, использующим процесс HARQ, при HPID=i в пределах единицы времени (n+x)n, как представлено на ФИГ. 7.

[118]

[00112] В случае запрета для UE на передачу данных PUSCH с низкоприоритетным логическим каналом в пределах времени работы третьего таймера, а также когда приоритет логического канала PUSCH с настраиваемым разрешением не ниже, чем таковой у логического канала PUSCH с динамическим разрешением, UE может осуществлять передачу данных PUSCH с настраиваемым разрешением, использующим процесс HARQ, при HPID=i в пределах единицы времени (n+t1)n, а также прекратить передачу данных PUSCH с динамическим разрешением, использующим процесс HARQ, при HPID=i в пределах единицы времени (n+x)n.

[119]

[00113] Дополнительно в возможном варианте осуществления настоящего изобретения (в случае если четвертый таймер был настроен сетью) UE может запускать или сбрасывать четвертый таймер после передачи данных PUSCH с динамическим разрешением в пределах единицы времени (n+x)n.

[120]

[00114] В случае запрета для UE на передачу данных PUSCH с настраиваемым разрешением в пределах времени работы четвертого таймера или же при запрете для UE на передачу данных PUSCH с низкоприоритетным логическим каналом в пределах времени работы четвертого таймера, а также когда приоритет логического канала PUSCH с настраиваемым разрешением ниже, чем таковой у логического канала PUSCH с динамическим разрешением, UE может передавать данные PUSCH с настраиваемым разрешением, использующим процесс HARQ, при HPID=i в пределах единицы времени (n+t1)n, а также осуществить передачу PUSCH с настраиваемым разрешением, использующим процесс HARQ, при HPID=i в пределах единицы времени (n+t1)n, как представлено на ФИГ. 8. После передачи данных PUSCH с настраиваемым разрешением UE может сбрасывать данные, находящиеся в буфере процесса HARQ, при HPID=i, а также передавать данные PUSCH с динамическим разрешением, использующим процесс HARQ, при HPID=i в пределах единицы времени (n+x)n.

[121]

[00115] В случае запрета для UE на передачу данных PUSCH с низкоприоритетным логическим каналом в пределах времени работы четвертого таймера, а также когда приоритет логического канала PUSCH с настраиваемым разрешением не ниже, чем таковой у логического канала PUSCH с динамическим разрешением, UE может прекратить передачу данных PUSCH с динамическим разрешением, использующего процесс HARQ, при HPID=i в пределах единицы времени (n+x)n.

[122]

[00116] Как изображено на ФИГ. 9, если пятый таймер для настраиваемого разрешения был настроен сетью, а на UE имеется запрет на передачу данных PUSCH с динамическим разрешением в пределах времени работы пятого таймера, UE может запретить передачу данных PUSCH с динамическим разрешением, использующего процесс HARQ, при HPID=i в пределах единицы времени (n+x)n.

[123]

[00117] Пример № 1-2: UE может передавать PUSCH с настраиваемым разрешением, начиная с единицы времени (n+t1)n, с количеством повторов N>1.

[124]

[00118] В случае если количество повторов N передачи данных PUSCH с настраиваемым разрешением, начиная с единицы времени (n+t1)n, превышает 1, UE может осуществлять повтор PUSCH с настраиваемым разрешением в диапазоне единиц времени от (n+t1)n до (n+t1+N-1)n, а единица времени (n+t1+N-1)n может быть представлена единицей, при которой PUSCH с настраиваемым разрешением повторяется последний раз. В случае если t1<x<t1+N-1, UE может прекратить повтор PUSCH с настраиваемым разрешением, использующего процесс HARQ, при HPID=i в диапазоне единиц времени от (n+t1)n до (n+t1+N-1)n, а также может передавать данные PUSCH с динамическим разрешением, использующего процесс HARQ, при HPID=i в пределах единицы времени (n+x)n; или же UE может осуществлять повтор PUSCH с динамическим разрешением при HPID=i в диапазоне единиц времени от (n+t1)n до (n+x-1)n, а также осуществлять передачу данных PUSCH с динамическим разрешением, использующего процесс HARQ, при HPID=i в пределах единицы времени (n+x)n и прекращать повтор PUSCH с настраиваемым разрешением, использующего процесс HARQ, при HPID=i в диапазоне единиц времени от (n+x)n до (n+t1+N-1)n. Приоритет передачи данных или логического канала PUSCH с динамическим разрешением может быть не ниже, чем таковой у PUSCH с настраиваемым разрешением.

[125]

[00119] В качестве альтернативного варианта, если шестой таймер с продолжительностью Т6 для настраиваемого разрешения был настроен сетью, а на UE имеется запрет на передачу данных PUSCH с динамическим разрешением в пределах времени работы шестого таймера, UE может осуществить повтор PUSCH с динамическим разрешением, использующего процесс HARQ, при HPID=i в диапазоне единиц времени от (n+t1)n до (n+t1+N-1)n. В случае если шестой таймер в текущий момент работает в пределах единицы времени (n+x)n, UE может прекратить передачу данных PUSCH с динамическим разрешением, использующего процесс HARQ, при HPID=i в пределах единицы времени (n+x)n.

[126]

[00120] В случае если количество повторов N передачи данных PUSCH с настраиваемым разрешением, начиная с единицы времени (n+t1)n, превышает 1, UE может осуществлять повтор PUSCH с настраиваемым разрешением в диапазоне единиц времени (n+t1)n до (n+t1+N-1)n, а единица времени (n+t1+N-1)n может быть представлена единицей, при которой PUSCH с настраиваемым разрешением повторяется последний раз. В случае если x>t1+N-1, UE может прекратить повтор PUSCH с настраиваемым разрешением, использующего процесс HARQ, при HPID=i в диапазоне единиц времени от (n+t1)n до (n+t1+N-1)n, а также может передавать данные PUSCH с динамическим разрешением, использующего процесс HARQ, при HPID=i в пределах единицы времени (n+x)n; или же UE может осуществлять повтор PUSCH с настраиваемым разрешением, использующего процесс HARQ, при HPID=i в диапазоне единиц времени от (n+t1)n до (n+t1+N-1)n, сбрасывать данные, находящиеся в буфере процесса HARQ, при HPID=i после передачи данных, а также передавать данные PUSCH с динамическим разрешением, использующего процесс HARQ, при HPID=i в пределах единицы времени (n+x)n. Приоритет передачи данных или логического канала PUSCH с динамическим разрешением может быть не ниже, чем таковой у PUSCH с настраиваемым разрешением.

[127]

[00121] В качестве альтернативного варианта, если седьмой таймер с продолжительностью Т7 для настраиваемого разрешения был настроен сетью, а на UE имеется запрет на передачу данных PUSCH с динамическим разрешением в пределах времени работы седьмого таймера, UE может осуществить повтор PUSCH с настраиваемым разрешением, использующего процесс HARQ, при HPID=i в диапазоне единиц времени от (n+t1)n до (n+t1+N-1)n. В случае если седьмой таймер в текущий момент работает в пределах единицы времени (n+x)n, UE может прекратить передачу данных PUSCH с динамическим разрешением, использующего процесс HARQ, при HPID=i в пределах единицы времени (n+x)n.

[128]

[00122] Сценарий № 5

[129]

[00123] В этом сценарии UE необходимо передавать данные PUSCH с настраиваемым разрешением в пределах единицы времени (n+t1)n, и процесс HARQ, соответствующий PUSCH с настраиваемым разрешением, передача данных которого осуществляется в этот момент, может иметь значение HPID=j, где j≠i, а x>t1.

[130]

[00124] Дополнительно в возможном варианте осуществления настоящего изобретения (в случае если количество повторов N передачи данных PUSCH с настраиваемым разрешением, начиная с единицы времени (n+t1)n, составляет 1) UE может осуществлять обработку в соответствии с процедурами, известными на существующем уровне техники.

[131]

[00125] Дополнительно в возможном варианте осуществления настоящего изобретения (в случае если количество повторов N передачи данных PUSCH с настраиваемым разрешением, начиная с единицы времени (n+t1)n, превосходит 1) UE может осуществлять повтор PUSCH с настраиваемым разрешением в диапазоне единиц времени от (n+t1)n до (n+t1+N)n, а единица времени (n+t1+N)n может представлять собой единицу, при которой PUSCH с настраиваемым разрешением повторяется в последний раз. В случае если t1<x<t1+N, UE может осуществлять передачу данных PUSCH с динамическим разрешением, использующего процесс HARQ, при HPID=i в пределах единицы времени (n+x)n, прекращать повтор PUSCH с настраиваемым разрешением в пределах единицы времени (n+x)n, а также продолжать повторение PUSCH с настраиваемым разрешением после единицы времени (n+x)n.

[132]

[00126] Как изображено на ФИГ. 10, в некоторых вариантах осуществления настоящего изобретения дополнительно предлагается UE 1000, включающее в себя модуль обработки 1001, который (в случае использования PUSCH с динамическим и настраиваемым разрешениями одного и того же первого процесса HARQ) предназначен для передачи одного из PUSCH с настраиваемым и динамическим разрешениями с помощью первого процесса HARQ или передачи PUSCH либо с настраиваемым, либо с динамическим разрешением с помощью первого процесса HARQ, а затем - передачи PUSCH с динамическим или настраиваемым разрешением с помощью этого же процесса.

[133]

[00127] Кроме того, в возможном варианте осуществления настоящего изобретения модуль обработки 1001 (в соответствии с информацией по первой конфигурации) дополнительно предназначен для того, чтобы не использовать первый процесс HARQ для передачи данных PUSCH с настраиваемым разрешением, осуществлять повторное определение времени передачи данных этого PUSCH и/или процесса HARQ и передачу данных PUSCH с динамическим разрешением, использующего первый процесс HARQ; или же предназначен для того, чтобы не использовать первый процесс HARQ для передачи данных PUSCH с настраиваемым разрешением, а осуществлять передачу данных PUSCH с динамическим разрешением, использующего первый процесс HARQ; или (в соответствии с информацией по второй конфигурации) предназначен для того, чтобы не использовать первый процесс HARQ для передачи данных PUSCH с динамическим разрешением, а осуществлять передачу данных PUSCH с настраиваемым разрешением, использующего первый процесс HARQ.

[134]

[00128] Также в возможном варианте осуществления настоящего изобретения модуль обработки 1001 дополнительно предназначен для: настройки первого таймера в соответствии с информацией по первой конфигурации, прекращения передачи данных PUSCH с настраиваемым разрешением с использованием первого процесса HARQ в пределах времени работы первого таймера, а также повторного определения времени передачи данных PUSCH с настраиваемым разрешением в пределах времени бездействия первого таймера; или настройки первого таймера в соответствии с информацией по первой конфигурации, прекращения передачи данных PUSCH с настраиваемым разрешением с использованием первого процесса HARQ в пределах времени работы первого таймера, а также повторного определения времени передачи данных PUSCH с настраиваемым разрешением и процесса HARQ в пределах времени работы или бездействия первого таймера. Время запуска первого таймера может представлять собой время приема динамического разрешения или время передачи PUSCH с динамическим разрешением, а в пределах времени работы первого таймера UE может быть запрещено осуществлять передачу данных PUSCH с настраиваемым разрешением, и приоритет передачи данных PUSCH с настраиваемым разрешением может быть ниже, чем таковой у PUSCH с динамическим разрешением.

[135]

[00129] Кроме того, в возможном варианте осуществления настоящего изобретения модуль обработки 1001 может дополнительно быть предназначен для выполнения любой из следующих функций: если приоритет логического канала PUSCH с настраиваемым разрешением выше, чем приоритет логического канала PUSCH с динамическим разрешением, может осуществлять настройку второго таймера в соответствии с информацией по первой конфигурации, а также передачу данных PUSCH с настраиваемым разрешением с использованием первого процесса HARQ в пределах времени работы второго таймера; если приоритет логического канала PUSCH с настраиваемым разрешением ниже, чем приоритет логического канала PUSCH с динамическим разрешением, может осуществлять настройку второго таймера в соответствии с информацией по первой конфигурации, а также повторное определение времени передачи данных PUSCH с настраиваемым разрешением в пределах времени бездействия второго таймера; и если приоритет логического канала PUSCH с настраиваемым разрешением ниже, чем приоритет логического канала PUSCH с динамическим разрешением, может осуществлять настройку второго таймера в соответствии с информацией по первой конфигурации, а также повторное определение времени передачи данных PUSCH с настраиваемой конфигурацией и процесса HARQ в пределах времени работы или бездействия второго таймера. Время запуска второго таймера может представлять собой время приема динамического разрешения или время передачи данных PUSCH с динамическим разрешением, а в пределах времени работы второго таймера UE может быть запрещено осуществлять передачу данных PUSCH с низкоприоритетным логическим каналом.

[136]

[00130] Кроме того, в возможном варианте осуществления настоящего изобретения модуль обработки 1001 может быть дополнительно предназначен для: выполнения конфигурации третьего таймера в соответствии с информацией по второй конфигурации и, в пределах времени работы третьего таймера, без использования первого процесса HARQ для передачи данных PUSCH с динамическим разрешением, при этом время запуска третьего таймера предшествует времени передачи PUSCH с настраиваемым разрешением, UE 1000 запрещается передача данных PUSCH с динамическим разрешением в пределах времени работы третьего таймера, приоритет передачи PUSCH с динамическим разрешением ниже приоритета передачи PUSCH с настраиваемым разрешением, или приоритет логического канала PUSCH с динамическим разрешением ниже приоритета логического канала PUSCH с настраиваемым разрешением; и/или выполнения конфигурации четвертого таймера в соответствии с информацией по второй конфигурации без использования первого процесса HARQ для передачи данных PUSCH с динамическим разрешением в пределах времени работы четвертого таймера, при этом время запуска четвертого таймера следует за временем передачи PUSCH с настраиваемым разрешением, UE 1000 запрещается передача данных PUSCH с динамическим разрешением в пределах времени работы четвертого таймера, приоритет передачи PUSCH с динамическим разрешением ниже приоритета передачи PUSCH с настраиваемым разрешением, или приоритет логического канала PUSCH с динамическим разрешением ниже приоритета логического канала PUSCH с настраиваемым разрешением.

[137]

[00131] Кроме того, в возможном варианте осуществления настоящего изобретения модуль обработки 1001 дополнительно предназначен для следующего: если время передачи PUSCH с настраиваемым разрешением с использованием первого процесса HARQ предшествует времени передачи PUSCH с динамическим разрешением, а также если передача PUSCH с настраиваемым разрешением не совпадает с передачей PUSCH с динамическим разрешением во временной области, осуществляется прекращение передачи PUSCH с настраиваемым разрешением посредством первого процесса HARQ, а также осуществляется передача PUSCH с динамическим разрешением посредством первого процесса HARQ; или если время передачи PUSCH с настраиваемым разрешением с использованием первого процесса HARQ предшествует времени передачи PUSCH с динамическим разрешением, и повторение PUSCH с настраиваемым разрешением совпадает с передачей PUSCH с динамическим разрешением во временной области, осуществляется прекращение передачи PUSCH с настраиваемым разрешением посредством первого процесса HARQ, а также передача PUSCH с динамическим разрешением посредством первого процесса HARQ.

[138]

[00132] Кроме того, в возможном варианте осуществления настоящего изобретения модуль обработки 1001 дополнительно предназначен для следующего: если время передачи PUSCH с настраиваемым разрешением с использованием первого процесса HARQ предшествует времени передачи PUSCH с динамическим разрешением, а также если передача PUSCH с настраиваемым разрешением не совпадает с передачей PUSCH с динамическим разрешением во временной области, осуществляется передача PUSCH с настраиваемым разрешением посредством первого процесса HARQ, сброс данных, находящихся в буфере этого процесса, после их передачи, а затем - передача PUSCH с динамическим разрешением посредством первого процесса HARQ; если время передачи PUSCH с настраиваемым разрешением с использованием первого процесса HARQ предшествует времени передачи PUSCH с динамическим разрешением, и повторение PUSCH с настраиваемым разрешением совпадает с передачей PUSCH с динамическим разрешением во временной области, во время передачи данных PUSCH с динамическим разрешением осуществляется передача PUSCH с настраиваемым разрешением посредством первого процесса HARQ, а также передача PUSCH с динамическим разрешением посредством первого процесса HARQ и прекращение повтора PUSCH с настраиваемым разрешением, использующего тот же процесс HARQ, после передачи PUSCH с динамическим разрешением.

[139]

[00133] Кроме того, в возможном варианте осуществления настоящего изобретения модуль обработки 1001 дополнительно предназначен для следующего: если время передачи PUSCH с настраиваемым разрешением с использованием первого процесса HARQ наступает после времени передачи PUSCH с динамическим разрешением, осуществляется передача PUSCH с динамическим разрешением с использованием первого процесса HARQ, а затем - передача PUSCH с настраиваемым разрешением с использованием первого процесса HARQ во время передачи данных PUSCH с настраиваемым разрешением, причем приоритет передачи данных или логического канала PUSCH с настраиваемым разрешением не ниже, чем приоритет передачи данных или логического канала PUSCH с динамическим разрешением; или если время передачи PUSCH с настраиваемым разрешением с использованием первого процесса HARQ предшествует времени передачи PUSCH с динамическим разрешением, во время передачи PUSCH с настраиваемым разрешением осуществляется передача PUSCH с динамическим разрешением с использованием первого процесса HARQ, а затем - передача PUSCH с настраиваемым разрешением с использованием этого же процесса, причем приоритет передачи данных или логического канала PUSCH с динамическим разрешением не ниже, чем приоритет передачи данных или логического канала PUSCH с настраиваемым разрешением.

[140]

[00134] Кроме того, в возможном варианте осуществления настоящего изобретения модуль обработки 1001 (если время передачи данных PUSCH с настраиваемым разрешением с помощью первого процесса HARQ предшествует времени передачи данных PUSCH с динамическим разрешением) дополнительно предназначен для выполнения конфигурации пятого таймера в соответствии с информацией по второй конфигурации без использования первого процесса HARQ для передачи данных PUSCH с динамическим разрешением в пределах времени работы пятого таймера. В пределах времени работы пятого таймера UE может быть запрещено осуществлять передачу данных PUSCH с динамическим разрешением, и приоритет передачи PUSCH с динамическим разрешением может быть ниже приоритета передачи PUSCH с настраиваемым разрешением, или приоритет логического канала PUSCH с динамическим разрешением может быть ниже приоритета логического канала PUSCH с настраиваемым разрешением.

[141]

[00135] Как изображено на ФИГ. 11, в некоторых вариантах осуществления настоящего изобретения дополнительно предлагается сетевое устройство 1100, включающее в себя передающий модуль 1101, предназначенный для: передачи информации по первой конфигурации на UE, указывающей на то, что UE не должно использовать первый процесс HARQ для передачи PUSCH с настраиваемым разрешением, а также на то, что оно должно переопределить время передачи PUSCH с настраиваемым разрешением и/или процесс HARQ, и на то, что UE должно передать PUSCH с динамическим разрешением с помощью первого процесса HARQ; или для передачи информации по второй конфигурации на UE, указывающей на то, что UE не должно использовать первый процесс HARQ для передачи PUSCH с динамическим разрешением, а также на то, что оно должно передать PUSCH с настраиваемым разрешением, используя первый процесс HARQ.

[142]

[00136] Кроме того, в возможном варианте осуществления настоящего оборудования информация по первой конфигурации может использоваться для настройки первого таймера. В пределах времени работы первого таймера UE может быть запрещено осуществлять передачу данных PUSCH с настраиваемым разрешением, при этом время запуска первого таймера может представлять собой время приема динамического разрешения или время передачи данных PUSCH с динамическим испытанием, а приоритет передачи PUSCH с настраиваемым разрешением может быть ниже приоритета передачи PUSCH с динамическим разрешением.

[143]

[00137] Кроме того, в возможном варианте осуществления настоящего изобретения, информация по первой конфигурации может использоваться для выполнения конфигурации второго таймера; время запуска второго таймера может представлять собой время приема динамического разрешения или время передачи PUSCH с динамическим разрешением, а в пределах времени работы второго таймера UE может быть запрещено осуществлять передачу данных PUSCH с низкоприоритетным логическим каналом.

[144]

[00138] Кроме того, в возможном варианте осуществления настоящего оборудования информация по второй конфигурации может использоваться для конфигурации третьего таймера и/или четвертого таймера. Время запуска третьего таймера может предшествовать времени передачи PUSCH с настраиваемым разрешением, в пределах времени работы третьего таймера UE может быть запрещено осуществлять передачу данных PUSCH с динамическим разрешением и приоритет передачи PUSCH с динамическим разрешением может быть ниже приоритета передачи PUSCH с настраиваемым разрешением или приоритет логического канала PUSCH с динамическим разрешением может быть ниже приоритета логического канала PUSCH с настраиваемым разрешением. Время запуска четвертого таймера может следовать за временем передачи PUSCH с настраиваемым разрешением, в пределах времени работы четвертого таймера UE может быть запрещено осуществлять передачу данных PUSCH с динамическим разрешением и приоритет передачи PUSCH с динамическим разрешением может быть ниже приоритета передачи PUSCH с настраиваемым разрешением или приоритет логического канала PUSCH с динамическим разрешением может быть ниже приоритета логического канала PUSCH с настраиваемым разрешением.

[145]

[00139] Как изображено на ФИГ. 12, в некоторых вариантах осуществления настоящего изобретения UE 1200, включающее как минимум один процессор 1201, запоминающее устройство 1202, пользовательский интерфейс 103 и как минимум один сетевой интерфейс 1204. Компоненты UE 1200 могут быть соединены друг с другом посредством системы шин 1205.

[146]

[00140] Следует понимать, что система шин 1205 настроена на установление соединения и связи между компонентами. В отличие от шины данных, система шин 1205, кроме прочего, может включать шину источника электропитания, шину управления и шину сигнализации о состоянии. Для внесения ясности, все эти шины на ФИГ. 12 вместе могут быть названы системой шин 1205.

[147]

[00141] Пользовательский интерфейс 1203 может включать дисплей, клавиатуру и указательное устройство (например, манипулятор типа «мышь», шаровой манипулятор, сенсорная пластина или сенсорная панель).

[148]

[00142] Следует понимать, что запоминающее устройство 1202 может представлять собой энергозависимое запоминающее устройство, энергонезависимое запоминающее устройство или и то, и другое. Энергозависимое запоминающее устройство может представлять собой постоянное запоминающее устройство (Read-Only Memory, ROM), программируемое ROM (Programmable ROM, PROM), стираемое PROM (Erasable PROM, EPROM), электрически стираемое PROM (Electrically EPROM, EEPROM) или флэш-запоминающее устройство. Энергозависимое запоминающее устройство может представлять собой оперативное запоминающее устройство (Random Access Memory, RAM), выполняющее функции внешней быстродействующей кэш-памяти. Для наглядности и без ограничения, RAM может включать статическое RAM (Static RAM, SRAM), динамическое RAM (dynamic RAM, DRAM), синхронное DRAM (Synchronous DRAM, SDRAM), SDRAM с удвоенной скоростью передачи данных (Double Data Rate SDRAM, DDRSDRAM), улучшенное SDRAM (Enhanced SDRAM, ESDRAM), DRAM с синхронным каналом (Synchronous Link DRAM, SLDRAM) или RAM с шиной прямого резидентного доступа (Direct Rambus RAM, DRRAM). Запоминающее устройство 1202 настроено на то, чтобы включать, помимо прочего, вышеупомянутые и любые другие подходящие запоминающие устройства.

[149]

[00143] В возможном варианте осуществления настоящего изобретения в запоминающем устройстве 1202 могут храниться следующие элементы: выполняемый модуль или структура данных, их подмножество или расширенное множество, операционная система 12021 и приложение 12022.

[150]

[00144] Операционная система 12021 может включать различные системные программы, например, слой инфраструктуры, основной слой и доменпродвигающий слой для реализации различных базовых служб и обработки аппаратных задач. Приложение 12022 может включать различные приложения, например, медиаплеер и браузер для реализации различных служб приложения. Программы для реализации вышеупомянутого способа могут быть включены в приложение 12022.

[151]

[00145] В вариантах осуществления настоящего изобретения UE 1200, кроме прочего, может включать компьютерную программу, хранящуюся в запоминающем устройстве 1202 и выполняемую процессором 1201. Компьютерная программа выполняется процессором 1201 с целью реализации вышеприведенного способа.

[152]

[00146] Вышеприведенный способ может быть применен к процессору 1201 или реализован ним. Процессор 1201 может представлять собой интегральную схему с возможностью обработки сигналов. Во время реализации этапы вышеприведенного способа могут быть выполнены с использованием аппаратной интегральной логической схемы в процессоре 1201 или инструкций в форме программного обеспечения. Процессор 1201 может представлять собой процессор общего назначения, процессор цифровых сигналов (Digital Signal Processor, DSP), интегральную схему специального назначения (Application-Specific Integrated Circuit, ASIC), программируемую пользователем интегральную матрицу (Field Programmable Gate Array, FPGA) или любой другой элемент программируемой логики, элемент схемы на дискретных компонентах или транзисторной логической схемы, или блок дискретных аппаратных средств, который может использоваться для реализации или выполнения способов, этапов или логических схем в вариантах осуществления настоящего изобретения. Процессор общего назначения может представлять собой микропроцессор или любой другой стандартный процессор. Этапы способа в вариантах осуществления настоящего изобретения могут быть непосредственно реализованы процессором в виде аппаратного обеспечения или сочетания аппаратных и программных модулей в процессоре. Программный модуль может быть расположен на любом известном машиночитаемом носителе, таком, как RAM, флэш-запоминающее устройство, ROM, PROM, EEPROM или регистр. Машиночитаемый носитель может быть расположен на запоминающем устройстве 1202, а процессор 1201 может считывать информацию, хранящуюся на запоминающем устройстве 1202, что необходимо для того, чтобы реализовать этапы способа вместе с аппаратным обеспечением. Для большей конкретности, компьютерная программа может храниться на машиночитаемом носителе.

[153]

[00147] Следует понимать, что варианты осуществления настоящего изобретения могут быть реализованы с помощью аппаратного обеспечения, программного обеспечения, микропрограммного обеспечения, промежуточного программного обеспечения, микрокода или их сочетания. В целях реализации программного обеспечения, процессор может включать одну единицу или несколько единиц ASIC, DSP, устройства DSP (DSP Device, DSPD), программируемого логического устройства (Programmable Logic Device, PLD), программируемой пользователем вентильной матрицы (Field Programmable Logic Gate Array, FPGA), процессора общего назначения, контроллера, микроконтроллера, микропроцессора, микропроцессора, любого другого электронного блока, способного выполнять функции настоящего изобретения или их сочетания.

[154]

[00148] В целях реализации программного обеспечения, схема в вариантах осуществления настоящего изобретения может быть реализована посредством модулей, способных выполнять функции настоящего изобретения (например, процессы или функции). Коды программного обеспечения могут храниться на запоминающем устройстве и выполняться процессором. Запоминающее устройство может быть реализовано внутри или вне процессора.

[155]

[00149] Как изображено на ФИГ. 13, в некоторых вариантах осуществления настоящего изобретения предусматривается сетевое устройство 1300, включающее процессор 1301, приемопередатчик 1302, запоминающее устройство 1303, пользовательский интерфейс 1304 и интерфейс шины.

[156]

[00150] Процессор 1301 может отвечать за управление архитектурой шины, а также за общую обработку. Запоминающее устройство 1303 может хранить данные для работы процессора 1301.

[157]

[00151] В вариантах осуществления настоящего изобретения сетевое устройство 1300, кроме прочего, может включать компьютерную программу, хранящуюся в запоминающем устройстве 1303 и выполняемую процессором 1301. Компьютерная программа выполняется процессором 1301 с целью реализации вышеприведенного способа.

[158]

[00152] На ФИГ. 13, архитектура шины может включать ряд шин и мостов, подключенных друг к другу, для соединения различных схем для одного или нескольких процессоров 1301 и одного или нескольких запоминающих устройств 1303. Кроме того, как известно в данной области техники, архитектура шины может использоваться для соединения любых других схем, таких как схема для периферийного устройства, схема для стабилизатора напряжения и схема управления питанием, которые в настоящем документе конкретно определяться не будут. Может быть предусмотрен интерфейс шины, и приемопередатчик 1302 может состоять из нескольких элементов, т.е. передатчика и приемника для связи с любыми другими устройствами через среду передачи. Что касается различных UE, пользовательский интерфейс 1304 также может быть предусмотрен для устройств, которые должны быть расположены внутри или вне UE, и эти устройства могут включать, помимо прочего, клавиатуру, дисплей, динамик, микрофон и джойстик.

[159]

[00153] Этапы способов или алгоритма, описание которых обусловлено содержанием, которое приводится выше, могут быть реализованы посредством аппаратных средств, или реализованы процессором, выполняющим инструкции. Инструкции могут состоять из соответствующих модулей, хранящихся на RAM, флэш-запоминающем устройстве, ROM, EPROM, EEPROM, регистре, жестком диске, мобильном жестком диске, оптическом диске только для чтения или любом другом известном носителе. Для наглядности, носитель может быть подключен к процессору, так что процессор может считывать информацию с носителя и записывать информацию на носитель. Разумеется, носитель может представлять собой компонент процессора. Процессор и носитель могут быть расположены на ASIC. Кроме того, ASIC может быть расположена на устройстве интерфейса базовой сети. Разумеется, процессор и носитель могут быть расположены на устройстве интерфейса базовой сети в качестве дискретных блоков.

[160]

[00154] Следует понимать, что функции, которые описываются в рамках одного или нескольких вариантов осуществления настоящего изобретения, могут быть реализованы с помощью аппаратного обеспечения, программного обеспечения, микропрограммного обеспечения или их сочетания. Если функции реализованы посредством программного обеспечения, эти функции могут храниться на машиночитаемом носителе или передаваться в качестве одной или нескольких инструкций или кодов на машиночитаемом носителе. Машиночитаемый носитель может включать машиночитаемый носитель данных и среду связи. Среда связи может включать любую среду, способную передавать компьютерную программу из одного места в другое. Носитель данных может включать любой доступный носитель, к которому может получить доступ компьютер общего назначения или специализированный компьютер.

[161]

[00155] Цели, технические решения и положительные эффекты настоящего изобретения были подробно описаны выше. Следует понимать, что описание выше может быть использовано только для целей наглядности, но не должно использоваться для ограничения объема настоящего изобретения. Любые модификации, эквиваленты или усовершенствования также укладываются в объем настоящего изобретения.

[162]

[00156] Следует понимать, что настоящее изобретение может быть представлено как способ, система или компьютерный программный продукт, поэтому настоящее изобретение может быть в форме полностью аппаратных вариантов осуществления, полностью программных вариантов осуществления или их сочетаний. Кроме того, настоящее изобретение может быть в форме компьютерного программного продукта, реализованного на одном или нескольких машиночитаемых носителях данных (включая, без ограничения, дисковое запоминающее устройство, постоянное запоминающее устройство на компакт-дисках (Compact Disc-Read Only Memory, CD-ROM) и оптическое запоминающее устройство), включая машиночитаемые программные коды.

[163]

[00157] Настоящее изобретение было описано со ссылкой на схемы последовательностей и/или блок-схемы способа, устройства (системы) и компьютерного программного продукта в соответствии с вариантами осуществления настоящего изобретения. Следует понимать, что компьютерные программные инструкции могут быть использованы для реализации каждой из последовательностей операций и/или блоков на схемах последовательностей и/или блок-схемах, а также сочетания последовательностей операций и/или блоков на схемах последовательностей и/или блок-схемах. Эти компьютерные программные инструкции могут быть предусмотрены для процессора компьютера общего назначения, специализированного компьютера, встроенного процессора или любых других программируемых устройств обработки данных для создания машины, так что с использованием инструкций, которые могут быть выполнены процессором компьютера или другим программируемым устройством обработки данных, можно создать устройство для реализации функций, назначенных в рамках одной или нескольких последовательностей операций на схеме последовательности и/или одного или нескольких блоков на блок-схеме.

[164]

[00158] Кроме того, эти компьютерные программные инструкции могут храниться на машиночитаемом запоминающем устройстве, которое может направлять компьютер или другие программируемые устройства обработки данных на функционирование определенным образом, так что с использованием инструкций, хранящиеся на машиночитаемом запоминающем устройстве, может быть создан продукт, включающий блок инструкций, который выполняет функции, назначенные в рамках одной или нескольких последовательностей на схеме последовательности и/или одного или нескольких блоков на блок-схеме.

[165]

[00159] Кроме того, эти компьютерные программные инструкции могут быть загружены на компьютер или другие программируемые устройства обработки данных, так что на компьютере или других программируемых устройствах выполняется серия операционных этапов для создания процессов, выполняемых компьютером. Следовательно, инструкции, выполняемые в компьютере или других программируемых устройствах, обеспечивают шаги для реализации функции, назначенной в рамках одной или нескольких последовательностей на схеме последовательности и/или одного или нескольких блоков на блок-схеме.

[166]

[00160] Варианты осуществления выше приведены исключительно в целях наглядности, но настоящее изобретение не ограничивается ими. Очевидно, что специалист в данной области техники может дополнительно вносить изменения и улучшения без отступления от сущности настоящего изобретения; такие изменения и улучшения должны также укладываться в объем настоящего изобретения.

Как компенсировать расходы
на инновационную разработку
Похожие патенты