патент
№ RU 2762753
МПК C08L21/00

РЕЗИНОВАЯ СМЕСЬ, ВУЛКАНИЗИРОВАННАЯ РЕЗИНА, ШИНА, НЕШИПОВАННАЯ ШИНА

Авторы:
КАВАСИМА, Масахиро (JP)
Правообладатель:
Номер заявки
2019135339
Дата подачи заявки
20.03.2018
Опубликовано
22.12.2021
Страна
RU
Дата приоритета
16.12.2025
Номер приоритета
Страна приоритета
Как управлять
интеллектуальной собственностью
Чертежи 
3
Реферат

[216]

Изобретение относится к резиновым смесям и получаемой из них вулканизированной резине. Предложена резиновая смесь, содержащая каучуковый компонент и короткие волокна смолы, причем короткие волокна смолы имеют отношение A/B от 1,5 до 10, где A представляет собой длину поперечного сечения, перпендикулярного направлению длинной оси, в направлении длинного диаметра сечения и B означает длину поперечного сечения, перпендикулярного направлению длинной оси, в направлении короткого диаметра сечения. Короткие волокна смолы представляют собой комплексную смолу, которая содержит гидрофильную смолу и слой покрытия, покрывающий гидрофильную смолу и образованный из смолы, имеющей сродство к каучуковому компоненту, представляющей собой смолу на основе полиолефина с температурой плавления ниже максимальной температуры вулканизации резиновой смеси. Предложена также полученная из предложенной резиновой смеси вулканизированная резина, шина и нешипованная шина. Технический результат – предложенная резиновая смесь позволяет получить вулканизированную резину с высокой водопоглощающей способностью, а также шину и нешипованную шину с отличной эксплуатационной характеристикой на льду. 4 н. и 12 з.п. ф-лы, 6 ил., 2 табл., 5 пр.

Формула изобретения

1. Резиновая смесь, содержащая

каучуковый компонент и

короткие волокна смолы, имеющие отношение A/B от 1,5 до 10, где A представляет собой длину поперечного сечения, перпендикулярного направлению длинной оси, в направлении длинного диаметра сечения и B означает длину поперечного сечения, перпендикулярного направлению длинной оси, в направлении короткого диаметра сечения, при этом средняя длина коротких волокон смолы в продольном направлении составляет от 0,1 до 500 мм,

причем короткие волокна смолы представляют собой комплексную смолу, которая содержит гидрофильную смолу и слой покрытия, покрывающий гидрофильную смолу, причем слой покрытия образован из смолы, имеющей сродство к каучуковому компоненту,

при этом смола, имеющая сродство к каучуковому компоненту, представляет собой смолу с низкой температурой плавления на основе полиолефина, имеющую температуру плавления ниже максимальной температуры вулканизации резиновой смеси.

2. Резиновая смесь по п. 1, в которой отношение A/B составляет 1,8 или больше.

3. Резиновая смесь по п. 1 или 2, в которой отношение A/B составляет 2,0 или больше.

4. Резиновая смесь по любому из пп. 1-3, дополнительно содержащая вспенивающий реагент.

5. Резиновая смесь по любому из пп. 1-4, в которой гидрофильная смола содержит по меньшей мере один атом, выбранный из атомов кислорода, азота и серы.

6. Резиновая смесь по любому из пп. 1-5, в которой содержание коротких волокон смолы составляет от 0,1 до 100 частей по массе в расчете на 100 частей по массе каучукового компонента.

7. Резиновая смесь по любому из пп. 1-6, в которой средняя площадь поперечного сечения коротких волокон смолы составляет от 0,000001 до 0,5 мм2.

8. Резиновая смесь по любому из пп. 1-7, в которой гидрофильная смола содержит по меньшей мере один заместитель, выбранный из группы, состоящей из -OH, -COOH, -OCOR (где R означает алкильную группу), -NH2, -NCO и -SH.

9. Резиновая смесь по любому из пп. 1-8, в которой гидрофильная смола содержит по меньшей мере один полимер, выбранный из группы, состоящей из сополимера этилена-винилового спирта, гомополимера винилового спирта, смолы поли(мет)акриловой кислоты, полиамидной смолы, алифатической смолы на основе полиамида, ароматической смолы на основе полиамида, полиэфирной смолы, полиолефиновой смолы, смолы на основе поливинилового спирта и акриловой смолы.

10. Резиновая смесь по любому из пп. 1-9, в которой смола на основе полиолефина содержит по меньшей мере одну, выбранную из группы, состоящей из смолы на основе полиэтилена, смолы на основе полипропилена, полиолефинового иономера и поли-α-олефина, модифицированного малеиновым ангидридом.

11. Резиновая смесь по любому из пп. 1-10, которая представляет собой резиновую смесь для протектора.

12. Вулканизированная резина, полученная путем вулканизации резиновой смеси по любому из пп. 1-11.

13. Вулканизированная резина по п. 12, имеющая плоскую полость с отношением M/N больше чем 1, где M представляет собой длину поперечного сечения, перпендикулярного направлению длинной оси, в направлении длинного диаметра сечения, и N означает длину поперечного сечения, перпендикулярного направлению длинной оси, в направлении короткого диаметра сечения, причем доля плоской полости составляет половину от числа всех полостей или больше.

14. Вулканизированная резина по п. 13, в которой по меньшей мере часть наружной поверхности стенки полости гидрофилизирована.

15. Шина, включающая вулканизированную резину по любому из пп. 12-14.

16. Нешипованная шина, содержащая вулканизированную резину по любому из пп. 12-14.

Описание

[1]

Область техники, к которой относится изобретение

[2]

Настоящее изобретение относится к резиновой смеси, вулканизированной резине, шине и нешипованной шине.

[3]

Уровень техники

[4]

С точки зрения повышения безопасности транспортных средств, до настоящего времени проведены многочисленные исследования с целью усовершенствования характеристик торможения, характеристик вождения, и тому подобного, шины не только на сухой дорожной поверхности, но также на различных дорожных поверхностях, таких как мокрые дорожные поверхности и обледенелые и заснеженные дорожные поверхности. Например, с целью усовершенствования эксплуатационной характеристики на льду, зимние шины, такие как нешипованные шины, снабжены вспененным слоем резины в секции протектора шины.

[5]

Более конкретно, например, при сопоставлении с традиционной технологией, с целью обеспечения пневматических шин еще большим водоотводящим эффектом и резким улучшением эксплуатационной характеристики на льду, описано, что пневматические шины, снабженные вспененным слоем резины на наружной поверхности протектора шины, по меньшей мере практически находящейся в контакте с поверхностью дороги, выполнены таким образом, что вспененный слой резины имеет закрытые ячейки, обладающие средним диаметром от 40 до 50 мкм, и коэффициент вспенивания от 10 до 25%, и содержат от 1 до 15 частей по массе коротких волокон в расчете на 100 частей по массе каучукового компонента; и что короткие волокна имеют длину от 0,5 до 5,0 мм и средний диаметр от 40 до 50 мкм и имеют коэффициент термической усадки при 170°C равный 8% или меньше (смотрите, например, PTL 1).

[6]

Список цитирования

[7]

Патентная литература

[8]

PTL 1: Заявка на патент Японии JP-A 10-24704

[9]

Раскрытие изобретения

[10]

Техническая проблема

[11]

Однако ячейкам, образующимся путем вспенивания, присуща такая проблема, что водоотводящий эффект является недостаточным.

[12]

Целью настоящего изобретения является разработка резиновой смеси, из которой может быть получена вулканизированная резина, обладающая большой водопоглощающей способностью, вулканизированная резина, имеющая высокую водопоглощающую способность, шина, которая имеет отличную эксплуатационную характеристику на льду, и нешипованная шина, которая имеет отличную эксплуатационную характеристику на льду, причем проблема, решаемая настоящим изобретением, может быть решена достижением вышеупомянутой цели.

[13]

Решение проблемы

[14]

1) Резиновая смесь, содержащая каучуковый компонент и короткие волокна смолы, имеющие отношение A/B больше, чем 1, где A представляет собой длину поперечного сечения, перпендикулярного направлению длинной оси, в направлении длинного диаметра сечения, и B означает длину поперечного сечения, перпендикулярного направлению длинной оси, в направлении короткого диаметра сечения.

[15]

2) Резиновая смесь по пункту 1), дополнительно содержащая вспенивающий реагент.

[16]

3) Резиновая смесь по пункту 1) или 2), в которой короткие волокна смолы представляют собой комплексную смолу, которая содержит гидрофильную смолу и слой покрытия, покрывающий гидрофильную смолу, причем слой покрытия образован из смолы, имеющей сродство к каучуковому компоненту.

[17]

4) Резиновая смесь по пункту 3), в которой гидрофильная смола содержит по меньшей мере один атом, выбранный из атомов кислорода, азота и серы.

[18]

5) Резиновая смесь по пункту 3) или 4), в которой смола, имеющая сродство к каучуковому компоненту, представляет собой смолу с низкой температурой плавления, имеющую температуру плавления, ниже максимальной температуры вулканизации резиновой смеси.

[19]

6) Резиновая смесь по любому одному из пунктов 1) - 5), в которой отношение A/B коротких волокон смолы равно 10 или меньше.

[20]

7) Резиновая смесь по любому одному из пунктов 1) - 6), в которой средняя длина коротких волокон смолы в продольном направлении составляет от 0,1 до 500 мм.

[21]

8) Резиновая смесь по любому одному из пунктов 1) - 7), в которой содержание коротких волокон смолы составляет от 0,1 до 100 частей по массе в расчете на 100 частей по массе каучукового компонента.

[22]

9) Резиновая смесь по любому одному из пунктов 1) - 8), в которой средняя площадь поперечного сечения коротких волокон смолы составляет от 0,000001 до 0,5 мм2.

[23]

10) Резиновая смесь по любому одному из пунктов 3) - 9), в которой гидрофильная смола содержит по меньшей мере один заместитель, выбранный из группы, состоящей из -OH, -COOH, -OCOR (где R означает алкильную группу), -NH2, -NCO, и -SH.

[24]

11) Резиновая смесь по любому одному из пунктов 3) - 10), в которой гидрофильная смола содержит по меньшей мере один полимер, выбранный из группы, состоящей из сополимера этилена-винилового спирта, гомополимера винилового спирта, смолы поли(мет)акриловой кислоты, полиамидной смолы, алифатической смолы на основе полиамида, ароматической смолы на основе полиамида, полиэфирной смолы, полиолефиновой смолы, смолы на основе поливинилового спирта, и акриловой смолы.

[25]

12) Резиновая смесь по любому одному из пунктов 5) - 11), в которой смола с низкой температурой плавления представляет собой смолу на основе полиолефина.

[26]

13) Резиновая смесь по пункту 12), в которой смола на основе полиолефина содержит по меньшей мере одну смолу, выбранную из группы, состоящей из смолы на основе полиэтилена, смолы на основе полипропилена, полиолефинового иономера, и поли-α-олефина, модифицированного малеиновым ангидридом.

[27]

14) Резиновая смесь по любому одному из пунктов 1) - 13), которая представляет собой резиновую смесь для протектора.

[28]

15) Вулканизированная резина, полученная путем вулканизации резиновой смеси по любому одному из пунктов 1) - 14).

[29]

16) Вулканизированная резина по пункту 15), имеющая плоскую полость с отношением M/N больше, чем 1, где M представляет собой длину поперечного сечения, перпендикулярного направлению длинной оси, в направлении длинного диаметра сечения, и N означает длину поперечного сечения, перпендикулярного направлению длинной оси, в направлении короткого диаметра сечения, причем доля плоской полости составляет половину или больше от числа всех полостей.

[30]

17) Вулканизированная резина по пункту 15) или 16), в которой по меньшей мере часть наружной поверхности стенки полости гидрофилизирована.

[31]

18) Шина, содержащая вулканизированную резину по любому одному из пунктов 15) - 17).

[32]

19) Нешипованная шина, содержащая вулканизированную резину по любому одному из пунктов 15) - 17).

[33]

Преимущества изобретения

[34]

В соответствии с настоящим изобретением, могут быть обеспечены резиновая смесь, из которой может быть получена вулканизированная резина, обладающая большой водопоглощающей способностью, вулканизированная резина, обладающая большой водопоглощающей способностью, шина, имеющая отличную эксплуатационную характеристику на льду, и нешипованная шина, которая обладает отличной эксплуатационной характеристикой на льду.

[35]

Краткое описание чертежей

[36]

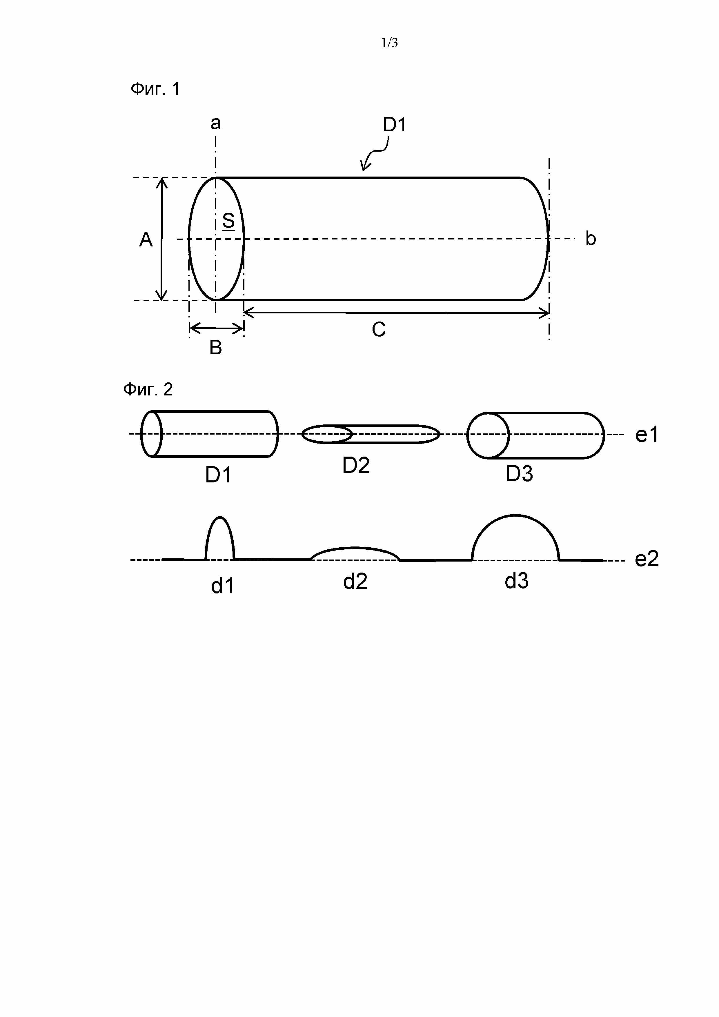
Фигура 1 представляет собой схематичный чертеж, иллюстрирующий короткие волокна смолы, подлежащие включению в резиновую смесь настоящего изобретения.

[37]

Фигура 2 является схематичным чертежом, иллюстрирующим формы коротких волокон смолы, подлежащих включению в резиновую смесь настоящего изобретения, и традиционные короткие волокна смолы, и форму поперечного сечения полости, возникающей из каждого из указанных волокон смолы.

[38]

Фигура 3 представляет собой вид поперечного сечения головки, которая вставляется в двухшнековый экструдер.

[39]

Фигура 4 представляет собой вид поперечного сечения головки, которая вставляется в двухшнековый экструдер.

[40]

Фигура 5 является схематичным чертежом, иллюстрирующим форму поперечного сечения полости, возникающей из короткого волокна смолы.

[41]

Фигура 6 является схематичным чертежом, иллюстрирующим форму поперечного сечения несимметричной полости, возникающей из комплексного короткого волокна смолы.

[42]

Осуществление изобретения

[43]

Резиновая смесь

[44]

Резиновая смесь настоящего изобретения содержит каучуковый компонент и короткие волокна смолы, имеющие отношение A/B больше, чем 1, где A означает длину поперечного сечения, перпендикулярного направлению длинной оси, в направлении длинного диаметра сечения, и B представляет собой длину поперечного сечения, перпендикулярного направлению длинной оси, в направлении короткого диаметра сечения.

[45]

Резиновая смесь настоящего изобретения представляет собой невулканизированную резиновую смесь до вулканизации, причем вулканизированная резина получается путем вулканизации резиновой смеси настоящего изобретения.

[46]

"Короткие волокна смолы, имеющие отношение A/B больше, чем 1, где A означает длину поперечного сечения, перпендикулярного направлению длинной оси, в направлении длинного диаметра сечения, и B представляет собой длину поперечного сечения, перпендикулярного направлению длинной оси, в направлении короткого диаметра сечения" периодически называют "плоская смола".

[47]

В случае, когда резиновая смесь содержит каучуковый компонент и плоскую смолу, вулканизированная резина, полученная путем вулканизации резиновой смеси, приобретает более высокую водопоглощающую способность.

[48]

Прежде всего, описаны геометрические признаки плоской смолы и причины, почему при наличии в резиновой смеси настоящего изобретения плоской смолы, водопоглощающая способность вулканизированной резины становится большой.

[49]

Фигура 1 представляет собой схематичный чертеж, иллюстрирующий пример короткого волокна смолы, подлежащего включению в резиновую смесь настоящего изобретения.

[50]

Фигура 1 иллюстрирует смолу D1 (плоская смола) в виде эллиптического цилиндра. Смола D1 имеет поперечное сечение S, перпендикулярное направлению b длинной оси, причем расстояние в направлении a длинного диаметра сечения, имеющего наибольший диаметр в поперечном сечении S, называется длиной A. Кроме того, в поперечном сечении S, расстояние поперечного сечения S в направлении короткого диаметра, перпендикулярного направлению a длинного диаметра, называется длиной B.

[51]

В случае, когда отношение длины A длинного диаметра поперечного сечения S к длине B короткого диаметра поперечного сечения S, а именно A/B, больше, чем 1, поперечное сечение S становится эллиптическим. Хотя на фигуре 1 показана одна форма поперечного сечения, которое является эллиптическим, поскольку A/B больше, чем 1, форма поперечного сечения практически не ограничивается, и сечение может иметь любую форму из эллиптической, прямоугольной, полигональной и несимметричной.

[52]

Для смол, которые традиционно используются в качестве коротких волокон, исследуется размерное отношение самой смолы, а именно, относительно смолы D1, отношение C/A, т.е. длины C в направлении b длинной оси (длина короткого волокна смолы в продольном направлении) к длине A длинного диаметра поперечного сечения S. Однако в настоящем изобретении, уделяется внимание отношению A/B, т.е. длины A длинного диаметра к длине B короткого диаметра в поперечном сечении S.

[53]

Подробности способа получения резиновой смеси рассмотрены в последующем. Однако при вымешивании каучукового компонента и плоской смолы, плоская смола в резиновой смеси имеет беспорядочную ориентацию, причем направление b длинной оси короткого волокна смолы D1 ориентировано перпендикулярно к поверхности вулканизированной резины, или направление b длинной оси короткого волокна смолы D1 ориентировано параллельно поверхности вулканизированной резины.

[54]

С учетом того факта, что короткие волокна смолы D1 имеют плоскую форму, даже в случае, когда направление b длинной оси короткого волокна смолы D1 ориентировано параллельно поверхности вулканизированной резины, можно считать, что направление a длинного диаметра сечения поперечного сечения S ориентировано перпендикулярно поверхности вулканизированной резины, или ориентировано параллельно поверхности вулканизированной резины.

[55]

Указанное ориентированное состояние коротких волокон смолы D1 может подтверждаться путем наблюдения среза поверхности, полученного разрезанием вулканизированной резины, с использованием оптического микроскопа.

[56]

В случае, когда указанные короткие волокна смолы, имеющие плоскую форму, содержатся в резиновой смеси вместе с каучуковым компонентом, в вулканизированной резине, и шине, полученной путем вулканизации резиновой смеси, содержится плоская смола, или образуются полости, возникающие из плоской смолы. Например, с использованием, в качестве коротких волокон смолы, смолы, имеющей температуру плавления ниже, чем температура вулканизации резиновой смеси, короткие волокна смолы плавятся, благодаря вулканизации резиновой смеси, в результате чего в вулканизированной резине образуются полости, возникающие из смолы. Кроме того, когда вулканизированная резина истирается под действием поверхности дороги, или тому подобного, короткие волокна смолы периодически отслаиваются из вулканизированной резины, таким образом, формируя полости.

[57]

Теперь, возникновение проскальзывания шины на замороженной поверхности дороги, главным образом, вызвано образованием пленки воды между льдом на поверхности дороги и шиной.

[58]

Полость, образующаяся при плавлении или отслаивании коротких волокон смолы, становится водным путем на поверхности шины (конкретно на поверхности протектора), причем пленка воды на поверхности дороги впитывается полостью. В результате, поверхность шины входит в непосредственный контакт с обледенелой поверхностью дороги, таким образом, обеспечивается подавление проскальзывания.

[59]

В случае, когда короткие волокна смолы ориентированы на поверхности вулканизированной резины таким образом, что направление длинной оси волокон является перпендикулярным поверхности вулканизированной резины, другими словами, столбик стоит на основании и формируется полость, даже когда форма поперечного сечения, ортогонального направлению длинной оси коротких волокон смолы, является совершенно круглой или эллиптической, глубина полости больше, чем размер по ширине, и следовательно, можно считать, что поглощение воды легко вызывается капиллярным явлением.

[60]

С другой стороны, в случае, когда короткие волокна смолы ориентированы на поверхности вулканизированной резины таким образом, что направление длинной оси волокон является параллельным поверхности вулканизированной резины, другими словами, столбик лежит на основании, можно считать, что водопоглощающая способность варьирует в зависимости от формы поперечного сечения, ортогонального направлению длинной оси коротких волокон смолы.

[61]

Фигура 2 представляет собой схематичный чертеж, иллюстрирующий формы коротких волокон смолы, которые подлежат включению в резиновую смесь настоящего изобретения и традиционные короткие волокна смолы, а также формы поперечного сечения полости, образующейся из каждого из указанных коротких волокон смолы.

[62]

Фигура 2 иллюстрирует формы коротких волокон смолы D1, D2, и D3, до их введения в резиновую смесь, и полости d1, d2, и d3, образующиеся из коротких волокон смолы D1, D2, и D3. Каждая из полостей d1, d2, и d3 образована на поверхности e2 среза вулканизированной резины, полученной путем смешения этих коротких волокон смолы D1, D2, и D3 в резиновой смеси и вулканизации смеси, с последующим разрезанием. Все короткие волокна смолы D1, D2, и D3 являются волокнами, ориентированными таким образом, что направление e1 длинной оси этих коротких волокон смолы D1, D2, и D3 является параллельным поверхности e2 среза вулканизированной резины. Кроме того, формы полостей d1, d2, и d3, показанные на фигуре 2, являются формами поперечного сечения, которые получены разрезанием полостей, образовавшихся из коротких волокон смолы D1, D2, и D3, соответственно в направлении, ортогональном направлению e1 длинной оси.

[63]

На фигуре 2 короткие волокна смолы D1 и D2 представляют собой короткие волокна смолы (плоская смола) настоящего изобретения, и D3 – это короткие волокна смолы, содержащиеся в традиционной резиновой смеси.

[64]

Короткие волокна смолы, содержащиеся в традиционной резиновой смеси, имеют совершенно круглую форму поперечного сечения, и, следовательно, в случае, когда смола D3 ориентирована таким образом, что направление e1 длинной оси является параллельным поверхности вулканизированной резины, форма поперечного сечения полости не изменяется.

[65]

Напротив, короткие волокна смолы, которые используются в настоящем изобретении, имеют плоскую форму, и поэтому, направление длинного диаметра поперечного сечения ориентировано перпендикулярно поверхности e2 среза вулканизированной резины, как в случае коротких волокон смолы D1, или ориентировано параллельно поверхности e2 среза вулканизированной резины, как в случае коротких волокон смолы D2.

[66]

В случае коротких волокон смолы, когда направление длинного диаметра поперечного сечения ориентировано перпендикулярно к поверхности e2 среза вулканизированной резины, как в случае коротких волокон смолы D1, при образовании полости глубина полости является более длинной, чем ширина полости. В полости d1 действует эффект поглощения воды, вызванный капиллярным явлением, и в результате водопоглощающая способность полости улучшается по сравнению с традиционной полостью d3.

[67]

В случае коротких волокон смолы, когда направление длинного диаметра поперечного сечения ориентировано параллельно поверхности e2 среза вулканизированной резины, как в случае коротких волокон смолы D2, при образовании полости, глубина полости является более короткой, чем ширина полости, и можно полагать, что капиллярное явление не действует, как в полости d1. Однако можно считать, что полость 2 выполняет функцию водного пути, так же, как в случае традиционной полости d3.

[68]

В свете указанного выше, в вулканизированной резине и шине, полученных путем вулканизации резиновой смеси настоящего изобретения, образуются полости, имеющие большую глубину по сравнению с шириной полости, как в случае полости d1, на поверхности вулканизированной резины или на поверхности шины, и поэтому можно полагать, что водопоглощающая способность будет больше, чем в традиционной вулканизированной резине и шине. Следовательно, для шины и нешипованной шины, полученных с использованием резиновой смеси настоящего изобретения, можно полагать, что водопоглощающая способность на льду улучшается, благодаря капиллярному явлению, и таким образом, эксплуатационная характеристика на льду будет улучшена.

[69]

Резиновая смесь, вулканизированная резина и шина настоящего изобретения подробно описаны ниже.

[70]

Описание будет сделано без упоминания символов на чертежах, если не указано другое.

[71]

Каучуковый компонент

[72]

Каучуковый компонент, который может быть использован для резиновой смеси настоящего изобретения, практически не ограничен и, помимо натурального каучука (NR), могут быть использованы синтетические каучуки, такие как полиизопреновый каучук (IR), сополимерный бутадиен-стирольный каучук (SBR), полибутадиеновый каучук (BR), этилен-пропилен-диеновый каучук (EPDM), хлоропреновый каучук (CR), бутилгалогеновый каучук, и акрилонитрил-бутадиеновый каучук (NBR). Главным образом, предпочтительными являются натуральный каучук (NR), сополимерный бутадиен-стирольный каучук (SBR), и полибутадиеновый каучук (BR). Указанные каучуковые компоненты могут быть использованы индивидуально или могут быть использованы в комбинации из двух или больше из них.

[73]

Короткие волокна смолы

[74]

Резиновая смесь настоящего изобретения содержит короткие волокна смолы, имеющие отношение A/B больше, чем 1, где A означает длину поперечного сечения, перпендикулярного направлению длинной оси, в направлении длинного диаметра сечения, и B означает длину поперечного сечения, перпендикулярного направлению длинной оси, в направлении короткого диаметра сечения.

[75]

При том условии, что в коротких волокнах смолы (плоская смола) настоящего изобретения отношение A/B больше, чем 1, форма и площадь поперечного сечения, перпендикулярного направлению длинной оси (поперечное сечение S на фигуре 1), и длина в направлении длинной оси (длина C на фигуре 1) конкретно не ограничены. С точки зрения улучшения водопоглощающей способности вулканизированной резины, плоская смола означает короткие волокна смолы.

[76]

Конкретно, площадь поперечного сечения, перпендикулярного направлению длинной оси плоской смолы (сечение S на фигуре 1), предпочтительно составляет от 0,000001 до 0,5 мм2, и более предпочтительно от 0,00002 до 0,2 мм2 в единицах средней площади, с точки зрения большего улучшения водопоглощающей способности вулканизированной резины.

[77]

Хотя поперечное сечение, перпендикулярное направлению длинной оси плоской смолы (сечение S на фигуре 1), может иметь любую форму из эллиптической, треугольной, прямоугольной, полигональной, и несимметричной форм, с точки зрения улучшения водопоглощающей способности вулканизированной резины, предпочтительной формой является эллиптическая или прямоугольная, и более предпочтительной является эллиптическая форма.

[78]

Средняя длина плоской смолы в направлении длинной оси (длина C на фигуре 1) (средняя длина коротких волокон смолы в продольном направлении) предпочтительно составляет от 0,1 до 500 мм, и более предпочтительно от 0,1 до 7 мм.

[79]

Когда площадь поперечного сечения и длина в направлении длинной оси плоской смолы находятся в вышеуказанных диапазонах, не только улучшается водопоглощающая способность вулканизированной резины, но также короткие волокна смолы едва ли спутаны между собой (в большей степени, чем необходимо) и легко диспергируются в резиновой смеси, что желательно.

[80]

Средняя площадь поперечного сечения, перпендикулярного направлению длинной оси плоской смолы (сечение S на фигуре 1), и средняя длина плоской смолы в направлении длинной оси (длина C на фигуре 1) представляют собой средние значения для 100 волокон смолы, выбранных произвольно. Кроме того, каждое значение длины A, длины B, и длины C волокна плоской смолы могут быть измерены путем исследования смолы с использованием оптического микроскопа при 20 – 400-кратном увеличении.

[81]

С точки зрения большего увеличения водопоглощающей способности вулканизированной резины, предпочтительно отношение A/B составляет 1,5 или больше, и более предпочтительно 2,0 или больше. Хотя верхняя граница отношения A/B конкретно не ограничена, в смолах с короткими волокнами, имеющими вышеуказанное предпочтительное значение площади поперечного сечения, трудно получить отношение A/B больше, чем 10. В итоге, предпочтительное отношение A/B равно 10 или меньше, и с точки зрения большего увеличения водопоглощающей способности вулканизированной резины, более предпочтительно отношение A/B равно 5 или меньше.

[82]

С точки зрения большего увеличения водопоглощающей способности вулканизированной резины, длина A плоской смолы предпочтительно составляет от 0,001 до 2 мм, и более предпочтительно от 0,005 до 0,5 мм в единицах среднего значения для 100 волокон смолы.

[83]

Отношение C/A, то есть, отношение длины в направлении длинной оси плоской смолы (длина C на фигуре 1) к длине A длинного диаметра поперечного сечения плоской смолы, обычно составляет от 10 до 4000, и предпочтительно от 50 до 2000.

[84]

С точки зрения увеличения водопоглощающей способности вулканизированной резины и усиления благоприятной характеристики водоотвода, благодаря образовавшейся полости, содержание плоской смолы в резиновой смеси настоящего изобретения предпочтительно составляет 0,1 части по массе или больше, в расчете на 100 частей по массе каучукового компонента, и с точки зрения сохранения долговечности вулканизированной резины, предпочтительно содержание составляет 100 частей по массе или меньше. Кроме того, с такой же точки зрения, более предпочтительное содержание плоской смолы составляет от 0,1 до 50 частей по массе в расчете на 100 частей по массе каучукового компонента.

[85]

Комплексная смола

[86]

Предпочтительно, плоская смола представляет собой комплексную смолу, которая содержит гидрофильную смолу и слой покрытия, покрывающего гидрофильную смолу, где слой покрытия образован из смолы, имеющей сродство к каучуковому компоненту. А именно, предпочтительно, чтобы плоская смола являлась комплексной смолой, содержащей гидрофильную смолу в качестве материала сердцевины, и слой покрытия, образованный из смолы, имеющей сродство к каучуковому компоненту.

[87]

В случае, когда плоская смола имеет указанную конфигурацию, можно полагать, что плоская смола легко диспергируются в резиновой смеси и прикрепляется, в виде плёнки, к части или ко всей наружной поверхности стенки полости (образованной из плоской смолы), сформированной в вулканизированной резине. Следовательно, по меньшей мере часть наружной поверхности стенки полости легко подвергается гидрофилизации. В результате, можно считать, что вода легко проникает внутрь полости, и таким образом, существенно увеличивается водопоглощающая способность, благодаря капиллярному явлению.

[88]

Как упомянуто ранее, полость в вулканизированной резине формируется, когда смола, имеющая точку плавления ниже, чем температура вулканизации резиновой смеси, используется в качестве плоской смолы (короткие волокна смолы), причем плоская смола расплавляется при вулканизации резиновой смеси, или, когда вулканизированная резина истирается о поверхность дороги или тому подобное, и плоская смола отслаивается из вулканизированной резины. Что касается полости, формируемой при истирании вулканизированной резины о поверхность дороги или тому подобное, причем плоская смола отслаивается из вулканизированной резины, то учитывая тот факт, что наружная поверхность стенки полости едва ли является гидрофилированной, полости в вулканизированной резине и шине предпочтительно являются полостями, которые формируются при расплавлении комплексной смолы, в которой плоская смола содержит гидрофильную смолу.

[89]

В последующем описана гидрофильная смола и смола, имеющая сродство к каучуковому компоненту.

[90]

Гидрофильная смола

[91]

Гидрофильная смола означает смолу, имеющую контактный угол относительно воды от 5 до 80°.

[92]

Контактный угол гидрофильной смолы относительно воды можно определить путем приготовления образца для испытаний, который получен путем формования гидрофильной смолы в гладкую пластинчатую форму, с использованием автоматизированного измерителя контактного угла DM-301 (произведен на фирме Kyowa Interface Science Co., Ltd.); введения капли воды на поверхность образца для испытаний при температуре 25°C и относительной влажности 55%; и сразу после этого при наблюдении с правой стороны, измерение угла, образовавшегося между прямой линией поверхности образца для испытаний и тангенциальной линией к поверхности капли воды.

[93]

В качестве гидрофильной смолы, взяты для примера смолы, в молекулах которых имеются гидрофильные группы. Конкретно, предпочтительными являются смолы, содержащие по меньшей мере, один атом, выбранный из кислорода, азота и серы. Например, в качестве примера приведены смолы, содержащие по меньшей мере один заместитель, выбранный из группы, состоящей из -OH, -COOH, -OCOR (где R является алкильной группой), -NH2, -NCO, и -SH. Из указанных заместителей предпочтительными являются -OH, -COOH, -OCOR, -NH2, и -NCO.

[94]

Как упомянуто ранее, хотя предпочтительно, чтобы гидрофильная смола имела небольшой контактный угол относительно воды и обладала гидрофильностью к воде, предпочтительная гидрофильная смола не растворяется в воде.

[95]

В случае, когда гидрофильная смола нерастворима в воде, то в ходе присоединения воды к поверхности вулканизированной резины и поверхности шины, можно предотвратить процесс расплавления гидрофильной смолы в воде, и можно сохранить водопоглощающую способность полости, образованной из плоской смолы.

[96]

В качестве такой гидрофильной смолы, которая имеет большой контактный угол относительно воды, и, с другой стороны, нерастворима в воде, более конкретно, приведены примеры сополимера этилена-винилового спирта, гомополимера винилового спирта, смолы поли(мет)акриловой кислоты или смолы сложного эфира этой кислоты, полиамидной смолы, полиэтиленгликолевой смолы, карбоксивинилового сополимера, сополимера стирола-малеиновой кислоты, поливинилпирролидоновой смолы, сополимера винилпирролидон-винилацетата, и меркаптоэтанола.

[97]

Прежде всего, более предпочтительной является по меньшей мере одна смола, выбранная из группы, состоящей из сополимера этилена-винилового спирта, гомополимера винилового спирта, смолы поли(мет)акриловой кислоты, полиамидной смолы, алифатической смолы на основе полиамида, ароматической смолы на основе полиамида, полиэфирной смолы, полиолефиновой смолы, смолы на основе поливинилового спирта, и акриловой смолы, и сополимера этилена-винилового спирта.

[98]

Смола, имеющая сродство к каучуковому компоненту

[99]

Смола, имеющая сродство к каучуковому компоненту, означает смолу, имеющую параметр растворимости (величину ПР), близкий к величине ПР каучукового компонента, подлежащего включению в резиновую смесь. Чем ближе соответствующие величины ПР, тем выше сродство указанных компонентов, причем они легко компатибилизуются друг с другом.

[100]

Что касается разности величин ПР, то предпочтительно разность между величиной (ПР1) ПР каучукового компонента и величиной (ПР2) ПР смолы (|ПР1 - ПР2|) равна 2,0 МПа1/2 или меньше.

[101]

Величину ПР каждого из каучукового компонента и смолы можно рассчитать в соответствии с методом Федорса.

[102]

Смола, имеющая сродство к каучуковому компоненту, предпочтительно является смолой с низкой температурой плавления, имеющей температуру плавления меньше, чем максимальная температура вулканизации резиновой смеси.

[103]

В случае, когда плоская смола содержит указанный слой покрытия, благоприятное сродство с каучуковым компонентом в окрестности комплексной смолы может проявляться при эффективном сохранении сродства с водой, которое присуще самой гидрофильной смоле.

[104]

В случае, когда плоская смола содержит слой покрытия, когда резиновая смесь содержит вспенивающий реагент, используется гидрофильная смола, которая едва ли плавится в ходе вулканизации, в соответствии с чем может стимулироваться формирование полости, образованной из комплексной смолы. Другими словами, когда вулканизированная резина формируется путем обеспечения благоприятного диспергирования комплексной смолы в резиновой смеси, при всестороннем проявлении водоотводящего эффекта, который может быть вызван благодаря гидрофильной смоле, может всесторонне проявляться функция водоотводящей канавки, благодаря полости, образованной из комплексной смолы.

[105]

В случае, когда смола с низкой температурой плавления расплавляется в ходе вулканизации резиновой смеси, образуется слой покрытия с врожденной текучестью, что дает вклад в адгезию между резиной и комплексной смолой, в соответствии с чем шина приобретает благоприятную водоотводящую характеристику и можно легко обеспечить долговечность шины.

[106]

Хотя толщина слоя покрытия варьирует в зависимости от содержания гидрофильной смолы в резиновой смеси, среднего диаметра комплексной смолы, и тому подобного, обычно она составляет от 0,001 до 10 мкм, и предпочтительно от 0,001 до 5 мкм. В случае, когда слой покрытия имеет толщину, находящуюся внутри вышеуказанного диапазона, легко достигается синергетический эффект между полостью, являющейся результатом гидрофилизации наружной поверхности стенки, и капиллярным явлением.

[107]

Слой покрытия комплексной смолы может быть сформирован поверх всей поверхности гидрофильной смолы или может быть сформирован на части поверхности гидрофильной смолы. Конкретно, слой покрытия предпочтительно сформирован в соотношении, занимающем по меньшей мере 50% всей площади поверхности комплексной смолы.

[108]

Смола с низкой температурой плавления представляет собой смолу, имеющую температуру плавления ниже, чем максимальная температура вулканизации резиновой смеси, причем максимальная температура вулканизации означает максимальную температуру, достигаемую резиновой смесью в ходе вулканизации резиновой смеси. Например, в случае вулканизации в пресс-форме, это означает максимальную температуру, достигаемую резиновой смесью в момент процесса, когда резиновая смесь поступает в пресс-форму и выходит из пресс-формы для охлаждения. Указанная максимальная температура вулканизации может быть измерена, например, путем введения термопары в резиновую смесь, или другим способом.

[109]

Хотя верхний предел температуры плавления смолы с низкой температурой плавления практически не ограничен, предпочтительно его выбирают, принимая во внимание вышеупомянутые соображения. Обычно температура плавления смолы с низкой температурой плавления предпочтительно ниже на 10°C или больше, и более предпочтительно ниже на 20°C или больше, чем максимальная температура вулканизации резиновой смеси. Хотя в промышленности максимальная температура вулканизации резиновой смеси обычно составляет приблизительно 190°C, например, в случае, когда максимальная температура вулканизации устанавливается равной 190°C, обычно температуру плавления смолы с низкой температурой плавления выбирают в диапазоне 190°C или меньше, и предпочтительно она равна 180°C или меньше, и более предпочтительно 170°C или меньше.

[110]

Температуру плавления плоской смолы можно измерить с использованием прибора, измеряющего температуру плавления, который известен как таковой, или тому подобного, и, например, максимальная температура плавления, измеренная с использованием дифференциального сканирующего калориметра (измерение ДСК), может считаться температурой плавления.

[111]

Конкретно, смола с низкой температурой плавления предпочтительно представляет собой смолу, в которой количество полярного компонента составляет 50% по массе или меньше, относительно всех компонентов в смоле с низкой температурой плавления, и более предпочтительно это смола на основе полиолефина. В случае, когда смола с низкой температурой плавления является смолой, в которой количество полярного компонента находится в вышеуказанном диапазоне относительно всех компонентов, вышеупомянутая смола с низкой температурой плавления не только имеет подходящее отличие величины ПР от каучукового компонента, но также имеет температуру плавления надлежащим образом меньше, чем максимальная температура вулканизации, причем благоприятное сродство с каучуковым компонентом может быть обеспечено в достаточной степени. Кроме того, в случае, когда резиновая смесь содержит вспенивающий реагент, слой покрытия легко расплавляется в ходе вулканизации, в соответствии с чем может облегчаться вспенивание вулканизированной резины.

[112]

В результате полость, образованная из комплексной смолы, легко образуется, улучшая диспергируемость комплексной смолы в резиновой смеси.

[113]

Вышеупомянутая смола на основе полиолефина может быть или разветвлённой, или линейной, или тому подобной. Кроме того, смола на основе полиолефина также может быть иономерной смолой, образованной из сополимера этилена-метакриловой кислоты, межмолекулярно сшитой ионом металла. Конкретные примеры смолы включают полиэтилен, полипропилен, полибутен, полистирол, этилен-пропиленовый сополимер, сополимер этилена-метакриловой кислоты, сополимер этилена-этилакрилата, тройной сополимер этилена/пропилена/диена, сополимер этилена-винилацетата, и их иономерные смолы. Кроме того, смола на основе полиолефина может быть модифицированной смолой, которая модифицирована малеиновым ангидридом или тому подобным. Эти смолы могут быть использованы индивидуально или могут быть использованы в комбинации из двух или больше из них.

[114]

Главным образом, смола на основе полиолефина, в качестве смолы с низкой температурой плавления, предпочтительно включает по меньшей мере одну, выбранную из группы, состоящей из смолы на основе полиэтилена, смолы на основе полипропилена, полиолефинового иономера и поли-α-олефина, модифицированного малеиновым ангидридом.

[115]

Для того, чтобы получить комплексную смолу, образованную из гидрофильной смолы, покрытой слоем покрытия, образованного из смолы с низкой температурой плавления, может быть выбран способ, в котором смолу с низкой температурой плавления и гидрофильную смолу смешивают, используя смесительные вальцы, смесь подвергают формованию из расплава с образованием невытянутых нитей, и невытянутые нити формуют в волокнистую структуру при термическом растяжении.

[116]

Кроме того, может быть выбран способ, в котором смола с низкой температурой плавления и гидрофильная смола смешиваются с использованием двухшнекового экструдера, снабженного головкой 1, которая показана на фигуре 3 или 4, с последующим формированием волокнистой структуры таким же образом. В этом случае гидрофильная смола и смола с низкой температурой плавления одновременно подвергаются экструзии через соответствующие выпускные отверстия 2 и 3 головки, из который потом образуются невытянутые нити.

[117]

Хотя загружаемое количество каждой из смолы с низкой температурой плавления и гидрофильной смолы в смесительные вальцы или бункер варьирует в зависимости от длины получаемой комплексной смолы (длина C на фигуре 1), площади поперечного сечения, и так далее, загружаемое количество смолы с низкой температурой плавления составляет от 5 до 300 частей по массе, и предпочтительно от 10 до 150 частей по массе в расчете на 100 частей по массе гидрофильной смолы.

[118]

В случае, когда смола с низкой температурой плавления и гидрофильная смола загружаются в количествах, которые находятся в вышеупомянутых диапазонах, в смесительные вальцы или бункер, на поверхности гидрофильной смолы легко образуется слой покрытия.

[119]

Вспенивающий реагент

[120]

Предпочтительно, резиновая смесь настоящего изобретения дополнительно содержит вспенивающий реагент.

[121]

В случае, когда резиновая смесь содержит вспенивающий реагент, в вулканизированной резине формируются ячейки, благодаря вспенивающему реагенту, таким образом, в пенистой резине может сформироваться вулканизированная резина. Пенистая резина обладает упругостью, и, следовательно, поверхность шины с использованием вулканизированной резины легко входит в непосредственный контакт с обледенелой поверхностью дороги. Кроме того, в случае, когда образующиеся из ячеек полости сформированы ячейками на поверхности вулканизированной резины и поверхности шины, полость функционирует как водный путь для отведения воды.

[122]

Кроме того, путем внедрения газа, генерируемого вспенивающим реагентом, внутрь гидрофильной смолы, через слой покрытия, образованного из расплавленной смолы с низкой температурой плавления, легко могут образоваться полости, имеющие форму, связанную с формой комплексной смолы, а именно продольной формы. В случае, когда полость, имеющая такую форму, связанную с формой комплексной смолы, находится в резине, улучшается водопоглощающая способность вулканизированной резины, и шина имеет отличную эксплуатационную характеристику на льду.

[123]

Конкретные примеры вспенивающих реагентов включают азодикарбонамид (ADCA), динитрозопентаметилентетрамин (DPT), динитрозопентастиролтетрамин, производные бензолсульфонилгидразида, п,п'-оксибисбензолсульфонилгидразид (OBSH), гидрокарбонат аммония, способный генерировать диоксид углерода, гидрокарбонат натрия, карбонат аммония, нитрозосульфонилазо соединение, способное генерировать азот, N,N'-диметил-N,N'-динитрозофталамид, толуолсульфонилгидразид, п-толуолсульфонилсемикарбазид и п,п'-оксибисбензолсульфонилсемикарбазид. Главным образом, с точки зрения технологичности производства, предпочтительными являются азодикарбонамид (ADCA) и динитрозопентаметилентетрамин (DPT). Указанные вспенивающие реагенты могут быть использованы индивидуально или могут быть использованы в комбинации из двух или больше реагентов.

[124]

Хотя содержание вспенивающего реагента в резиновой смеси конкретно не ограничено, предпочтительно оно находится в диапазоне от 0,1 до 20 частей по массе в расчете на 100 частей по массе каучукового компонента.

[125]

Вспенивающий реагент может содержаться в комплексной смоле.

[126]

В случае использования вспенивающего реагента с целью вспенивания вулканизированной резины, предпочтительно совместное использование, в качестве вспомогательного средства вспенивания, мочевины, стеарата цинка, бензолсульфината цинка, оксида цинка, или тому подобного. Эти средства могут быть использованы индивидуально или могут быть использованы в комбинации из двух или больше реагентов. Путем совместного использования вспомогательных средств вспенивания, ускоряется реакция вспенивания с увеличением степени завершения этой реакции, в соответствии с чем может быть подавлено нежелательное ухудшение во времени.

[127]

В вулканизированной резине, полученной после вулканизации, резиновая смесь, содержащая вспенивающий реагент, имеет коэффициент вспенивания обычно от 1 до 50%, и предпочтительно от 5 до 40%. В случае смешивания вспенивающего реагента, имеющего избыточно большой коэффициент вспенивания, полость резиновой поверхности становится большой, и поэтому существует опасение, что не будет обеспечена достаточная площадь контакта с основанием. Однако при том условии, что коэффициент вспенивания находится в вышеупомянутом диапазоне, можно поддерживать соответствующее количество ячеек, обеспечивая образование ячеек, эффективно функционирующих как водоотводящая канавка, и, следовательно, долговечность едва ли ухудшится. Здесь коэффициент вспенивания вулканизированной резины означает средний коэффициент вспенивания Vs, и конкретно это означает величину, рассчитанную по следующей формуле (I):

[128]

Vs = (ρ01 - 1) × 100 (%) (I)

[129]

В формуле (I), ρ1 представляет собой плотность (г/см3) вулканизированной резины (пенистая резина), и ρ0 означает плотность (г/см3) сечения твёрдой фазы в вулканизированной резине (пенистая резина).

[130]

Коэффициент вспенивания, рассчитанный по формуле (I), представляет собой объем полостей, что включает не только полости ячеек, образованных путем вспенивания под действием вспенивающего реагента, на также полости, образующиеся и освобождающиеся при плавлении плоской смолы под действием вулканизации.

[131]

В резиновой смеси настоящего изобретения, помимо вспенивающего реагента и вспомогательного средства вспенивания, по желанию, могут находиться соответствующие компаундирующие компоненты, которые обычно используются в резиновой промышленности, например, наполнители, такие как технический углерод, пластификаторы, стеариновая кислота, реагент против старения, оксид цинка, ускоритель вулканизации, вулканизатор, и другие, причем они содержатся вместе с плоской смолой (предпочтительно с комплексной смолой, в которой гидрофильная смола покрыта слоем покрытия, образованным из смолы, имеющей сродство к каучуковому компоненту) в количестве, не препятствующем достижению цели настоящего изобретения.

[132]

Вулканизированная резина, полученная из резиновой смеси настоящего изобретения, обладает высокой водопоглощающей способностью, и при использовании для шин, вулканизированная резина обладает отличной водопоглощающей способностью на льду. Следовательно, резиновая смесь настоящего изобретения является подходящей резиновой смесью для протектора.

[133]

Вулканизированная резина

[134]

Вулканизированная резина настоящего изобретения представляет собой резину, полученную путем вулканизации резиновой смеси настоящего изобретения, как описано ранее.

[135]

В результате, вулканизированная резина настоящего изобретения имеет плоскую полость, то есть полость, образованную из короткого волокна смолы, имеющего отношение M/N больше, чем 1, где M означает длину поперечного сечения, перпендикулярного направлению длинной оси, в направлении длинного диаметра сечения, и N означает длину поперечного сечения, перпендикулярного направлению длинной оси, в направлении короткого диаметра сечения. В случае, когда вулканизированная резина имеет плоскую полость, имеющую отношение M/N больше, чем 1, она обладает отличной водопоглощающей способностью.

[136]

Более того, с точки зрения большего улучшения водопоглощающей способности вулканизированной резины настоящего изобретения, предпочтительно, чтобы доля плоских полостей составляла половину или больше, от числа всех полостей.

[137]

Фигура 5 представляет собой схематичный чертеж, иллюстрирующий форму поперечного сечения полости, образованной из короткого волокна смолы.

[138]

Здесь, на фигуре 1, использованной для объяснения короткого волокна смолы, когда короткому волокну смолы придается сходство с плоской полостью, длина M означает длину, соответствующую длине A, и длина N означает длину, соответствующую длине B. Предпочтительные диапазоны длины M, длины N, и отношения M/N являются такими же, как предпочтительные диапазоны длины A, длины B, и отношения A/B коротких волокон смолы, соответственно.

[139]

Предпочтительный диапазон площади поперечного сечения S', перпендикулярного направлению длинной оси плоской полости (поверхность, соответствующая поперечному сечению S коротких волокон смолы на фигуре 1), является таким же, как предпочтительный диапазон площади поперечного сечения S. Хотя форма вышеупомянутого поперечного сечения не ограничивается, предпочтительной является эллиптическая форма. Предпочтительный диапазон средней длины в направлении длинной оси плоской полости (длина, соответствующая длине C коротких волокон смолы на фигуре 1) является таким же, как предпочтительный диапазон длины C.

[140]

На фигуре 5, в случае, когда отношение длины M длинного диаметра поперечного сечения S' к длине N короткого диаметра поперечного сечения S', а именно M/N больше, чем 1, поперечное сечение S' становится эллиптическим. Поперечное сечение полости, образованной из волокна смолы, не ограничивается эллиптической полостью, возникающей из одного отдельного волокна смолы, как показано на фигуре 5, причем она также может иметь несимметричную форму, происходящую от объединения, приготовленного путем объединения множества волокон смолы. Конкретно, это иллюстрируется примером сообщающейся полости, формируемой в случае, когда два или больше волокон смолы накладываются под действием вымешивания резиновой смеси и расплавления. Фигура 6 представляет собой схематичный чертеж, иллюстрирующий форму поперечного сечения несимметричной полости, образованной из объединенных коротких волокон смолы. Что касается несимметричной полости, которая показана на фигуре 6, когда наибольшая длина полости обозначена как P, и наименьшая длина по ширине полости обозначена как Q, отношение P/Q (P к Q) должно быть только больше, чем 1.

[141]

Форма полости, которую может иметь вулканизированная резина, например, подтверждается разрезанием образца из вулканизированной резины в форме блока, фотографированием поперечного сечения образца под оптическим микроскопом при увеличении от 100 до 400, и измерением длинной оси и короткой оси полости. Кроме того, доля плоской полости может быть рассчитана, например, путем уподобления, как матрицы, полости, наблюдаемой в трех или больше различных местах в поле зрения 2 мм × 3 мм с использованием оптического микроскопа.

[142]

Кроме того, в вулканизированной резине, является предпочтительным, чтобы по меньшей мере часть наружной поверхности стенки полости была гидрофилизирована. Полость, которая имеется в вулканизированной резине, является полостью, образованной из плоской смолы, как описано ранее, и как поясняется со ссылкой на фигуры 1 и 2, причем полость обладает водопоглощающей способностью, благодаря капиллярному явлению. Более того, в случае, когда по меньшей мере часть наружной поверхности стенки полости гидрофилизирована, можно считать, что водопоглощающая способность становится больше.

[143]

Шина и нешипованная шина

[144]

Шина и нешипованная шина настоящего изобретения содержат вулканизированную резину настоящего изобретения.

[145]

В результате, каждая из шины и нешипованной шины настоящего изобретения имеет плоскую полость, имеющую отношение M/N больше, чем 1, где M означает длину поперечного сечения, перпендикулярного направлению длинной оси, в направлении длинного диаметра сечения, и N означает длину поперечного сечения, перпендикулярного направлению длинной оси, в направлении короткого диаметра сечения. Доля плоской полости, которая имеется в каждой из шины и нешипованной шины, составляет половину от числа всех полостей или больше. Кроме того, предпочтительно, чтобы по меньшей мере часть наружной поверхности стенки полости была гидрофилизирована.

[146]

Как упомянуто ранее, поскольку вулканизированная резина настоящего изобретения обладает большой водопоглощающей способностью, даже когда пленка воды растекается на поверхности дороги, вода впитывается шиной, благодаря капиллярному явлению в полости, образовавшейся из плоской смолы, на сформированной поверхности шины, в соответствии с чем может быть предотвращено явление проскальзывания. В частности, вулканизированная резина настоящего изобретения обладает отличной водопоглощающей способностью на льду. Следовательно, вулканизированная резина настоящего изобретения подходит для нешипованных шин, причем нешипованная шина имеет отличную эксплуатационную характеристику на льду.

[147]

Шина может быть получена с использованием невулканизированной резиновой смеси, и после формования ее, вулканизации в соответствии с видом или элементом шины, который будет использоваться. В качестве альтернативы, шина может быть получена путем проведения процесса предварительной вулканизации, чтобы после этого получить частично вулканизированную резину из невулканизированной резиновой смеси, которую формуют, и осуществляют полную вулканизацию. Среди различных элементов шины, с такой точки зрения, чтобы в достаточной степени могли проявляться благоприятные характеристики водоотвода и отличное сопротивление разрушению, предпочтительно вулканизированная резина настоящего изобретения используется для элементов протектора. В качестве газа, наполняющего шину, помимо обычного воздуха или воздуха с регулируемым парциальным давлением кислорода, может быть использован инертный газ, такой как азот, аргон и гелий.

[148]

Примеры

[149]

Настоящее изобретение в последующем описано более подробно, со ссылками на Примеры, но следует пояснить, что целью этих Примеров является иллюстрация настоящего изобретения и они совершенно не ограничивают настоящее изобретение.

[150]

Короткие волокна смолы (Короткие волокна)

[151]

1. В смоле 1 не содержится слой покрытия и не используется гидрофильная смола

[152]

Полиэтилен (NOVATEC HJ360 (MFR (скорость истечения расплава): 5,5, температура плавления: 132°C, произведен на фирме Japan Polyethylene Corporation) вымешивают с помощью месильной машины, смолу подвергают экструзии через головку, и затем нарезают образцы длиной 3 мм, таким образом, получают Смолу 1, образованную из полиэтилена.

[153]

Отношение A/B длины A поперечного сечения к длине B поперечного сечения Смолы 1 равно 1,8. Кроме того, средняя длина A равна 0,05 мм; средняя площадь поперечного сечения (поперечное сечение S на фигуре 1) составляет 0,001 мм2; и средняя длина в направлении длинной оси (длина C на фигуре 1) равна 3 мм.

[154]

Каждая из длины A поперечного сечения, длины B поперечного сечения и длины C в направлении длинной оси Смолы 1 представляет собой величину, полученную путем фотографирования Смолы 1 под оптическим микроскопом с увеличением от 20 до 400 раз, измерения длины каждого из 100 образцов, и вычисления средней арифметической величины длины. Размерное отношение (длина A/длина B) Смолы 1 рассчитывают из полученных численных величин. Аналогичная процедура также применяется для Смол 2 - 5 и 101, которые упомянуты ниже. Результаты приведены в Таблице 2.

[155]

2. В Смоле 2 имеется слой покрытия с гидрофильной смолой в качестве покрытого материала сердцевины (комплексная смола)

[156]

Используют двухшнековый экструдер, и загружают в бункер 40 частей по массе полиэтилена (NOVATEC HJ360 (MFR: 5,5, температура плавления: 132°C, произведен на фирме Japan Polyethylene Corporation) и 40 частей по массе сополимера этилена-винилового спирта (EVAL F104B (MFR: 4,4, температура плавления: 183°C), произведен на фирме Kuraray Co., Ltd.). Сополимер этилена-винилового спирта и полиэтилен подвергают совместной экструзии из выпускного отверстия 2 и выпускного отверстия 3 головки, соответственно, в конфигурации, показанной на фигуре 3, и из полученной комплексной смолы нарезают образцы длиной 3 мм в соответствии с традиционным способом; таким образом, получают Смолу 2, то есть комплексную смолу, в которой сформирован слой покрытия, образованный из полиэтилена.

[157]

Отношение A/B длины A поперечного сечения к длине B поперечного сечения Смолы 2 равно 1,8. Кроме того, средняя длина A равна 0,05 мм; средняя площадь поперечного сечения (поперечное сечение S на фигуре 1) составляет 0,001 мм2; и средняя длина в направлении длинной оси (длина C на фигуре 1) равна 3 мм.

[158]

3. В каждой Смоле 3 - 5 имеется слой покрытия с гидрофильной смолой в качестве покрытого материала сердцевины (комплексная смола)

[159]

Смолы 3 – 5, которые являются комплексными смолами, получают таким же образом, как при получении Смолы 2, которая является комплексной смолой, за исключением того, что изменены длинный диаметр/короткий диаметр выпускного отверстия 2 головки и длинный диаметр/короткий диаметр выпускного отверстия 3 головки в конфигурации, показанной на фигуре 3.

[160]

Отношение A/B длины A поперечного сечения к длине B поперечного сечения полученной Смолы 3 равно 2,4. Кроме того, средняя длина A равна 0,05 мм; средняя площадь поперечного сечения (поперечное сечение S на фигуре 1) составляет 0,0008 мм2; и средняя длина в направлении длинной оси (длина C на фигуре 1) равна 3 мм.

[161]

Отношение A/B длины A поперечного сечения к длине B поперечного сечения полученной Смолы 4 равно 2,7. Кроме того, средняя длина A равна 0,05 мм; средняя площадь поперечного сечения (поперечное сечение S на фигуре 1) составляет 0,0007 мм2; и средняя длина в направлении длинной оси (длина C на фигуре 1) равна 3 мм.

[162]

Отношение A/B длины A поперечного сечения к длине B поперечного сечения полученной Смолы 5 равно 4,6. Кроме того, средняя длина A равна 0,05 мм; средняя площадь поперечного сечения (поперечное сечение S на фигуре 1) составляет 0,0004 мм2; и средняя длина в направлении длинной оси (длина C на фигуре 1) равна 3 мм.

[163]

4. В смоле 101 не содержится слой покрытия и не используется гидрофильная смола

[164]

Смолу 101 получают таким же образом, как при получении Смолы 1, за исключением того, что изменены длинный диаметр/короткий диаметр выпускного отверстия 2 головки и длинный диаметр/короткий диаметр выпускного отверстия 3 головки в конфигурации, показанной на фигуре 3.

[165]

Отношение A/B длины A поперечного сечения к длине B поперечного сечения Смолы 101 равно 1,0. Кроме того, средняя длина A равна 0,05 мм; средняя площадь поперечного сечения (поперечное сечение S на фигуре 1) составляет 0,002 мм2; и средняя длина в направлении длинной оси (длина C на фигуре 1) равна 3 мм.

[166]

Получение резиновой смеси и производство вулканизированной резины

[167]

Получение резиновой смеси

[168]

Используют каждую из Смолы 101 и Смолы 1 - 5, и соответствующие компоненты перемешивают и вымешивают согласно смеси, показанной в таблице 1, и таким образом, получают резиновые смеси Сравнительного примера 1 и Примеров 1 - 5.

[169]

Производство вулканизированной резины

[170]

Каждую полученную резиновую смесь из Примеров и Сравнительного примера подвергают вулканизации при максимальной температуре вулканизации 190°C, и таким образом, получают вулканизированную резину.

[171]

Оценка

[172]

(1) Индекс коэффициента вспенивания

[173]

Измеряют плотность ρ1 (г/м3) образца в форме блока, такого же как при измерении среднего диаметра вспенивания, а также измеряют плотность ρ0 невспененной резины (твёрдая фаза резины), и таким образом, определяют коэффициент вспенивания по следующей формуле:

[174]

Коэффициент вспенивания V = (ρ01 - 1) × 100 (%)

[175]

Коэффициент вспенивания выражают в виде индекса, при этом коэффициент вспенивания в Сравнительном примере 1 принимают за 100.

[176]

(2) Индекс водопоглощающей способности

[177]

На ледяной поверхности вулканизированную резину, полученную дополнительным резанием полученной вулканизированной резины, используя установку для резки, сжимают с силой 150 Ньютон в течение 30 секунд, и рассчитывают количество впитываемой воды по разности массы вулканизированной резины до и после обработки. Количество впитываемой воды выражают в виде индекса, при этом количество впитываемой воды в Сравнительном примере 1 принимают за 100.

[178]

(3) Индекс эксплуатационной характеристики на льду

[179]

Транспортное средство, оснащенное новыми испытуемыми шинами, полученными из каждой резиновой смеси Примеров и Сравнительного примера, передвигается по ровной ледяной дороге, и в тот момент, когда скорость достигает 20 км/час, проводится торможение, чтобы блокировать шины, таким образом, измеряется тормозной путь, пока транспортное средство не остановится.

[180]

Индекс эксплуатационной характеристики на льду выражается в виде индекса, при этом величину, обратную тормозному пути в Сравнительном примере 1 принимают за 100,0. Отмечается, что чем больше величина индекса, тем лучше характеристика торможения на льду.

[181]

Таблица 1

[182]

Натуральный каучук60
Полибутадиеновый каучук40
Технический углерод60
Стеариновая кислота2
Оксид цинка6
Ускоритель вулканизации 1,2
Нерастворимая сера4
Вспенивающий реагент4
Смола (короткие волокна)5
(части по массе)

[183]

Подробности компонентов в таблице 1 приведены ниже.

[184]

Полибутадиеновый каучук: "BR01", цис-1,4-полибутадиен, произведен на фирме JSR Corporation

[185]

Технический углерод: "CARBON N220", произведен на фирме Asahi Carbon Co., Ltd.

[186]

Ускоритель вулканизации: "NOCCELER DM", дисульфид ди-2-бензотиазила, произведен на фирме Ouchi Shinko Chemical Industrial Co., Ltd.

[187]

Вспенивающий реагент: "CELLMIC AN", динитрозопентаметилентетрамин (DPT), произведен на фирме Sankyo Kasei Co., Ltd.

[188]

Таблица 2

[189]

Сравнитель-
ный Пример 1
Пример 1Пример 2Пример 3Пример 4Пример 5
Смола
(короткие волокна)
Размерное отношение, A/B1,01,81,82,42,74,6
Гидрофильная смоланетнетестьестьестьесть
Вид смолыСмола 101Смола 1Смола 2Смола 3Смола 4Смола 5
ОценкаИндекс
коэффициента вспенивания
1009999101100100
Индекс
коэффициента водопоглощения
100109121132138132
Индекс эксплуата-ционной характе-ристики на льду 100,0101,0107,8111,3114,5112,6

[190]

Как видно из таблицы 2, все вулканизированные резины из Примеров, полученные с использованием, в качестве коротких волокон смолы, плоской смолы, имеющей размерное отношение (длина A/длина B) больше, чем 1, обладали более высокой водопоглощающей способностью, чем вулканизированная резина Сравнительного примера, полученная с использованием, в качестве коротких волокон смолы, коротких волокон смолы, имеющих размерное отношение (A/B) равное 1,0, причем шины из Примеров обладали отличной эксплуатационной характеристикой на льду.

[191]

Вырезают образец в форме блока из протекторной резины испытуемой шины, полученной при оценке индекса эксплуатационной характеристики на льду, фотографируют поперечное сечение образца под оптическим микроскопом при увеличении от 100 до 400, и измеряют длинные оси и короткие оси для 200 (или больше) полостей. В результате большая часть всех исследованных полостей являются плоскими полостями, имеющими отношение M/N больше, чем 1.

[192]

Кроме того, отмечается, что вулканизированные резины из Примеров 2 – 5, полученные с использованием коротких волокон смолы, которые представляют собой комплексные смолы, использующие гидрофильную смолу и покрытые смолой с низкой температурой плавления, короткие волокна смолы, имеющие размерное отношение (A/B) больше, чем 1, обладают более высокой водопоглощающей способностью и лучшей эксплуатационной характеристикой на льду, чем показатели вулканизированной резины из Примера 1, благодаря синергетическому эффекту между размерным отношением поперечного сечения плоской формы и наружной поверхностью стенки гидрофилизированной полости.

[193]

Перечень указанных позиций

[194]

a: Направление длинной оси в поперечном сечении, перпендикулярном направлению длинной оси короткого волокна смолы

[195]

b: Направление длинной оси короткого волокна смолы

[196]

S: Поперечное сечение перпендикулярно направлению длинной оси короткого волокна смолы

[197]

A: Длина поперечного сечения в направлении длинного диаметра сечения в поперечном сечении, перпендикулярном направлению длинной оси короткого волокна смолы

[198]

B: Длина короткого диаметра поперечного сечения в направлении, перпендикулярном направлению длинного диаметра сечения в поперечном сечении, перпендикулярном направлению длинной оси

[199]

C: Длина в направлении длинной оси короткого волокна смолы

[200]

D1: Короткое волокно смолы настоящего изобретения

[201]

D2: Короткое волокно смолы настоящего изобретения

[202]

D3: Традиционное короткое волокно смолы

[203]

d1: Форма поперечного сечения полости, образованной из короткого волокна смолы D1

[204]

d2: Форма поперечного сечения полости, образованной из короткого волокна смолы D2

[205]

d3: Форма поперечного сечения полости, образованной из короткого волокна смолы D3

[206]

e1: Направление длинной оси коротких волокон смолы D1, D2 и D3

[207]

e2: Поверхность среза вулканизированной резины

[208]

M: Длина поперечного сечения в направлении длинного диаметра сечения в поперечном сечении, перпендикулярном направлению длинной оси в полости, образованной из короткого волокна смолы

[209]

N: Длина короткого диаметра поперечного сечения в направлении, перпендикулярном направлению длинного диаметра сечения в полости, образованной из короткого волокна смолы

[210]

S': Поперечное сечение, перпендикулярное направлению длинной оси плоской полости, образованной из короткого волокна смолы

[211]

P: Наибольшая длина несимметричной полости, образованной из комплексного короткого волокна смолы

[212]

Q: Наименьшая длина по ширине несимметричной полости, образованной из комплексного короткого волокна смолы

[213]

1: Головка двухшнекового экструдера

[214]

2: Выпускные отверстия головки для гидрофильной смолы

[215]

3: Выпускные отверстия головки для смолы, имеющей сродство к каучуковому компоненту.

Как компенсировать расходы
на инновационную разработку
Похожие патенты