Изобретение относится к области устройств для бритья. Бритвенный станок содержит корпус для фиксации лезвий, каркас для крепления кассеты с лезвиями и кассету с лезвиями. Бритвенный станок снабжен рычагом изменения угла наклона лезвий, фиксаторами хода рычага, валом натяжителя, проволочным натяжителем и подвижными фиксаторами лезвия, выполненными с рычагом, одним концом жестко прикрепленным к валу подвижных фиксаторов лезвий, и валом подвижных фиксаторов лезвий. Корпус для фиксации лезвий выполнен с полостью хода рычага. Рычаг изменения угла наклона, фиксаторы хода рычага и вал натяжителя расположены в боковой внешней части корпуса внутри полости хода рычага. Проволочный натяжитель рычага зафиксирован посредством крепления в нижней части рычага изменения угла наклона лезвий. Каждое лезвие соединено с рычагом изменения угла наклона лезвий через проволочные натяжители и подвижные фиксаторы лезвий. Второй конец рычага соединен с боковой стенкой каркаса для крепления кассеты с лезвиями. Техническим результатом изобретения является обеспечение безопасности бритья. 5 з.п. ф-лы, 6 ил.
1. Бритвенный станок, содержащий корпус для фиксации лезвий, каркас для крепления кассеты с лезвиями, кассету с лезвиями, отличающийся тем, что он снабжен рычагом изменения угла наклона лезвий, фиксаторами хода рычага, валом натяжителя, проволочным натяжителем и подвижными фиксаторами лезвия, выполненными с рычагом, одним концом жестко прикрепленным к валу подвижных фиксаторов лезвий, и валом подвижных фиксаторов лезвий, корпус для фиксации лезвий выполнен с полостью хода рычага, при этом рычаг изменения угла наклона, фиксаторы хода рычага и вал натяжителя расположены в боковой внешней части корпуса внутри полости хода рычага, проволочный натяжитель рычага зафиксирован посредством крепления в нижней части рычага изменения угла наклона лезвий, каждое лезвие соединено с рычагом изменения угла наклона лезвий через проволочные натяжители и подвижные фиксаторы лезвий, а второй конец рычага соединен с боковой стенкой каркаса для крепления кассеты с лезвиями. 2. Бритвенный станок по п. 1, отличающийся тем, что проволочные натяжители крепятся к лезвиям посредством крепления проволочного натяжителя и подвижных фиксаторов лезвий. 3. Бритвенный станок по п. 1, отличающийся тем, что проволочные натяжители огибают вал натяжителя и крепятся к рычагу изменения угла наклона лезвий посредством крепления проволочного натяжителя рычага. 4. Бритвенный станок по п. 1, отличающийся тем, что полость хода рычага включает более двух фиксаторов хода рычага с возможностью обеспечения более двух фиксированных положений угла наклона лезвий бриты. 5. Бритвенный станок по любому из пп. 1-3, отличающийся тем, что проволочные натяжители выполнены из проволоки, устойчивой к воздействию воды. 6. Бритвенный станок по любому из пп. 1-3, отличающийся тем, что проволочные натяжители выполнены в виде нитей из полиэфирных, полипропиленовых, алифатических, полиамидных, поливинилспиртовых и гидратцеллюлозных волокон.
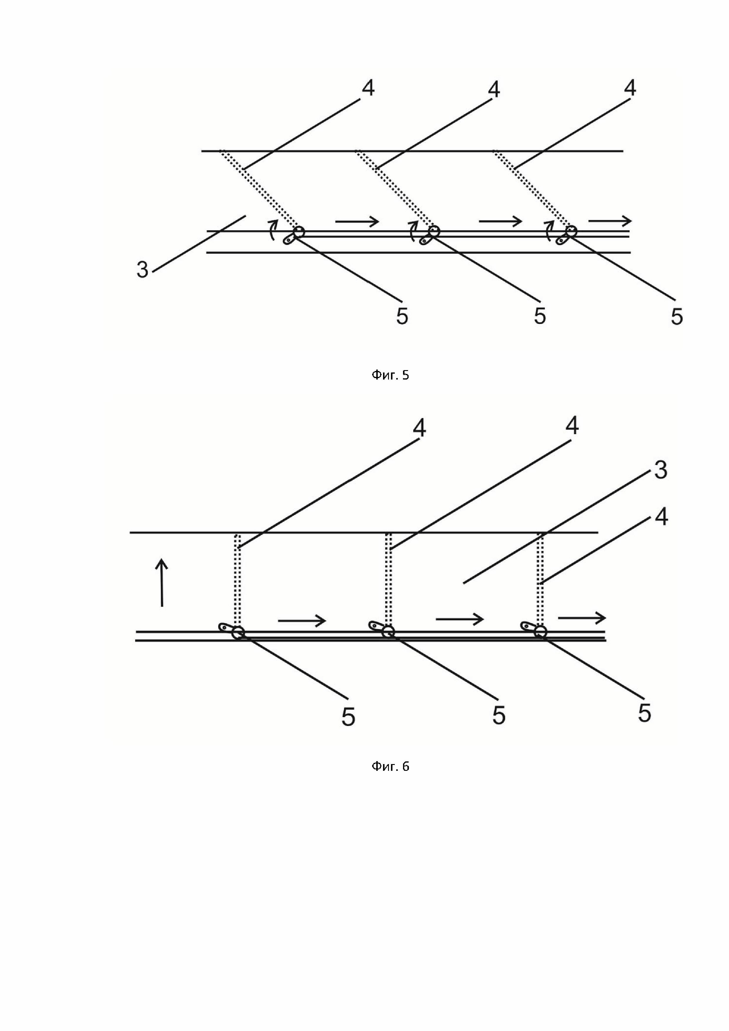
Изобретение относится к режущим устройствам и может быть использовано для бритья [B26B 21/40]. Из уровня техники известен БРИТВЕННЫЙ СТАНОК С КРЫЛОВИДНЫМ ОБРАМЛЕНИЕМ СРЕДСТВА ДЛЯ БРИТЬЯ [RU 2424109 С2, опубл. 20.07.2011 г.], содержащий рукоятку, имеющую проксимальный и дистальный концы, одноразовый бритвенный картридж, установленный на проксимальном конце рукоятки и который содержит лезвийный блок, содержащий бритвенное лезвие, держатель средства для бритья, присоединенный к лезвийному блоку и содержащий корпус, окружающий лезвийный блок, причем корпус имеет передний и задний края, центральную опору, соединенную с одним или обоими из упомянутых переднего и заднего краев корпуса, правое крыло и левое крыло, причем оба крыла упруго присоединены к центральной опоре, при этом по меньшей мере на одном из крыльев держателя размещена по меньшей мере одна порция твердого средства для бритья, а упомянутые правое крыло и левое крыло выполнены с возможностью отклонения в ответ на приложенное усилие в направлении этого усилия. Недостатками данного аналога являются: - высокая конструктивная сложность, из-за наличия дополнительных конструктивных элементов в виде правого крыла и левого крыла, которые присоединены к центральной опоре, и в процессе бритья постоянно находятся в движении; - низкая надежность, в связи с тем, что после использования держателя средства для бритья, остатки средства для бритья с высокой долей вероятности останутся на конструктивных элементах изделия, что ведет к ускоренному износу лезвий для бритья, их стачиванию, а также возникновению коррозии на центральной опоре; - высокий расход средства для бритья, возникающий вследствие того, что подача средства осуществляется в устройстве автоматически при каждом нажатии, даже если его подача уже не требуется. Также из уровня техники известен БРИТВЕННЫЙ КАРТРИДЖ С НЕРЕЖУЩИМ ЭЛЕМЕНТОМ [RU 2523198 С2, опубл. 20.07.2014 г.], содержащий: массив бритвенных лезвий, содержащий два или более бритвенных лезвий, каждое из которых содержит режущую кромку; по меньшей мере один нережущий элемент; раму, имеющую множество пазов или проемов для расположения в них упомянутых двух или более лезвий и упомянутого по меньшей мере одного нережущего элемента, при этом каждое из упомянутых двух или более бритвенных лезвий и упомянутый по меньшей мере один нережущий элемент расположены в индивидуальном пазу или проеме, причем упомянутый по меньшей мере один нережущий элемент расположен внутри массива бритвенных лезвий. Недостатками данного аналога являются: - низкая долговечность устройства в связи с тем, что из-за конструктивных особенностей аналога в зазорах между нережущим элементом и лезвиями бритвы со временем накапливается мыльно-щетинная смесь, что приводит к сокращению срока эксплуатации устройства; - низкое качество бритья при наличии густой щетины, из-за наличия дополнительного нережущего элемента, вместо режущего снижается эффективность бритья в случае интенсивного использования для удаления густых и длинных волос на щетине. Наиболее близким по технической сущности является БРИТВЕННЫЙ СТАНОК С ИЗМЕНЯЕМЫМ УГЛОМ НАКЛОНА ЛЕЗВИЯ [RU170017U1, опубл. 11.04.2017 г.], содержащий кассету с лезвиями, шарнирно соединенную с ручкой станка с возможностью изменения угла наклона кассеты путем ее поворота вокруг оси и фиксации в заданном положении, отличающийся тем, что ручка снабжена полым цилиндром, выполненным с одной стороны с зубцами и трубкой, выполненной с резьбой на внутренней поверхности, причем полый цилиндр выполнен в передней части с меньшим диаметром, а трубка расположена в ней, при этом в полом цилиндре установлена пружина, расположенная на трубке с упором с одной стороны в часть с меньшим диаметром полого цилиндра, а с противоположной стороны – в шляпку шурупа, вкрученного в трубку, при этом кассета с лезвиями выполнена с зубцами, соответствующими зубцам полого цилиндра и расположенными в контакте с ними. Основной технической проблемой прототипа является низкая безопасность процесса бритья из-за того, что при изменении угла наклона лезвий меняется их высота выпирания относительно корпуса бритвы, таким образом на боковых краях острой части лезвия образуются острые выпирающие углы. В связи с этим повышается вероятность того, что в процессе бритья пользователь бритвы нанесет дополнительные повреждения кожи выпирающими острыми углами лезвия бритвы. Данная особенность существенно увеличивает вероятность возникновения порезов при использовании устройства, а также снижает удобство использования изделия. Задачей изобретения является устранение недостатков прототипа. Техническим результатом изобретения является обеспечение безопасности бритья. Указанный технический результат достигается за счет того, что бритвенный станок, содержащий корпус для фиксации лезвий, каркас для крепления кассеты с лезвиями, кассету с лезвиями, отличающийся тем, что он снабжен рычагом изменения угла наклона лезвий, фиксаторами хода рычага, валом натяжителя, проволочным натяжителем и подвижными фиксаторами лезвия, выполненными с рычагом, одним концом жестко прикрепленным к валу подвижных фиксаторов лезвий, и валом подвижных фиксаторов лезвий, корпус для фиксации лезвий выполнен с полостью хода рычага, при этом рычаг изменения угла наклона, фиксаторы хода рычага и вал натяжителя расположены в боковой внешней части корпуса внутри полости хода рычага, проволочный натяжитель рычага зафиксирован посредством крепления в нижней части рычага изменения угла наклона лезвий, каждое лезвие соединено с рычагом изменения угла наклона лезвий через проволочные натяжители и подвижные фиксаторы лезвий, а второй конец рычага соединен с боковой стенкой каркаса для крепления кассеты с лезвиями. В частности, проволочные натяжители крепятся к лезвиям посредством крепления проволочного натяжителя и подвижных фиксаторов лезвий. В частности, проволочные натяжители огибают вал натяжителя и крепятся к рычагу изменения угла наклона лезвий посредством крепления проволочного натяжителя рычага. В частности, полость хода рычага включает более двух фиксаторов хода рычага с возможностью обеспечения более двух фиксированных положений угла наклона лезвий бриты. В частности, проволочные натяжители выполнены из проволоки, устойчивой к воздействию воды. В частности, проволочные натяжители выполнены в виде нитей из полиэфирных, полипропиленовых, алифатических, полиамидных, поливинилспиртовых и гидратцеллюлозных волокон. Краткое описание чертежей. На фиг. 1 представлен общий вид станка бритвенного в первом зафиксированном положении. На фиг. 2 представлен общий вид станка бритвенного во втором зафиксированном положении. На фиг. 3 представлен вид механизма изменения угла наклона лезвия в первом зафиксированном положении. На фиг. 4 представлен вид механизма изменения угла наклона лезвия во втором зафиксированном положении. На фиг. 5 представлен вид подвижных фиксаторов лезвий, лезвий и боковой стенки каркаса для крепления кассеты с лезвиями в первом зафиксированном положении. На фиг. 6 представлен вид подвижных фиксаторов лезвий, лезвий и боковой стенки каркаса для крепления кассеты с лезвиями во втором зафиксированном положении. На фигурах обозначено: 1 – ручка станка, 2 – корпус для фиксации лезвий, 3 – каркас для крепления кассеты с лезвиями, 4 – лезвия, 5 – подвижные фиксаторы лезвий, 6 – рычаг изменения угла наклона лезвий, 7 – полость хода рычага, 8 – проволочные натяжители, 9 – крепление проволочного натяжителя рычага, 10 – крепление проволочного натяжителя лезвия, 11 – фиксаторы хода рычага, 12 – вал натяжителя. Осуществление изобретения Бритвенный станок содержит ручку станка 1, которая соединена с корпусом для фиксации лезвий 2, по бокам, в левой и правой части которого вмонтирован каркас для крепления для кассеты с лезвиями 3, внутрь которого вмонтированы лезвия 4 образующие кассету с лезвиями. При этом лезвия 4 крепятся к каркасу для крепления для кассеты с лезвиями 3 посредством подвижных фиксаторов лезвий 5. При этом подвижные фиксаторы лезвий 5 имеют рычаг, один конец которого жестко прикреплен к валу подвижных фиксаторов лезвий 5, второй конец соединен с боковой стенкой каркаса для крепления кассеты с лезвиями 3. В правой боковой внешней части корпуса для фиксации лезвий 2 расположены рычаг изменения угла наклона лезвий 6 и полость хода рычага 7, причем рычаг изменения угла наклона лезвий 6 располагается внутри полости хода рычага 7. При этом рычаг изменения угла наклона лезвий 6 соединен с каждым лезвием 4 посредством проволочных натяжителей 8. При этом с проволочные натяжители 8 фиксируется к рычагу изменения угла наклона лезвий 6 посредством крепления проволочного натяжителя рычага 9. Также проволочные натяжители 8 фиксируется к каждому лезвию 4 посредством креплений проволочного натяжителя лезвий 10. Внутри полости хода рычага 7 на левой и правой боковых стенках расположены фиксаторы хода рычага 11, а на одинаковом расстоянии от левого и правого края валы натяжителей 12. Бритвенный станок используют следующим образом. Первоначально ручку станка 1 соединяют с корпусом для фиксации лезвий 2, внутри корпуса для фиксации лезвий 2 монтируют каркас для крепления кассеты с лезвиями 3, в правой и левой части которого располагают подвижные фиксаторы лезвий 5, соединённые через рычаг с боковыми стенками каркаса для крепления кассеты с лезвиями 3. При этом количество подвижных фиксаторов лезвий 5 с каждой стороны соответствует количеству лезвий 4 для бритья. Далее в каркас для крепления кассеты с лезвиями 3 подвижными фиксаторами лезвий 5 крепят сменяемые кассеты с лезвиями 4. Далее в правой внешней боковой части корпуса для фиксации лезвий 2 делают полость хода рычага 7, в которой размещают рычаг изменения угла наклона лезвий 6, фиксаторы хода рычага 11, по количеству возможных состояний фиксированного угла наклона лезвий, и вал натяжителя 11, который располагают под первым местом фиксированного состояния рычага изменения угла наклона лезвий 6, которое характеризуется минимальным углом лезвий по отношению к плоскости каркаса для крепления кассеты с лезвиями 3. У основания рычага изменения угла наклона лезвий 6 крепят крепление проволочного натяжителя рычага 9, к которому прикрепляют проволочные натяжители 8, далее проволочные натяжители 8 крепят к каждому подвижному фиксатору лезвий 5, при этом крепление выполняют так, чтобы между креплением проволочного натяжителя рычага 9 и креплениями проволочного натяжителя лезвия 10 образовался достаточный уровень натяжения без возможности провисания. При этом система проволочных натяжителей может производиться из проволоки малого диаметра устойчивой к воздействию воды, либо из высокопрочных нитей. При использовании устройства, первоначально рычаг изменения угла наклона лезвий 6 находится в первом фиксированном положении, когда лезвия 4 имеют минимальный угол, относительно плоскости каркаса для крепления кассеты с лезвиями 3, для возможности максимально комфортного осуществления бритья. При этом боковые стенки каркаса для крепления кассеты с лезвиями 3 находятся на уровне по высоте, соответствующей высоте лезвий выпирающих из корпуса для фиксации лезвий 2. Таким образом боковые стенки каркаса для крепления кассеты с лезвиями 3 обеспечивают отсутствие выпирающих острых краев лезвия бритвы. В ходе процесса бритья, либо после его окончания, когда пространство между лезвиями 4 забивается мыльно-щетинной смесью, которую невозможно промыть или вытряхнуть, вследствие малого угла наклона лезвий, пользователь устройства надавливает на рычаг изменения угла наклона лезвий 7 большим либо средним пальцем руки, преодолевая тем самым силу сопротивления, которую создают фиксаторы хода рычага 10. Далее рычаг изменения угла наклона лезвий 6 переходит в следующее фиксированное состояние и через проволочные натяжители 8 и через вал натяжителя 12, создается дополнительная сила натяжения, которая, через крепления проволочных натяжителей лезвий 10 и подвижные фиксаторы лезвий 5, передается на лезвия 4, тем самым реализуя изменение угла их наклона. Также благодаря наличию рычага на подвижных фиксаторах лезвий 5, второй конец которого соединен с боковой стенкой каркаса для крепления кассеты с лезвиями 3, осуществляется поднимание стенок каркаса для крепления кассеты с лезвиями 3 до уровня, который обеспечит отсутствие выпирающих острых углов лезвий для бритья. Таким образом, при изменении угла наклона лезвий автоматически реализуется поднимание или опускание стенок каркаса для крепления кассеты с лезвиями 3 до такого уровня, который с одной стороны обеспечивает отсутствие выпирания острых углов лезвия по бокам корпуса для фиксации лезвий 2, с другой стороны не будет превышать высоты подъема лезвий. Изменение угла наклона лезвий 4 и соответственно высоты боковых стенок каркаса для крепления кассеты с лезвиями 3, от острого к большему произвольному углу, вплоть до прямого с помощью проволочных натяжителей 8 и рычага изменения угла наклона лезвий 6 увеличивает расстояние между пластинами и позволяет легко промывать и вытряхивать мыльно-щетинную смесь. При этом после промывки и чистки пользователь может снова изменить угол наклона лезвий 4 на комфортный для бритья уровень, путем механического воздействия пальцем на рычаг изменения угла наклона лезвий 6, в соответствии с этим изменится и высота стенок каркаса для крепления кассеты с лезвиями 3, и продолжить бритье. Также конструкцией изделия предусмотрено, что полость хода рычага 7 имеет более двух фиксаторов хода рычага 11. Количество фиксаторов хода рычага 11определяет количество фиксированных положений угла наклона лезвий 4. В соответствии с изменением количества фиксированных значений возможного угла наклона лезвий 4, могут быть последовательно установлены дополнительные валы натяжителя 12, для увеличения надежности конструкции. Вариантом конструкции изделия предусмотрено использование проволочных натяжителей, выполненных из проволоки малого диаметра устойчивой к воздействию воды, а также процессам окисления и коррозии, например нержавеющей проволоки. Вариантом конструкции изделия предусмотрено использование проволочных натяжителей, выполненных из высокопрочных нитей, например нитей из полиэфирных, полипропиленовых, алифатических, полиамидных, поливинилспиртовых, гидратцеллюлозных волокон. Заявленная конструкция станка бритвенного увеличивает удобство очистки межлезвийных зазоров благодаря тому, что вместе с углом наклона лезвий 4, изменяется расстояние между ними, что способствует эффективному удалению мыльно-щетинной смеси. Кроме того, увеличивается срок службы изделия благодаря тому, что после окончания бритья на труднодоступных участках лезвий (например, в местах их крепления к каркасу 3) исключается возможность остатка мыльно-щетинной смеси, которая со временем может привести к окислению и деформации лезвий 4 и других функциональных элементов устройства. Технический результат изобретения обеспечение безопасности бритья достигается за счет того, что подвижные фиксаторы лезвий 5 имеют рычаг, один конец которого жестко прикреплен к валу подвижных фиксаторов лезвий 5, второй конец соединен с боковой стенкой каркаса для крепления кассеты с лезвиями 3. Изменение угла наклона лезвий и высоты стенок каркаса для крепления кассеты с лезвиями 3 осуществляется за счет механического воздействия пальцем пользователя на рычаг изменения угла наклона лезвий 6. При этом каждое лезвие 4 соединено с рычагом изменения угла наклона лезвий 6 через проволочные натяжители 8 и подвижные фиксаторы лезвий 5. Из-за того, что заявленное техническое решение позволяет осуществлять процессы изменения угла наклона лезвий и высоты стенок каркаса одновременно, исключается возможность выпирания острых углов лезвий 4 из стенок каркаса для крепления кассеты с лезвиями 3, что исключает возможность возникновения порезов и повреждения кожи выпирающими острыми углами лезвия бритвы 4 в процессе бритья. Пример достижения технического результата При осуществлении бритья пользователь посредством механического воздействия пальцем на рычаг изменения угла наклона лезвий 6, выставляет необходимый угол наклона лезвий 4. Одновременно с процессом изменения угла наклона лезвий 4, согласно конструкции изделия, происходит изменение высоты боковых стенок каркаса 3 лезвий 4. Причем высота боковых стенок каркаса 3 становится равной высоте выпирания лезвий 4. Таким образом, за счет выпячивания боковых стенок каркаса 3 лезвий 4 пользователь обеспечит защиту кожного покрова от ранения острыми торцами лезвий 4, которые при любом угле наклона прикрыты боковыми стенками каркаса 3, и за счет этого достигается заявленный технический результат.