патент
№ RU 2758422
МПК F27B3/08

Дуговая сталеплавильная печь с конвейерной загрузкой шихты

Авторы:
Макаров Анатолий Николаевич
Номер заявки
2021105278
Дата подачи заявки
01.03.2021
Опубликовано
28.10.2021
Страна
RU
Как управлять
интеллектуальной собственностью
Чертежи 
1
Реферат

Изобретение относится к черной металлургии, а именно к устройствам дуговых сталеплавильных печей. Печь содержит корпус, образованный металлической оболочкой с расположенными на ней водоохлаждаемыми панелями стен и футерованным подом с отверстием для слива металла, свод, установленные над корпусом сводовые электроды, проем в корпусе между водоохлаждаемыми панелями, в который встроен туннель с горизонтальным загрузочным конвейером. Туннель расположен с наклоном вверх под углом 3-7° к горизонтальному загрузочному конвейеру. Изобретение позволяет снизить удельный расход электроэнергии на 40-60 кВт⋅ч/т, время плавки и повысить производительность дуговой сталеплавильной печи. 2 ил.

Формула изобретения

Дуговая сталеплавильная печь с конвейерной загрузкой шихты, содержащая корпус, образованный металлической оболочкой с расположенными на ней водоохлаждаемыми панелями стен и футеровкой пода с отверстием для слива металла, свод, установленные над корпусом свода электроды, проем в корпусе между водоохлаждаемыми панелями, в который встроен туннель с горизонтальным загрузочным конвейером, отличающаяся тем, что туннель расположен с наклоном вверх под углом 3-7° к горизонтальному загрузочному конвейеру.

Описание

[1]

Изобретение относится к черной металлургии, а именно к устройствам дуговых сталеплавильных печей.

[2]

Известна дуговая сталеплавильная печь, содержащая корпус, образованный металлической оболочкой с расположенными на ней водоохлаждаемыми панелями стен и футеровкой пода, отверстие для слива металла, свод, установленный над корпусом, сводовые электроды, шахту для нагрева шихты до 500-600°С (RU, №2634105, МПК С21С 5/52, 2017 г.).

[3]

Однако для вышеуказанного устройства характерен большой угар шихты, составляющий 7,5-12% при подогреве лома до 500-600°С в шихте и образование диоксидов и фуранов, которые необходимо дожигать за счет применения дополнительных грелок мощностью 20-22 МВт, что значительно увеличивает расход тепловой энергии.

[4]

Прототипом изобретения является дуговая сталеплавильная печь, содержащая корпус, образованный металлической оболочкой с расположенными на ней водоохлаждаемыми панелями стен и футеровкой пода с отверстием для слива металла, свод, установленные над корпусом сводовые электроды, проем в корпусе между водоохлаждаемыми панелями в который встроен туннель с горизонтальным загрузочным конвейером (Шакиров З.Х., Шумаков A.M., Урюпин Г.П., Зиннуров И.Ю., Запольских А.А. Особенности технологии выплавки стали в электропечи ДСП-120 Consteel и пути ее совершенствования. Электрометаллургия, 2013, №9, С. 2-7).

[5]

Однако прототипу свойственна низкая температура нагрева шихты на конвейере излучением отходящих газов газохода при отсутствии конвективного теплообмена газов с шихтой. Нагрев шихты на каждые 100°С снижает удельный расход электроэнергии на 20 кВт⋅ч/т.

[6]

Под действием тягодутьевой установки газы, температурой 1200-1500°С, из печи устремляются в газоход, занимая верхнюю и среднюю, свободную от шихты, часть газохода. Газы в газоходе движутся в свободном пространстве между верней частью шихты и верхней водоохлаждаемой или футерованной частью газохода. При таком движении только нижний слой отходящих газов соприкасается с шихтой и конвективный теплообмен незначителен, нагрев шихты осуществляется в результате теплового излучения газов. При незначительном конвективном и преимущественно лучистом теплообмене эффективность нагрева шихты отходящими газами низкая, и газы, температурой 1200-1500°С, нагревают шихту до 150-200°С, в результате чего, увеличивается удельный расход электроэнергии и время плавки, снижается производительность печей.

[7]

Технической проблемой изобретения является разработка конструкции дуговой сталеплавильной печи, обеспечивающей повышение температуры нагрева шихты на 200-300°С до 400-450°С.

[8]

Техническим результатом изобретения является снижение удельного расхода электроэнергии на 40-60 кВт⋅ч/т, времени плавки, повышение производительности дуговых сталеплавильный печей.

[9]

Поставленная задача и указанный технический результат достигается тем, что дуговая сталеплавильная печь, содержащая корпус, образованный металлической оболочкой с расположенными на ней водоохлаждаемыми панелями стен и футерованным подом с отверстием для слива металла, свод, установленные над корпусом сводовые электроды, проем в корпусе между водоохлаждаемыми панелями в который встроен туннель с горизонтальным загрузочным конвейером. Согласно изобретению туннель расположен с наклоном вверх под углом 3-7° к горизонтальному загрузочному конвейеру.

[10]

Установка туннеля с наклоном вверх под углом 3-7° к горизонтальному загрузочному конвейеру позволяет увеличить конвективную составляющую теплообмена, увеличить суммарный конвективный и лучистый теплообмен. Длина обогреваемой части конвейера от проема печи до камеры дожигания составляет 30 м. Так как, конвейер с шихтой заполняет верхнюю часть проема в печи, то отходящие газы направляются в нижнюю часть проема печи. Перед камерой дожигания отходящих газов пол туннеля вплотную примыкает к нижней части конвейера, блокируя проход газов в камеру дожигания из нижней части туннеля, принуждая газы проходить через слои шихты и устремляться в верхнюю часть конвейера. Под действием тяги дутьевой установки, газы проходят через слои шихты на конвейере, отдавая шихте конвекцией тепловую энергию. После прохождения шихты газы движутся над шихтой, продолжая отдавать шихте тепловую энергию путем излучения. В результате этого, теплообмен между газами и шихтой интенсифицируется, коэффициент теплоотдачи возрастает в 1,8-2,2 раза, а температура шихты при этом возрастает до 400-450°С, что способствует снижению времени плавки.

[11]

При установке туннеля с наклоном вверх под углом, большим 3-7° к горизонтальному загрузочному конвейеру, точка пересечения пола туннеля и конвейера сместится за 8-10 метров до камеры дожигания, что конструктивно невозможно.

[12]

При установке тоннеля с наклоном вверх под углом, меньшим 3-7° к горизонтальному загрузочному конвейеру между полом туннеля и нижней частью конвейера возникнет зазор и отходящие газы устремятся через этот зазор в камеру дожигания, минуя шихту и коэффициент теплоотдачи и эффективность теплообмена снизятся, температура шихты уменьшится, удельный расход электроэнергии и время плавки увеличится.

[13]

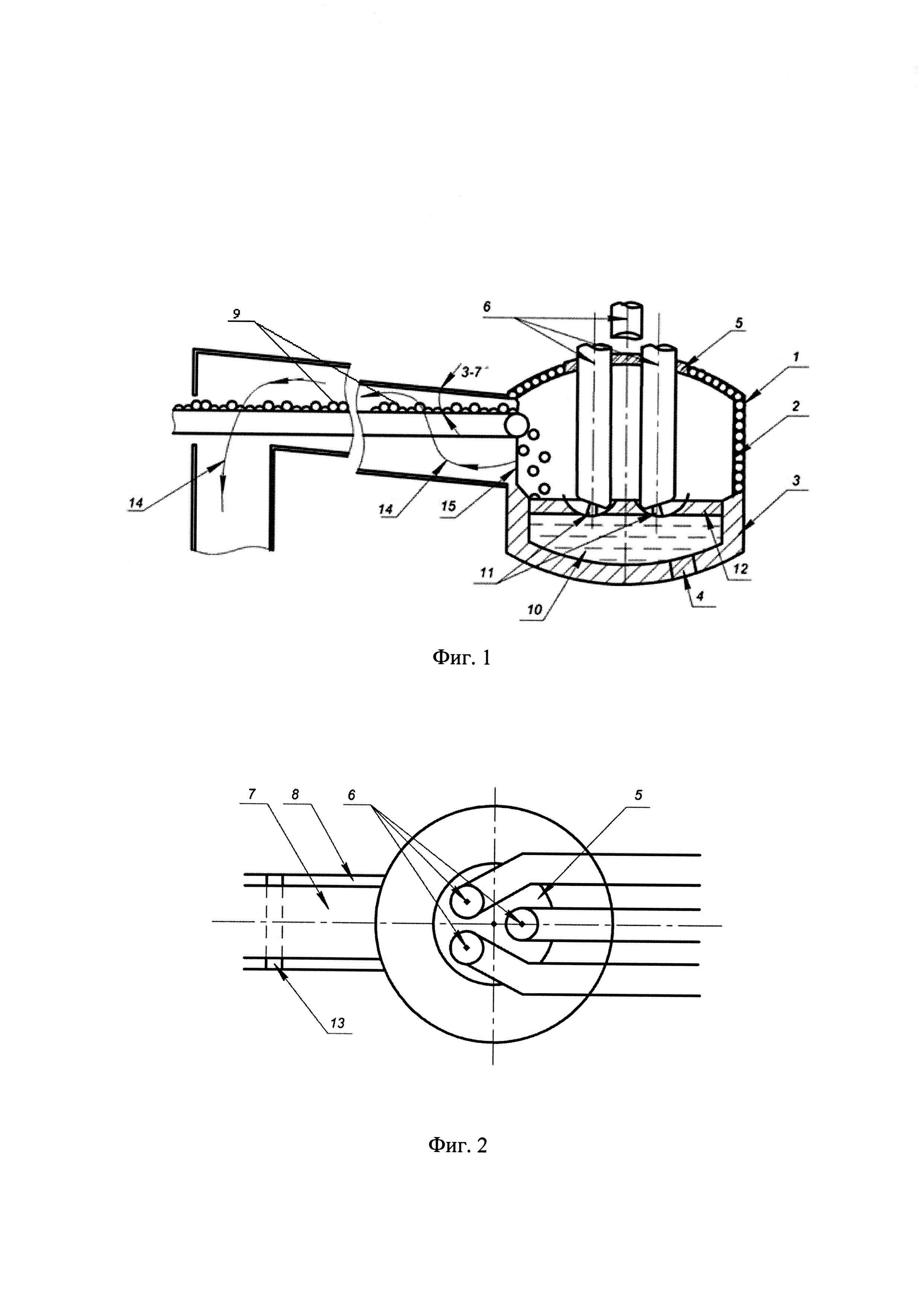
Дуговая сталеплавильная печь с конвейерной загрузкой шихты представлена на чертежах, где на фиг. 1 - печь, вид спереди в разрезе; на фиг. 2 - печь, вид сверху.

[14]

Устройство содержит корпус 1, образованный металлической оболочкой с расположенными на ней водоохлаждаемыми панелями стен 2 и футерованным подом 3, отверстием для слива металла 4, свод 5, вертикально расположенные сводовые электроды 6, горизонтальный загрузочный конвейер 7, туннель 8. На конвейере расположена шихта 9. На футерованном поде 3 находится ванна жидкого металла 10. Между ванной жидкого металла 10 и электродами 6 расположены электрические дуги 11, покрытые шлаком 12. В конце туннеля 8 находится камера дожигания 13. Отходящие газы 14 находятся в рабочем пространстве устройства между водоохлаждаемыми панелями стен 2, свода 5 и ванной жидкого металла 10, в проеме 15, в туннеле 8, камере дожигания 13.

[15]

Устройство работает следующим образом. Сводовые электроды 6 опускают до жидкого металла 10, между электродами 6 и жидким металлом 10 загораются электрические дуги 11. При горении электрических дуг 11 жидкий металл 10 испаряется, образуются пары металлов, отходящие горячие газы 14, которые через проем 15, под действием тягодутьевой установки устремляются в туннель 8. Горячие газы 14 движутся через отверстия в звеньях конвейера 7, омывая своим течением расположенную на конвейере 7 шихту 9. Горячие газы 14 проходят через пустоты между кусками шихты 9 и нагревая ее путем конвективного теплообмена. После прохождения слоев шихты 9 горячие газы 14 заполняют пространство между потолком туннеля 8 и шихтой 9 на конвейере и продолжают двигаться под действием тяго дутьевой установки, в камеру дожигания 13, излучая тепло на шихту 9. Температура отходящих газов 14 при отсутствии продувки ванны жидкого металла 10 кислородом составляет 1200-1300°С и расположенная на конвейере 7 шихта 9 путем конвективного и лучистого теплообмена отходящих газов 14 нагревается до температуры 400-450°С. Нагретая шихта 9 перемещается конвейером 7 к проему 15 в корпусе 1 устройства и поступает в ванну жидкого металла 10. В ванне жидкого металла 10, под действием тепла электрических дуг 11 шихта 9 расплавляется. Конвейер 7 подает шихту 9 в ванну жидкого металла 10 с постоянной скоростью, при которой электрические дуги 11 синхронно со скоростью конвейера 7 расплавляют шихту 9. При синхронной скорости подачи шихты 9 конвейером 7 и скорости плавления шихты 9 электрическими дугами 11 процесс плавления шихты 9 протекает стабильно и на дне ванны жидкого металла 10 не скапливается шихта 9.

[16]

В период продувки ванны жидкого металла 10 кислородом, объем отходящих газов 14 увеличивается, температура отходящих газов 14 увеличивается до 1500°С, скорость нагрева шихты 9 на конвейере 7 до температуры 400-450°С увеличивается. Так как, шихта 9 на конвейере 7 в период продувки ванны жидкого металла 10 кислородом нагревается до температуры 400-450°С за меньшее время, то скорость перемещения шихты 9 на конвейере 7 увеличивается, в результате чего возрастает производительность устройства. После окончания продувки ванны жидкого металла 10 кислородом, объем и температура отходящих газов 14 уменьшаются и скорость перемещения шихты 9 на конвейере 7 снижается. Процесс нагрева и расплавления шихты 9 продолжается до заполнения всего объема ванны жидким металлом 10, определяемого вместимостью устройства. После наполнения ванны жидким металлом 10 электрические дуги 11 отключают, электроды 6 поднимают и осуществляют выпуск жидкого металла 10 в ковш через отверстие для слива металла 4. К окончанию выпуска жидкого металла 10, покрытого слоем шлака 12, 30-40% жидкого металла 10 оставляют в ванне, после чего цикл нагрева и расплавления шихты 9 повторяется.

[17]

Предлагаемое устройство позволяет достичь следующих результатов: повышение температуры нагрева шихты на 200-300°С до 400-450°С, снижение удельного расхода электроэнергии на 40-60 кВт⋅ч/т и, как следствие, снижение времени плавки и повышение производительности. Изобретение находится на стадии технического предложения.

Как компенсировать расходы
на инновационную разработку
Похожие патенты