патент
№ RU 2757337
МПК B01J2/16

ФОРСУНКА ДЛЯ ПРОИЗВОДСТВА КАРБАМИДНО-СЕРНОГО УДОБРЕНИЯ

Авторы:
КРАВЧИК, Томас (DE) ПОТХОФФ, Маттиас (DE) ВАНМАРКЕ, Люк Альберт (BE)
Все (4)
Правообладатель:
Все (2)
Номер заявки
2020141074
Дата подачи заявки
07.06.2019
Опубликовано
13.10.2021
Страна
RU
Дата приоритета
16.12.2025
Номер приоритета
Страна приоритета
Как управлять
интеллектуальной собственностью
Чертежи 
3
Реферат

Изобретение относится к форсунке для производства карбамидно-серного удобрения, гранулятору с псевдоожиженным слоем с форсункой для производства карбамидно-серного удобрения, способу производства карбамидно-серного удобрения и применению форсунки для производства гранулята удобрения. Форсунка для получения гранулята карбамидного удобрения и/или гранулята карбамидно-серного удобрения, содержащая по меньшей мере транспортирующий канал и канал для распыляющего газа, отличающаяся тем, что транспортирующий канал содержит по меньшей мере один разделительный штифт, а канал для распыляющего газа содержит по меньшей мере один завихритель, при этом завихрители включают в себя вставки, выемки, подвижные и неподвижные элементы, причем транспортирующий канал и канал для распыляющего газа являются расположенными в одной плоскости по отношению друг к другу и образуют общее выходное отверстие. Технический результат – обеспечение возможности получения однородно распределенного гранулята карбамидно-серного удобрения. 4 н. и 13 з.п. ф-лы, 3 ил.

Формула изобретения

1. Форсунка (4) для получения гранулята карбамидного удобрения и/или гранулята карбамидно-серного удобрения, содержащая по меньшей мере транспортирующий канал (5) и канал (6) для распыляющего газа, отличающаяся тем, что транспортирующий канал (5) содержит по меньшей мере один разделительный штифт (7), а канал (6) для распыляющего газа содержит по меньшей мере один завихритель (8), при этом завихрители (8) включают в себя вставки, выемки, подвижные и неподвижные элементы, причем транспортирующий канал (5) и канал (6) для распыляющего газа расположены в одной плоскости по отношению друг к другу и образуют общее выходное отверстие (3).

2. Форсунка (4) по п. 1, отличающаяся тем, что транспортирующий канал (5) содержит два перекрещивающихся разделительных штифта (7).

3. Форсунка (4) по п. 1 или 2, отличающаяся тем, что разделительный штифт (7) содержит цилиндрические, многоугольные и/или конусообразные вставки, и/или стержни, и/или проволоки.

4. Гранулятор (2) с псевдоожиженным слоем, содержащий по меньшей мере одну форсунку (4) по любому из пп. 1-3, расположенную на перфорированной пластине (10).

5. Способ производства карбамидно-серного удобрения, включающий в себя по меньшей мере следующие стадии:

- обеспечение расплава (1), содержащего карбамид и элементарную серу,

- впрыскивание расплава (1) и распыляющего газа (9) в гранулятор (3) с псевдоожиженным слоем, имеющий форсунку (4), через форсунку (4) и

- получение гранулята (14) в грануляторе (3) с псевдоожиженным слоем,

отличающийся тем, что форсунка (4) представляет собой форсунку по любому из пп. 1-3, причем расплав (2) направляют по транспортирующему каналу (5) под давлением от 0,5 до 7 бар.

6. Способ по п. 5, отличающийся тем, что форсунку (4) поддерживают при температуре в диапазоне температур от 1°С до 10°С, предпочтительно от 2°С до 5°С, выше температуры кристаллизации расплава (1).

7. Способ по п. 5 или 6, отличающийся тем, что расплав (1) направляют по транспортирующему каналу (5) с расходом от 50 до 600 кг/ч.

8. Способ по любому из пп. 5-7, отличающийся тем, что распыляющий газ (9) направляют по каналу (6) для распыляющего газа с расходом от 50 до 400 кг/ч и/или под давлением от 0,1 до 2 бар.

9. Способ по любому из пп. 5-8, отличающийся тем, что расплав (1) получают за счет непрерывного смешивания расплава, содержащего карбамид, и расплава, содержащего элементарную серу.

10. Способ по любому из пп. 5-9, отличающийся тем, что гранулят (14) содержит от 2 до 30 мас. % серы, предпочтительно от 5 до 20 мас. % серы.

11. Способ по любому из пп. 5-10, отличающийся тем, что расплав (1) содержит добавку, амфифильную по отношению к карбамиду и элементарной сере.

12. Способ по п. 11, отличающийся тем, что амфифильная добавка содержит анионные, катионные или неионные ПАВы, предпочтительно соли и сложные эфиры жирных кислот, додецилсульфат натрия (SDS), диоктилсульфосукцинат натрия (АОТ), лигнин, и/или лигносульфонаты, и/или их смеси, и/или их производные.

13. Способ по любому из пп. 5-12, отличающийся тем, что расплав (1) не содержит никакой добавленной добавки, амфифильной по отношению к карбамиду и элементарной сере.

14. Способ по любому из пп. 5-13, отличающийся тем, что расплав (1) содержит гранулирующее вспомогательное средство, предпочтительно формальдегид или свободную от формальдегида гранулирующую добавку.

15. Способ по п. 14, отличающийся тем, что свободная от формальдегида гранулирующая добавка содержит комбинацию из по меньшей мере одного полимера или олигомера, содержащего аминогруппы, и по меньшей мере одного функционализированного поливинилового соединения, предпочтительно комбинацию из полиэтиленимина и поливинилового спирта.

16. Способ по п. 14 или 15, отличающийся тем, что свободная от формальдегида гранулирующая добавка содержит по меньшей мере:

- комбинацию из по меньшей мере одного полимера или олигомера, содержащего аминогруппы, и по меньшей мере одного функционализированного поливинилового соединения, предпочтительно комбинацию из полиэтиленимина и поливинилового спирта и/или

- соединение, выбранное из группы алифатических дикарбоновых кислот и ангидридов, алифатических трикарбоновых кислот и ангидридов, ароматических дикарбоновых кислот и ангидридов, предпочтительно соединение, выбранное из группы, состоящей из щавелевой кислоты, янтарной кислоты, лимонной кислоты, фталевой кислоты, фталевого ангидрида, и/или

- алифатический С2-С8-диальдегид, предпочтительно этандиаль и/или глютаральдегид.

17. Применение гранулятора с псевдожиженным слоем по п. 4 для получения гранулята удобрения, содержащего карбамид и серу, карбамид, сульфат аммония, карбамид-сульфат аммония (UAS), карбамид-нитрат аммония (UAN) и/или их смеси.

Описание

[1]

Изобретение относится к форсунке для производства карбамидно-серного удобрения, гранулятору с псевдоожиженным слоем с форсункой для производства карбамидно-серного удобрения, способу производства карбамидно-серного удобрения и применению форсунки для производства гранулята удобрения.

[2]

Из-за роста населения во всем мире разработке гибких и эффективных смесей удобрений придается все большее значение. При этом роль играют не только само удобрение, т.е. химический состав, но и переработка в пригодную для транспортировки форму. Наибольшее значение придается, вне сомнения, гранулированию в равномерные, одинаковые по размеру и структуре частицы. При этом важными параметрами являются небольшое пылеобразование, прочность, низкая склонность к агрегированию, однородный размер, складируемость и устойчивость. Зарекомендовавшей себя техникой грануляции является грануляция в псевдоожиженном слое, которая, по сравнению, например, с техникой приллирования, обеспечивает улучшенные свойства частиц. Пример производства карбамидсодержащего гранулята удобрения посредством грануляции в псевдоожиженном слое описан в WO 2010/060535 А1, например, в параграфах [0025]-[0035].

[3]

Применение карбамидно-серных удобрений в сельском хозяйстве уже давно известно. В таких смесях удобрений растение может усваивать оба элемента азот и серу одновременно, так что можно сэкономить на расходах по внесению дополнительного удобрения. При этом сера может присутствовать как в элементарной форме, так и в водорастворимой форме, например, в виде сульфата. Сера в водорастворимой форме может непосредственно усваиваться растением, тогда как элементарная сера должна быть сначала преобразована микроорганизмами в почве в водорастворимую форму. Этот процесс преобразования включает в себя, тем самым, подобие «продленного действия», так что сера отдается растению медленно в течение длительного периода времени. Таким образом, возможна целенаправленная и регулируемая отдача серы, например, за счет смешивания сульфата и элементарной серы. В комбинации с карбамидом это обеспечивает, например, питание высаженных растений азотом от карбамида на ранней стадии и серой на последующих фазах роста.

[4]

По этой причине карбамидно-серным удобрениям с однородным распределением карбамида и серы придается все большее значение. Примеры описаны, например, в US 4330319 А.

[5]

Чтобы обеспечить хорошую биоразлагаемость элементарной серы в почве, необходимы как можно более мелкие частицы. В противоположность крупным частицам эти мелкие частицы имеют по отношению к объему бóльшую поверхность. Эта бóльшая поверхность, в частности бóльшая удельная поверхность (определяемая, например, методом БЭТ, например, по DIN-ISO 9277), улучшает доступность элементарной серы для находящихся в почве микроорганизмов.

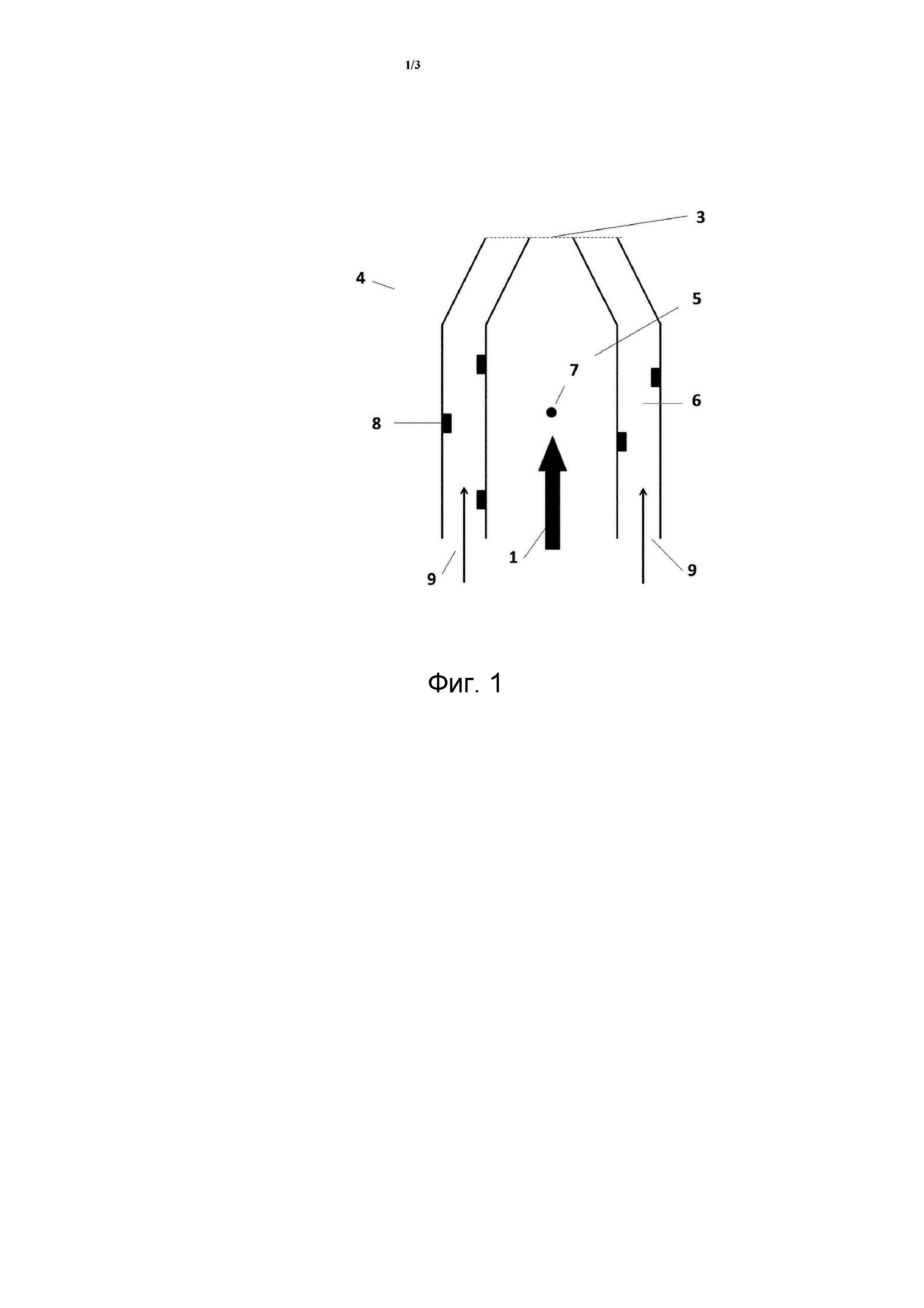
[6]

Поскольку расплавы элементарной серы и карбамида плохо смешиваются, в частности вследствие их разных плотности и вязкости, карбамидно-серные удобрения поступают в продажу зачастую в виде покрытых серой частиц карбамида. Возможны, например, также покрытые полимерной серой частицы карбамида. Однако покрытие частиц карбамида серой является довольно сложным процессом, к тому же скорости отдачи серы и карбамида в почве сложно предсказать и воспроизвести. Кроме того, покрытые частицы карбамида зачастую имеют заметно больший размер, что, как сказано выше, негативно сказывается на равномерном разложении элементарной серы. Исследования («Effect of particle size on the oxidation of elemental sulfur»; C.C: Boswell et al; New Zealand J. of Agricultural Res; 1988, 31, 179-186) показали, что предпочтительны размеры частиц 10-150 мкм, в частности 10-38 мкм.

[7]

Вследствие упомянутой плохой смешиваемости карбамида и элементарной серы используются смесительные аппараты, такие как смесители. Однако они требуют дополнительных аппаратных компонентов, например, статических смесителей. Кроме того, эти дополнительные стадии неизбежно повышают расходы на процесс. Другим подходом являются улучшающие смешиваемость добавки. Они улучшают смешиваемость компонентов, например, за счет уменьшения поверхностного натяжения серы и карбамида в расплаве.

[8]

Однако в то же время добавки изменяют свойства готового гранулята и повышают расходы на готовый продукт.

[9]

В US 3100698 А раскрыты карбамидно-серное удобрение и его производство из расплава карбамида и серы, смесь расплавов и получение прочных частиц, например способом приллирования.

[10]

В WO 03/106376 А1 раскрыт способ производства карбамидно-серного удобрения, при котором по отношению к смеси серы и карбамида добавляется амфотерная добавка. Примерами подходящих ПАВ являются С6-30-жирные кислоты, предпочтительно миристиновая кислота.

[11]

В WO 2014/005695 А1 раскрыт процесс получения эмульсии из частиц элементарной серы. За счет добавления многофункционального ПАВ можно получать карбамидно-серные удобрения.

[12]

В WO 2015/104296 А1 раскрыта композиция удобрения, содержащая карбамид, серу и соединение лигнина.

[13]

Другие примеры однородно распределенного карбамидно-серного удобрения и способы его производства приведены в WO 2015/104296 А1 и WO 2016/016150 А1.

[14]

В WO 2005/061118 А1 раскрыта форсунка для грануляции в псевдоожиженном слое. Она обеспечивает смешивание распыляющей среды с расплавом в форсунке.

[15]

В WO 2017/005695 А1 раскрыт способ производства частиц удобрения на основе элементарной серы и карбамида. Раскрытый способ обходится без использования дополнительных добавок для получения смеси серы и карбамида.

[16]

В US 2008/030540 А1 раскрыты способ и форсунка для покрытия частиц.

[17]

В US 2018/0117554 А1 раскрыты способ и гранулятор с псевдоожиженным слоем для получения частиц карбамида или нитрата аммония.

[18]

В основе изобретения лежит задача создания форсунки для получения улучшенного, однородно распределенного гранулята карбамидно-серного удобрения, которая обеспечивает осуществление способа без дополнительных стадий смешивания или добавок, либо уменьшает использование дополнительных стадий смешивания или добавок.

[19]

Эта задача изобретения неожиданным образом решается посредством форсунки по п. 1 формулы изобретения. Другие предпочтительные варианты охарактеризованы в зависимых пунктах формулы изобретения.

[20]

Изобретение также относится к гранулятору с псевдоожиженным слоем с форсункой для получения гранулята карбамидного удобрения и/или гранулята карбамидно-серного удобрения, способу производства карбамидно-серного удобрения и применению форсунки для получения гранулята удобрения. Другие предпочтительные варианты охарактеризованы в соответствующих зависимых пунктах формулы изобретения.

[21]

Предложенная в настоящем изобретении форсунка для получения гранулята карбамидного удобрения и/или гранулята карбамидно-серного удобрения содержит по меньшей мере один транспортирующий канал и канал для распыляющего газа. Форсунка содержит металлы и/или сплавы металлов, в частности предпочтительно коррозионностойкие металлы и/или сплавы металлов, в частности предпочтительно нержавеющие стали, или предпочтительно выполнена из них. Подходящими металлами/сплавами металлов являются, например, железо, хром, ванадий, никель, титан, алюминий, кобальт, вольфрам. Форсунка настоящего изобретения может содержать также термостойкие (> 100°С) полимеры или керамику. В качестве опции форсунка может содержать, в частности в зоне транспортирующего канала, ингибирующие коррозию покрытия, например, политетрафторэтилен. Форсунка отличается тем, что транспортирующий канал содержит по меньшей мере один разделительный штифт, а канал для распыляющего газа – по меньшей мере один завихритель.

[22]

Разделительный штифт может быть выполнен по-разному, например, в виде отдельного или одно- или многократно перекрещивающегося ребра. Разделительный штифт в контексте настоящего изобретения содержит цилиндрические, стержнеобразные, многоугольные и/или конусообразные вставки и/или стержни. Соответствующее определение термина «штифт» см. также на:

[23]

https://www.duden.de/rechtschreibung/Stift_Schreibgeraet_Nagel_Knirps#bedeutungen.

[24]

Разделительный штифт в контексте настоящего изобретения может быть выполнен также в виде проволоки. Разделительный штифт вставлен внутрь транспортирующего канала. Разделительный штифт обеспечивает в направлении течения расплава разделение и последующее перемешивание расплава на разделительном штифте или за разделительным штифтом в направлении течения. Термин «расплав» в контексте настоящего изобретения включает в себя соляные расплавы, соляные растворы и/или растворы твердых веществ, дисперсии и/или их смеси. Предпочтительно термин «расплав» в контексте настоящего изобретения включает в себя растворы карбамида, растворы/эмульсии/дисперсии, содержащие соли серы, и/или дисперсии или растворы, содержащие элементарную серу, предпочтительно по отдельности или в сумме содержащие более 50 мас.% карбамида, серы и/или солей серы. В направлении течения расплава за разделительным штифтом происходит повторное объединение расплава. Эти разделение и объединение расплава обеспечивают лучшие гомогенизацию и перемешивание расплава. Разделительный штифт предпочтительно неподвижно размещен в транспортирующем канале, а в качестве альтернативы возможно также подвижное размещение, например, аналогично размещенному в транспортирующем канале винту. Разделительный штифт предпочтительно содержит металлы, сплавы металлов, стеклоблоки, керамику или термостойкие (от более 100 вплоть до примерно 200°С) полимеры.

[25]

Канал для распыляющего газа содержит по меньшей мере один завихритель и обеспечивает необходимый для получения распыленных («атомизированных») капелек расплава или раствора газовый поток, предпочтительно воздушный поток. Термин «атомизированный» в контексте настоящего изобретения относится к мелким капелькам расплава или раствора, диспергированным в газовом потоке. Термин «атомизированный» в контексте настоящего изобретения не относится к разделению молекулярных связей или наличию отдельных атомов. Завихрители обеспечивают разделение (расщепление) распыляющего газа, например, воздуха, на различные вторичные потоки и завихрения. Завихрители могут быть выполнены в виде выемок, выступов, размещенных в канале для распыляющего газа элементов. Завихрители, а также вставки, выемки, подвижные и неподвижные элементы в контексте настоящего изобретения включают выполненные или размещенные в канале для распыляющего газа элементы, которые вызывают отклонение или разделение распыляющего газа и повышают турбулентную долю распыляющего газа в канале для распыляющего газа. Это могут быть размещенные в канале для распыляющего газа элементы или же полости и/или препятствия для течения. Завихрители неожиданным образом обеспечивают достаточное образование микрокапель расплава. Неожиданным образом за счет предложенной форсунки в соответствии с настоящим изобретением достигался размер частиц серы менее 30 мкм без необходимости дополнительных эмульгирующих добавок в расплаве карбамида и серы. Завихрители могут быть предпочтительно частью канала для распыляющего газа или помещенными элементами, содержащими металлы, сплавы металлов, стеклоблоки, керамику или полимеры. Оба средства – разделительный штифт и завихрители – неожиданным образом предпочтительно позволяют получить размер частиц серы менее 30 мкм в готовом зерне карбамидно-серного удобрения и обеспечить однородное распределение частиц серы в карбамиде, например, карбамидной матрице. Кроме того, форсунка в соответствии с настоящим изобретением предпочтительно позволяет сэкономить на дополнительных перемешивающих устройствах, например, смесителях.

[26]

В одном предпочтительном варианте осуществления транспортирующий канал содержит два перекрещивающихся разделительных штифта. Перекрещивающиеся разделительные штифты обеспечивают очень однородное перемешивание расплава.

[27]

Предпочтительно завихрители включают в себя вставки, выемки, подвижные и неподвижные элементы.

[28]

Транспортирующий канал и канал для распыляющего газа предпочтительно являются лежащими в одной плоскости по отношению друг к другу и образуют общее выходное отверстие. Перемешивание расыляющего газа и капелек расплава происходит, тем самым, вне форсунки и не в смесительной камере внутри нее. Это обеспечивает очень равномерное и однородное перемешивание расплава и распыляющего газа.

[29]

Изобретение относится также к гранулятору с псевдоожиженным слоем, содержащему по меньшей мере одну форсунку в соответствии с настоящим изобретением, расположенную на перфорированной пластине и/или над перфорированной пластиной. Форсунка для производства карбамидно-серного удобрения в соответствии с настоящим изобретением содержит по меньшей мере один транспортирующий канал и канал для распыляющего газа. Форсунка отличается тем, что транспортирующий канал содержит по меньшей мере один разделительный штифт, а канал для распыляющего газа – по меньшей мере один завихритель. Форсунка и ее предпочтительные варианты осуществления соответствуют описанным выше. Иллюстративная конструкция гранулятора с псевдоожиженным слоем, например, для получения карбамидсодержащих частиц, описана в WO 2010/060535 А1, например в параграфах [0025]-[0035], фиг. 1 или в US 4701353 А, DE 3116778 А1 и US 4219589 А. Гранулятор с псевдоожиженным слоем предпочтительно содержит по меньшей мере одно пространство гранулятора, расположенную в пространстве гранулятора перфорированную пластину и расположенные в/на перфорированной пластине форсунки в соответствии с настоящим изобретением. Форсунки в соответствии с изобретением предпочтительно соединены с подводящими линиями для расплава карбамида и серы и подводящей линией для распыляющего газа. Термин «распыляющий газ» в контексте настоящего изобретения относится к газу для псевдоожижения, эмульгирования и диспергирования расплава или раствора, предпочтительно из карбамида и серы. Находящийся в грануляторе псевдоожиженный слой связан с псевдоожижающим газовым потоком, предпочтительно воздухом. Находящиеся псевдоожиженном слое зерна увеличиваются за счет контакта с образованными в распыляющей среде капельками расплава. Готовые частицы охлаждаются затем в грануляторе или отдельном охладителе и подаются на следующий процесс, например, грохочение, последующую обработку и упаковывание.

[30]

Изобретение также относится к способу производства карбамидно-серного удобрения. Способ в соответствии с настоящим изобретением включает в себя по меньшей мере следующие стадии: обеспечение расплава, содержащего карбамид и элементарную серу, впрыскивание расплава и распыляющего газа в гранулятор с псевдоожиженным слоем с форсункой и получение гранулята в грануляторе с псевдоожиженным слоем. Если подлежат получению восприимчивые к кислороду грануляты, то вместо воздуха или дополнительно в качестве распыляющего газа также можно использовать газы/газовые смеси из инертных газов, в частности аргон, азот или диоксид углерода. Используемая в способе форсунка отличается тем, что она содержит по меньшей мере один транспортирующий канал и канал для распыляющего газа. Кроме того, транспортирующий канал содержит по меньшей мере один разделительный штифт, а канал для распыляющего газа – по меньшей мере один завихритель. Форсунка и ее предпочтительные варианты осуществления соответствуют описанным выше.

[31]

В предпочтительном варианте осуществления способа форсунка нагревается в диапазоне температур от 1°С до 10°С, предпочтительно от 2°С до 5°С, выше температуры кристаллизации расплава. Упомянутый диапазон температур обеспечивает выдачу расплава с соответствующими вязкостью и расходом.

[32]

Предпочтительно расплав направляется по транспортирующему каналу под давлением от 0,5 до 7 бар. Все используемые значения давления относятся к избыточному давлению в бар выше атмосферного давления.

[33]

Предпочтительно расплав направляется по транспортирующему каналу с расходом от 50 до 600 кг/ч.

[34]

В другом предпочтительном варианте осуществления распыляющий газ направляется по каналу для распыляющего газа с расходом от 100 до 400 кг/ч.

[35]

Предпочтительно распыляющий газ направляется по каналу для распыляющего газа под давлением от 0,1 до 2 бар.

[36]

Предпочтительно расплав получают за счет непрерывного смешивания расплава, содержащего карбамид, и расплава, содержащего элементарную серу. Добавки, которые, например, снижают поверхностное натяжение на границе раздела фаз, различия в вязкости и/или плотности между расплавами карбамида и серы, в предложенном способе в соответствии с настоящим изобретением являются необязательными.

[37]

В предпочтительном варианте осуществления гранулят содержит от 2 до 30 мас.% серы, предпочтительно от 5 до 20 мас.% серы. Однако окончательная доля серы в рамках заданных значений к финальному грануляту удобрения может варьироваться также по предписанному диапазону.

[38]

В одном альтернативном предпочтительном варианте осуществления расплав содержит добавку, амфифильную по отношению к карбамиду и элементарной сере. Термин «амфифильный» обозначает добавку, имеющую химико-физические структурные признаки, которые обеспечивают хорошую растворимость как в расплаве карбамида, так и в расплаве серы. В остальном термин «амфифильный» используется аналогично его использованию в моющих средствах и ПАВах для масляно-водных смесей. Помимо растворимости, добавка обеспечивает, например, снижение поверхностного натяжения на границе раздела фаз, а также различий в вязкости и/или плотности между расплавами карбамида и серы.

[39]

Предпочтительно амфифильная добавка содержит анионные, катионные или неионные ПАВы, предпочтительно соли и сложные эфиры жирных кислот, SDS (додецилсульфат натрия), АОТ (диоктилсульфосукцинат натрия), лигнин и/или лигносульфонаты и/или их смеси или производные.

[40]

Предпочтительно расплав содержит гранулирующее вспомогательное средство, особенно предпочтительно формальдегид или свободную от формальдегида гранулирующую добавку. Гранулирующее вспомогательное средство уменьшает пылеобразование, повышает прочность и уменьшает склонность гранулята к слипанию.

[41]

Предпочтительно свободная от формальдегида гранулирующая добавка содержит комбинацию из по меньшей мере одного содержащего аминогруппы полимера или олигомера и по меньшей мере одного функционализированного поливинилового соединения, особенно предпочтительно комбинацию из полиэтиленимина и поливинилового спирта. Согласно изобретению, используемые, содержащие аминогруппы полимеры и олигомеры содержат, в частности, полимеры и олигомеры с молекулярной массой от 250 до 2000000 дальтон. Например, в качестве содержащих аминогруппы полимеров и олигомеров рассматриваются полиамины, полимерные полиамины, азотзамещенные виниловые полимеры, полиоксазолины, полипропиленимин и его дендримеры, полиэтиленимин и его дендримеры, полиамидоамин и его дендримеры, а также сополимеры и производные и комбинации из двух или более указанных веществ.

[42]

Предпочтительные содержащие аминогруппы полимеры и олигомеры включают полиамины и полимерные полиамины, полиалкиленимины, например, полиэтиленимины и полипропиленимины, поливиниламины, полиалкоксилированные полиамины, этоксилированные полиамины, пропоксилированные полиамины, алкилированные и бензилированные полиамины, а также комбинации из двух или более вышеуказанных компонентов.

[43]

Особенно предпочтительно в качестве содержащих аминогруппы полимеров и олигомеров используются полиэтиленимины, дендримеры полиэтилениминов, а также их сополимеры, производные и смеси из по меньшей мере двух из этих компонентов.

[44]

Подходящие полиэтиленимины могут содержать линейные или разветвленные полиэтилениминовые полимеры или олигомеры, например, с 10 или более мономерными звеньями, а также их производные, аналоги, сополимеры и смеси из по меньшей мере двух из этих компонентов.

[45]

Полиэтиленимины могут быть получены путем полимеризации этиленимина и являются коммерчески доступными на рынке, например, в виде семейств продуктов Lupasol® и Epomin® и здесь, в частности, продуктов Lupasol® G20, Lupasol® FG, Lupasol® G35, Lupasol® P и Lupasol®1595 (продукты Lupasol® продаются фирмой BASF (Florham Park, NJ, USA)), а также Epomin® SP-003, Epomin® SP-006, Epomin® SP-012, Epomin® SP-018, Epomin® SP-200, Epomin® SP-1000 и Epomin® SP-1050 (продукты Epomin® продаются фирмой Nippon Sokubai (Osaka, Japan).

[46]

В качестве функционализированных поливиниловых соединений, согласно изобретению, рассматриваются, в частности, соединения на основе повторяющегося звена (СНХСНY)n, где Х выбрано из группы, состоящей из Н, NH2, OH, COOH, COR, CONH2, CH2NH2, CH2NHR, CH2OH и CH2OR, а Y выбрано из группы, состоящей из NH2, OH, COOH, COR, CONH2, CH2NH2, CH2NHR, CH2OH и CH2OR, причем каждый из R может независимо друг от друга представлять собой алкил, в частности С1-6-алкил, или арил, в частности фенил или пиридил, который может быть незамещенным или, при необходимости, замещенным 1, 2, 3, 4 или 5 заместителями, независимо друг от друга выбранными из группы, состоящей из F, Cl, Br, CF3, С1-6-алкила, C1-6-алкокси, NH2, С1-6-алкила, амино- и ди(С1-6-алкил)амино.

[47]

В качестве функционализированного поливинилового соединения рассматриваются предпочтительно поливиниловый спирт или поливиниламин или их смеси. Особенно предпочтительно функционализированное поливиниловое соединение представляет собой поливиниламин.

[48]

Поливиниламин и поливиниловый спирт могут иметь соответственно молекулярную массу от 500 до 1000000 дальтон.

[49]

Подходящие поливиниламины включают, в частности, линейные полимеры и сополимеры, которые происходят от винилформамидного мономера и могут содержать катионные и анионные сополимеры поливиниламина, а также заряженные и протонированные поливиниламины.

[50]

Подходящие поливиниламины коммерчески доступны на рынке, например, из семейства продуктов Lupamin®, в частности Lupamin® 1595, Lupamin® 4500, Lupamin® 5095, Lupamin® 9030, Lupamin® 9050 и Lupamin® 9095. Примерами катионных и анионных сополимеров поливиниламина являются такие из семейства продуктов Luredur®, в частности Luredur® Am na, Luredur® AV, Luredur® VH, Luredur® VI, Luredur® VM, Luredur® PR8094, Luredur® PR8261 и Luredur® PR8349. Примерами заряженных или протонированных поливиниламинов являются продукты серии Catiofast®, в частности Catiofast® GM, Catiofast® PL, Catiofast® PR8236, Catiofast® VCB, Catiofast® VFH, Catiofast® VLW, Catiofast® VMP и Catiofast® VSH. Продукты Lupamin®, Luredur® и Catiofast® продаются фирмой BASF (Florham Park, NJ, USA).

[51]

Предпочтительно свободная от формальдегида гранулирующая добавка содержит по меньшей мере:

[52]

- комбинацию из по меньшей мере одного содержащего аминогруппы полимера или олигомера и по меньшей мере одного функционализированного поливинилового соединения, предпочтительно комбинацию из полиэтиленимина и поливинилового спирта и/или

[53]

- соединение, выбранное из группы алифатических дикарбоновых кислот и ангидридов, алифатических трикарбоновых кислот и ангидридов, ароматических дикарбоновых кислот и ангидридов, предпочтительно соединение, выбранное из группы, состоящей из щавелевой кислоты, янтарной кислоты, лимонной кислоты, фталевой кислоты, фталевого ангидрида и/или

[54]

- алифатический С2-С8-диальдегид, предпочтительно этандиаль и/или глютаральдегид.

[55]

Предпочтительно амфифильная добавка содержит соединение, выбранное из группы алифатических дикарбоновых кислот и ангидридов, алифатических трикарбоновых кислот и ангидридов, ароматических дикарбоновых кислот и ангидридов, предпочтительно соединение, выбранное из группы, состоящей из щавелевой кислоты, янтарной кислоты, лимонной кислоты, фталевой кислоты, фталевого ангидрида и/или по меньшей мере один алифатический С2-С8-диальдегид, предпочтительно этандиаль и/или глютаральдегид.

[56]

В предпочтительном варианте осуществления расплав не содержит никакой добавленной по отношению к карбамиду и элементарной сере, описанной выше амфифильной добавки. Отсутствие добавки для облегчения смешивания снижает расходы на готовый гранулят удобрения и позволяет избежать негативных воздействий на его эффективность при усвоении растениями.

[57]

Кроме того, изобретение относится к применению описанного выше гранулятора с псевдожиженным слоем в соответствии с настоящим изобретением для получения гранулята удобрения, содержащего карбамид и серу, карбамид, сульфат аммония, UAS (карбамид-сульфат аммония), UAN (карбамид-нитрат аммония) и/или их смеси.

[58]

Изобретение более подробно поясняется ниже с помощью приложенных чертежей. При этом чертежи не ограничивают объем охраны изобретения, а служат лишь для пояснения. Чертежи выполнены не в масштабе.

[59]

На чертежах показано:

[60]

- фиг. 1: схематичное поперечное сечение форсунки в соответствии с изобретением;

[61]

- фиг. 2: схематичный вид сверху на форсунку в соответствии с изобретением;

[62]

- фиг. 3: другое схематичное поперечное сечение форсунки в соответствии с изобретением, расположенной в перфорированной пластине.

[63]

На фиг. 1 схематично изображено поперечное сечение форсунки (4) в соответствии с изобретением, содержащей транспортирующий канал (5) и канал (6) для распыляющего газа. Форсунка (4) отличается тем, что транспортирующий канал (5) содержит по меньшей мере один разделительный штифт (7), например, в виде трубки, расположенной в транспортирующем канале (5). Канал (6) для распыляющего газа содержит по меньшей мере один завихритель (8). Расплав (1) разделяется в зоне разделительного штифта (7) и предпочтительно турбулентно завихряется. Это завихрение неожиданным образом повышает однородность расплава (1). Распыляющий газ (9) подается по каналу (6) для распыляющего газа через форсунку (4). Расположенные в канале (6) для распыляющего газа завихрители (8) повышают турбулентность пропускаемого распыляющего газа (9), например, воздуха. Если подлежат к получению восприимчивые к кислороду грануляты, то вместо воздуха можно использовать также газы/газовые смеси из инертных газов, в частности аргон, азот или диоксид углерода. Перемешивание расплава (1) и распыляющего газа происходит вне выходной поверхности (3) форсунки (4). Это перемешивание расплава вне форсунки (4) обеспечивает особенно равномерный рост частиц.

[64]

На фиг. 2 схематично изображен вид сверху на форсунку (4) в соответствии с изобретением, ограниченную каналом (6) для распыляющего газа и транспортирующим каналом (5). Разделительные штифты (7) расположены крест-накрест.

[65]

На фиг. 3 схематично изображено другое поперечное сечение расположенной в перфорированной пластине (10) форсунки (4) в соответствии с изобретением. Форсунка содержит транспортирующий канал (5) и канал (6) для распыляющего газа. Транспортирующий канал (5) содержит два перекрещивающихся разделительных штифта (7), а канал (6) для распыляющего газа – завихрители (8). Расплав (1) и распыляющий газ (9) смешиваются вне плоского выходного отверстия (3) и попадают там в виде микрокапелек (11) на имеющиеся в псевдоожиженнном слое (не показан) частицы (12) гранулята. За счет добавления микрокапелек (11) частицы (12) гранулята растут до своего окончательного размера (не показано), а затем удаляются из внутреннего пространства (2) гранулятора с псевдоожиженным слоем (не показан).

[66]

Перечень ссылочных позиций

[67]

(1) - расплав

[68]

(2) - внутреннее пространство гранулятора с псевдоожиженным слоем

[69]

(3) - выходная поверхность

[70]

(4) - форсунка

[71]

(5) - транспортирующий канал

[72]

(6) - канал для распыляющего газа

[73]

(7) - разделительный штифт

[74]

(8) - завихритель

[75]

(9) - распыляющий газ

[76]

(10) - перфорированная пластина

[77]

(11) - капельки расплава

[78]

(12) - частицы гранулята

Как компенсировать расходы
на инновационную разработку
Похожие патенты