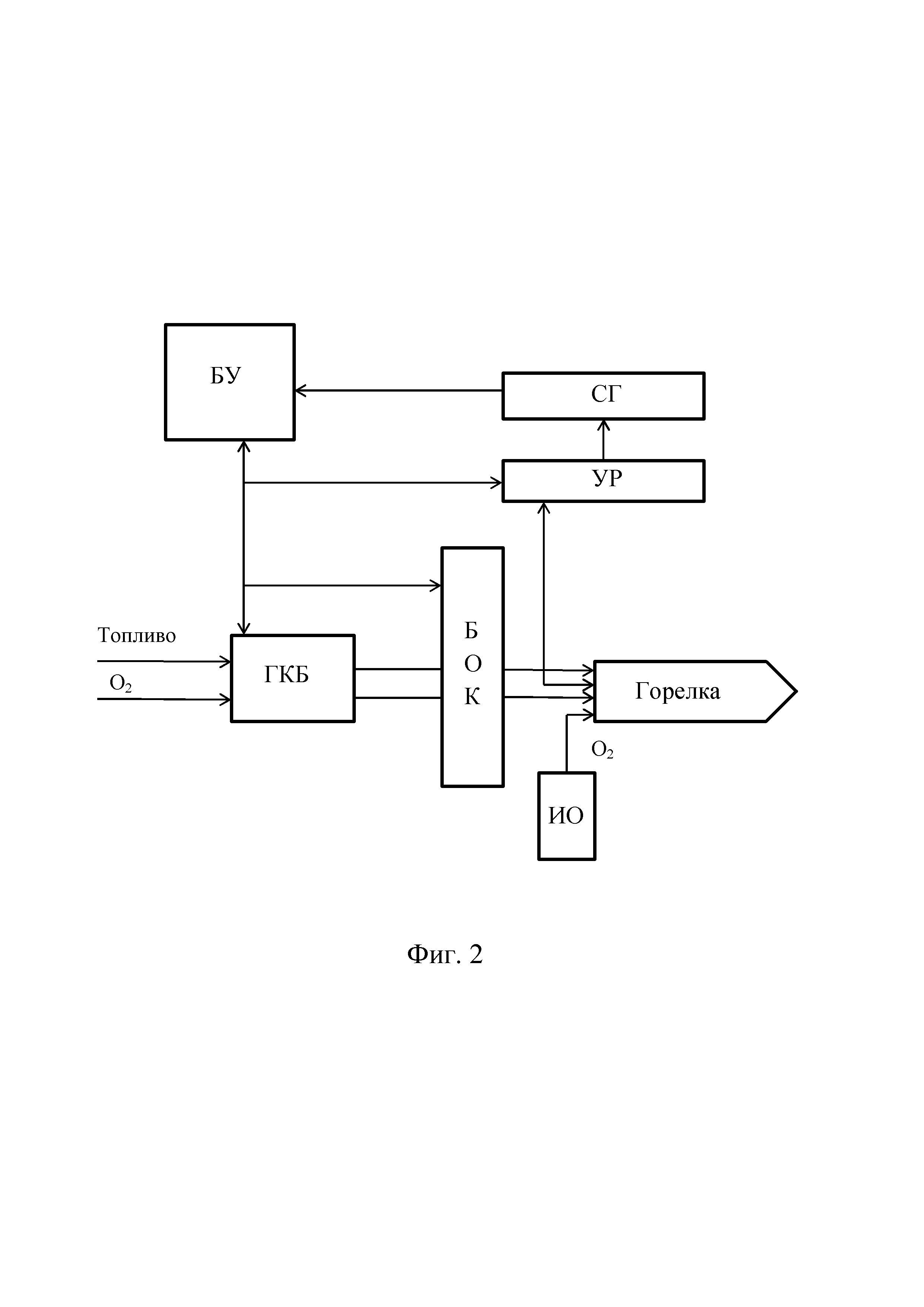
Изобретение относится к области энергетики. Топливно-кислородная горелка (1) выполнена с возможностью размещения в стенке плавильной печи и содержит корпус (2), определяющий канал (3) подачи окислителя, проходящий в продольном направлении, от верхнего по потоку конца до нижнего по потоку конца корпуса с выпускным отверстием на нижнем по потоку конце корпуса, канал (5) подачи топлива, проходящий в продольном направлении корпуса, выпускное отверстие которого расположено у нижнего по потоку конца корпуса, и кислородный инжектор (4), проходящий в продольном направлении внутри канала (5) подачи топлива, выпускное отверстие которого расположено у нижнего по потоку конца корпуса, а также электрод (6) розжига и контроля пламени, проходящий внутри канала (3) подачи окислителя, выполненный с возможностью первоначального розжига горелки и последующего контроля пламени, причем указанный электрод (6) розжига и контроля пламени выполнен с возможностью соединения с системой автоматического управления розжигом и контроля пламени горелки. Электрод (6) розжига и контроля пламени представляет собой ионизационный электрод. Кислородный инжектор (4) выполнен с возможностью подачи окислителя с дозвуковой скоростью или со сверхзвуковой скоростью. Кислородный инжектор (5) оснащен соплом Лаваля. Изобретение позволяет при меньших трудозатратах увеличить экономию твердого топлива, повысить качество конечного продукта, производительность, экономическую эффективность, экологичность и безопасность плавильной печи, в частности шахтной печи, применяемой для производства минеральной ваты, с сохранением высокого качества конечного продукта. 3 н. и 12 з.п. ф-лы, 2 ил.
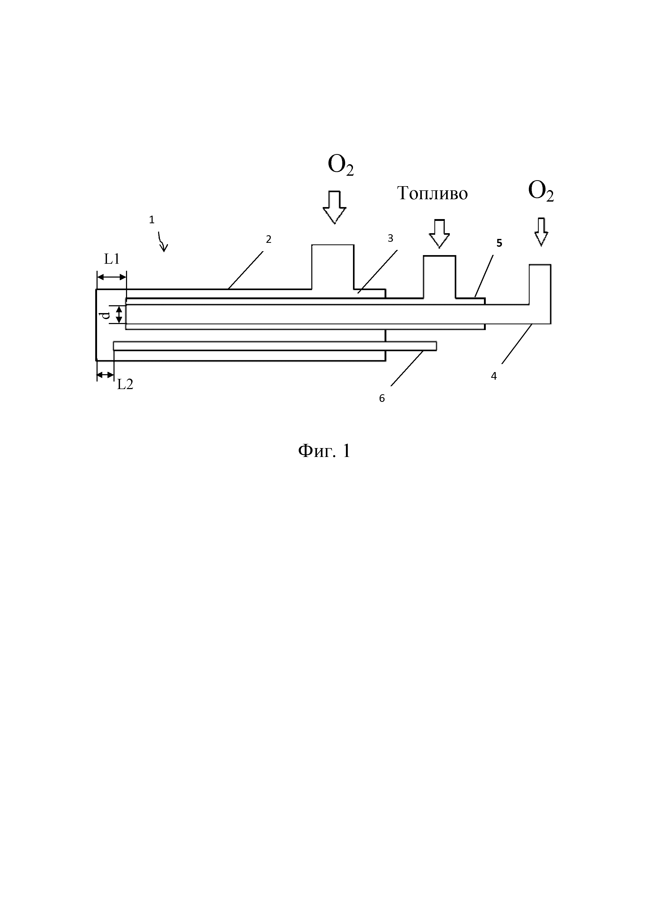
1. Топливно-кислородная горелка (1), выполненная с возможностью размещения в стенке плавильной печи и содержащая: корпус (2), определяющий канал (3) подачи окислителя, проходящий в продольном направлении, от верхнего по потоку конца до нижнего по потоку конца корпуса с выпускным отверстием на нижнем по потоку конце корпуса, канал (5) подачи топлива, проходящий в продольном направлении корпуса, выпускное отверстие которого расположено у нижнего по потоку конца корпуса, и кислородный инжектор (4), проходящий в продольном направлении внутри канала (5) подачи топлива, выпускное отверстие которого расположено у нижнего по потоку конца корпуса, а также электрод (6) розжига и контроля пламени, проходящий внутри канала (3) подачи окислителя, выполненный с возможностью первоначального розжига горелки и последующего контроля пламени, причем указанный электрод (6) розжига и контроля пламени выполнен с возможностью соединения с системой автоматического управления розжигом и контроля пламени горелки. 2. Топливно-кислородная горелка по п. 1, в которой электрод (6) розжига и контроля пламени представляет собой ионизационный электрод. 3. Топливно-кислородная горелка по п. 1 или 2, в которой кислородный инжектор (4) выполнен с возможностью подачи окислителя с дозвуковой скоростью. 4. Топливно-кислородная горелка по п. 1 или 2, в которой кислородный инжектор выполнен с возможностью подачи окислителя со сверхзвуковой скоростью. 5. Топливно-кислородная горелка по п. 4, в которой кислородный инжектор (5) оснащен соплом Лаваля. 6. Топливно-кислородная горелка по любому из пп. 1-5, в которой концентрация кислорода в окислителе, вводимом через кислородный инжектор (4), выше концентрации кислорода, вводимого через канал (3) подачи окислителя. 7. Топливно-кислородная горелка по любому из пп. 1-6, в которой топливо представляет собой природный газ. 8. Топливно-кислородная горелка по любому из пп. 1-7, содержащая заземляющий электрод, расположенный на расстоянии 3-4 мм в поперечном направлении от электрода (6) розжига и контроля пламени, причем нижние по потоку концы заземляющего электрода и электрода (6) розжига и контроля пламени расположены на одинаковом расстоянии от нижнего по потоку конца корпуса (2) горелки. 9. Топливно-кислородная горелка по любому из пп. 1-8, в которой расстояние (L1) от нижнего по потоку конца кислородного инжектора (4) до нижнего по потоку конца корпуса (2) горелки равно внешнему диаметру (d) кислородного инжектора (4), а расстояние (L2) от нижнего по потоку конца электрода (6) розжига и контроля пламени до нижнего по потоку конца корпуса (2) горелки равно 0,5d. 10. Топливно-кислородная горелка по любому из пп. 1-9, выполненная с возможностью установки в фурму, расположенную в стенке плавильной печи, при этом расстояние от нижнего по потоку конца корпуса горелки (2) до нижнего по потоку конца фурмы составляет от 2D до 3D, где D-внутренний диаметр фурмы. 11. Топливно-кислородная горелка по п. 10, выполненная с возможностью установки в фурму, рассчитанную на подачу дутья с расходом 700-1200 м3/ч при температуре 250-650°С. 12. Система автоматического управления розжигом и контролем пламени топливно-кислородной горелки по любому из пп. 1-11, причем указанная система содержит устройство розжига, сигнализатор горения, блок отсечных клапанов, выполненный с возможностью соединения с газокислородным блоком, осуществляющим регулирование потоков топлива, кислорода и инструментального воздуха и подачу их в горелку, и блок управления, выполненный с возможностью коммуникации с газокислородным блоком, устройством розжига, сигнализатором горения и блоком отсечных клапанов. 13. Система по п. 12, в которой устройство розжига представляет собой трансформаторный источник высокого напряжения. 14. Способ управления розжигом и контролем пламени топливно-кислородных горелок, установленных в плавильной печи посредством системы по п. 12 или 13, включающий этапы, на которых: - получают сигнал о включении газокислородного блока; - определяют количество горелок, которые необходимо привести в действие; - открывают отсечные клапаны блока отсечных клапанов для подачи топлива и кислорода в выбранные горелки; - включают искровое зажигание выбранных горелок; - отключают искровое зажигание; - осуществляют контроль пламени в горелках, в ходе которого: определяют наличие пламени в каждой горелке, при этом при обнаружении наличия пламени во всех горелках продолжают работу, а при обнаружении отсутствия пламени в одной или более горелках включают искровое зажигание в соответствующей горелке; - производят подсчет количества неудачных попыток розжига горелок, при этом, если указанное количество больше заданного значения, прекращают подачу газа и кислорода. 15. Способ по п. 14, в котором заданное значение количества неудачных попыток розжига горелок равно пяти.
Область техники, к которой относится изобретение Изобретение относится к топливно-кислородной горелке для плавильной печи, в частности к топливно-кислородной горелке шахтной печи для производства минеральной ваты. Изобретение также относится к системе и способу управления розжигом и контролем пламени такой горелки. Уровень техники Производство минеральной ваты включает в себя получение расплава сырьевого материала (например, базальта или доломита) с последующим превращением его в волокна, из которых затем формируют минераловатное полотно. Расплав получают путем плавления сырья в специальных шахтных печах (вагранках). В качестве топлива шахтных печей используют кокс, который смешивают с шихтой и загружают в печь. Окислителем, необходимым для процесса горения, является кислород, находящийся в воздухе и подаваемый через фурмы, размещенные на боковых стенках печи. Стоимость кокса относительно велика. Кроме того, российский кокс не всегда имеет требуемое качество, что вынуждает производителей минеральной ваты закупать кокс за рубежом. Учитывая тот факт, что существенная часть кокса в настоящее время поставляется из-за рубежа, затраты на этот вид топлива составляют значительную часть затрат на производство минеральной ваты. Одним из известных способов снижения затрат на производство минеральной ваты с использованием вагранок является повышение содержания кислорода в потоке подаваемого в печь воздуха - технология кислородного обогащения. Указанная технология предусматривает подачу кислорода либо в общий поток воздуха, подаваемый в печь, либо непосредственно в каждую фурму и позволяет, в частности, повысить скорость плавления сырья, уменьшить расход кокса и объем отходящих газов. Технология кислородного обогащения описана, например, в документе /1/ «Oxygen-enhanced combustion»/Edited by Charles E.Baukal, Jr., CRC Press, 1998 (Усиленное кислородом сжигание/под. ред. Чарльза Е. Бокала, мл.). Вместе с тем, при использовании такой технологии основным топливом, применяемым в ходе производства минеральной ваты, остается дорогостоящий кокс. Другое решение, применяемое для экономии кокса, состоит в его частичной замене на более дешевое топливо, например, природный газ. Так, в вагранках на горячем дутье при производстве чугуна успешно применяют технологию, согласно которой непосредственно в фурму или выше фурмы устанавливают газокислородную горелку «природный газ-кислород» для замещения части энергии, получаемой от сгорания кокса, на энергию от сгорания смеси природного газа с кислородом. В общем случае такой подход обеспечивает уменьшение расхода кокса до 10%, увеличивает скорость плавления и процент водорода в отходящих газах. В то же время, в случае установки горелки выше фурмы возникает необходимость сложной модернизации конструкции печи. Конструкция газокислородной горелки, которая может быть установлена в стенке железоплавильной печи, известна, например, из документа /2/ US 6089858, опубликованного 18.07.2000. Такая горелка имеет верхний по потоку конец и нижний по потоку конец и содержит корпус, проходящий в продольном направлении и определяющий канал подачи окислителя, проходящий до нижнего по потоку конца горелки и открывающийся в выпускное отверстие окислителя на нижнем по потоку конце, а также несколько каналов подачи топлива, проходящих в указанном продольном направлении и расположенных внутри канала подачи окислителя, причем каждый канал подачи топлива открывается на нижнем по потоку конце горелки. Однако указанный документ не содержит сведений о возможности применения таких горелок в шахтных печах, в частности в шахтных печах для производства минеральной ваты. Еще одно подобное решение описано в документе /3/ US 2010/0186552, опубликованном 29.07.2010 и относящемся к шахтной печи, в частности к вагранке, для плавления исходных материалов. Нагрев печи происходит за счет сжигания твердого топлива, причем в печь дополнительно подается инжекционный газ, доля кислорода в котором составляет 21%. Печь также нагревается по меньшей мере одной горелкой, в которую подают газообразное или жидкое топливо и газообразный окислитель. Хотя указанный документ относится к печам для производства чугуна, в нем упомянута возможность использования раскрытого в нем технического решения и в печах для производства минеральной ваты. Таким образом, в указанном документе предложено решение, являющееся комбинацией технологии кислородного обогащения и применения топливно-кислородных горелок для замещения части энергии, получаемой от сжигания кокса на энергию, получаемую от сжигания более дешевого топлива. Вместе с тем, в указанном документе предложено оборудовать фурмы печи поочередно - либо инжектором кислорода, либо топливно-кислородной горелкой, что влечет за собой необходимость выполнения сложных работ по оснащению фурм тем или иным из упомянутых устройств. Кроме того, общее количество горелок/инжекторов, которыми может быть оснащена печь, составляет половину от количества фурм печи, что снижает гибкость процесса производства по сравнению с применением печи, в которой количество горелок/инжекторов было бы равно количеству фурм. Следует также отметить, что в упомянутых документах не содержится каких-либо сведений об оснащении горелок средствами автоматического розжига и контроля пламени, наличие которых позволило бы повысить эффективность шахтной печи и является важным с точки зрения обеспечения ее безопасной работы. Сами по себе устройства, применяемые для автоматического розжига и контроля пламени горелок известны из уровня техники. Такие устройства описаны, например, в источнике /4/ «Приборы контроля пламени и управления розжигом» //URL: https://www.promav.ru/production/pribory-kontrolya-plameni-i-upravlenie-rozzhigom/ (дата обращения 12.11.2020). Вместе с тем, существует потребность в дальнейшем усовершенствовании технологии, сочетающей в себе достоинства применения в плавильных печах топливно-кислородных горелок и кислородного обогащения, так чтобы при меньших трудозатратах увеличить экономию твердого топлива, повысить качество конечного продукта, производительность, экономическую эффективность, экологичность и безопасность плавильной печи, в частности шахтной печи, применяемой для производства минеральной ваты, с сохранением высокого качества конечного продукта. Раскрытие сущности изобретения Исходя из вышеизложенного, настоящее изобретение направлено на создание технического решения, сочетающего в себе достоинства применения топливно-кислородных горелок и кислородного обогащения, позволяющего при меньших трудозатратах увеличить экономию твердого топлива и повысить качество конечного продукта, производительность, гибкость, экологичность и безопасность процесса управления работой шахтной печи, в частности печи, применяемой для производства минеральной ваты. Для решения указанной технической проблемы, согласно одному аспекту изобретения предложена топливно-кислородная горелка, выполненная с возможностью размещения в стенке плавильной печи и содержащая: корпус, определяющий канал подачи окислителя, проходящий в продольном направлении, от верхнего по потоку конца до нижнего по потоку конца корпуса с выпускным отверстием на нижнем по потоку конце корпуса, канал подачи топлива, проходящий в продольном направлении корпуса, выпускное отверстие которого расположено у нижнего по потоку конца корпуса, и кислородный инжектор, проходящий в продольном направлении внутри канала подачи топлива, выпускное отверстие которого расположено у нижнего по потоку конца корпуса, а также электрод розжига и контроля пламени, проходящий внутри канала подачи окислителя, выполненный с возможностью первоначального розжига горелки и последующего контроля пламени, причем указанный электрод розжига и контроля пламени выполнен с возможностью соединения с системой автоматического управления розжигом и контроля пламени горелки. Предложенная топливно-кислородная горелка может быть установлена в каждую из фурм плавильной печи. Поскольку каждая горелка содержит кислородный инжектор, количество установленных в печи горелок и кислородных инжекторов в два раза превышает количество горелок и кислородных инжекторов по сравнению с решением, согласно которому фурмы печи поочередно оборудованы горелками и инжекторами, что позволяет повысить гибкость управления процессом производства минеральной ваты и получить более равномерное распределение тепловой энергии по периметру печи. Кроме того, время, затрачиваемое на проведение работ по оборудованию печи однотипными горелками меньше времени, необходимого на оборудование печи различными устройствами - горелками и инжекторами. Также, благодаря установке внутри горелки кислородного инжектора топливно-кислородная горелка обеспечивает возможность варьировать пульсацию пламени горелки для того, чтобы передавать тепловую энергию в центр расплава с обеспечением однородности температуры по всей площади расплава, что необходимо для получения высокого качества конечного продукта в ходе плавления исходных материалов. Наличие устройства автоматического розжига и контроля пламени позволяет повысить уровень безопасности горелки и всей печи в целом. В ходе работы топливно-кислородных горелок, не оснащенных средствами автоматизации розжига и контроля пламени, может происходить «срыв пламени», т.е. осуществление инжекции топлива и кислорода без горения, что может приводить к аварийным ситуациям и повреждению оборудования. Применение средств автоматизации розжига и контроля пламени позволяет устранить указанное явление. По результатам испытаний, проведенных авторами изобретения, было обнаружено, что при использовании в качестве топлива природного газа применение в шахтной печи средств автоматизации розжига и контроля пламени в соответствии с изобретением позволяет заменить 30 % традиционного топлива (например, кокса) на природный газ и увеличить производительность печи на 10 %. Таким образом, оснащение шахтной печи горелками согласно изобретению позволяет заменить существенную часть дорогостоящего кокса на другой, более дешевый вид топлива. Кроме того, благодаря применению горелок согласно изобретению, удается уменьшить количество вредных выбросов в ходе работы печи. Согласно варианту осуществления изобретения электрод розжига и контроля пламени представляет собой ионизационный электрод. Согласно варианту осуществления изобретения кислородный инжектор выполнен с возможностью подачи окислителя с дозвуковой скоростью. Согласно варианту осуществления изобретения кислородный инжектор выполнен с возможностью подачи окислителя со сверхзвуковой скоростью. Согласно варианту осуществления изобретения кислородный инжектор оснащен соплом Лаваля. Согласно варианту осуществления изобретения концентрация кислорода в окислителе, вводимом через кислородный инжектор, выше концентрации кислорода, вводимого через канал подачи окислителя. Согласно варианту осуществления изобретения топливо представляет собой природный газ. Согласно варианту осуществления изобретения горелка содержит заземляющий электрод, расположенный на расстоянии 3-4 мм в поперечном направлении горелки от электрода розжига и контроля пламени, причем нижние по потоку концы заземляющего электрода и электрода розжига и контроля пламени расположены на одинаковом расстоянии от нижнего по потоку конца корпуса горелки. Согласно варианту осуществления изобретения расстояние от нижнего по потоку конца кислородного инжектора до нижнего по потоку конца корпуса горелки равно внешнему диаметру d кислородного инжектора, а расстояние от нижнего по потоку конца электрода розжига и контроля пламени до нижнего по потоку конца корпуса горелки равно 0,5d. Согласно варианту осуществления изобретения топливно-кислородная горелка выполнена с возможностью установки в фурму, расположенную в стенке плавильной печи, при этом расстояние от нижнего по потоку конца корпуса горелки до нижнего по потоку конца фурмы составляет от 2D до 3D, где D-внутренний диаметр фурмы. Согласно варианту осуществления изобретения топливно-кислородная горелка выполнена с возможностью установки в фурму, рассчитанную на подачу дутья с расходом 700-1200 м3/ч при температуре 250-650°С. Согласно другому аспекту изобретения, предложена система управления розжигом и контролем пламени вышеописанной топливно-кислородной горелки. Указанная система содержит устройство розжига, сигнализатор горения, блок отсечных клапанов, выполненный с возможностью соединения с газокислородным блоком, осуществляющим регулирование потоков топлива, кислорода и инструментального воздуха и подачу их в горелку, и блок управления, выполненный с возможностью коммуникации с газокислородным блоком, устройством розжига, сигнализатором горения и блоком отсечных клапанов. Согласно варианту осуществления изобретения устройство розжига представляет собой трансформаторный источник высокого напряжения. Согласно третьему аспекту изобретения, предложен способ управления розжигом и контролем пламени топливно-кислородных горелок, установленных в плавильной печи посредством вышеупомянутой системы, включающий этапы, на которых: - получают сигнал о включении газокислородного блока; - определяют количество горелок, которые необходимо привести в действие; - открывают отсечные клапаны блока отсечных клапанов для подачи топлива и кислорода в выбранные горелки; - включают искровое зажигание выбранных горелок; - отключают искровое зажигание; - осуществляют контроль пламени в горелках, в ходе которого: определяют наличие пламени в каждой горелке, причем при обнаружении наличия пламени во всех горелках продолжают работу, а при обнаружении отсутствия пламени в одной или более горелках включают искровое зажигание в соответствующей горелке; - производят подсчет количества неудачных попыток розжига горелок, при этом, если указанное количество больше заданного значения, прекращают подачу газа и кислорода. Согласно варианту осуществления изобретения заданное значение количества неудачных попыток розжига горелок равно пяти. Краткое описание чертежей Далее изобретение описано более подробно и со ссылкой на приложенные чертежи, на которых: - на фиг. 1 схематически показан продольный разрез горелки для плавильной печи согласно изобретению; - на фиг. 2 показана структурная схема системы управления розжигом и контролем пламени топливно-кислородной горелки согласно изобретению. Осуществление изобретения На фиг. 1 схематически показан продольный разрез топливно-кислородной горелки 1 согласно первому аспекту изобретения. Топливно-кислородная горелка 1 предназначена для установки в фурму плавильной печи, в частности шахтной печи для производства минеральной ваты. Горелка 1 имеет верхний по потоку конец и нижний по потоку конец и содержит корпус 2, проходящий в продольном направлении горелки. Конструкция топливно-кислородной горелки 1 согласно изобретению предусматривает наличие двух каналов подачи окислителя - канала 3 подачи окислителя, и канала, образованного кислородным инжектором 4. Канал 3 подачи окислителя имеет цилиндрическую форму, образован корпусом 2 горелки и проходит от верхнего по потоку до нижнего по потоку конца горелки, открываясь в выпускное отверстие окислителя на нижнем по потоку конце корпуса. Топливно-кислородная горелка 1 также содержит канал 5 подачи топлива, проходящий в указанном продольном направлении внутри канала 3 подачи окислителя. Используемое в горелке топливо может представлять собой любое подходящее жидкое или газообразное углеводородное топливо, например, природный газ. Согласно изобретению, кислородный инжектор 4 проходит внутри канала 5 подачи топлива в продольном направлении и имеет выпускное отверстие, расположенное на нижнем по потоку конце корпуса. Внутри канала 3 подачи окислителя расположен электрод 6 розжига и контроля пламени, применяемый для первоначального розжига горелки 1 и последующего контроля пламени. Такой электрод может представлять собой, например, ионизационный электрод. Указанный электрод розжига и контроля пламени выполнен с возможностью соединения с системой автоматического управления розжигом и контролем пламени горелки, которая описана ниже. Кислородный инжектор 4 выполнен с возможностью подачи окислителя с дозвуковой или сверхзвуковой скоростью и может быть оснащен соплом Лаваля. Горелка также может содержать заземляющий электрод (на чертежах не показан), который, предпочтительно, расположен на расстоянии 3-4 мм в поперечном направлении горелки от электрода 6 розжига и контроля пламени, причем нижние по потоку концы заземляющего электрода и электрода 6 розжига и контроля пламени расположены на одинаковом расстоянии от нижнего по потоку конца корпуса 2 горелки. Кроме того, расстояние L1 от нижнего по потоку конца кислородного инжектора 4 до нижнего по потоку конца корпуса 2 горелки, предпочтительно, равно внешнему диаметру d кислородного инжектора 4, а расстояние L2 от нижнего по потоку конца электрода 6 розжига и контроля пламени до нижнего по потоку конца корпуса 2 горелки равно 0,5d. Такие значения указанных расстояний необходимы для обеспечения надежного розжига горелки и уменьшают вероятность того, что розжиг не произойдет. Детали предложенной топливно-кислородной горелки 1 изготовлены из материалов, которые традиционно используются в данной области техники для изготовления горелок и обеспечивают необходимую теплоустойчивость. Горелка 1 может иметь систему охлаждения любого типа (с использованием в качестве охлаждающего агента воздуха, воды или другой среды). При этом необходимо, чтобы размеры системы охлаждения не увеличивали диаметр горелки 1 выше требуемых пределов. В целом, внешний диаметр топливно-кислородной горелки 1 не должен превышать трети диаметра фурмы (на чертежах не показана), в которой установлена горелка. Также, предпочтительно, нижний по потоку конец корпуса 2 горелки установлен на расстоянии от 2D до 3D от нижнего по потоку конца фурмы, где D-внутренний диаметр фурмы. Указанное расстояние выбрано в целях обеспечения безотказной работы устройства. При размещении горелки на меньшем расстоянии - т.е. слишком близко к зоне расплава, возникает опасность попадания расплава в горелку, тогда как размещение горелки слишком далеко от зоны расплава влечет за собой недогрев расплава и перегрев фурмы в рабочей зоне. Предпочтительно, дутье подают в фурму с расходом 700-1200 м3/ч при температуре 250-650°С. Указанные параметры дутья обусловлены особенностями технологического процесса плавления сырьевого материала в плавильной печи, используемого в настоящем изобретении, в частности процесса, предусматривающего горение природного газа в кислороде, а также конструктивными особенностями плавильной печи. Конструкция топливно-кислородной горелки 1 предусматривает возможность ее работы в четырех различных режимах. В первом режиме подача окислителя через кислородный инжектор 4 не производится. Работают только канал 3 подачи окислителя горелки и канал 5 подачи топлива. Во втором режиме осуществляется подача заданного количества окислителя через кислородный инжектор 4 с дозвуковой скоростью, остальное количество окислителя подается через канал 3 подачи окислителя. В третьем режиме основная часть окислителя проходит по каналу 3 подачи окислителя, а меньшая часть - подается через кислородный инжектор 4 с дозвуковой скоростью. В четвертом режиме окислитель со сверхзвуковой скоростью подается через кислородный инжектор 4 для максимального проникновения окислителя в расплав, находящийся в печи. Топливно-кислородные горелки 1 согласно изобретению предназначены для установки в фурмы плавильной печи. Печь, оснащенная такими топливно-кислородными горелками 1, имеет два источника энергии, необходимой для расплавления сырьевого материала. Часть энергии представляет собой энергию, получаемую от сгорания твердого топлива (кокса), а другая часть - энергию от сгорания смеси жидкого или газообразного топлива с кислородом. Управление распределением энергии между двумя источниками энергии, а также количеством энергии, получаемой посредством горелок в каждой фурме, позволяет повысить производительность и обеспечить эксплуатационную гибкость и безопасность работы шахтной печи. В каждой фурме печи может быть установлен датчик давления. Такой датчик давления может быть, например, установлен в передней зоне фурмы перед горелкой. Место размещения датчика может варьироваться в зависимости от конструкции печи при условии, что он будет выполнять описанную ниже функцию. Управление распределением общего расхода топлива по отдельным горелкам может осуществляться на основании изменения давления воздуха в фурмах, в которых установлены горелки. Так, в случае засора, вызванного забиванием зоны перед горелкой твердым материалом, датчик фиксирует понижение давления и мощность горелки увеличивается для того, чтобы расплавить твердый материал и ликвидировать затор. Например, в случае возникновения засора перед фурмой, можно подать через указанный кислородный инжектор 4 от 1/10 до 1/3 от общего количества кислорода, чтобы увеличить импульс пламени и обеспечить проникновение теплоты до центра печи. Кислородный инжектор 4 по существу действует в качестве кислородного копья. Кроме того, подачей топлива в каналы 5 подачи топлива горелок могут управлять на основе таких параметров как температура расплава и температура внутри печи, температура отходящих газов или температура воды контура охлаждения. Общую тепловую мощность горелок можно регулировать путем регулирования потоков топлива, потока окислителя, подаваемого по каналу 3 подачи окислителя и потока через кислородный инжектор 4, а также количества работающих горелок. Общая вырабатываемая горелками 1 тепловая мощность может быть поровну распределена между всеми горелками 1. Также, для поддержания наиболее эффективного проникновения пламени внутрь печи, часть горелок 1 может быть выключена. Для обеспечения равномерной теплопередачи в расплав управление последовательностью включения горелок и их мощностью может осуществляться с использованием соответствующей программы. Состав шихты, качество кокса и количества жидкого или газообразного топлива и кислорода влияют на количество пара и полный состав отходящих газов. Повышенная концентрация окиси углерода и водорода ведет к дожиганию и перегреванию выхода печи. Для уменьшения указанного недостатка применяют увеличение и уменьшение пламени горелки за счет изменения подачи топлива и окислителя. Изобретение позволяет заменить более 30% энергии, получаемой от сжигания кокса, на энергию, получаемую путем сжигания другого топлива, без существенных изменений процесса плавления и состава дыма. Управление розжигом и контролем пламени топливно-кислородной горелки осуществляется посредством системы управления розжигом и контролем пламени топливно-кислородной горелки 1, установленной в каждой из фурм печи, в которой получают расплав сырьевого материала, в частности сырьевого материала для производства минеральной ваты. Структурная схема указанной системы показана на фиг. 2. Указанная система включает в себя устройство розжига (УР), сигнализатор горения (СГ), блок управления (БУ) и блок отсечных клапанов (БОК), выполненный с возможностью соединения с газокислородным блоком (ГКБ), предназначенным для автоматического или полуавтоматического регулирования потоков топлива, кислорода и инструментального воздуха для подачи их в горелку с заданным давлением, расходом и соотношением одного газа по отношению к другому. Газокислородный блок содержит трубопроводы топлива, трубопроводы газообразного кислорода и трубопроводы инструментального воздуха, установленные на раме, а также технические устройства и трубопроводную арматуру, включающую в себя регулирующие клапаны топлива и кислорода, последовательно установленную на трубопроводах. Выходы трубопроводов топлива и газообразного кислорода соединены, через блок отсечных клапанов, с соответствующими каналами горелки 1, в частности с каналом 5 топлива и каналом 3 подачи окислителя. Вход трубопровода топлива газокислородного блока соединен с источником топлива. Вход трубопровода газообразного кислорода соединен с источником окислителя, таким как нагнетатель воздуха. Вход трубопровода, подающего кислород в кислородный инжектор 4 соединен с отдельным источником окислителя (ИО), например, с источником воздуха, содержание кислорода в котором составляет более 21%. Устройство розжига может представлять собой трансформаторный источник высокого напряжения, конструкция которого сама по себе известна. В качестве сигнализатора горения может использоваться, например, датчик пламени ЛУЧ-КЭ, выпускаемый НПП «Прома». Блок управления включает в себя программируемый логический контроллер, выполненный с возможностью посылать управляющие сигналы газокислородному блоку, блоку отсечных клапанов и устройству розжига и принимать сигналы от сигнализатора горения и газокислородного блока. Блок управления управляет также подачей окислителя в кислородный инжектор 4. Блок управления осуществляет управление каждой отдельной горелкой и общую координацию работы всех установленных в печи горелок. Каждая горелка, установленная в плавильной печи, оборудована вышеописанной системой розжига и контроля пламени. Управления розжигом и контролем пламени горелок, установленных в плавильной печи, с применением системы розжига и контроля пламени происходит в соответствии со следующим алгоритмом. Запуск системы происходит после получения сигнала о включении газокислородного блока. После получения такого сигнала определяют количество горелок из числа горелок, установленных в фурмах печи, которые необходимо привести в действие и открывают отсечные клапаны блока отсечных клапанов соответствующих горелок для подачи топлива и кислорода в выбранные горелки. После этого включают искровое зажигание выбранных горелок. Для этого блок управления подает сигнал устройствам розжига выбранных горелок на включение зажигания, после получения которого устройства розжига вызывают появление искры между электродами розжига и контроля пламени и корпусами горелок, что приводит к воспламенению топливно-воздушной смеси. Принцип искрового розжига, с применением, например, источника высокого напряжения и ионизационного электрода широко известен и в настоящей заявке подробно не рассматривается. Через заданное время, длительность которого может составлять, например, около 3 сек, отключают искровое зажигание и осуществляют контроль пламени. Контроль пламени осуществляется также посредством ионизационного электрода горелки. Принцип контроля пламени с применением ионизационного электрода также известен специалистам. Сигнал от ионизационного электрода поступает в сигнализатор горения, который, в свою очередь, выдает сигнал в блок управления розжигом и блоком отсечных клапанов. В ходе контроля пламени осуществляют контроль пламени в каждой горелке. Если зафиксировано наличие пламени во всех горелках, продолжают работу. В случае отсутствия пламени в какой-либо из горелок, кратковременно закрывают отсечной клапан горелки, затем снова открывают отсечной клапан и включают искровое зажигание этой горелки путем подачи соответствующего сигнала на устройство розжига этой горелки. В ходе осуществления данного способа производится подсчет неудачных попыток розжига каждой горелки, при этом, если количество неудачных попыток превышает заданное значение, прекращают подачу газа и кислорода, путем закрытия отсечных клапанов по сигналу, подаваемому устройством управления в блок отсечных клапанов. Количество неудачных попыток может быть равно, например, пяти. Таким образом, изобретением предложено техническое решение, сочетающее в себе достоинства применения топливно-кислородных горелок и кислородного обогащения, позволяющее при меньших трудозатратах увеличить экономию твердого топлива и повысить качество конечного продукта, производительность, гибкость, экологичность и безопасность процесса управления работой шахтной печи, в частности печи, применяемой для производства минеральной ваты.