патент
№ RU 2754851
МПК B01D53/26
Номер заявки
2020132912
Дата подачи заявки
06.10.2020
Опубликовано
08.09.2021
Страна
RU
Как управлять
интеллектуальной собственностью
Чертежи 
1
Реферат

Изобретение относится к устройствам для отделения газовых примесей из воздушного потока или газовых смесей и может быть использовано в воздухоразделительных установках и газозарядных средствах. Адсорбер, содержащий корпус, выполненный в виде полого цилиндра с профилированными фланцами со штуцерами, установленными с обоих торцов корпуса для подвода и отвода осушаемого газа, при этом в корпусе размещен адсорбент, преимущественно цеолит, причем корпус адсорбера выполнен состоящим из нескольких автономных изолированных частей, образующих блок с адсорбентом, причем в каждой части размещен адсорбент для поглощения определенного типа примесей, при этом упомянутые части выполнены и установлены последовательно в блоке с возможностью автономной замены каждой части и герметично соединены между собой, предпочтительно, при помощи фланцевых соединений. 1 ил.

Формула изобретения

Адсорбер, содержащий корпус, выполненный в виде полого цилиндра с профилированными фланцами со штуцерами, установленными с обоих торцов корпуса для подвода и отвода осушаемого газа, при этом в корпусе размещен адсорбент, преимущественно цеолит, отличающийся тем, что корпус адсорбера выполнен состоящим из нескольких автономных изолированных частей, образующих блок с адсорбентом, причем в каждой части размещен адсорбент для поглощения определенного типа примесей, при этом упомянутые части выполнены и установлены последовательно в блоке с возможностью автономной замены каждой части и герметично соединены между собой, предпочтительно, при помощи фланцевых соединений.

Описание

[1]

Изобретение относится к устройствам для отделения газовых примесей из воздушного потока или газовых смесей, и может быть использовано в воздухоразделительных установках и газозарядных средствах.

[2]

Известны устройства для осушки воздуха, включающие два адсорбера, соединенных трубопроводами, которые связаны с клапанами, обеспечивающими переключение режимов их работы с режима осушки в режим регенерации по команде от системы управления клапанами (см. заявку Японии N 61-35891 В, МКИ В01D 53/26, 53/02 от 86.08.15; заявка ЕПВ N 0212101, МКИ В01D 53/04, 53/26 от 87.03.04; заявка ФРГ N 3514473, МКИ В01D 53/26, от 86.10.23).

[3]

Известно устройство для осушки сжатого воздуха (заявка ФРГ N 3304722, кл В01D 53/26), содержащее два адсорбера, соединенных трубопроводами с установленными на них клапанами, которые обеспечивают поочередное переключение адсорберов с режима осушки в режим регенерации, дроссель с трубопроводом подачи осушенного газа, при пониженном давлении, в регенерируемый адсорбер и влагоотделитель с влагоотводящим клапаном, открывающимся согласно ритму переключения адсорберов.

[4]

Недостатком известного устройства является то, что выброс накопившегося конденсата происходит в окружающую среду, а также при высоком давлении, поэтому использование приведенного устройства невозможно при осушке, например, природного газа, где в конденсате могут содержаться компоненты, опасные для человеческого организма и вредно воздействующие на окружающую среду.

[5]

Известно устройство для осушки сжатого газа, включающее два адсорбера, соединенных трубопроводами, содержащими клапаны, обеспечивающие переключение адсорберов с режима осушки в режим регенерации, дроссель с трубопроводом подачи осушенного газа при пониженном давлении в регенерируемый адсорбер и влагоотделитель с влагоотводящим клапаном, отличающееся тем, что в нем влагоотделитель разделен на два резервуара: резервуар высокого давления, в полости которого размещен обратный клапан, механически связанный с поплавковым устройством, и резервуар низкого давления с автономно управляемым влагоотводящим клапаном, снабженный предохранительным клапаном (Патент РФ №2165786, МПК B01D 53/26).

[6]

Устройство работает следующим образом. Влажный газ с конденсатом поступает в резервуар высокого давления влагоотделителя, где конденсат накапливается. Отделенный от конденсата влажный газ поступает в один из адсорберов, работающих поочередно: один в режиме осушки; другой в режиме регенерации. Переключение адсорберов с режима осушки в режим регенерации, по мере насыщения адсорбента влагой, обеспечивается при помощи распределительных клапанов.

[7]

Для регенерации адсорбера используется часть осушенного газа, который при пониженном давлении, за счет дросселирования дросселем, пропускается через регенерируемый адсорбер. В режиме регенерации часть сухого газа подается в адсорбер в обратном направлении. Газ, проходя через внутреннюю полость адсорбера и слой адсорбента, насыщается влагой. Достигнув верхнего фланца корпуса, имеющего температуру, отличную от температуры газа, влажный газ конденсируется на конической поверхности фланца. Капли конденсата, стекая с конической поверхности фланца, попадают на верхние слои адсорбента, проникают вглубь слоя адсорбента и впитываются зернами адсорбента.

[8]

Основным недостатком указанного адсорбера является то, что капли влаги, попадая на слой адсорбента, впитываются зернами адсорбента, что приводит к их ускоренному разрушению и сокращению срока службы всего адсорбера в целом.

[9]

Известно устройство для очистки и осушки воздуха от двуокиси углерода, ацетилена и паров воды, включающее два адсорбера, соединенных трубопроводами, содержащими клапаны, обеспечивающие переключение адсорберов с режима осушки в режим регенерации. Осушка и очистка воздуха от двуокиси углерода, ацетилена и водяных паров в адсорберах происходит в результате адсорбции синтетическими цеолитами марки NaX (Герш С.Я. Глубокое охлаждение. Госэнергоиздат, 1960, часть II, с. 127, рис. 2-38; АКДС-70 М2. Альбом рисунков к техническому описанию и инструкции по эксплуатации КО 101.000.000-ТО1. РИО Упрполиграфиздат, Омск, 1985, с. 16, рис. 16).

[10]

Основными недостатками указанных блоков конструкции являются снижение надежности в результате накопления в системе станции закупоривающих примесей, тем самым происходит снижение ресурса станции до очередного ремонта.

[11]

Задача предлагаемого изобретения заключается в разработке конструкции адсорбера, имеющего высокие эксплуатационные характеристики, в частности, включающие высокую избирательную поглотительную способность в процессе адсорбции в отношении воздушной смеси газов и высокий коэффициент извлечения примесей в процессе десорбции.

[12]

Решение указанной задачи достигается тем, что в предложенном адсорбере, содержащий корпус, выполненный в виде полого цилиндра с профилированными фланцами со штуцерами, установленными с обоих торцов корпуса для подвода и отвода осушаемого газа, при этом в корпусе размещен адсорбент, преимущественно, цеолит, отличающийся тем, что корпус адсорбера выполнен состоящим из нескольких автономных изолированных частей, образующих блок с адсорбентом, причем в каждой части размещен адсорбент для поглощения определенного типа примесей, при этом упомянутые части выполнены и установлены последовательно в блоке с возможностью автономной замены каждой части и герметично соединены между собой, предпочтительно, при помощи фланцевых соединений.

[13]

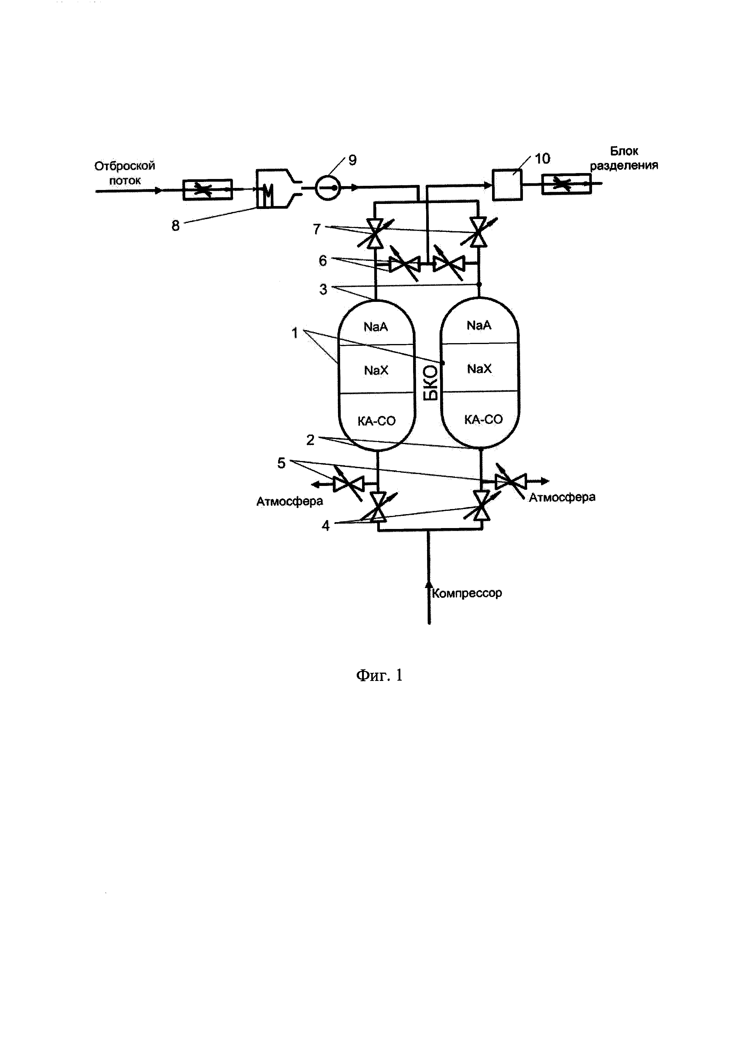
Сущность изобретения иллюстрируется чертежами, где на фиг. 1 показана схема установки адсорбера.

[14]

Адсорбер 1 содержит вертикальный цилиндрический корпус, входной патрубок 2, выходной патрубок 3, запорные вентиля 4, 5, 6, 7, электроподогреватель 8 - необходимый для процесса десорбции, термометр 9, газоанализатор 10. Насыпной слой каждой части зависит от нескольких факторов, в частности от поглотительной способности адсорбентов, состава исходной газовой смеси, скорости прохождения потока.

[15]

Предложенный адсорбер работает следующим образом. Работа предложенного адсорбера рассмотрена в составе блока комплексной очистки воздуха, для которого данный адсорбер и предназначен.

[16]

Воздух с температурой +5÷8°С при давлении 70 200 кгс/см2, пройдя влагоотделитель, поступает от компрессора через входной патрубок 2 в адсорбер 1 через открытый вентиль 4. В адсорбере 1 происходит процесс адсорбции через первый слой цеолита КАco - очистка воздуха от влаги; через второй слой NaX - очистка от подавляющего большинства компонентов сложных смесей - все типы углеводородов, органические, сернистые, азотистые и кислотные соединения, галогенозамещенные углеводороды; через третий слой NaA - очистка от большинства компонентов промышленных газов, критический размер молекул которых не превышает 4 (СН4, С2, С3Н6, CO2, CS2, H2S, СН3ОН и т.д.). После адсорбера 1, через открытый вентиль 6, очищенный воздух проходит к газоанализатору 10 и направляется по технологическому назначению. При работе одного адсорбера на режиме очистки воздуха, во втором проводится регенерация адсорбента (последовательные операции десорбции и охлаждения цеолита).

[17]

Использование предложенного технического решения позволит создать адсорбер с высокой избирательной поглотительной способностью в процессе адсорбции в отношении воздушной смеси газов и с обеспечением высокого коэффициента извлечения примесей в процессе десорбции.

Как компенсировать расходы
на инновационную разработку
Похожие патенты