Изобретение относится к сушильной технике и может быть использовано в сельскохозяйственных и других зерносушилках с гравитационным движущимся слоем, например жалюзийных, колонковых и т.п. Способ и устройство распределения газа в шахтной зерносушилке жалюзийного типа, состоящей из камеры нагретого воздуха, камеры влажного воздуха, сушильно-охладительной вертикальной камеры из модулей, установленных один над другим с образованием шахты, в каждом модуле находится несколько узких шахт с расположенными на них сверху вниз в несколько рядов жалюзи, отделяемых друг от друга и от стен модуля подводящими и отводящими каналами. Согласно изобретению газ, поступающий в подводящие каналы возле каждой жалюзи, разделяется на три потока, один из которых проходит через поджалюзийные щели, второй через жалюзи типа «акульих жабр», расположенные на вертикальных сторонах жалюзи, и третий через жалюзи типа «акульих жабр», расположенные на отогнутой стороне жалюзи, при этом все три потока газа проходят через жалюзийную колонну и поступают в отводящие каналы через противоположные поджалюзийные щели, жалюзи типа «акульих жабр», расположенные на отогнутых и вертикальных сторонах жалюзи соответственно, обеспечивая при этом равномерный поток газа, проходящего по всему объему жалюзийной колонны. На вертикальных и отогнутых сторонах жалюзи на всей поверхности или частично дополнительно нанесены жалюзи типа «акульих жабр», на вертикальной стороне жалюзи отогнуты в сторону потока воздуха, на наклонной стороне жалюзи отогнуты в сторону потока зерна, жалюзи типа «акульих жабр» могут иметь длину на протяжении всей шахты, или выполнены прерывистыми, или расположенными в шахматном порядке. Изобретения позволяют увеличить удельную подачу газа по всему объему камеры сушки или охлаждения, интенсифицировать процесс сушки и увеличить производительность, повысить равномерность сушки зерна и качество. 2 н.п. ф-лы, 6 ил.
1. Способ распределения газа в шахтной зерносушилке жалюзийного типа, состоящей из камеры нагретого воздуха, камеры влажного воздуха, сушильно-охладительной вертикальной камеры из модулей, установленных один над другим с образованием шахты, в каждом модуле находится несколько узких шахт с расположенными на них сверху вниз в несколько рядов жалюзи, отделяемых друг от друга и от стен модуля подводящими и отводящими каналами, отличающийся тем, что газ, поступающий в подводящие каналы возле каждой жалюзи, разделяется на три потока, один из которых проходит через поджалюзийные щели, второй через жалюзи типа «акульих жабр», расположенные на вертикальных сторонах жалюзи, и третий через жалюзи типа «акульих жабр», расположенные на отогнутой стороне жалюзи, при этом все три потока газа проходят через жалюзийную колонну и поступают в отводящие каналы через противоположные поджалюзийные щели, жалюзи типа «акульих жабр», расположенные на отогнутых и вертикальных сторонах жалюзи соответственно, обеспечивая при этом равномерный поток газа, проходящего по всему объему жалюзийной колонны. 2. Устройство распределения газа в шахтной зерносушилке жалюзийного типа, расположенное в сушильной или охладительной камере шахтной модульной зерносушилки, состоящей из нескольких узких шахт, отделяемых друг от друга и от стен модуля межшахтным пространством, при этом шахты образованы парой вертикальных направляющих с возможностью создания в модуле узких потоков зерна, на самих же направляющих расположены сверху вниз в несколько рядов жалюзи, отогнутые под некоторым углом внутрь потока, отличающееся тем, что на вертикальных и отогнутых сторонах жалюзи на всей поверхности или частично дополнительно нанесены жалюзи типа «акульих жабр», причем на вертикальной стороне жалюзи отогнуты в сторону потока воздуха, а на наклонной стороне жалюзи отогнуты в сторону потока зерна, при этом жалюзи типа «акульих жабр» могут иметь длину на протяжении всей шахты или выполнены прерывистыми, а также расположенными в шахматном порядке.
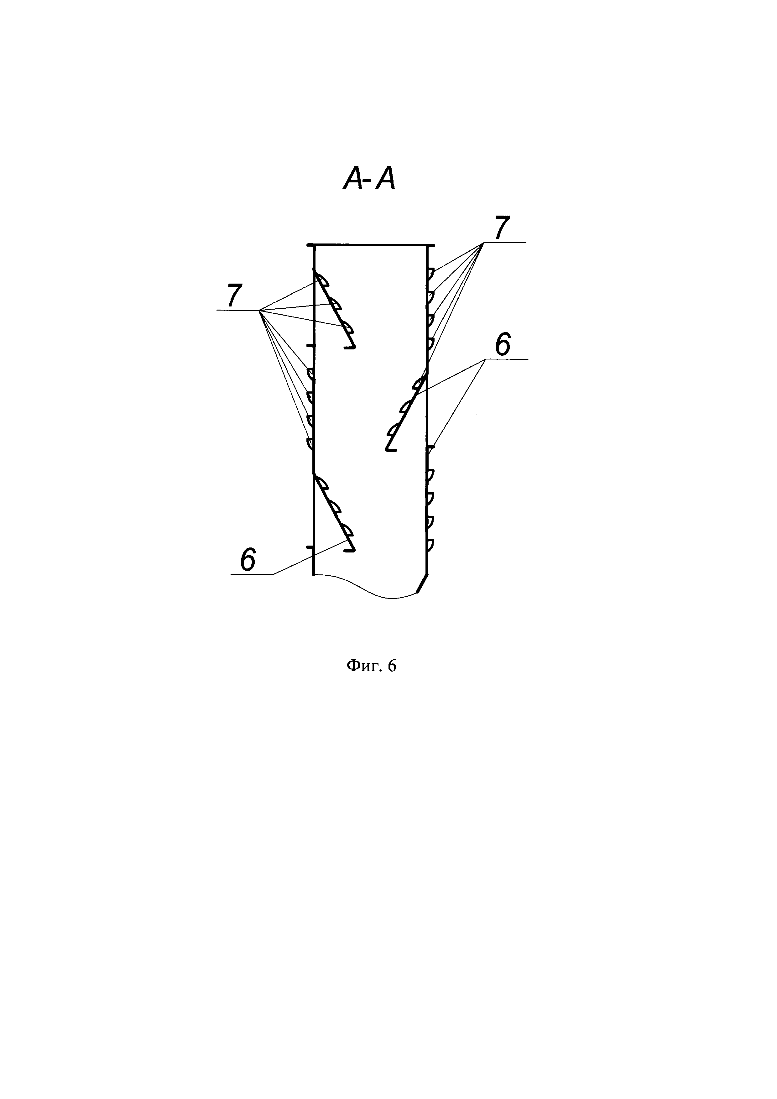
Изобретение относится к сушильной технике и может быть использовано в сельскохозяйственных и других зерносушилках с гравитационным движущимся слоем, например, жалюзийных, колонковых и т.п. Известны устройства распределения газа в шахтной зерносушилке (Патенты RU 2269079 С1 МПК F26B 17/12 опубликовано 27.01.2006; RU 2457413 С1 МПК F26B 17/12 опубликовано 27.07.2012; RU 2538185 С1 МПК F26B 17/12 опубликовано 10.01.2015; RU 169113 U1 С1 МПК F26B 17/12, F26B 25/08). Каждое из устройств содержит подводящую и отводящую камеры, а так же расположенные в сушильной камере чередующиеся рядами газоподводящие и газоотводящие короба и полукороба, где газоподводящие короба открытой торцевой стороной поверхностью соединены с подводящей камерой, а газоотводящие - с отводящей камерой, расположенной на противоположной стороне сушильной или охладительной камеры, при этом вся площадь или ее часть боковых стенок коробов и полукоробов, а так же вертикальных стенок перфорированы. Известные устройства распределения газа в шахтной зерносушилке имеют следующие недостатки. Низкий КПД и большие затраты энергии за счет высокого сопротивления перфорированных коробов и слоя зерна проходящему через них воздушному потоку. Наличие застойных зон в процессе сушки зерна в потоке, где высушиваемый материал перегревается и образует очаги возгорания. Вследствие этого увеличивается пожароопасность и требуется периодическая остановка в работе сушилки для проведения очистных работ. Сложность конструкции и невозможность технического обслуживания боковых стенок коробов и полукоробов со стороны слоя зерна. Наиболее близким по технической сущности и достигаемому эффекту является шахтная модульная зерносушилка жалюзийного типа (Патент RU 97499 U1 МПК F26B 17/12 опубликовано 10.09.2010), включающая сушильно-охладительную камеру из модулей, состоящих из нескольких узких шахт, отделяемых друг от друга и от стен модуля межшахтным пространством, при этом шахты образованы парой вертикальных направляющих с возможностью создания в модуле узких потоков зерна, на самих же направляющих расположены сверху вниз в несколько рядов жалюзи, отогнутые под некоторым углом внутрь потока. Недостатком известной сушилки является неравномерная подача и распределение сушильного агента по объему зерна в шахте через поджалюзийные щели, что объясняется потерями давления на трение и местные сопротивления при движении воздуха вдоль узких прямоугольных межшахтных каналов. Низкий КПД и большие затраты энергии за счет высокого сопротивления слоя зерна в колоннах, проходящему через них воздушному потоку только через поджалюзийные щели. Неравномерность подачи сушильного агента в слой зерна обуславливает неравномерность сушки зерна и качество готового продукта; опасность перегрева зерна и, как следствие, необходимость снижения интенсивности сушки, что ведет к уменьшению производительности оборудования. Так движение зерна по толщине зерновой колонны будет неравномерным. Центральный слой будет двигаться с большей скоростью, чем слои, расположенные ближе к жалюзи. Толщина пристенного слоя зерна будет зависеть от сыпучести зерна, угла естественного откоса, влажности и др. свойств. Так же неравномерность движения может быть вызвана агломерацией частиц и налипанием их на стенки. Так как поток сушильного агента входит только через поджадюзийные щели, проходит преимущественно через центральное сечение жалюзийной колонны и отводится через противоположные поджалюзийные щели расположенные в шахматном порядке, то пристенные слои зерна будут сохнуть дольше, тем самым вызывая неравномерность сушки и возможный перегрев слоев. Техническая задача изобретения заключается в повышении равномерности сушки зерна и качества готового продукта, увеличении КПД, снижении энергозатрат и увеличении удельной подачи газа в рабочее пространство шахтной зерносушилки жалюзийного типа, что обеспечивает интенсификацию сушки или охлаждения зерна и увеличение производительности. Поставленная техническая задача изобретения достигается тем, что в способе распределения газа в шахтной зерносушилке жалюзийного типа, состоящей из камеры нагретого воздуха, камеры влажного воздуха, сушильно-охладительной вертикальной камеры из модулей, установленных один над другим с образованием шахты, в каждом модуле находится несколько узких шахт с расположенными на них сверху вниз в несколько рядов жалюзи, отделяемых друг от друга и от стен модуля подводящими и отводящими каналами, новым является то, что газ, поступающий в подводящие каналы возле каждой жалюзи разделяется на три потока один из которых проходит через поджалюзийные щели, второй через жалюзи типа «акульих жабр», расположенные на вертикальных сторонах жалюзи и третий через жалюзи типа «акульих жабр», расположенные на отогнутой стороне жалюзи, при этом все три потока газа проходят через жалюзийную колонну и поступают в отводящие каналы через противоположные поджалюзийные щели, жалюзи типа «акульих жабр», расположенные на отогнутых и вертикальных сторонах жалюзи соответственно, обеспечивая при этом равномерный поток газа, проходящего по всему объему жалюзийной колонны. Для этого в устройстве распределения газа на вертикальных и отогнутых сторонах жалюзи на всей поверхности или частично дополнительно нанесены жалюзи типа «акульих жабр», причем на вертикальной стороне жалюзи отогнуты в сторону потока воздуха, а на наклонной стороне жалюзи отогнуты в сторону потока зерна, при этом жалюзи типа «акульих жабр» могут иметь длину на протяжении всей шахты или выполнены прерывистыми, а так же расположенными в шахматном порядке. Технический результат изобретения заключается в повышении качества высушиваемого зерна, равномерности его сушки, увеличении КПД и удельной подачи газа в рабочее пространство, интенсификацию сушки, а также снижении энергозатрат на процесс сушки. Предлагаемый способ и устройство для его осуществления показаны на фиг. 1 - поперечный разрез модуля шахтной зерносушилки с жалюзийными колоннами с потоками движения газа; на фиг. 2 - вид сбоку жалюзийной колонны (исп. 1); на фиг. 3 - вид сбоку жалюзийной колонны (исп. 2); на фиг. 4 - вид сбоку жалюзийной колонны (исп. 3); на фиг. 5 - вид сверху жалюзийной колонны; на фиг. 6 - поперечный разрез А-А жалюзийной колонны. Устройство, реализующее способ, содержит камеру нагретого воздуха, камеру влажного воздуха и сушильно-охладительную камеру (на схеме не показаны). Жалюзийные колонны шахтной модульной зерносушилки расположены в модуле сушильной или охладительной камеры шахтной зерносушилки. Модули установлены один над другим и обшиты боковыми стенками 1 с теплоизоляцией. В каждом модуле зерносушилке находится четное количество жалюзийных колон 2, установленных в шахматном порядке и отделяемых друг от друга и от стен модуля подводящими 3 и отводящими 4 каналами. Колонны между собой скреплены поперечными балками. Шахта зерносушилки образована жалюзийными колоннами, которые создают несколько узких потоков зерна в зерносушилке. С обеих сторон шахты между жалюзийными колоннами 2 установлены в шахматном порядке заглушки, которые отделяют камеру нагрева от камеры влажного воздуха, препятствуя сквозному прохождению сушильного агента через межшахтное пространство и тем самым обеспечивая прохождение сушильного агента через слой зерна в колоннах 2. В зоне сушки каналы 3 служат для подачи газа (сушильного агента) из камеры нагрева в шахту, а каналы 4 для отвода смеси сушильного агента и влаги из шахты в камеру влажного воздуха. Сами каналы 3 для подачи газа чередуются с каналами 4 для отвода смеси сушильного агента и влаги. В зоне охлаждения в каналы 3 поступает холодный атмосферный воздух, проходит через шахту и поступает в камеру влажного воздуха через каналы 4. Жалюзийная колонна 2 состоит из двух стоек 5, на которых закреплены жалюзи 6 сверху вниз в несколько рядов. Жалюзи 6 отогнуты под некоторым углом внутрь потока. На вертикальных и отогнутых сторонах жалюзи дополнительно нанесены жалюзи типа «акульих жабр» 7, причем на вертикальной стороне жалюзи отогнуты в сторону потока воздуха, а на наклонной стороне жалюзи отогнуты в сторону потока зерна. Жалюзи типа «акульих жабр» могут быть расположены отдельно только на вертикальной поверхности или на отогнутой, причем нанесение может быть выполнено как на всей поверхности, так и частично, таким образом, чтобы обеспечивалось равенство средних значений расходов газа вдоль колонны. Схема нанесения жалюзи типа «акульих жабр» может быть различна, например, по всей длине колоны (исполнение 1), иметь прерывистый характер нанесения (исполнение 2) или же расположены в шахматном порядке (исполнение 3). Схема нанесения будет завесить от размеров жалюзийной колонны, характеристик оборудования, которым выполняются жалюзи типа «акульих жабр», а так же скорости потока сушильного агента и создаваемое им давление или разряжение в сушильно-охладительной камере. Схема нанесения жалюзи, размеры жалюзи и площадь их нанесения должны выбираться исходя из условий равномерного распределения сушильного агента в слое высушиваемого материала. Устройство, реализующее способ работает следующим образом. Сыпучий материал перемещается под действием силы тяжести сверху вниз и перемешивается в зерновых колоннах 2 под действием жалюзи 6. Геометрия зернового слоя в жалюзийных колоннах создает необходимое давление зерна, обеспечивая его прохождение без образования застойных зон в процессе сушки. Нагретый сушильный агент (газ) из камеры горячего воздуха попадает в межшахтное пространство через открытые подводящие каналы 3 и упирается в заглушки со стороны камеры влажного воздуха. Далее газ возле каждой жалюзи разделяется на три потока один из которых проходит через поджалюзийные щели, второй через жалюзи типа «акульих жабр», расположенные на вертикальных сторонах жалюзи и третий через жалюзи типа «акульих жабр», расположенные на отогнутой стороне жалюзи, при этом все три потока газа проходят через жалюзийную колонну и поступают в отводящие каналы. Такой способ распределения позволит увеличить удельную подачу газа при уменьшении скорости прохождения его через жалюзийные щели тем самым предотвратив унос легких частиц зерна из жалюзийной колонны. Увеличение количества газа, проходящего через слой зерна, позволит интенсифицировать процесс сушки. Потоки газа, проходящие через дополнительно нанесенные жалюзи типа «акульих жабр» будут двигаться по более короткой линии тока, чем потоки газа, проходящие только через поджалюзийные щели, что позволит снизить удельное сопротивление зерновой колонны и тем самым увеличить КПД сушилки и снизить энергозатраты. Также потоки газа, проходящие через жалюзи типа «акульих жабр», выполненные на прямой и отогнутой сторонах жалюзи интенсифицируют сушку пристенных слоев сыпучего материала, тем самым обеспечивая равномерность сушки по всей толщине жалюзийной колонны. Отогнутые в сторону потока зерна жалюзи типа «акульих жабр» на отогнутых сторонах жалюзи предотвращают высыпание зерна через щели. Нанесение жалюзи типа «акульих жабр» частично на вертикальных и отогнутых сторонах жалюжи позволяет учесть неравномерное распределение вдоль подводящих 3 и отводящих 4 каналов разности потенциалов (разности давлений) между границами входа газа в слой сыпучего материала и выхода из него. За счет этого достигается выравнивание средних значений расходов газа вдоль жалюзийных колонн. Газ равномерным потоком проходит через слой зерна, расположенного в жалюзийных колоннах 2 при этом нагревает его, отдает часть тепловой энергии и забирает часть влаги и пыль из зерна. После прохождения через сыпучий материал влажный и запыленный воздушный поток (отработанный газ) через противоположные поджалюзийные щели, жалюзи типа «акульих жабр», расположенные на отогнтутых и вертикальных сторонах жалюзи соответственно попадает в отводящие каналы 4, откуда направляется в камеру влажного воздуха. Применение предлагаемых жалюзийных колонн возможно в различных шахтных зерносушилках независимо от исполнения сушилки в части камеры горячего и влажного воздуха, разгрузочного устройства зерносушилки, бункера для загрузки и горелочного устройства. Жалюзийные зерновые колонны могут устанавливаться как в сушильной так и в охладительной камерах зерносушилки, а также в сушилках с применением рециркуляции воздуха. Таким образом, в предлагаемом способе и устройстве за счет перераспределения потоков газа, уменьшения его скорости в наиболее опасных по условиям выноса зерна зонах и увеличения удельной подачи газа по всему объему камеры сушки или охлаждения, приведет к интенсификации процесса и увеличению производительности оборудования, увеличению КПД и снижению энергозатрат, а также повышению равномерности сушки зерна и качества готового продукта.