Изобретение относится к нефтегазодобывающей промышленности, а именно к устройствам, предназначенным для герметизации канала на устье скважины закрытия скважины. Техническим результатом является простота конструкции и снижение металлоемкости устройства. Предложенный превентор сдвоенный включает корпус с вертикальным проходным каналом и сквозным горизонтальным каналом с двусторонними плашечными полостями, расположенным поперек продольной оси вертикального проходного канала, два плашечных затвора, расположенные в соответствующих плашечных полостях, которые оснащены двумя герметизирующими скважинное оборудование основными плашками и двумя глухими плашками, и механизмы перемещения плашек в соответствующих плашечных каналах с ручным винтовым линейным приводом. Механизм перемещения соответствующей плашки выполнен в виде фиксатора от продольного перемещения на конце ручного привода, вставляемого в плашечный затвор, который изготовлен в виде основной плашки с полостью под глухую плашку, вставленную герметично полость осовной плашки с возможностью продольного перемещения внутрь и подпружиненную наружу. 2 з.п. ф-лы, 7 ил.
1. Превентор сдвоенный, включающий корпус с вертикальным проходным каналом и сквозным горизонтальным каналом с двусторонними плашечными полостями, расположенным поперек продольной оси вертикального проходного канала, два плашечных затвора, расположенные в соответствующих плашечных полостях, которые оснащены двумя герметизирующими скважинное оборудование основными плашками и двумя глухими плашками, механизмы перемещения плашек в соответствующих плашечных каналах с ручным винтовым линейным приводом, отличающийся тем, что механизм перемещения соответствующей плашки выполнен в виде фиксатора от продольного перемещения на конце ручного привода, вставляемого в плашечный затвор, который изготовлен в виде основной плашки с полостью под глухую плашку, вставленную герметично полость основой плашки с возможностью продольного перемещения внутрь и подпружиненную наружу. 2. Превентор сдвоенный по п. 1, отличающийся тем, что поверхности глухой плашки, герметично взаимодействующие с поверхностями полости основной плашки, оснащены поперечными проточками для образования лабиринтного уплотнения. 3. Превентор сдвоенный по одному из пп. 1 или 2, отличающийся тем, что поверхность первой глухой плашки, взаимодействующая со второй плашкой, оснащена горизонтальными выборками, а вторая плашка – выступами под соответствующие выборки первой плашки, причем выборки изготовлены глубже, чем высота выступов для образования лабиринтного уплотнения при их взаимодействии.
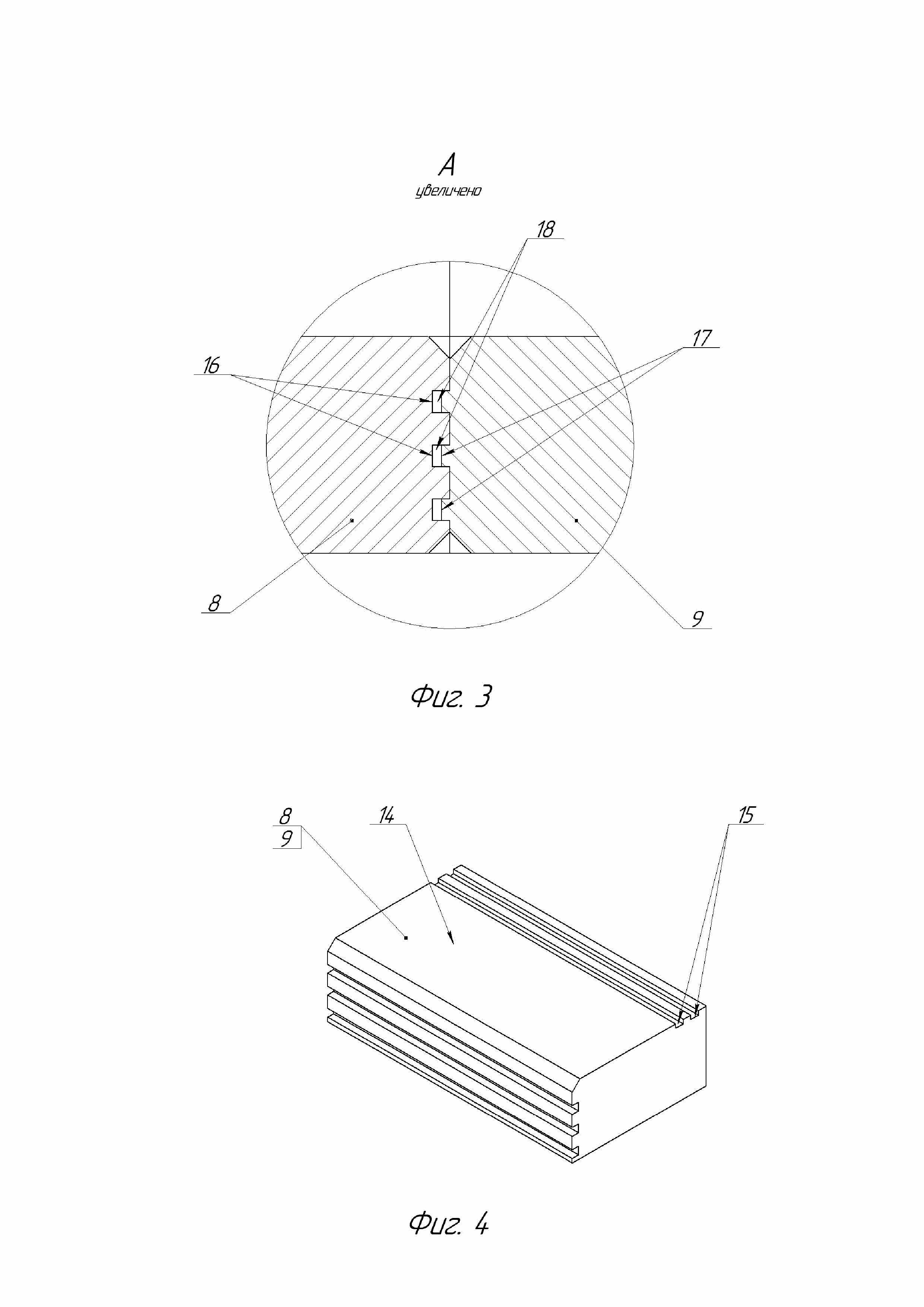
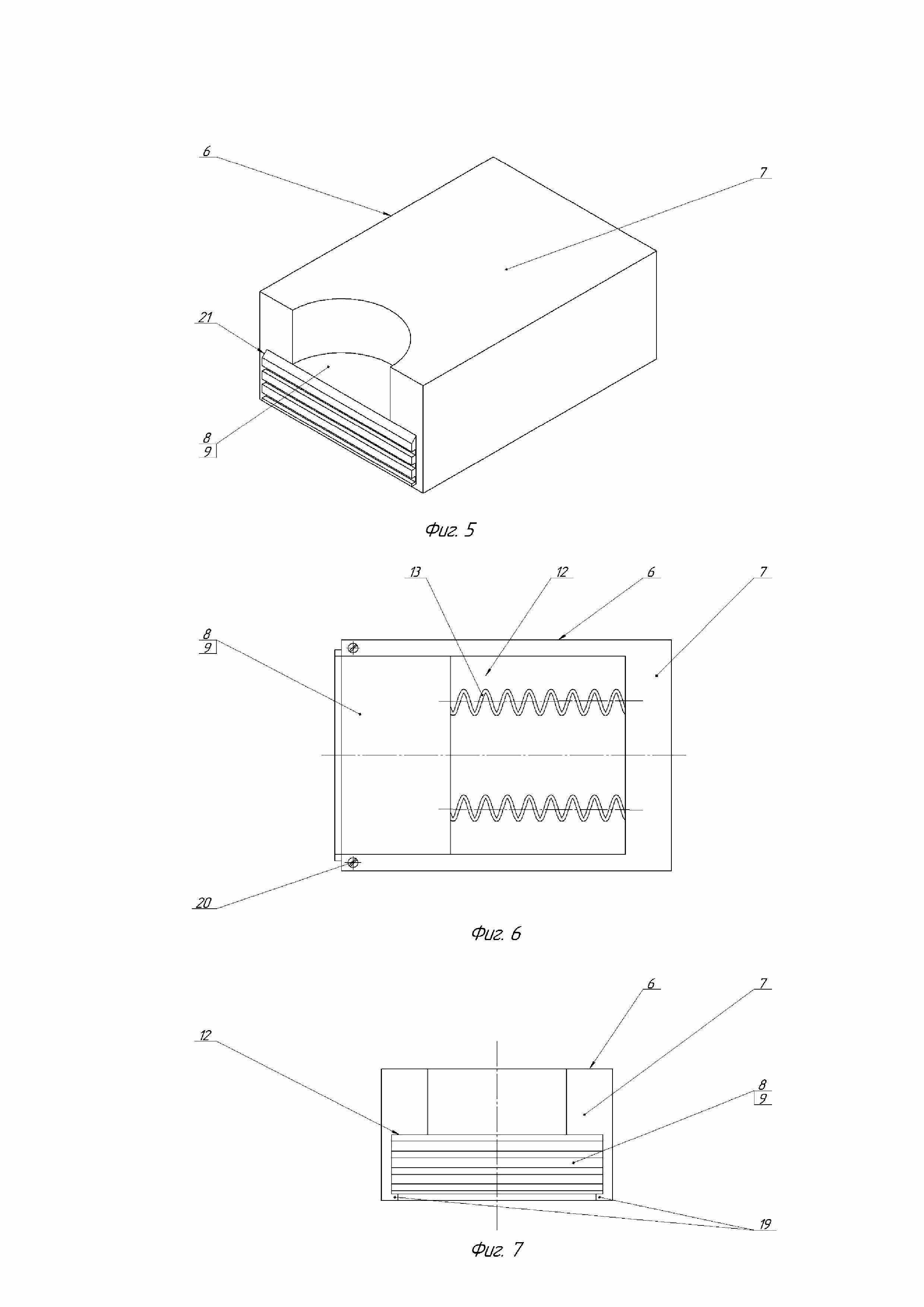
Изобретение относится к нефтегазодобывающей промышленности, а именно к устройствам, предназначенным для герметизации канала на устье скважины закрытия скважины. Известен превентор (патент на ПМ RU № 131797, МПК Е21В 33/06, опубл. 27.08.2013 Бюл. № 24), характеризующийся тем, что он содержит корпус, выполненный из двух секций с верхним и нижним фланцем с двумя боковыми и с двумя торцовыми сторонами, и имеющий единый сквозной вертикальный осевой канал для спуска или подъема труб в скважину, два сквозных горизонтально расположенных плашечных канала, по одному в каждой секции, при этом в корпусе на одной из боковых сторон расположены два отверстия, закрытые круглыми глухими крышками, присоединяемыми к корпусу при помощи шпилек и колпачковых гаек, в канавки сквозного вертикального канала соосно установлены два кольцевых зеркала, каждое из которых имеет не менее двух резьбовых отверстий для крепления от перемещения в осевом направлении, канавку для уплотнительного элемента, направляющую фаску для равномерного захода на зеркало верхних уплотнителей плашечного затвора, две параллельных лыски для фиксации зеркала от поворота, при этом в верхнем плашечном канале установлен трубный плашечный затвор с двумя оппозитно расположенными трубными плашками для герметизации труб по наружному диаметру и затрубного пространства, с возможностью перемещения в верхнем плашечном канале в направлении, перпендикулярном осевому каналу корпуса до крайнего открытого положения и, наоборот, до крайнего закрытого положения, причем трубная плашка состоит из корпуса трубной плашки с горизонтальным Т-образным пазом, уплотнителя трубного, уплотнителя верхнего, который соединяет с помощью вставленных в него штифтов корпус плашки и уплотнитель трубный, причем в закрытом положении трубные плашки смыкаются трубными уплотнителями на трубе, а уплотнители верхние заходят на зеркало и смыкаются друг по другу, образуя трубный плашечный затвор, тем самым герметизируя трубу по наружному диаметру и затрубное пространство, для перемещения трубных плашек в направлении, перпендикулярном осевому каналу корпуса, предусмотрена пара гидроцилиндров, присоединенных к противоположным сторонам верхней секции корпуса через быстроразъемные соединения, выполненных в виде мембранных клапанов, дополнительно превентор снабжен верхним гидрораспределителем, интегрированным в корпус, соединенный через гидроканалы, расположенные внутри корпуса превентора, с открывающими и закрывающими полостями гидроприводов, которые перемещают трубные плашки, в нижнем плашечном канале установлен глухой плашечный затвор с двумя оппозитно расположенными глухими плашками, предназначенными для герметизации осевого канала корпуса, с возможностью перемещения по нижнему плашечному каналу в направлении, перпендикулярном осевому каналу корпуса до крайнего открытого положения и, наоборот, до крайнего закрытого положения, причем глухая плашка состоит из корпуса глухой плашки с горизонтальным Т-образным пазом, уплотнителя глухого, уплотнителя верхнего, который соединяет с помощью вставленных в него штифтов корпус глухой плашки и уплотнитель глухой, которые необходимы для герметизации осевого проходного отверстия в корпусе превентора, когда через превентор в скважину не спущена труба и глухие корпуса плашки через уплотнители глухие упираются друг по другу, уплотнитель верхний, выполненный из эластомера в виде полукольца с установленными в него двумя штифтами, устанавливается в соответствующий паз глухого корпуса плашки, причем в закрытом положении, глухие плашки смыкаются уплотнителями глухими друг в друга, а уплотнители верхние заходят на зеркало и смыкаются друг по другу, образуя глухой плашечный затвор, герметизирующий осевое отверстие в корпусе превентора, при этом для перемещения глухих плашек в направлении, перпендикулярном осевому каналу корпуса, предусмотрена пара гидроцилиндров, присоединенных к противоположным сторонам нижней секции корпуса через быстроразъемные соединения, выполненные в виде мембранных клапанов, также превентор снабжен нижним гидрораспределителем, интегрированным в корпус, соединенный через гидроканалы, расположенные внутри корпуса превентора с открывающими и закрывающими полостями гидроприводов, которые перемещают глухие плашки; в центральной части корпуса между верхним плашечным каналом и нижним плашечным каналом, кольцевой полостью подогрева с присоединенными к ней на болтах крышками с резьбовыми отверстиями для присоединения к магистрали теплоносителя, при этом соединение каждого гидропривода с плашкой осуществляется через Т-образный сменный хвостовик, который ввернут на резьбе в шток гидропривода и через Т-образный горизонтальный выступ соединен с Т-образным пазом плашки, при этом плашка имеет возможность отсоединения от Т-образного хвостовика соответствующего ей гидропривода при замене, причем передняя крышка каждого гидропривода выполнена совместно с гидроцилиндром для увеличения жесткости конструкции и уменьшения отгиба передней крышки от соответствующей поверхности превентора, при этом каждая передняя крышка имеет выступ, на котором расположена канавка для установки в нее рамочного уплотнителя, при этом герметизация плашечного канала и гидропривода происходит по внутренней поверхности плашечного канала корпуса со стороны торцовой части корпуса превентора, а в задней крышке имеется центральное отверстие для перемещения штока и окно для установки указателей положения «открыто-закрыто», два отверстия, расположенные перпендикулярно оси центрального отверстия, необходимые для крепления ходовой гайки, которая крепится в задней крышке двумя болтами, кроме того, в ходовую гайку ввинчен ходовой винт, предназначенный для фиксации штока в закрытом положении плашечного затвора, в хвостовой части штока при помощи гайки крепится указатель перемещения штока, при этом для индикации положения ходового винта в зарезьбовую канавку ходового винта навинчен указатель положения ходового винта, который перемещается при помощи штурвала, установленного на квадратный хвостовик и закрепленный через соответствующее сквозное отверстие в штурвале и квадратном хвостовике ходового винта болтом и гайкой, при этом превентор имеет возможность одновременной установки четырех штурвалов. Наиболее близким по технической сущности является превентор кабельный сдвоенный с цилиндрическими плашками и гидравлическим управлением (патент на ПМ RU № 181995, МПК Е21В 33/06, опубл. 31.07.2018 Бюл. № 22), содержащий корпус, с вертикальным проходным каналом и горизонтальными цилиндрическими каналами, расположенными поперек продольной оси вертикального проходного канала, два плашечных затвора, расположенные в цилиндрических плашечных полостях, в верхних плашечных полостях установлены две кабельные плашки, в нижних плашечных полостях установлены две глухие плашки, четыре механизма перемещения плашек, механизм перемещения плашек выполнен в виде гидроцилиндра, связанного с ручным винтовым линейным приводом, вертикальный проходной канал корпуса на входе и выходе содержит участки с резьбовой нарезкой, плашки цилиндрические и состоят из корпуса с эластичными уплотнителями, причем кабельные плашки оснащены направляющими V-образных центраторов и отверстием под кабель, корпус кабельной плашки содержит поперечный паз на переднем торце и радиальную проточку на боковой поверхности в верхней части, в поперечном пазу установлено центральное эластичное уплотнение, в радиальной проточке установлено верхнее радиальное эластичное уплотнение, плотно примыкающее к центральному эластичному уплотнению, корпус кабельной плашки и центральное эластичное уплотнение, установленное в поперечном пазу кабельной плашки, содержат отверстие под кабель, на заднем торце корпуса плашки выполнен соединительный паз. Недостатками обоих аналогов является сложность конструкций из-за наличия большого количество точно подгоняемых деталей, необходимость наличия насосной установки для перекачки гидравлической жидкости и системы управления клапанами, которые особенно в холодное время года очень инерционны, невозможность использования для работ на скважинах с высоким внутренним давления из-за медленного глухого перекрытия при обрыве каната, труб или штанг, которое производится только с пульта управления клапанами, высокая металлоемкость из-за разнесения герметизирующих и глухих плашек по высоте в разные поперечные каналы. Технической задачей предлагаемого изобретения является создание простой и надежной с низкой металлоемкостью конструкции превентора сдвоенного за счет только механического перемещения плашек, которые совмещены и установлены в одном поперечном канале, и позволяющей в автоматическом режиме перекрывать канал глухими подпружиненными плашками при обрыве каната, труб или штанг, что необходимо для работы со скважинами под давлением. Техническая задача решается превентором сдвоенным, включающим корпус с вертикальным проходным каналом и сквозным горизонтальным каналом с двусторонними плашечными полостями, расположенным поперек продольной оси вертикального проходного канала, два плашечных затвора, расположенные в соответствующих плашечных полостях, которые оснащены двумя герметизирующими скважинное оборудование основными плашками и двумя глухими плашками, механизмы перемещения плашек в соответствующих плашечных каналах с ручным винтовым линейным приводом. Новым является то, что механизм перемещения соответствующей плашки выполнен в виде фиксатора от продольного перемещения на конце ручного привода, вставляемого в плашечный затвор, который изготовлен в виде основной плашки с полостью под глухую плашку, вставленную герметично полость основной плашки с возможностью продольного перемещения внутрь и подпружиненную наружу. Новым является также то, что поверхности глухой плашки, герметично взаимодействующие с поверхностями полости основной плашки, оснащены поперечными проточками для образования лабиринтного уплотнения. Новым является также то, что поверхности первой глухой плашки, взаимодействующая со второй плашкой, оснащена горизонтальными выборками, а вторая плашка – выступами под соответствующие выборки первой плашки, причем выборки изготовлены глубже, чем высота выступов для образования лабиринтного уплотнения при их взаимодействии. На фиг. 1 изображен вид сверху превентора. На фиг. 2 изображен вид сбоку превентора в продольном разрезе. На фиг. 3 изображен вид А фиг. 2 превентора. На фиг. 4 изображена плашка превентора в изометрии. На фиг. 5 изображены плашек превентора в сборе в изометрии. На фиг. 6 изображен вид снизу плашек превентора в сборе. На фиг. 7 изображен вид спереди плашек превентора в сборе. Превентор сдвоенный включает корпус 1 (фиг. 1) с вертикальным проходным каналом 2 (фиг. 2) и сквозным горизонтальным каналом 3 с двусторонними плашечными полостями 4 и 5, расположенным поперек продольной оси вертикального проходного канала 2, два плашечных затвора 6, расположенные в соответствующих плашечных полостях 4 и 5. Плашечные затворы 6 оснащены двумя одинаковыми герметизирующими скважинное оборудование основными плашками 7 и двумя глухими плашками 8 и 9, Первентор также содержит механизмы перемещения плашек 7, 8 и 9 в соответствующих плашечных каналах 4 и 5 с ручным винтовым линейным приводом 10. Ручной привод 10 может быть выполнен любой известной конструкции, например, в виде винта 11, взаимодействующего с резьбой 11 горизонтального канала 3, винта зафиксированного от перемещения в канале 3 и взаимодействкющего с резьбой соответствующего плашечного затвора 6 (не показаны), винта взаимодействующего с резьбой переходной втулки с разнонаправленной резьбой для толкания и извлечения плашечного затвора 6 (не показаны) или т.п. (авторы на это не претендуют, так как ручных, линейных винтовых приводов известно большое количество из открытых источников). Механизм перемещения соответствующей плашки выполнен в виде фиксатора (не показан) от продольного перемещения на конце ручного привода 10, вставляемого в плашечный затвор 6. Фиксатор может быть выполнен в виде выступа винта 11 с пружинным кольцом, вставляемыми в отверстие плашечного затвора 6, отверстия на конце винта 11 с пружинным кольцом, охватывающим при установке выступ плашечного затвора 6, или пружинного язычка в отверстии плашечного затвора 6 или т.п. (авторы на это не претендуют, так как фиксаторов, не мешающих вращению винта 11 известно большое количество из открытых источников). Плашечный затвор 6 (фиг. 5, 6 и 7) изготовлен в виде основной плашки 7 с полостью 12 (фиг. 6 и 7) под глухую плашку 8 или 9, вставленную герметично полость 12 основной плашки 7 с возможностью продольного перемещения внутрь и поджатую как минимум одной пружиной 13 (фиг. 6) наружу, в сторону вертикального канала 2 (фиг. 2). Поверхности плашек 7, 8 и 9, обеспечивающие герметичность с трубами, кабелем, штангой или при взаимном взаимодействии могут покрываться упругим масло- и бензостойким материалом (резина, полиуретан, армированный пластик или т.п. – авторы на это не претендуют). При работе на устье скважины с высоким внутрискважинным давлением (выше 0,2 МПа) для улучшения герметичности прилегания поверхностей 14 (фиг. 4) глухой плашки 8 или 9, взаимодействующих с поверхностями полости 12 (фиг. 6 и 7) основной плашки 7, могут быть оснащены поперечными проточками 15 (фиг. 4) для образования с ними лабиринтного уплотнения. Для улучшения перекрытия скважины поверхность первой глухой плашки 8 (фиг. 3), взаимодействующая со второй плашкой 9, может быть оснащена горизонтальными выборками 16, а вторая плашка 9 – выступами 17 под соответствующие выборки 16 первой плашки 8, причем выборки 16 изготовлены глубже, чем высота выступов 17 для образования лабиринтного уплотнения при их взаимодействии за счет зазоров 18 между ними при этом. Конструктивные элементы и технологические соединения, не влияющие на работоспособность превентора, на чертежах (фиг. 1 – 7) не показаны или показаны условно. Превентор работает следующим образом. Перед установкой на устье скважины (не показаны) превентор собирают в цехе или специализированной мастерской. Для этого сначала собирают плашечные затворы 6: глухие плашки 8 (фиг. 6) и 9 оснащают пружиной(ами) 13 и вставляют в полость 12 соответствующих основных плашек 7 по направляющим 19 (фиг. 7). Преодолевая усилия пружин 13 (фиг. 6) плашки 8 и 9 заталкивают в полость 12 соответствующих основных плашек 7 и фиксируют от выпадения упорными винтами 20 или штифтами (не показаны) снизу или сбоку (не показано). Выступающую из полости 12 часть плашек 8 (фиг. 5) и 9 могут изготавливаться с фасками 21 сверху и снизу (не показано) для исключения задиров проходящих через превентор труб, кабелей или штанг. Для работы на устье скважины с высоким внутрискважинным давлением рекомендуется использовать глухие плашки 8 (фиг. 4) и 9 с поперечными проточками 15 на поверхностях 14, горизонтальными выборками 16 (фиг. 3) и выступами 17 соответственно на взаимодействующих поверхностях глухих плашек 8 и 9 для получения дополнительных лабиринтных уплотнений, например, при помощи чередующихся засоров 18. Рекомендуется все взаимодействующие поверхности основных 7 (фиг. 5, 6 и 7) и глухих 8 и 9 плашек покрыть масло- и бензостойкой смазкой (хорошо себя зарекомендовали медные и меднографитовые смазки, например, Efele MP-413, ROXOL-980 или т.п.) для уменьшения трения и улучшения герметизации трущихся деталей. После чего каждый плашечный затвор 6 соединяют с соответствующим ручным приводом 10 (фиг. 2), например, выступ 22 винта 11 вставляют отверстие 23 основной плашки 7 и фиксируют от осевого перемещения радиальной шпилькой 24 (играет роль фиксатора), взаимодействующей с выборкой 25 (как писалось выше, авторы на это соединение не претендуют). Плашечные затворы 6 вставляют в соответствующие плашечные полости 4 и 5, которые закрывают и герметизируют соответствующими крышками 26 (показаны условно) с горизонтальным каналом 3. На способ крепления крышки 26 (фиг. 1) на корпусе 1 авторы не претендуют, так как подобное известно в большом количестве из открытых источников. Рекомендуется все взаимодействующие поверхности плашечных затворов 6 и плашечных полостей 4 и 5 покрыть масло- и бензостойкой смазкой (например, Efele MP-413, ROXOL-980 или т.п.) для уменьшения трения и улучшения герметизации трущихся деталей. После чего симметричным вращением винтов 11 (фиг. 1) при помощи скользящих рычагов 27, штурвалов, специальных ключей (последние не показаны) или т.п. плашечные затворы 6 (фиг. 2) сводят к середине корпуса 1 до взаимодействия соответствующих поверхностей плашек 7, 8 и 9 для фиксации их при транспортировке. Превентор в сборе и готов к использованию. Собранный превентор доставляют к скважине и при помощи установочных элементов корпуса 1 (фиг. 2), например, фланцев, быстросъемного соединения (не показаны) или резьб 28 и 29, корпус 1 устанавливают на устье скважины в составе устьевой арматуры (не показана). Возможна установка двух превенторов с образованием между ними шлюзовой камеры (не показана) между ними. Рассмотрим работу превентора на примере герметизации полированного штока, соединённого со штагами глубинного насоса и устьевым приводом (последнее не показано). Вращением винтов 11 раздвигают плашечные затворы 6, перемещая внутрь плашечных полостей 4 и 5 и освобождая полностью вертикальный проходной канал 2 для прохода штанг и полированного штока. Корпус 1 превентора резьбой 28 соединяют с устьевой арматурой лифтовой колонны (не показана), по резьбе 29 сверху к корпусу присоединяют сальниковый узел (не показан), в которых герметизируют полированный шток сальниковыми уплотнениями (не показаны) после спуска штанг глубинного насоса в скважину. Устьевой привод запускают в работу, передавая возвратно-поступательное движение штангам с полированным штоком. В результате длительного использования сальниковые уплотнения начинают пропускать жидкость и/или газ из скважины. Для замены сальниковых уплотнений полированный шток приподнимают вверх устьевым приводом, где и фиксируют от перемещения любым известным способом, при помощи винтов 11 сжимают к оси проходного канала 2 плашечные затворы 6 до герметичного взаимодействия основных плашек 7 между собой и с полированным штоком. При этом глухие плашки 8 и 9, опираясь на полированный шток и сжимая пружины 13, входят внутрь полостей 12 (фиг. 6) основных плашек 7 (фиг. 5 и 6). В результате без использования гидравлических насосов и электрических приводов герметично отделяется устье скважины от сальникового узла. Производят замену сальниковых уплотнений в сальниковых узлах любым известным образом. В случае аварийной ситуации, обрыва полированного штока, то его часть под весом штанг уйдет вниз, выскальзывая из основных плашек 7 (фиг. 2). Тогда под действием усилий пружин 13 глухие плашки 8 и 9, теряя опору на полированный шток, автоматически сходятся к оси проходного канала 2 и герметично взаимодействуют между собой. В результате быстро и герметично отделяется устье скважины от сальникового узла, исключая выбросы нефти и газа из скважины, даже находящейся под избыточным давлением. При отсутствии аварийных ситуаций после замены сальниковых уплотнений, вращением винтов 11 раздвигают плашечные затворы 6, перемещая внутрь плашечных полостей 4 и 5 и освобождая полностью вертикальный проходной канал 2. После чего устьевой привод снова запускают в работу до следующей замены сальниковых уплотнений. Трубы и кабели герметизируются превентором аналогично с использованием соответствующих основных плашек 7. Предлагаемый превентор сдвоенный прост и надежен с низкой металлоемкостью за счет механического перемещения плашек, которые совмещены и установлены в одном поперечном канале, при этом он позволяет в автоматическом режиме перекрывать канал подпружиненными глухими плашками при обрыве каната, труб или штанг, что необходимо для работы со скважинами под давлением.