патент
№ RU 2748054
МПК G01N21/00

ЛАЗЕРНЫЙ ОПТИКО-АКУСТИЧЕСКИЙ ГАЗОАНАЛИЗАТОР И РЕЗОНАНСНЫЙ ДИФФЕРЕНЦИАЛЬНЫЙ ОПТИКО-АКУСТИЧЕСКИЙ ДЕТЕКТОР

Авторы:
Шерстов Игорь Владимирович
Номер заявки
2020119016
Дата подачи заявки
02.06.2020
Опубликовано
19.05.2021
Страна
RU
Как управлять
интеллектуальной собственностью
Чертежи 
1
Реферат

Изобретение относится к анализаторам состава газов. Заявлен лазерный оптико-акустический газоанализатор, который включает последовательно установленные лазер с модуляцией мощности излучения, газонаполненную оптико-акустическую ячейку с постоянной концентрацией газа-маркера, через которую проходит лазерное излучение, резонансный оптико-акустический детектор. Согласно предлагаемому изобретению газоанализатор снабжен воздушным насосом и дополнительным резонансным ОАД с малой оптической длиной ~0,5-1 мм, установленным между газонаполненной оптико-акустической ячейкой и основным ОАД. Газонаполненная оптико-акустическая ячейка, основной и дополнительный ОАД снабжены микрофонами. Основной и дополнительный ОАД соединены воздуховодом таким образом, чтобы на вход дополнительного ОАД поступала проба анализируемого воздуха, а выход дополнительного ОАД был соединен со входом основного ОАД, выход основного ОАД соединен с воздушным насосом, причем напор насоса обеспечивает скорость прокачки воздуха, при которой режим течения анализируемого газа через оптико-акустические детекторы является ламинарным. Технический результат - расширение арсенала технических средств для анализа газового состава воздуха. 3 з.п. ф-лы, 2 ил.

Формула изобретения

1. Лазерный оптико-акустический газоанализатор, включающий воздушный насос, последовательно установленные лазер с модуляцией мощности излучения, газонаполненную оптико-акустическую ячейку с постоянной концентрацией газа-маркера, через которую проходит лазерное излучение, резонансный оптико-акустический детектор (ОАД) и контроллер, газонаполненная оптико-акустическая ячейка и ОАД снабжены микрофонами, соединенными с контроллером, отличающийся тем, что он снабжен дополнительным резонансным ОАД с малой оптической длиной ~0,5…1 мм, установленным между газонаполненной оптико-акустической ячейкой и основным ОАД, дополнительный ОАД снабжен по меньшей мере одним микрофоном, основной и дополнительный ОАД соединены воздуховодом таким образом, чтобы на вход дополнительного ОАД поступала проба анализируемого воздуха, а выход дополнительного ОАД был соединен со входом основного ОАД, выход основного ОАД соединен с воздушным насосом, причем напор насоса обеспечивает скорость прокачки воздуха, при которой режим течения анализируемого газа через оптико-акустические детекторы является ламинарным.

2. Лазерный оптико-акустический газоанализатор по п. 1, отличающийся тем, что основной ОАД снабжен звуковым излучателем.

3. Лазерный оптико-акустический газоанализатор по любому из пп. 1 или 2, отличающийся тем, что лазерный излучатель снабжен термостатом.

4. Лазерный оптико-акустический газоанализатор по любому из пп. 1 или 2, отличающийся тем, что контроллер содержит аналого-цифровой преобразователь, встроенную карту памяти, интерфейс связи с персональным компьютером или внешним управляющим контроллером, интерфейс Wi-Fi, интерфейс Ethernet, интерфейс для подключения GPS/Глонасс приемника для определения местоположения, встроенную аккумуляторную батарею для работы в автономном режиме, порт для подключения AC/DC адаптера питания, выносной ручной пульт управления, устройство индикации.

Описание

[1]

Изобретение относится к анализаторам состава газов, которые могут использоваться, в том числе в составе течеискателей.

[2]

Детектирование утечек газообразных веществ, например, метана из различных трубопроводов и сосудов под давлением, а также измерение текущей концентрации газообразного вещества, например, метана в воздухе (например, в шахтах) является актуальной задачей. Для этой цели используются различные газоанализаторы, работающие на разных физических принципах (полупроводниковые, термокаталитические, электрохимические, фотоионизационные, оптические и др. [http://www.gazanalizator.ru]). При нормальных условиях фоновая концентрация метана в воздухе составляет около 2 ppm [В.Н. Арефьев, P.M. Акименко, Ф.В. Кашин, Л.Б. Упэнэк, "Фоновая составляющая концентрации метана в приземном воздухе (станция мониторинга Обнинск)" // Известия РАН. Физика атмосферы и океана, 2015, том 51, №6, с. 1-9]. Для большинства используемых коммерческих газоанализаторов метана такой уровень чувствительности недоступен. Известен NDIR датчик метана [http://gas-sensor.ru/ndir-gas-sensor.html], который широко применяется для измерения концентрации метана в воздухе при уровне концентрации метана от 500…1000 ppm и выше. Для измерения малых концентраций метана в воздухе на уровне фоновых значений и ниже данный датчик неприменим.

[3]

Важным условием построения высокочувствительного лазерного газоанализатора является выбор оптической схемы газоанализатора, а также рабочей длины волны излучения лазера, совпадающей с одной из полос поглощения анализируемого газа.

[4]

Существуют различные оптические схемы для построения высокочувствительного лазерного оптико-акустического газоанализатора с расположением оптико-акустического детектора (ОАД) вне- и внутри лазерного резонатора. Обычно сигналы ОАД нормируют по мощности излучения лазера. Однако в случае спонтанной перестройки длины волны излучения лазера или при неполном совпадении спектра излучения лазера и спектра поглощения анализируемого газа нормировка сигналов ОАД по мощности излучения может вносить дополнительную погрешность в результаты измерения концентрации анализируемого газа. Для устранения этого недостатка можно использовать оптические схемы газоанализатора, в которых нормировка сигналов ОАД производится не по интегральной мощности излучения лазера, а по поглощенной мощности излучения с использованием газонаполненной ячейки, когда в формировании оптико-акустических сигналов участвуют только та часть спектра излучения лазера, которая попадает в полосу поглощения исследуемого газа.

[5]

Наиболее близким к предлагаемому является лазерный оптико-акустический газоанализатор по патенту РФ №90905 (МПК G01N 21/00, опубл. 20.01.2010). Данный газоанализатор включает лазер с модуляцией мощности излучения, две оптико-акустические ячейки с микрофонами на боковых стенках и устройство для обработки сигналов от микрофонов. Одна из оптико-акустических ячеек выполнена нерезонансной и заполнена анализируемым газом с известной концентрацией, вторая ячейка выполнена резонансной и в ней находится анализируемый газ с измеряемой концентрацией. Через оптико-акустические ячейки проходит лазерное излучение. В этом газоанализаторе используют волноводный лазер на углекислом газе, а в качестве анализируемого газа используют гексафторид серы. Ячейки в газоанализаторе расположены последовательно вдоль луча лазера. Устройство для обработки сигналов от микрофонов содержит аналого-цифровой преобразователь, устройство индикации и интерфейс связи с персональным компьютером. Газоанализатор содержит воздушный насос, глушитель, воздушный фильтр, выносной пульт.

[6]

Недостатком данного газоанализатора является ограниченный динамический диапазон измерений концентрации анализируемого газа. Еще одним недостатком является зависимость величины выходного сигнала от частоты повторения импульсов лазерного излучения, которая должна быть равной текущей резонансной частоте оптико-акустического детектора (как правило - низшей), через который прокачивается анализируемая газовая проба, а также температуры окружающей среды и состава анализируемой газовой смеси, приводящая к увеличению погрешности измерений концентрации анализируемого газа.

[7]

Задача (технический результат) предлагаемого изобретения заключается в расширении арсенала технических средств для анализа газового состава воздуха.

[8]

Поставленная задача решается тем, что лазерный оптико-акустический газоанализатор включает последовательно установленные лазер с модуляцией мощности излучения, газонаполненную оптико-акустическую ячейку с постоянной концентрацией газа-маркера, через которую проходит лазерное излучение, резонансный оптико-акустический детектор, воздушный насос. Согласно предлагаемому изобретению газоанализатор снабжен дополнительным резонансным ОАД с малой оптической длиной ~0,5…1 мм, установленным между газонаполненной оптико-акустической ячейкой и основным ОАД. Газонаполненная оптико-акустическая ячейка, основной и дополнительный ОАД снабжены микрофонами. Основной и дополнительный ОАД соединены воздуховодом таким образом, чтобы на вход дополнительного ОАД поступала проба анализируемого воздуха, а выход дополнительного ОАД был соединен со входом основного ОАД, выход основного ОАД соединен с воздушным насосом, причем, напор насоса обеспечивает скорость прокачки воздуха, при которой режим течения анализируемого газа через оптико-акустические детекторы является ламинарным.

[9]

Установка газонаполненной ячейки перед оптико-акустическим детектором приводит к уменьшению погрешности измерений концентрации анализируемой газовой примеси из-за нестабильности длины волны излучения лазера или неполного совпадения спектра излучения лазера и спектра поглощения анализируемого газа [И.В. Шерстов, В.А. Васильев, К.Г. Зенов, Р.В. Пустовалова, В.В. Спицын, С.Б. Черников, "Разработка и исследование лазерного оптико-акустического газоанализатора SF6" // Приборы и техника эксперимента, 2017, №3, с. 106-113.]

[10]

Дополнительный ОАД обеспечивает расширение динамического диапазона измерений концентрации анализируемого газа.

[11]

Снабжение устройства насосом, обеспечивающим ламинарное течение анализируемого газа, позволяет устранить шумы потока воздуха, которые снижают чувствительность детектора, тем самым ограничивая диапазон измерений.

[12]

Основной ОАД целесообразно снабдить звуковым излучателем для определения текущей резонансной частоты ƒ1, что обеспечит сохранение калибровки газоанализатора. Звуковой излучатель располагается в середине одного из акустических резонаторов ОАД напротив микрофона, где формируется пучность колебаний давления акустической моды детектора. На звуковой излучатель подается серия импульсов напряжения с частотой повторения, близкой к ожидаемой величине резонансной частоты ƒ1 ОАД. Звуковой излучатель возбуждает внутри ОАД широкий спектр вынужденных акустических колебаний, в т.ч. собственные акустические колебания ОАД на низшей резонансной частоте ƒ1. После окончания широкополосного импульсного воздействия звукового излучателя акустические колебания внутри ОАД быстро затухают, кроме собственных высокодобротных колебаний на резонансных частотах ОАД, в т.ч. на низшей резонансной частоте ƒ1. Микрофоны ОАД регистрируют звуковые колебания внутри детектора. После соответствующей обработки электрических сигналов с микрофонов ОАД измеряется текущая резонансная частота детектора ƒ1 как описано в работе [И.В. Шерстов, В.А. Васильев, A.M. Гончаренко, К.Г. Зенов, Р.В. Пустовалова, А.И. Карапузиков, "Метод измерения резонансной частоты оптико-акустического детектора в реальном времени" // Приборы и техника эксперимента, 2016, №5, с. 133-137].

[13]

Целесообразно снабдить лазерный излучатель термостатом, поддерживающим определенную рабочую температуру излучателя и обеспечивающим стабильность длины волны излучения независимо от температуры окружающей среды, что приводит к снижению погрешности измерений концентрации анализируемой газовой примеси.

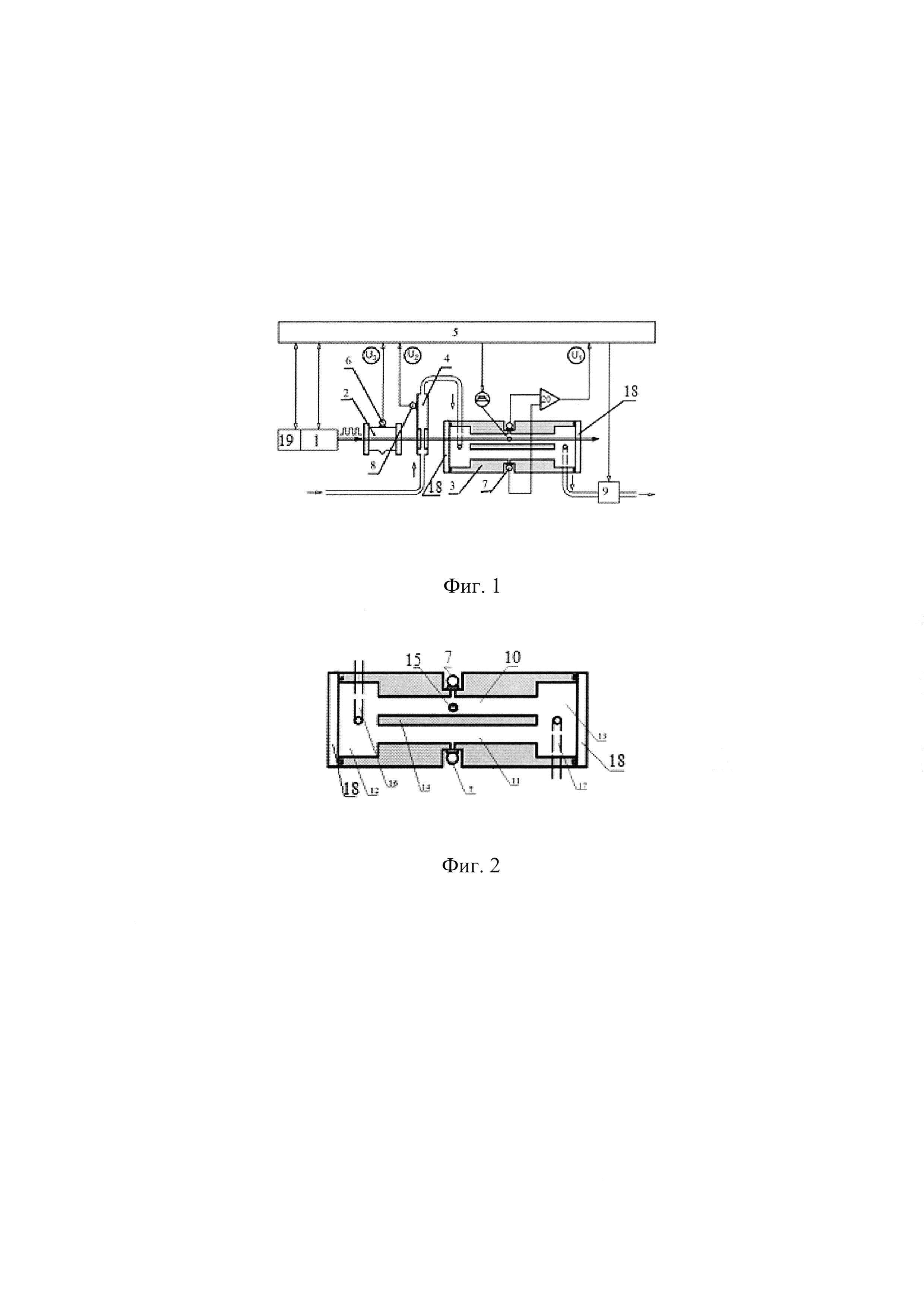
[14]

Предлагаемое изобретение поясняется фиг. 1, 2, где представлена схема экспериментального образца заявляемого лазерного оптико-акустического газоанализатора.

[15]

Заявляемый лазерный оптико-акустический газоанализатор включает последовательно установленные лазер 1 с модуляцией мощности излучения, газонаполненную оптико-акустическую ячейку 2 с постоянной концентрацией газа-маркера, через которую проходит лазерное излучение, основной 3 и дополнительный 4 резонансные оптико-акустические детекторы (ОАД) и контроллер 5. Газонаполненная оптико-акустическая ячейка 2 и ОАД 3 и 4 снабжены микрофонами соответственно 6, 7 и 8, соединенными с контроллером 5. Дополнительный резонансный ОАД 4 с малой оптической длиной ~0,5…1 мм установлен между газонаполненной оптико-акустической ячейкой 2 и основным ОАД 3. Основной 3 и дополнительный 4 ОАД соединены воздуховодом таким образом, чтобы на вход дополнительного ОАД 4 поступала проба анализируемого воздуха, а выход дополнительного ОАД 4 был соединен со входом основного ОАД 3, выход основного ОАД 3 соединен с воздушным насосом 9, причем, напор насоса 9 обеспечивает скорость прокачки воздуха, при которой режим течения анализируемого газа через оптико-акустические детекторы является ламинарным.

[16]

Для поддержания рабочей температуры излучателя на определенном уровне в конструкцию газоанализатора дополнительно целесообразно ввести термостат 10.

[17]

Микрофоны 7 целесообразно подключить к контроллеру 5 через усилитель 11.

[18]

Предлагаемый лазерный оптико-акустический газоанализатор работает следующим образом.

[19]

1) Включают питание воздушного насоса 9, который обеспечивает забор анализируемой пробы воздуха, ее доставку и прокачку через детекторы 4 и 3 со скоростью, соответствующей ламинарному режиму потока газа.

[20]

2) Определяют резонансную частоту основного ОАД 3. Для этого на звуковой излучатель 12 основного ОАД 3 подается серия электрических импульсов, частота повторения которых находится вблизи ожидаемой (как правило, низшей) резонансной частоты основного ОАД 3 (ƒ1). В результате чего внутри основного ОАД 3 возбуждается широкий спектр акустических колебаний, в т.ч. высокодобротных акустических колебаний на текущей резонансной частоте. Микрофоны 7 основного ОАД 3 регистрируют акустические колебания, возникающие внутри основного ОАД 3 в результате воздействия звукового излучателя 12. По окончании воздействия звукового излучателя 12 внутри основного ОАД 3 в течение определенного времени остаются только собственные высокодобротные акустические колебания на резонансных частотах этого ОАД 3. Электрические сигналы с микрофонов 7 основного ОАД 3 поступают на усилитель 11, с выхода которого подаются на вход АЦП контроллера 5 для оцифровки, после чего вычисляются компоненты Фурье-преобразования в заданном частотном диапазоне вблизи частоты ƒ1. Далее осуществляется вычисление частоты ƒ1 с использованием уточняющего алгоритма, описанного в работе [Е. Jacobsen, P. Kootsookos, "Fast, accurate frequency estimators" // IEEE Signal Processing Magazine, 2007, Vol.24, №3, p.123-125].

[21]

После этого на лазерный излучатель 1 от контроллера 5 поступают управляющие импульсы с частотой повторения, равной измеренной резонансной частоте (ƒ1) основного ОАД 3.

[22]

3) Включают лазерный излучатель 1 с частотой повторения импульсов, равной измеренной низшей резонансной частоте ƒ1 основного ОАД 3. В случае использования полупроводникового лазера, например, диодного, или параметрического генератора света необходимо поддерживать рабочую температуру излучателя на определенном уровне, при котором длина волны излучения лазера попадает в полосу поглощения анализируемого газа. Для этого в конструкцию газоанализатора дополнительно целесообразно ввести термостат 10. При использовании газовых лазеров (СО2, He-Ne и др.) наличие в конструкции газоанализатора термостата 10 не обязательно.

[23]

4) Пучок излучения лазера 1 последовательно проходит через газонаполненную ячейку 2, дополнительный 4 и основной 3 ОАД. В результате поглощения молекулами анализируемого газа импульсов излучения лазера 1 внутри газонаполненной ячейки 2, дополнительного 4 и основного 3 ОАД возникают колебания давления (оптико-акустический сигнал). Микрофоны 6 газонаполненной ячейки и 7, 8 обоих ОАД фиксируют колебания давления на частоте повторения импульсов излучения лазера 1. На входы АЦП контроллера 5 поступают сигналы со всех микрофонов.

[24]

5) С помощью контроллера 5 измеряют величины электрических сигналов с выхода усилителя 11 (U1), к которому подключены микрофоны 7 основного ОАД 3, с микрофона 8 дополнительного ОАД 4 (U2) и с микрофона 6 газонаполненной ячейки 2 (U3). При этом определяют отношение сигналов (U1/U3) и (U2/U3).

[25]

6) При низкой концентрации анализируемого газа сигнал с микрофона 8 дополнительного ОАД 4 (U2) будет слабым из-за малой оптической толщины этого детектора. При высокой концентрации анализируемого газа сигнал с выхода усилителя 11 (U1), к которому подключены микрофоны 7 основного ОАД 3, будет входить в зону насыщения из-за большой оптической толщины этого детектора. Поэтому на границе начала насыщения основного ОАД существует оптимальный интервал концентраций анализируемого газа, в котором целесообразно переключать режим измерений концентрации с основного ОАД 3 (диапазон низких концентраций) на дополнительный ОАД 4 (диапазон высоких концентраций). Граница переключения измерений концентрации анализируемого газа с основного 3 на дополнительный 4 ОАД определяется предварительно экспериментальным путем для каждого типа анализируемого газа.

[26]

7) Для измерения низких концентраций газа-маркера используются отношения действующих значений электрических сигналов с выхода усилителя 11 (U1), к которому подключены микрофоны 7 основного ОАД 3, к сигналам с микрофона 6 газонаполненной ячейки 2 (U3), которое производится контроллером 5 и с учетом калибровочного коэффициента С1. При этом величина концентрации анализируемого газа n1 определяется по формуле

[27]

n1=C1×(U1/U3),

[28]

где С1 - калибровочный коэффициент, который определяется экспериментальным путем в процессе предварительной калибровки газоанализатора с помощью поверочной газовой смеси с низкой концентрацией анализируемого газа (n1) и заносится в память контроллера газоанализатора. С помощью калибровочного коэффициента С1 безразмерное значение отношения измеряемых сигналов (U1/U3) преобразуется в величину измеряемой концентрации n1 анализируемого газа ([атм] или [ppm]), входящего в состав поверочной газовой смеси.

[29]

8) Для измерения высокой концентрации анализируемого газа используют отношение сигналов (U2/U3) микрофона 8 дополнительного ОАД 4 и микрофона 6 газонаполненной ячейки 2, которое производится контроллером 5 с учетом калибровочного коэффициента С2. При этом величина концентрации анализируемого газа n2 определяется по формуле

[30]

n22×(U2/U3),

[31]

где С2 - калибровочный коэффициент, который определяется экспериментальным путем (аналогично С1) в процессе предварительной калибровки газоанализатора с помощью поверочной газовой смеси с высокой концентрацией анализируемого газа (n2) и заносится в память контроллера газоанализатора.

[32]

9) Показания газоанализатора (текущая концентрация анализируемого газа в пробе воздуха) выводятся на устройство индикации контроллера или передаются на управляющий компьютер.

[33]

Промышленная применимость заявляемого лазерного оптико-акустического газоанализатора подтверждается изготовлением опытного образца с использованием известных микросхем.

Как компенсировать расходы
на инновационную разработку
Похожие патенты