патент
№ RU 2747868
МПК F25J1/00

МОДУЛЬ ДЛЯ УСТРОЙСТВА СЖИЖЕНИЯ ПРИРОДНОГО ГАЗА И УСТРОЙСТВО СЖИЖЕНИЯ ПРИРОДНОГО ГАЗА

Авторы:
ТАНАБЭ, Масаюки (JP) АРАЙ, Ёдзи (JP) НОЗАТО, Такаси (JP)
Все (4)
Правообладатель:
Номер заявки
2019130811
Дата подачи заявки
30.05.2017
Опубликовано
17.05.2021
Страна
RU
Как управлять
интеллектуальной собственностью
Чертежи 
4
Реферат

Предложен модуль для устройства сжижения природного газа, который имеет высокую степень интеграции при условии компоновки оборудования с высокой степенью безопасности. Модуль (3a) для устройства сжижения природного газа содержит группы (4) теплообменников с воздушным охлаждением и другую группу оборудования. Группы теплообменников с воздушным охлаждением (4) расположены бок о бок на верхней поверхности корпуса (30), и каждый из них выполнен с возможностью охлаждения жидкости, находящейся в устройстве сжижения природного газа. Другая группа оборудования расположена на нижней стороне высоты компоновки каждой из групп (4) теплообменников с воздушным охлаждением и образует часть устройства сжижения природного газа. Если группы оборудования, образующие устройство сжижения природного газа, классифицированы на группу оборудования установки предварительной обработки в установке предварительной обработки и на группу оборудования технологической установки сжижения, предусмотренную в технологической установке сжижения, то другая группа оборудования состоит из группы оборудования установки предварительной обработки. 2 н. и 5 з.п. ф-лы, 4 ил.

Формула изобретения

1. Модуль для устройства сжижения природного газа для компоновки устройства сжижения природного газа,

причем указанный модуль для устройства сжижения природного газа содержит:

корпус;

группы теплообменников с воздушным охлаждением, которые расположены бок о бок на верхней поверхности корпуса и каждый из которых выполнен с возможностью охлаждения жидкости, оперируемой в устройстве сжижения природного газа; и

другую группу оборудования, которая расположена на нижней стороне относительно высоты компоновки каждой группы теплообменников с воздушным охлаждением в указанном корпусе и образует часть устройства сжижения природного газа,

причем группы оборудования, образующие устройство сжижения природного газа, классифицированы на группу оборудования установки предварительной обработки, имеющуюся в установке предварительной обработки, выполненной с возможностью осуществления предварительной обработки природного газа до его сжижения, и на группу оборудования технологической установки сжижения, имеющуюся в технологической установке сжижения, связанной с процессом сжижения природного газа после его обработки в установке предварительной обработки, а указанная другая группа оборудования состоит из группы оборудования установки предварительной обработки.

2. Модуль для устройства сжижения природного газа по п. 1,

в котором корпус разделен на зону компоновки, в которой группа теплообменников с воздушным охлаждением расположена на верхней поверхности корпуса, и зону отсутствия компоновки, в которой предотвращено размещение группы теплообменников с воздушным охлаждением на верхней поверхности корпуса, а

среди оборудования, включенного в указанную другую группу оборудования, в корпусе на стороне зоны компоновки имеется только неоперационное оборудование, являющееся оборудованием, которое лишено возможности оперирования с жидкостью, выбранной из группы жидкостей, состоящей из горючей жидкости, легковоспламеняющейся жидкости, сжиженного природного газа и сжиженного нефтяного газа, а остальное оборудование расположено в корпусе на стороне зоны отсутствия компоновки.

3. Модуль для устройства сжижения природного газа по п. 1,

в котором корпус разделен на зону компоновки, в которой группа теплообменников с воздушным охлаждением расположена на верхней поверхности корпуса, и зону отсутствия компоновки, в которой предотвращено размещение группы теплообменников с воздушным охлаждением на верхней поверхности корпуса,

при этом среди оборудования, включенного в указанную другую группу оборудования, в корпусе на стороне зоны компоновки имеется операционное оборудование, являющееся оборудованием, которое выполнено с возможностью оперирования с жидкостью, выбранной из группы жидкостей, состоящей из горючей жидкости, легковоспламеняющейся жидкости, сжиженного природного газа и сжиженного нефтяного газа, а

вместе с операционным оборудованием, имеющимся в корпусе на стороне зоны компоновки, имеется по меньшей мере одно средство обеспечения безопасности, выбранное из группы средств обеспечения безопасности, состоящей из датчика утечки газа, спринклера, огнеупорного покрытия и линии сброса давления.

4. Модуль для устройства сжижения природного газа по п. 1,

в котором корпус разделен на зону компоновки, в которой группа теплообменников с воздушным охлаждением расположена на верхней поверхности корпуса, и зону отсутствия компоновки, в которой предотвращено размещение группы теплообменников с воздушным охлаждением на верхней поверхности корпуса,

при этом указанная другая группа оборудования, расположенная в корпусе, содержит оборудование, включенное в группу оборудования технологической установки сжижения в дополнение к группе оборудования установки предварительной обработки, и указанное оборудование, включенное в группу оборудования технологической установки сжижения, расположено в корпусе на стороне зоны отсутствия компоновки.

5. Модуль для устройства сжижения природного газа по п. 4, в котором оборудование, включенное в группу оборудования технологической установки сжижения, представляет собой оборудование, выполненное с возможностью доставки сжиженного природного газа из устройства сжижения природного газа.

6. Модуль для устройства сжижения природного газа по п. 1, в котором установка предварительной обработки содержит по меньшей мере одну установку предварительной обработки, выбранную из группы установок предварительной обработки, состоящей из газожидкостной разделительной установки, выполненной с возможностью выделения жидкого компонента, содержащегося в природном газе, установки удаления ртути, выполненной с возможностью удаления ртути, содержащейся в природном газе, установки удаления кислого газа, выполненной с возможностью удаления кислого газа, содержащегося в природном газе, установки удаления влаги, выполненной с возможностью удаления влаги, содержащейся в природном газе, и установки удаления тяжелого компонента, выполненной с возможностью удаления тяжелого компонента, содержащегося в природном газе.

7. Устройство сжижения природного газа, содержащее:

множество модулей для устройства сжижения природного газа по любому из пп. 1-6; и

другой модуль для устройства сжижения природного газа, в котором группа оборудования для технологической установки сжижения расположена в корпусе.

Описание

[1]

Область техники

[2]

[0001] Настоящее изобретение относится к технологии строительства устройства сжижения природного газа, выполненного с возможностью сжижения природного газа.

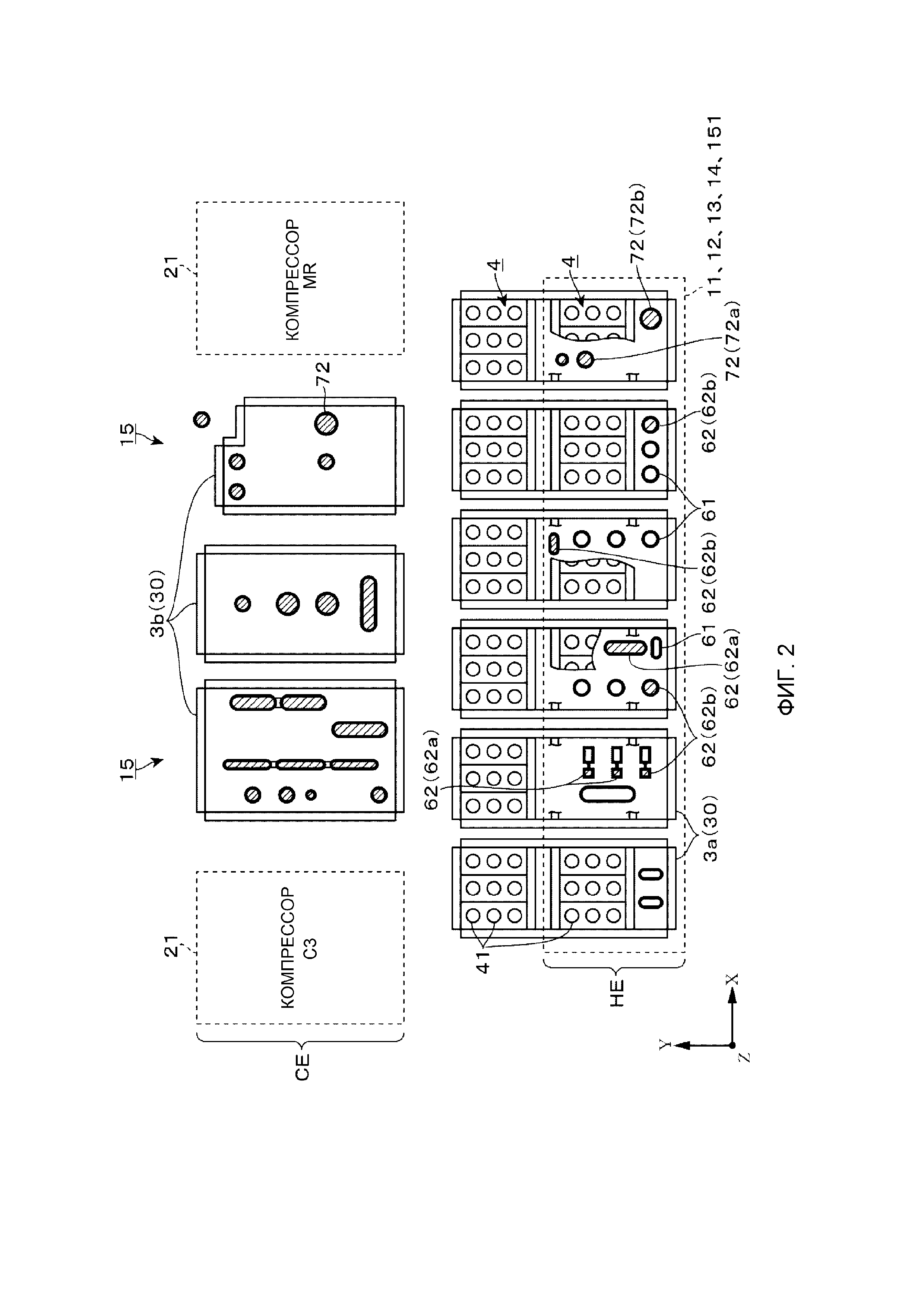
[3]

Уровень техники

[4]

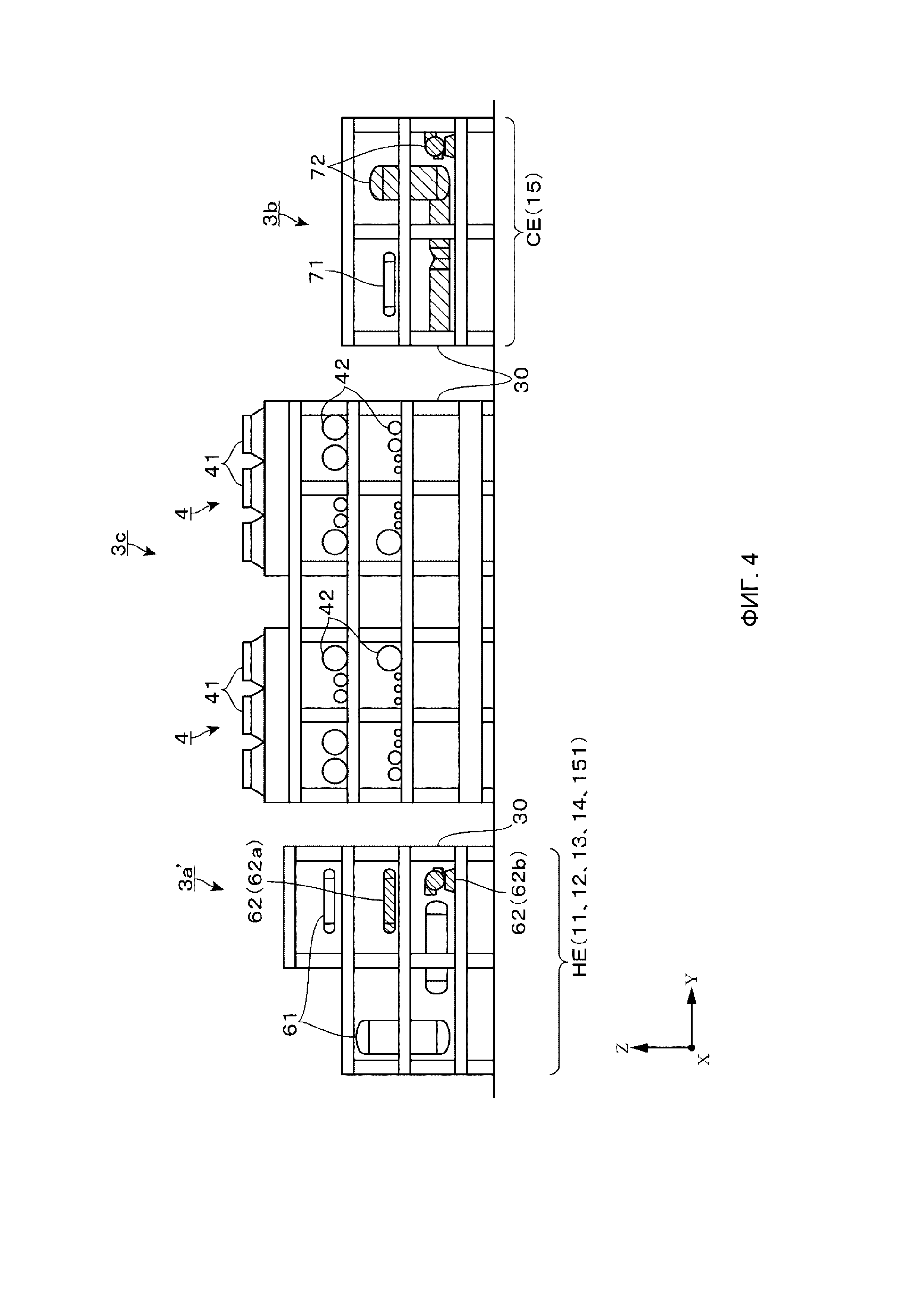
[0002] Устройство сжижения природного газа (устройство сжижения ПГ) представляет собой установку выполненную с возможностью охлаждения и сжижения природного газа (ПГ), добытого из газовой скважины или т.п., с получением сжиженного природного газа (СПГ).

[5]

В последние годы при строительстве установки сжижения ПГ предпринимаются попытки составления установки сжижения ПГ из модулей посредством разделения большого количества оборудования, образующего установку сжижения ПГ, на блоки и монтажа группы оборудования из каждого такого блока в общий корпус (например, в патентной литературе 1).

[6]

[0003] Если устройство сжижения ПГ разделено на модули, то количество ограничений в отношении оборудования, которое можно встраивать в общий корпус, меньше, и поэтому можно осуществлять проектирование модуля с большей степенью свободы.

[7]

Кроме того, если степень интеграции (например, количество оборудования, которое можно установить на единицу объема в данном корпусе) каждого модуля, образующего устройство ПГ, может быть увеличена, то возможно также снизить стоимость и трудовые затраты, необходимые для транспортировки и сборки, в случае перевозки модулей, построенных в другом месте, на монтажную площадку для строительства устройства сжижения ПГ.

[8]

[0004] В то же время в устройстве сжижения ПГ, выполненном с возможностью оперирования с горючей жидкостью и криогенной жидкостью, необходимо осуществлять проектирование модуля, отдавая приоритет безопасности.

[9]

Список литературы

[10]

Патентная литература

[11]

[0005] [Патентная литература 1] WO 2014/028961 А1

[12]

СУЩНОСТЬ ИЗОБРЕТЕНИЯ

[13]

Техническая проблема

[14]

[0006] Настоящее изобретение сделано с учетом вышеуказанных обстоятельств, и его задача заключается в обеспечении модуля для устройства сжижения природного газа, который имеет высокую степень интеграции при условии оптимального расположения оборудования с точки зрения экономической эффективности и безопасности, с акцентом на многообразие огнеупорного покрытия, а также устройства сжижения природного газа, содержащего такой модуль для устройства сжижения природного газа.

[15]

Решение проблемы

[16]

[0007] В соответствии с одним вариантом реализации настоящего изобретения, предложен модуль для устройства сжижения природного газа, предназначенный для компоновки устройства сжижения природного газа, причем указанный модуль для устройства сжижения природного газа содержит: корпус; группы теплообменников с воздушным охлаждением, которые расположены бок о бок на верхней поверхности корпуса и каждая из которых выполнена с возможностью охлаждения жидкости, оперируемой в устройстве сжижения природного газа; и группу другого оборудования, которая расположена на нижней стороне относительно высоты компоновки каждой группы теплообменников с воздушным охлаждением в указанном корпусе и образует часть устройства сжижения природного газа, причем если группы оборудования, образующие устройство сжижения природного газа, классифицированы на группу оборудования установки предварительной обработки в установке предварительной обработки, выполненной с возможностью осуществления предварительной обработки природного газа до его сжижения, и на группу оборудования технологической установки сжижения, предусмотренную в технологической установке сжижения, связанной с процессом сжижения природного газа после его обработки в установке предварительной обработки, то другая группа оборудования состоит из группы оборудования установки предварительной обработки.

[17]

[0008] Модуль для устройства сжижения природного газа может иметь следующие признаки.

[18]

(a) Корпус разделен на зону компоновки, в которой группа теплообменников с воздушным охлаждением расположена на верхней поверхности корпуса, и зону отсутствия компоновки, в которой группа теплообменников с воздушным охлаждением не может быть размещена на верхней поверхности корпуса. Среди оборудования, включенного в другую группу оборудования, в корпусе на стороне зоны компоновки предусмотрено только неоперационное оборудование, являющееся оборудованием, которое лишено возможности работы с жидкостью, выбранной из группы жидкостей, состоящей из горючей жидкости, легковоспламеняющейся жидкости, сжиженного природного газа и сжиженного нефтяного газа, а остальное оборудование предусмотрено в корпусе на стороне зоны отсутствия компоновки.

[19]

(b) Корпус разделен на зону компоновки, в которой группа теплообменников с воздушным охлаждением расположена на верхней поверхности корпуса, и зону отсутствия компоновки, в которой группа теплообменников с воздушным охлаждением не может быть размещена на верхней поверхности корпуса. Среди оборудования, включенного в другую группу оборудования, в корпусе на стороне зоны компоновки предусмотрено операционное оборудование, являющееся оборудованием, которое выполнено с возможностью оперирования с жидкостью, выбранной из группы жидкостей, состоящей из горючей жидкости, легковоспламеняющейся жидкости, сжиженного природного газа и сжиженного нефтяного газа. Вместе с операционным оборудованием, предусмотренным в корпусе на стороне зоны компоновки, предусмотрено по меньшей мере одно средство обеспечения безопасности, выбранное из группы средств обеспечения безопасности, состоящей из датчика утечки газа, спринклера, огнеупорного покрытия и линии сброса давления.

[20]

(c) Корпус разделен на зону компоновки, в которой группа теплообменников с воздушным охлаждением расположена на верхней поверхности корпуса, и зону отсутствия компоновки, в которой группа теплообменников с воздушным охлаждением не может быть размещена на верхней поверхности корпуса. Другая группа оборудования, расположенная в корпусе, содержит оборудование, включенное в группу оборудования технологической установки сжижения в дополнение к группе оборудования установки предварительной обработки или вместо группы оборудования установки предварительной обработки, и указанное оборудование, включенное в группу оборудования технологической установки сжижения, предусмотрено в корпусе на стороне зоны отсутствия компоновки. В таком случае оборудование, включенное в группу оборудования технологической установки сжижения, представляет собой оборудование, выполненное с возможностью доставки сжиженного природного газа из устройства сжижения природного газа.

[21]

(d) Установка предварительной обработки содержит по меньшей мере одну установку предварительной обработки, выбранную из группы установок предварительной обработки, состоящей из газожидкостной разделительной установки, выполненной с возможностью выделения жидкого компонента, содержащегося в природном газе, установки удаления ртути, выполненной с возможностью удаления ртути, содержащейся в природном газе, установки удаления кислого газа, выполненной с возможностью удаления кислого газа, содержащегося в природном газе, установки удаления влаги, выполненной с возможностью удаления влаги, содержащейся в природном газе, и установки удаления тяжелого компонента, выполненной с возможностью удаления тяжелого компонента, содержащегося в природном газе.

[22]

[0009] Кроме того, в соответствии с другим вариантом реализации настоящего изобретения, предложено устройство сжижения природного газа, содержащее: множество модулей для вышеуказанного устройства сжижения природного газа; и другой модуль для устройства сжижения природного газа, в котором группа оборудования технологической установки сжижения представлена в корпусе.

[23]

Полезный эффект изобретения

[24]

[0010] В соответствии с настоящим изобретением, группы оборудования, образующие устройство сжижения природного газа, группа оборудования установки предварительной обработки для предварительной обработки природного газа и группа теплообменников с воздушным охлаждением, в которой плотность заполнения оборудования, выполненного с возможностью оперирования с горючей жидкостью и криогенной жидкостью в модуле является низкой, расположены в общем корпусе, образуя модуль для устройства сжижения природного газа. В результате может быть скомпонован модуль для устройства сжижения природного газа, имеющий высокую степень интеграции, при этом минимизировано влияние пожара на поверхности пролива на зону, требующую наличия огнеупорного покрытия на основании международных проектно-конструкторских стандартов (АРI2218), описанных далее, по сравнению с группой оборудования технологической установки сжижения для сжижения природного газа, в которой плотностью заполнения оборудования, выполненного с возможностью оперирования с горючими и криогенными жидкостями, является высокой.

[25]

КРАТКОЕ ОПИСАНИЕ ЧЕРТЕЖЕЙ

[26]

[0011] На фиг. 1 представлена схема для иллюстрации примера конфигурации каждого технологического блока, включенного в устройство сжижения природного газа.

[27]

На фиг. 2 представлен иллюстративный вид сверху для иллюстрации планировки модулей, расположенных в устройстве сжижения природного газа.

[28]

На фиг. 3 представлен вид сбоку модуля для устройства сжижения природного газа в соответствии с одним вариантом реализации настоящего изобретения.

[29]

На фиг. 4 представлен вид сбоку модуля для устройства сжижения природного газа из известного уровня техники.

[30]

ОПИСАНИЕ ВАРИАНТОВ РЕАЛИЗАЦИИ ИЗОБРЕТЕНИЯ

[31]

[0012] На фиг. 1 представлена схема для иллюстрации одного примера схематической конфигурации устройства сжижения природного газа (ПГ), скомпонованного с применением модуля для устройства сжижения природного газа в соответствии с одним вариантом реализации настоящего изобретения.

[32]

Устройство сжижения ПГ содержит газожидкостный разделительный блок (газожидкостную разделительную установку) 11, блок 12 удаления ртути (установку удаления ртути), блок 13 удаления кислого газа (установку удаления кислого газа), блок 14 удаления влаги (установку удаления газа), технологический блок 15 сжижения (технологическую установку сжижения) и бак-накопитель 16. Газожидкостный разделительный блок 11 выполнен с возможностью выделения жидкости из ПГ. Блок 12 удаления ртути выполнен с возможностью удаления ртути из ПГ. Блок 13 удаления кислых газов выполнен с возможностью удаления кислого газа, такого как диоксид углерода и сероводород, из ПГ. Блок 14 удаления влаги выполнен с возможностью удаления следового количества влаги, содержащейся в ПГ. Технологический блок 15 сжижения выполнен с возможностью охлаждения и сжижения ПГ, из которого удалены указанные примеси, с получением СПГ Бак-накопитель 16 выполнен с возможностью хранения сжиженного СПГ.

[33]

[0013] Газожидкостный разделительный блок 11 выполнен с возможностью выделения конденсата, который является жидкостью при нормальной температуре, содержащегося в ПГ, транспортируемом по трубопроводу или т.п. Например, газожидкостный разделительный блок 11 содержит группу оборудования, содержащую, например, удлиненную трубу и барабан, колонну регенерации и ребойлер жидкого антифриза, а также вспомогательные элементы. Удлиненная труба и барабан расположены под наклоном и выполнены с возможностью выделения жидкости из ПГ благодаря разнице удельных плотностей. Колонна регенерации и ребойлер жидкого антифриза выполнены с возможностью регенерации и нагревания жидкого антифриза для его добавления по мере необходимости с целью предотвращения засорения трубопровода в процессе транспортировки.

[34]

[0014] Блок 12 удаления ртути выполнен с возможностью удаления следового количества ртути, содержащейся в ПГ, из которого удалена жидкость. Например, блок 12 удаления ртути содержит группу оборудования, содержащую, например, колонну адсорбции ртути, причем адсорбционная колонна наполнена агентом для удаления ртути, а также вспомогательные элементы.

[35]

[0015] Блок 13 удаления кислого газа выполнен с возможностью удаления кислого газа, такого как диоксид углерода и сероводород, которые могут затвердевать в СПГ во время сжижения. В качестве способа удаления кислого газа предложен способ с применением газопоглощающей жидкости, содержащей аминное соединение или т.п., и способ с применением газоразделительной мембраны, через которую может проходить кислый газ, содержащийся в ПГ.

[36]

[0016] При использовании газопоглощающей жидкости, блок 13 удаления кислого газа содержит группу оборудования, содержащую, например, абсорбционную колонну, колонну регенерации, ребойлер и вспомогательные элементы. Абсорбционная колонна выполнена с возможностью приведения природного газа и газопоглощающей жидкости в противоточный контакт друг с другом. Колонна регенерации выполнена с возможностью регенерации газопоглощающей жидкости, содержащей абсорбированный кислый газ. Ребойлер выполнен с возможностью нагревания газопоглощающей жидкости в колонне регенерации.

[37]

Кроме того, при использовании газоразделительной мембраны, блок 13 удаления кислого газа содержит группу оборудования, содержащую, например, газоразделительную установку, выполненную с возможностью вмещения большого количества половолоконных мембран в главном корпусе, а также вспомогательные элементы.

[38]

[0017] Блок 14 удаления влаги выполнен с возможностью удаления следового количества влаги, содержащейся в ПГ. Например, блок 14 удаления влаги содержит группу оборудования, содержащую, например, множество адсорбционных колонн, нагреватель и вспомогательные элементы. Множество адсорбционных колонн наполнены адсорбентом, таким как молекулярные сита или силикагель, и операцию по удалению влаги из ПГ и операцию по регенерации адсорбента, содержащего адсорбированную влагу, осуществляют поочередно. Нагреватель выполнен с возможностью нагревания газа регенерации (например, ПГ, из которого удалена влага) для адсорбента, подаваемого в адсорбционную колонну, в которой осуществляют операцию регенерации.

[39]

[0018] ПГ, из которого удалены примеси с помощью различных технологических блоков, описанных выше, подают в технологический блок 15 сжижения для осуществления сжижения. Технологический блок 15 сжижения содержит такое оборудование, как теплообменник предварительного охлаждения, скруберная колонна, главный криогенный теплообменник (МСНЕ, ГКТ), компрессор 21 хладагента и вспомогательные элементы. Теплообменник предварительного охлаждения выполнен с возможностью предварительного охлаждения ПГ с помощью хладагента предварительного охлаждения, содержащего пропан в качестве основного компонента. Скруберная колонна выполнена с возможностью удаления тяжелого компонента из предварительно охлажденного ПГ. Главный криогенный теплообменник (ГКТ) выполнен с возможностью охлаждения, сжижения и переохлаждения ПГ с помощью смесевого хладагента, содержащего множество различных видов исходных хладагентов, таких как азот, метан, этан и пропан. Компрессор 21 хладагента выполнен с возможностью сжатия газообразного хладагента предварительного охлаждения и смесевого хладагента, которые в результате теплообмена превращаются в газ.

[40]

[0019] На фиг. 1 не показано каждое из вышеуказанного оборудования, за исключением отдельных компрессоров хладагента (компрессор смесевого хладагента (MR) низкого давления и компрессор MR высокого давления для смесевого хладагента, а также компрессор С3 для хладагента предварительного охлаждения) для хладагента предварительного охлаждения и смесевого хладагента, которые описаны вместе как один компонент.

[41]

Кроме того, на фиг. 1 представлен пример с использованием двигателя 22 в качестве источника энергии, который выполнен с возможностью приведения в движение компрессоров 21 хладагента, но в соответствии с мощностью компрессоров 21 хладагента можно использовать газовую турбину или т.п.

[42]

[0020] Кроме того, на следующей ступени каждого из компрессоров 21 хладагента в технологическом блоке 15 сжижения предусмотрено большое количество теплообменников 41 с воздушным охлаждением (ACHE, ТВО), выполненных с возможностью охлаждения жидкости, оперируемой в устройстве сжижения ПГ. Теплообменники 41 с воздушным охлаждением (ТВО) образуют различные охладители, выполненные с возможностью охлаждения сжатого хладагента, и конденсаторы, и охладители, и подобные устройства, выполненные с возможностью охлаждения газопоглощающей жидкости, регенерированной в колонне регенерации, и верхнего жидкого погона колонны в том случае, если в блоке 13 удаления кислого газа используют газопоглощающую жидкость.

[43]

[0021] Кроме того, рядом с технологическим блоком 15 сжижения предусмотрена ректификационная установка 151. Ректификационная установка 151 содержит деэтанизатор, выполненный с возможностью выделения этана из жидкости (тяжелого жидкого компонента), выделенной из охлажденного ПГ, депропанизатор, выполненный с возможностью выделения пропана из жидкости, из которой выделен этан, и дебутанизатор, выполненный с возможностью выделения бутана из жидкости, из которой удален пропан, с получением конденсата, который является жидкостью при нормальной температуре. Деэтанизатор, депропанизатор и дебутанизатор содержат группу оборудования, содержащую, например, ректификационную колонну, выполненную с возможностью ректификации каждого компонента, ребойлер, выполненный с возможностью нагревания жидкости в каждой ректификационной колонне, и вспомогательные элементы. Ректификационный блок 151 соответствует установке удаления тяжелого компонента в одном варианте реализации настоящего изобретения.

[44]

[0022] Сжиженный природный газ (СПГ), подверженный сжижению и переохлаждению в технологическом блоке 15 сжижения, подают и хранят в баке-накопителе 16. СПГ, который хранят в баке-накопителе 16, выкачивают с помощью насоса СПГ (не показан) и закачивают в СПГ танкер или трубопровод.

[45]

[0023] Здесь, в целом, в устройстве сжижения ПГ каждый из технологических блоков (газожидкостный разделительный блок 11, блок 12 удаления ртути, блок 13 удаления кислого газа, блок 14 удаления влаги и ректификационный блок 151), связанных с предварительной обработкой до сжижения ПГ, называют «горячим концом (НЕ, ГК)», а технологический блок 15 сжижения (включая каждый из компрессоров 21 хладагента), выполненный с возможностью охлаждения и сжижения ПГ с получением СПГ, называют «холодным концом (СЕ, ХК)», с целою классификации указанных технологических блоков в некоторых случаях.

[46]

[0024] Каждый из технологических блоков, образующих ГК, соответствует установке предварительном обработке в данном варианте реализации настоящего изобретения, а группа оборудования (здесь и далее иногда упоминаемая как «группа оборудования на стороне ГК»), обеспеченная в каждом из таких технологических блоков, соответствует группе оборудования установки предварительной обработки. Кроме того, технологический блок 15 сжижения, образующий ХК, соответствует технологической установке сжижения в данном варианте реализации настоящего изобретения, а группа оборудования (здесь и далее иногда упоминаемая как «группа оборудования на стороне ХК»), обеспеченная в технологическом блоке 15 сжижения, соответствует группу оборудования технологической установки сжижения.

[47]

[0025] Как описано выше, устройство сжижения ПГ, описанное выше с помощью одного примера компоновки, содержит множество модулей для устройства сжижения ПГ, каждый из которых скомпонован посредством классификации групп оборудования, обеспеченных в устройстве сжижения ПГ, на блоки, то есть на группу оборудования на стороне ГК и группу оборудования на стороне ХК, и встраивания указанных групп оборудования, классифицированных на блоки, в соответствующие общие корпусы.

[48]

Далее описана конкретная конфигурация модуля для устройства сжижения ПГ, также со ссылкой на фиг. 2 фиг. 4.

[49]

[0026] Как показано на виде сверху на фиг. 2, устройство сжижения ПГ согласно одному варианту реализации настоящего изобретения, имеет такую компоновку, в которой множество модулей 3а ГК и модулей 3b ХК расположены в два ряда в направлении спереди назад, а компрессоры 21 хладагента, которые представляют собой компрессор ME и компрессор С3, расположены по обеим сторонам ряда, в котором расположены модули 3b ХК. В устройстве сжижения ПГ согласно одному варианту реализации настоящего изобретения модуль 3а ГК соответствует «модулю для устройства сжижения природного газа», а модуль 3b ХК соответствует «другому модулю для устройства сжижения природного газа».

[50]

В описании, представленном в отношении фиг. 2 фиг. 4, сторона компоновки ряда модулей 3а ГК вдоль направления оси Y, которая указана на каждой из обозначенных фигур, также упоминается как «передняя сторона», а сторона компоновки ряда модулей 3bХК вдоль направления оси Υ упоминается также как «задняя сторона».

[51]

[0027] Как показано на фиг. 3, каждый из модулей 3а ГК имеет структуру, в которой группа оборудования на стороне ГК, образующая технологические блоки (газожидкостный разделительный блок 11, блок 12 удаления ртути, блок 13 удаления кислого газа, блок 14 удаления влаги и ректификационный блок 151) на стороне ГК, скомпонована в корпусе 30. Кроме того, в НЕ модуле 3а согласно данному варианту реализации настоящего изобретения, группы 4 теплообменников с воздушным охлаждением (ТВО), каждая из которых содержит множество ТВО 41, расположены на стороне верхней поверхности корпуса 30, общего с корпусом 30, в котором скомпонована группа оборудования стороны ГК.

[52]

[0028] В то же время каждый из модулей 3b ХК имеет структуру, в которой группа оборудования на стороне ХК, образующая технологический блок 15 сжижения на стороне ХК, расположена в корпусе 30, но группа 4 ТВО не обеспечена на верхней поверхности корпуса 30.

[53]

Как описано выше, устройство сжижения ПГ согласно данному варианту реализации настоящего изобретения, имеет отличительную особенность, заключающуюся в том, что оборудование, которое должно быть обеспечено в корпусе 30, общем с корпусом для группы 4 ТВО, ограничено оборудованием, принадлежащим к группе оборудования на стороне ГК, с образованием модуля 3а ГК. Далее описана причина такого ограничения.

[54]

[0029] На фиг. 4 представлено изображение, иллюстрирующее пример компоновки устройства сжижения ПГ, известного из уровня техники. На фиг. 4 показан пример, в котором группы оборудования, образующие устройство сжижения ПГ, классифицированы на группу оборудования на стороне ГК, группу оборудования на стороне ХК и группу 4 ТВО, и расположены в различных корпусах 30, соответственно. В частности, группа оборудования на стороне ГК расположена в корпусе 30 модуля 3а' ГК, и только группа оборудования на стороне ХК расположена в корпусе 30 модуля 3b ХК. Кроме того, на верхней поверхности корпуса 30 модуля 3 с ТВО расположены только группы 4 ТВО.

[55]

[0030] Когда модуль 3а' ГК, модуль 3b ХК и модуль 3с ТВО отделены друг от друга, как в устройстве сжижения ПГ, показанном на фиг. 4, количество модулей, образующих устройство сжижения ПГ, увеличивается. Таким образом, на монтажной площадке модулей 3а', 3b и 3 с увеличивается стоимость установки соединительных труб, выполненных с возможностью соединения модулей 3а', 3b и 3, и операции по подключению электрических кабелей, и, кроме того, трудно уменьшить трудовые затраты, необходимые для выполнения вышеуказанных сборочных работ.

[56]

[0031] Для решения вышеуказанной проблемы, если множество модулей 3а', 3b и 3с можно интегрировать друг с другом в таком состоянии, в котором в общий корпус 30 в каждом из модулей 3а', 3b и 3с, показанных на фиг. 4, встроено большее количество оборудования, количество таких модулей может быть снижено, что обеспечивает решение вышеуказанной проблемы.

[57]

Кроме того, благодаря уменьшению расстояния между положениями компоновки модулей 3а', 3b и 3с и неиспользуемого пространства в корпусе 30 можно также компоновать более компактное устройство сжижения ПГ.

[58]

[0032] В то же время ТВО 41, обеспеченный на верхней поверхности модуля 3с ТВО, выполнен с возможностью вращения воздуходувки (не показана) для всасывания воздуха для охлаждения с нижней стороны и выпуска воздуха, содержащего охлажденную жидкость, подлежащую охлаждению, который проходит по трубе (не показана) в направлении верхней стороны.

[59]

Если на нижней стороне ТВО возникает утечка горючей жидкости или т.п. в процессе эксплуатации модуля 3с ТВО, то воздух, содержащий горючий компонент, всасывается, и нет риска того, что воздух может рассеиваться в зоне установки устройства сжижения ПГ через ТВО 41. Кроме того, при утечке криогенной жидкости существует риск того, что стальная конструкция, образующая корпус 30 и т.п., может быть подвержена повреждению, такому как низкотемпературное растрескивание. Если криогенное вещество рассеивается через ТВО, то существует также риск того, что масштаб повреждения может быть увеличен.

[60]

[0033] Здесь, как показано на фиг. 4, в пространстве на нижней стороне каждой группы 4 ТВО в модуле ТВО 3с, известном из уровня техники, расположен трубчатый стеллаж, в котором уложено большое количество труб 42. В большом количестве труб 42 движется жидкость, подлежащая охлаждению с помощью ТВО 41, и другие жидкости, транспортируемые между различными технологическими блоками (газожидкостный разделительный блок 11, блок 12 удаления ртути, блок 13 удаления кислого газа, блок 14 удаления влаги, технологический блок 15 сжижения и ректификационный блок 151) модуля 3а' ГК и модуля 3b ХК.

[61]

В трубах 42 риск утечки жидкости может быть снижен до локального масштаба посредством минимизации части, которая может вызывать утечку, такой как фланцевая часть.

[62]

[0034] В то же время группа оборудования на стороне ГК и группа оборудования на стороне ХК, расположенные в модуле 3a' ГК и модуле 3b ХК, также содержат оборудование, объем которого больше объема указанных труб и т.п. Таким образом, даже при прекращении подачи жидкости в указанное оборудование в момент возникновения утечки, существует риск возникновения масштабного перелива.

[63]

[0035] Как описано выше, дальнейшую интеграцию модулей 3а', 3b и 3с, изображенных на фиг. 4, необходимо проводить тогда, когда проведена точная оценка влияния, связанного с осуществлением интеграции, и обеспечена достаточная безопасность.

[64]

[0036] С учетом вышесказанного, в устройстве сжижения ПГ согласно данному варианту реализации настоящего изобретения, среди оборудования, входящего в группу оборудования на стороне ГК и в группу оборудования на стороне ХК, перечислено оборудование, выполненное с возможностью оперирования с горючими жидкостями, легковоспламеняющимися жидкостями, каждая из которых имеет относительно низкую точку вспышки, а также со сжиженным нефтяным газом (СПГ/СНГ).

[65]

В частности, жидкости, оперируемые в устройстве сжижения ПГ, являются горючими и легковоспламеняющимися и, кроме того, во многих случаях имеют увеличенный объем вследствие испарения. Таким образом, необходимо уделять достаточно внимания работе с такими жидкостями на нижней стороне ТВО 41.

[66]

[0037] Из вышеуказанного положения наблюдения на фиг. 2 - фиг. 4, среди оборудования, включенного в группу оборудования на стороне ГК и в группу оборудования на стороне ХК, заштриховано оборудование (операционное оборудование 62 и 72), выполненное с возможностью оперирования с горючей жидкостью, легковоспламеняющейся жидкостью и СПГ/СНГ. Кроме того, оборудование (неоперационное оборудование 61 и 71), которое не предназначено для оперирования с такими веществами, показано не закрашенным.

[67]

[0038] Как схематически показано на фиг. 4, основная часть оборудования в группе оборудования на стороне ХК, скомпонованной в модуле 3b ХК, представляет собой операционное оборудование 72. Таким образом, плотность заполнения операционного оборудования 72 в данном модуле является высокой, а плотность заполнения неоперационного оборудования 71 является относительно низкой.

[68]

Напротив, в группе оборудования на стороне ГК, скомпонованной в модуле 3а' ГК, по сравнению с группой оборудования на стороне ХК, плотность заполнения операционного оборудования 62 в данном модуле является низкой, а плотность заполнения неоперационного оборудования 61 является высокой.

[69]

[0039] Сделан акцент на вышеуказанных признаках группы оборудования на стороне ГК и группы оборудования на стороне ХК, и, как показано на фиг. 2 и фиг. 3, устройство сжижения ПГ согласно данному варианту реализации настоящего изобретения имеет конфигурацию, в которой модуль 3а ГК объединен с модулем 3b ХК. В модуле 3а ГК в корпусе 30, содержащем группы 4 ACHDE, каждая из которых расположена на стороне верхней поверхности, предусмотрено только оборудование, принадлежащее к группе оборудования на стороне ГК. В модуле 3b ХК группа оборудования на стороне ХК расположена в корпусе 30, в котором не предусмотрена группа 4 ТВО, как в известном уровне техники.

[70]

[0040] В то же время, как описано выше, группа оборудования на стороне ГК содержит также операционное оборудование 62, выполненное с возможностью оперирования с горючей жидкостью, легковоспламеняющейся жидкостью и СПГ/СНГ, и, следовательно, в модуле 3а ГК согласно данному варианту реализации настоящего изобретения модули интегрированы друг с другом с учетом наличия операционного оборудования 62.

[71]

Далее описана детальная конфигурация модуля 3а ГК (здесь и далее иногда упоминаемого как «составной модуль 3а ГК»).

[72]

[0041] Как показано на фиг. 2 и фиг. 3, составной ГК модуль 3а содержит корпус 30, имеющий прямоугольную плоскую форму. Корпус 30 представляет собой стальную конструкцию, в которой необходимые части покрыты огнеупорным материалом, таким как бетон или синтетическая смола, и морозостойким материалом (также обладающим огнеупорными свойствами) для защиты от криогенной жидкости.

[73]

[0042] Группы 4 ТВО, каждая из которых содержит большое количество ТВО 41, расположены на верхней поверхности корпуса 30. В составном модуле За ГК согласно данному варианту реализации настоящего изобретения на верхней поверхности корпуса 30 предусмотрено множество рядов (для удобства изображения на фиг.2 приведен пример из трех рядов) ТВО 41 в направлении ширины корпуса 30, и каждый ряд содержит множество ТВО 41, расположенных в направлении спереди назад, что обеспечивает размещение зоны компоновки каждой из групп 4 ТВО. В составном модуле 3а ГК согласно данному варианту реализации настоящего изобретения на верхней поверхности корпуса 30 расположены две зоны компоновки групп 4 ТВО в направлении спереди назад с определенным пространством между ними.

[74]

В пространстве на нижней стороне зоны компоновки каждой из групп 4 ТВО находится трубчатый стеллаж, в котором уложено большое количество труб 42, таким же образом, как в модуле 3 с ТВО из известного уровня техники, изображенном на фиг.4.

[75]

[0043] Кроме того, как показано на фиг. 2 и фиг. 3, в составном модуле 3а ГК согласно данному варианту реализации настоящего изобретения каждый из корпусов 30 обеспечен так, что он проходит к передней стороне зоны компоновки группы 4 ТВО. Группа оборудования на стороне ГК расположена в выступающем корпусе 30 и в пространстве на нижней стороне группы 4 ТВО. Такое расположение отличается от расположения модуля 3а' ГК и модуля 3с ТВО в известном уровне техники.

[76]

[0044] Как описано выше, если пространство на нижней стороне группы 4 ТВО использовано в качестве пространства, в котором расположена группа оборудования стороны ГК, то объем составного модуля 3а ГК после интеграции, изображенного на фиг. 3, также может быть уменьшен по сравнению с общим объемом модуля 3а' ГК и модуля 3с ТВО, изображенного на фиг. 4.

[77]

[0045] На фиг. 2, с целью иллюстрации расположения оборудования на нижней стороне каждой из групп 4 ТВО простым для понимания образом, вырезана часть группы 4 ТВО, расположенная на верхней стороне указанного оборудования.

[78]

Кроме того, в следующем описании зона, в которой расположена группа 4 ТВО на верхней поверхности корпуса 30, также упомянута как «зона компоновки А1», а зона, в которой отсутствует размещение группы 4 ТВО на верхней поверхности корпуса 30, упомянута также как «зона отсутствия компоновки А2» (см. фиг. 3).

[79]

[0046] В качестве основного принципа проектирования составного модуля 3а ГК, из оборудования, образующего группу оборудования на стороне ГК, операционное оборудование 62 предпочтительно размещают в зоне отсутствия компоновки А2 (операционное оборудование 62b на фиг. 2 и фиг. 3).

[80]

Например, в модуле 3а' ГК, изображенном на фиг. 4, операционное оборудование 62b находится в положении, смежном с модулем 3с ТВО, и существует пространство, в котором может быть размещено операционное оборудование 62b на нижней стороне ТВО 41. В таком случае, когда модуль 3а' ГК и модуль 3 с ТВО интегрированы друг с другом, кажется естественным размещение операционного оборудования 62b на нижней стороне ТВО 41.

[81]

[0047] Однако операционное оборудование 62b выполнено с возможностью оперирования с горючей жидкостью, легковоспламеняющейся жидкостью и СПГ/СНГ. Поэтому рассмотрен вопрос о том, возможно или невозможно изменить планировку с приоритетом размещения операционного оборудования 62b в зоне отсутствия компоновки А2, которая менее подвержена воздействию ТВО 41 даже при возникновении утечки указанных жидкостей.

[82]

Таким образом, если существует возможность изменения местоположения операционного оборудования 62b, изображенного на фиг. 3, то планировку меняют, а неоперационное оборудование 61 по возможности размещают в зоне компоновки А1 (неоперационное оборудование 61а на фиг. 3).

[83]

[0048] Даже если учитывать, что операционное оборудование 62 предпочтительно размещать в зоне отсутствия компоновки А2, как описано выше, существует также ситуация, в которой операционное оборудование 62 неизбежно должно быть расположено в зоне компоновки А1 для удобства компоновочного пространства (операционное оборудование 62а на фиг. 2 и фиг. 3).

[84]

В таком случае ранний ответ и предотвращение распространения воздействия во время возникновения утечки осуществляют посредством обеспечения по меньшей мере одного средства обеспечения безопасности, выбранного из группы средство обеспечения безопасности, состоящей из датчика утечки газа, спринклера, огнеупорного покрытия и линии сброса давления, одновременно с операционным оборудованием 62а, расположенным в зоне компоновки А1.

[85]

[0049] В публикации Американского института нефти (API) 2218, которая является международным проектно-конструкторским стандартом по безопасности устройства сжижения ПГ и нефтегазового завода, например, нефтеперерабатывающего устройства, определен диапазон реализации огнеупорного покрытия в зоне компоновки А1 группы 4 ТВО.

[86]

В составном модуле 3а ГК согласно данному варианту реализации настоящего изобретения учтена планировка, в которой операционное оборудование 62 по возможности не может быть размещено в зоне компоновки А1, а затем установлено оптимальное устройство безопасности для операционного оборудования 62а, которое неизбежно должно быть установлено в зоне компоновки А1. Благодаря этому может быть получен составной модуль 3а ГК, в котором обеспечена достаточная безопасность при минимизации стоимости дополнительного огнеупорного проекта вместе со строительством модуля.

[87]

[0050] Кроме того, например, если место доставки СПГ находится на стороне зоны компоновки ГК при взгляде со стороны устройства сжижения ПГ, даже в том случае, если оборудование (например, концевая испарительная камера для регулирования температуры СПГ) выполнено с возможностью доставки СПГ и включено в группу оборудования на стороне ХК, то в некоторых случаях указанное оборудование неизбежно должно быть расположено в составном модуле 3а ГК.

[88]

В таком случае, на основании такого же подхода, как для операционного оборудования 62а и 62b в группе оборудования на стороне ГК, сначала рассмотрена планировка, в которой по возможности не допускается расположение операционного оборудования 72 в зоне компоновки А1, а затем предусмотрено вышеупомянутое средство обеспечения безопасности вместе с операционным оборудованием 72а, которое неизбежно должно быть расположено в зоне компоновки А1 (операционное оборудование 72b и 72а на фиг. 2).

[89]

[0051] На основании вышеупомянутого подхода, строят составной модуль 3а ГК, содержащий газожидкостный разделительный блок 11, блок 12 удаления ртути, блок 13 удаления кислого газа, блок 14 удаления влаги и ректификационный блок 151, которые являются технологическими блоками на стороне ГК, и множество составных модулей 3а ГК, каждый из которых содержит операционное оборудование 72 для доставки СПГ по мере необходимости. В таком случае технологические блоки 11, 12, 13, 14 и 151 могут быть разделены на множество составных модулей 3а ГК, или множество технологических блоков 11, 12, 13, 14 и 151 могут быть обеспечены в одном составном модуле 3а ГК.

[90]

Помимо этого, кроме составного модуля 3а ГК, строят модуль 3b ХК, в котором группа оборудования на стороне ХК расположена в корпусе 30 и который имеет такую же конфигурацию, как в известном уровне техники, а также компрессоры 21 хладагента, которые представляют собой компрессор MR и компрессор С3.

[91]

[0052] В примере устройства сжижения ПГ, изображенном на фиг. 2, множество составных модулей 3а ГК расположены в одном ряду в горизонтальном направлении в таком состоянии, в котором зоны компоновки А1 групп 4 ТВО ориентированы в том же направлении.

[92]

Множество модулей 3b ХК, каждый из которых содержит группу оборудования на стороне ХК, расположены бок обок в одном ряду на задней стороне ряда составных модулей 3а ГК с зоной, в которой зоны компоновки А1 групп 4 ТВО расположены бок о бок в горизонтальном направлении, вставленной между ними. Компрессоры 21 хладагента, которые представляют собой компрессор С3 и компрессор MR, расположены по левой и правой сторонам ряда модулей 3b ХК, вставленного между ними, и, таким образом, скомпоновано устройство сжижения ПГ согласно данному варианту реализации настоящего изобретения.

[93]

Составные модули 3а ГК, модули 3b ХК и компрессоры 21 хладагента соединены друг с другом соединительными трубопроводами или т.п., как описано выше, но указанные трубопроводы не показаны на фиг. 2.

[94]

[0053] Составной модуль 3а ГК согласно данному варианту реализации настоящего изобретения имеет следующий эффект. Среди групп оборудования, образующих устройство сжижения ПГ, группа оборудования на стороне ГК и группа 4 ТВО, в которой плотность заполнения оборудования (операционного оборудования 62), выполненного с возможностью оперирования с горючей жидкостью, легковоспламеняющейся жидкостью и СПГ/СНГ, является низкой, расположены в общем корпусе 30, образуя составной модуль 3а ГК. В результате может быть скомпонован составной модуль 3а ГК, имеющий более высокую степень интеграции, при минимизации дополнительных затрат на огнеупорное покрытие в соответствии с API2218, по сравнению с группой оборудования на стороне ХК для сжижения природного газа, в которой плотность заполнения операционного оборудования, выполненного с возможностью оперирования с вышеуказанными жидкостями, является высокой.

[95]

Таким образом, можно спроектировать составной модуль 3а ГК и модуль 3b ХК, предусматривающие меньшее количество технологических стадий на площадке монтажа модулей, и можно скомпоновать устройство сжижения ПГ с минимальными исходными инвестиционными затратами.

[96]

[0054] В таком случае конфигурация устройства сжижения ПГ не ограничена примером, изображенным на фиг. 1. При необходимости установка части технологических блоков на стороне ГК может быть опущена, и может быть обеспечен технологический блок другого назначения.

[97]

Список ссылочных позиций

[98]

[0055]

[99]

А1 зона компоновки

[100]

А2 зона отсутствия компоновки

[101]

11 газожидкостный разделительный блок

[102]

12 блок удаления ртути

[103]

13 блок удаления кислого газа

[104]

14 блок удаления влаги

[105]

15 технологический блок сжижения 151 ректификационный блок

[106]

3а составной модуль ГК (горячего конца)

[107]

3а' обычный модуль ГК (горячего конца)

[108]

3b модуль ХК (холодного конца)

[109]

30 корпус

[110]

4 группа ТВО

[111]

61,71 неоперационное оборудование

[112]

62, 72 операционное оборудование

Как компенсировать расходы
на инновационную разработку
Похожие патенты