патент
№ RU 2739793
МПК E05B39/02

ЭЛЕКТРОННАЯ НАВИГАЦИОННАЯ ПЛОМБА И СПОСОБ ЕЕ РАБОТЫ

Авторы:
Крылов Дмитрий Олегович Спиридонов Алексей Дмитриевич Кулинцев Антон Владимирович
Все (7)
Номер заявки
2020124881
Дата подачи заявки
27.07.2020
Опубликовано
28.12.2020
Страна
RU
Как управлять
интеллектуальной собственностью
Чертежи 
3
Реферат

Изобретение относится к системам запирания и пломбирования вагонов и контейнеров, в частности железнодорожных грузовых вагонов и контейнеров, подлежащих пломбированию в соответствии с правилами перевозок грузов железнодорожным транспортом, и может быть использовано для контроля и предотвращения несанкционированного доступа к перевозимому грузу. Электронная навигационная пломба (ЭНП) содержит корпус и многоразовый элемент пломбирования, причем корпус содержит блок запорного механизма, блок электродвигателя, выполненный с возможностью взаимодействия с блоком запорного механизма для приведения его в движение и фиксации многоразового элемента пломбирования в корпусе, плату и тампер, аккумуляторный блок, навигационный модуль и модуль средства криптографической защиты информации. Многоразовый элемент пломбирования выполнен в виде стального каната в ПВХ оплетке с изолированной токопроводящей жилой и наконечниками на концах, устанавливаемыми в корпус. Также заявлен способ работы ЭНП. Обеспечивается возможность обеспечения дистанционного контроля перемещения груза и повышение надежности его хранения. 2 н. и 5 з.п. ф-лы, 5 ил.

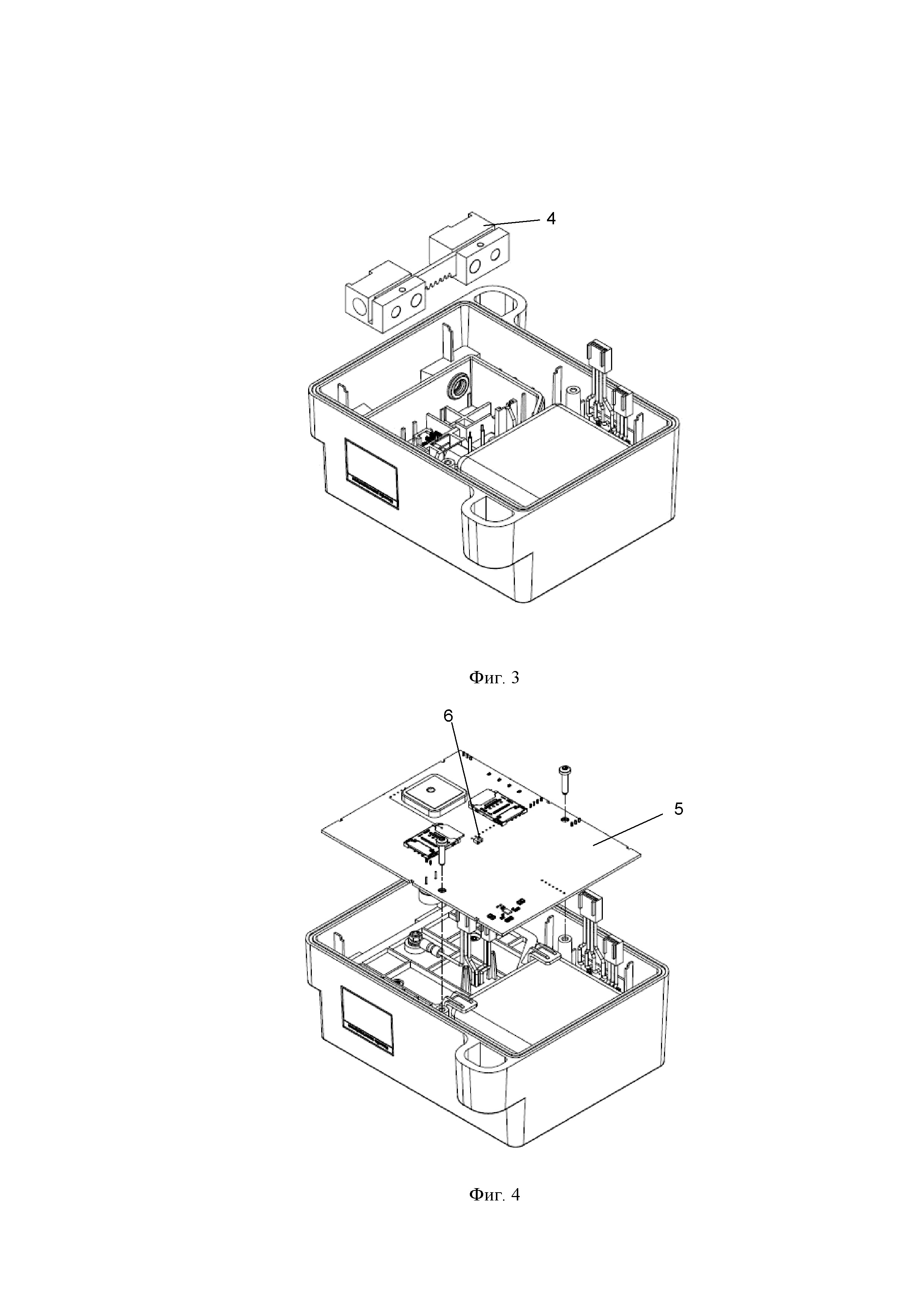
Формула изобретения

1. Электронная навигационная пломба, содержащая корпус и многоразовый элемент пломбирования, причем корпус содержит блок запорного механизма, блок электродвигателя, выполненный с возможностью взаимодействия с блоком запорного механизма для приведения его в движение и фиксации многоразового элемента пломбирования в корпусе, плату и тампер, аккумуляторный блок, навигационный модуль и модуль средства криптографической защиты информации, а

многоразовый элемент пломбирования выполнен в виде стального каната в ПВХ оплетке с изолированной токопроводящей жилой и наконечниками на концах, устанавливаемыми в корпус электронной навигационной пломбы.

2. Электронная навигационная пломба по п. 1, в которой многоразовый элемент пломбирования выполнен с возможностью введения обоих своих наконечников в отверстия в корпусе с образованием через контактные элементы и плату замкнутого электрического контура.

3. Электронная навигационная пломба по п. 1 или 2, в которой контроль целостности многоразового элемента пломбирования выполнен с возможностью измерения разности потенциалов между наконечниками многоразового элемента пломбирования.

4. Способ работы электронной навигационной пломбы по любому из пп. 1–3, при котором производят запирание груза посредством подачи питания на блок электродвигателя и приведения блока запорного механизма в состояние блокировки многоразового элемента пломбирования в корпусе, транспортировку груза с возможностью его отслеживания в режиме реального времени, обнаружение неисправностей и факта несанкционированного вскрытия, определение места обнаружения неисправностей и факта несанкционированного вскрытия и обеспечение защиты информации по перевозимому грузу.

5. Способ работы электронной навигационной пломбы по п. 4, при котором определение места обнаружения неисправностей обеспечивают навигационным модулем.

6. Способ работы электронной навигационной пломбы по п. 4, при котором обеспечение защиты информации по перевозимому грузу выполняют модулем средства криптографической защиты информации.

7. Способ работы электронной навигационной пломбы по п. 5, при котором посредством навигационного модуля измеряют текущие навигационные параметры по сигналам глобальных навигационных спутниковых систем ГЛОНАСС, GPS, BeiDou.

Описание

[1]

Изобретение относится к системам запирания и пломбирования вагонов и контейнеров, в частности, железнодорожных грузовых вагонов и контейнеров, подлежащих пломбированию в соответствии с правилами перевозок грузов железнодорожным транспортом, и может быть использовано для контроля и предотвращения несанкционированного доступа к перевозимому грузу.

[2]

Электронная навигационная пломба (далее – ЭНП) помимо своего основного назначения – блокировки доступа к перевозимому грузу, – предназначена для измерений текущих навигационных параметров (географических координат, скорости перемещения и пр.) по сигналам навигационных космических аппаратов глобальных навигационных спутниковых систем, таких как ГЛОНАСС, GPS и BeiDou, определения на их основе координат местоположения ЭНП, записи и хранения полученной информации в энергонезависимой памяти изделия, отправки на основе навигационных параметров информации о перемещении транспортных средств, контейнеров или вагонов, а также о сохранности (вскрытии) изделия в систему отслеживания перевозки товаров (далее – СОПТ).

[3]

Известна система автоматизированного учета грузовых перевозок и online мониторинга сохранности грузов (патент РФ RU2672172, опубл. 12.11.2018, МПК G08B25/08), которая содержит в своем составе блок приема-передачи данных, навигации обработки и отображения оперативной информации, связанный по нескольким различным каналам связи с центральным диспетчерским пунктом транспортной компании, содержащий двухсистемный навигационный приемник ГЛОНАСС/GPS, таймер реального времени, модем цифрового стандарта GSM с поддержкой протокола передачи данных GPRS, модем спутниковой системы связи, блок радиосвязи УКВ диапазона, логический блок, многопортовый преобразователь интерфейсов, приемный модуль системы LPWAN, набор пломб, содержащих в своем составе LPWAN-модемы. В случае нарушения целостности пломб соответствующая информация отображается на информационном табло блока приема-передачи данных, навигации обработки и отображения оперативной информации, срабатывает зуммер, и соответствующий сигнал посредством средств связи передается на центральный диспетчерский пункт транспортной компании, что позволяет принять меры к сохранности груза непосредственно на этапе попытки несанкционированного вскрытия. Технический результат заключается в повышении качества и надежности контроля перевозок грузов, а также повышении информативности и достоверности информации о грузе в процессе его транспортировки. Однако электронные пломбы, используемые в данной системе, значительно отличаются от заявленного изобретения по конструкции исполнения.

[4]

Известно электронное пломбировочное устройство многоразового действия (ЭПУ МД) (патент РФ RU2596474, опубл. 10.09.2016, МПК Е05В39/02), которое представляет собой устройство, содержащее в своем составе корпус, средства хранения пломбировочной информации и обмена данными с переносным и/или стационарным считывающим устройством с одним источником модулированного оптического излучения, одним приемником оптического излучения, которые последовательно замыкаются одноразовым силовым оптико-электронным крепежом (ОСОЭК), геркон, устанавливаемый в непосредственной близости от антенны радиочастотной идентификации, источник электрического питания во взрывобезопасном исполнении, микросхему асимметричного шифрования, запоминающее устройство, совмещенное со средством хранения пломбировочной информации, микропроцессор, датчик измерения ускорений по трем осям, датчик измерения внутренней температуры со встроенным термостатом, вибрационный сигнализатор, световой сигнализатор, канал подвижной сотовой связи, приемник радионавигационных сигналов систем ГЛОНАСС/GPS с антенным блоком. ЭПУ МД является пломбировочным устройством многоразового действия, для чего в нем вместо многослойного троса, содержащего электропроводящий материал, применен одноразовый силовой оптико-электронный крепеж. Основным отличием известного устройства от заявленного изобретения является достаточно сложный механизм обеспечения многократного использования ЭПУ МД.

[5]

Также известно электронное пломбировочное устройство (патент РФ RU193760, опубл. 13.11.2019, МПК Е05В39/02), которое представляет собой устройство, конструкция которого характеризуется повышенной живучестью, повышенным удобством эксплуатации и возможностью активации «спящего» устройства в условиях сильных электромагнитных помех. Конструкция электронного пломбировочного устройства включает в себя устройство контроля состояния тросовой петли, устройство управления на базе микропроцессора, энергонезависимое запоминающее устройство, устройство мобильной сотовой связи стандарта GSM с антенной, устройство спутникового канала связи GPS/ГЛОНАСС с антенной, устройство канала ближней связи NFC с антенной и аккумулятор. Также помимо вышеописанных элементов в электронное пломбировочное устройство входят оптический датчик вскрытия корпуса, устройство криптографической защиты информации, датчик Холла, контроллер беспроводного заряда аккумулятора, катушка индуктивности устройства контроля состояния тросовой петли и др. Основным отличием является конструктивное исполнение внутренних элементов устройства, при этом сам способ работы электронного пломбировочного устройства не описан в патенте.

[6]

Ближайшим аналогом настоящего изобретения является электронное пломбировочное устройство многоразового действия (патент РФ RU2647820, опубл. 19.03.2018, МПК Е05В39/02), содержащее корпус в пыле- и влагозащищенном исполнении, источник электрического питания, микропроцессорный блок, соединенный с блоками контроля целостности троса, блоком хранения пломбировочной информации, запоминающим устройством, микросхемой асимметричного шифрования, датчиком измерения ускорений по трем осям, датчиком измерения внутренней температуры, блоком формирования каналов связи с датчиками, приемником радионавигационных сигналов систем ГЛОНАСС/GPS с антенным блоком, световым сигнализатором, два геркона, магнитный крепеж. Устройство также содержит две сигнальные обмотки по одной на каждом из магнитов магнитного крепежа, два силовых ключа сигнальных обмоток, два генератора набора частот, два детектора сигнальных обмоток, блок измерения магнитных свойств материала в месте крепления устройства, геркон контроля магнитного крепления устройства, три блока сглаживания дребезга контактов, приемопередатчик канала связи системы «Гонец» с антенным блоком, приемопередатчик канала связи системы «Иридиум» с антенным блоком, анализатор уровней сигналов, идентификатор отпечатка пальца оператора, кнопку считывания отпечатка пальца оператора, задатчик минимально допустимого значения напряжения источника электрического питания устройства, блок сравнения напряжения питания, группу удаленных датчиков качества транспортирования грузов в составе датчиков задымления и влажности транспортируемого груза, датчика удара, воздействующего на транспортируемый груз, веса и объема транспортируемого груза, блоки формирования каналов связи и источники питания датчиков задымления, влажности, удара, веса и объема транспортируемого груза, анализатор уровней сигналов. В случае несанкционированного нарушения целостности пломбировочного троса на охраняемом объекте блоки контроля целостности троса формируют сигнал тревоги на микропроцессорный блок, который записывается в запоминающее устройство и к которому добавляется сигнал от приемника радионавигационных сигналов систем ГЛОНАСС/GPS. В результате формируется сигнал тревоги о нарушениях целостности пломбировочного троса на охраняемом объекте с указанием географических навигационных координат, который передается в центр мониторинга качества и процесса транспортировки груза.

[7]

Известное устройство обеспечивает повышение качества транспортировки груза посредством мониторинга параметров его транспортировки и своевременной передачей информации о задымлении, влажности, подверженности ударам, изменении веса и объема транспортируемого груза, автоматического выбора наилучшего в данный момент канала спутниковой связи с центром мониторинга качества и процесса транспортировки груза, а также сохранности груза посредством измерения и хранения в памяти устройства магнитных свойств материала в месте крепления устройства в процессе всего периода транспортирования и повышения стойкости к криминальным воздействиям путем проверки прав доступа операторов к пломбированию и снятию многоразовой пломбы.

[8]

При этом известное устройство предназначено для установки преимущественно на защищаемые объекты, выполненные из металла, что обусловлено использованием магнитных креплений. Основным отличием является наличие магнитных креплений известного устройства, которые обеспечивают многократность его использования.

[9]

Задачей настоящего изобретения является разработка ЭНП, а также способа ее работы, которые обеспечивали бы защиту грузов от несанкционированного вскрытия, хранение записанных данных (таких как серийный номер ЭНП, номер вагона, место и время опломбирования, пункты отправления и назначения вагона или контейнера, данные о сотруднике, осуществившим навешивание пломбы и т.д.), а также возможность быстрого и точного определения местонахождения груза.

[10]

Техническим результатом является возможность обеспечения дистанционного контроля перемещения груза и повышение надежности его хранения, а также расширение арсенала уже имеющихся электронных навигационных пломбирующих устройств.

[11]

Поставленная задача решается, а заявленный технический результат достигается тем, что электронная навигационная пломба содержит корпус и многоразовый элемент пломбирования, причем корпус содержит блок запорного механизма, блок электродвигателя, выполненный с возможностью взаимодействия с блоком запорного механизма для приведения его в движение и фиксации многоразового элемента пломбирования в корпусе, плату и тампер, аккумуляторный блок, навигационный модуль и модуль средства криптографической защиты информации (далее – СКЗИ).

[12]

Многоразовый элемент пломбирования выполнен в виде стального каната в ПВХ оплетке с изолированной токопроводящей жилой и наконечниками на концах, устанавливаемыми в корпус.

[13]

Решение поставленной задачи и достижение заявленного технического результата также возможны в частных вариантах исполнения заявленной ЭНП.

[14]

Так, в рабочем положении многоразовый элемент пломбирования (трос) обоими своими наконечниками установлен в отверстия в корпусе и через контактные элементы и плату образует замкнутый электрический контур. При этом осуществляется контроль целостности многоразового элемента пломбирования посредством измерения разности потенциалов между его наконечниками.

[15]

Еще одним объектом настоящего изобретения, решающим поставленную задачу и позволяющим достичь заявленный технический результат, является способ работы электронной навигационной пломбы, при котором производят запирание груза посредством подачи питания на блок электродвигателя и приведения блока запорного механизма в состояние блокировки многоразового элемента пломбирования в корпусе, транспортировку груза с возможностью его отслеживания в режиме реального времени, обнаружение неисправностей и факта несанкционированного вскрытия с определением места и времени событий, и обеспечение защиты данных при их передаче посредством криптографических преобразований.

[16]

Решение поставленной задачи и достижение заявленного технического результата также возможны в частных вариантах реализации заявленного способа работы ЭНП.

[17]

Так, например, способ работы электронной навигационной пломбы может обеспечивать определение места обнаружения неисправностей с помощью навигационного модуля. Навигационный модуль с внутренней антенной выполнен с возможностью измерения текущих навигационных параметров по сигналам глобальных навигационных спутниковых систем ГЛОНАСС, GPS, BeiDou. Обеспечение защиты данных при их передаче выполняет модуль СКЗИ посредством криптографических преобразований.

[18]

Далее изобретение, а также некоторые возможные варианты его осуществления более подробно поясняются со ссылками на фигуры, где:

[19]

на фиг.1 приведен общий вид ЭНП;

[20]

на фиг. 2 показан сборочный чертеж ЭНП с электродвигателем;

[21]

на фиг. 3 показан сборочный чертеж ЭНП с элементом запорного механизма;

[22]

на фиг. 4 показан сборочный чертеж ЭНП с платой;

[23]

на фиг. 5 схематично показан способ работы ЭНП.

[24]

Заявленная ЭНП содержит корпус 1, который может быть выполнен из высокопрочного поликарбоната, обеспечивающего ударостойкость и влагостойкость. На крышке корпуса 1 размещается один или несколько, предпочтительно не менее четырех, светодиодных индикаторов, отображающих текущее состояние и режим работы ЭНП.

[25]

Также на корпусе ЭНП могут иметься крепежные проушины и магнит для его фиксации на защищаемом объекте.

[26]

Многоразовый элемент 2 пломбирования выполнен в виде стального каната в ПВХ оплетке с изолированной токопроводящей жилой и наконечниками на концах, устанавливаемыми в корпус 1. ПВХ оплетка многоразового элемента 2 пломбирования защищает металлическую основу от действий агрессивных сред и других разрушающих факторов.

[27]

Блок 3 электродвигателя, показанный вынесенным на фиг. 2, кинематически связан с блоком 4 запорного механизма (фиг. 3) и обеспечивает перемещение рейки запорного механизма для блокирования наконечников многоразового элемента 2 пломбирования, установленных в корпус 1. Блок 4 запорного механизма обеспечивает надежное блокирование многоразового элемента 2 пломбирования в корпусе 1, а также исключает возможность механического взлома ЭНП с сохранением целостности корпуса 1. Использование блока 3 электродвигателя совместно с блоком 4 запорного механизма с перемещаемой рейкой позволяет обеспечить более надежную защиту заявленного ЭНП по сравнению с известными ЭНП. При этом поскольку питание на блок 3 электродвигателя подается только в моменты блокирования и разблокирования многоразового элемента 2 пломбирования, энергопотребление такой ЭНП является низким. Как следствие, заявленная ЭНП в состоянии обеспечить более длительную и надежную защиту охраняемого объекта, чем другие известные ЭНП.

[28]

На плате 5 располагаются основные модули ЭНП, а именно:

[29]

навигационный модуль, обеспечивающий определение навигационных параметров в системах координат ПЗ-90.11 и WGS-84 с возможностью преобразования полученных значений из одной системы координат в другую. ЭНП с помощью навигационного модуля формирует информацию о текущих координатах и векторе направления движения ЭНП, а, следовательно, и груза путем приема и обработки сигналов спутниковых навигационных систем ГЛОНАСС/GPS/BeiDou по факту события и/или времени, например, в момент изменения режима или состояния ЭНП и периодически с интервалом времени, значение которого задается командой от СОПТ;

[30]

модуль СКЗИ, обеспечивающий защиту данных посредством криптографических преобразований.

[31]

Для контроля целостности корпуса 1 используется датчик контроля целостности корпуса (тампер 6), установленный на плате 5 (см. фиг. 4). Тампер 6 имеет подвижный элемент, выполненный в виде флажка, и в зависимости от его положения находится в состоянии «замкнуто», когда флажок прижат крышкой и целостность корпуса 1 не нарушена, или в состоянии «разомкнуто», когда целостность корпуса 1 нарушена и флажок не прижат крышкой. Контроль целостности многоразового элемента 2 пломбирования осуществляется посредством измерения разности потенциалов между его наконечниками. В случае нарушения целостности корпуса 1 или целостности многоразового элемента пломбирования ЭНП незамедлительно передает в СОПТ сигнал о вскрытии с указанием места и времени несанкционированного воздействия на ЭНП и ее текущее местоположение. В корпусе 1 ЭНП расположен аккумуляторный блок большой емкости, например, литий-ионный аккумулятор, который позволяет держать заряд достаточно длительное время, в частности, не менее 45 суток. Данный источник питания обеспечивает работоспособность устройства в круглосуточном режиме в температурном диапазоне от -40°C до +70°C.

[32]

Далее приводится пример способа работы одного из возможных вариантов исполнения заявленного устройства ЭНП (фиг. 5).

[33]

Способ работы ЭНП заключается в запирании груза посредством подачи питания на блок электродвигателя и приведения блока запорного механизма в состояние блокировки многоразового элемента пломбирования в корпусе, транспортировке груза с возможностью его отслеживания в режиме реального времени, обнаружении факта несанкционированного вскрытия, определении места обнаружения неисправностей и обеспечении защиты информации по перевозимому грузу. Определение места обнаружения неполадок обеспечивается навигационным модулем, а обеспечение защиты информации по перевозимому грузу выполняется модулем СКЗИ. При этом навигационный модуль с внутренней антенной выполнен с возможностью измерения текущих навигационных параметров по сигналам глобальных навигационных спутниковых систем ГЛОНАСС, GPS, BeiDou и обеспечивает определение навигационных параметров в системах координат ПЗ-90.11 и WGS-84 с возможностью преобразования полученных значений из одной системы координат в другую.

[34]

ЭНП имеет три режима функционирования: «Хранение», «Под охраной», «Вскрытие корпуса».

[35]

Режим «Хранение» используется для транспортирования и хранения ЭНП. Многоразовый элемент 2 пломбирования не зафиксирован в блоке 4 запорного механизма (ЭНП не наложена). Выполняется только мониторинг целостности корпуса 1. Никакие другие функции не выполняются.

[36]

В режиме «Под охраной» многоразовый элемент 2 пломбирования зафиксирован в блоке 4 запорного механизма (ЭНП наложена), ЭНП выполняет все функции. В случае нарушения целостности многоразового элемента пломбирования ЭНП незамедлительно передает в СОПТ сигнал о вскрытии с указанием места и времени несанкционированного воздействия на ЭНП и ее текущее местоположение. При обнаружении неисправностей во время проведения процедуры самодиагностики ЭНП инициирует сеанс связи с СОПТ и передает данные. Функции ЭНП выполняются в максимально возможном объеме в соответствии с состоянием ЭНП.

[37]

В случае нарушения целостности корпуса ЭНП переходит в режим «Вскрытие корпуса». Происходит выполнение следующих действий: запись информации о факте несанкционированного вскрытия; формирование сигнала «Тревога» с кодом события; шифрование сформированного пакета; удаление криптографических ключей; передача сформированного и зашифрованного сигнала «Тревога» по сети подвижной радиотелефонной связи стандарта GSM-900/GSM-1800/UMTS.

[38]

Описанные режимы являются примерными и подлежат корректировке в процессе формирования ЭНП и способа ее работы. Однако специалисту данной области техники будет понятно, что они в достаточной степени раскрывают основной смысл задуманного способа работы ЭНП.

[39]

ЭНП формирует информацию о текущих координатах и векторе направления движения груза путем приема и обработки сигналов спутниковых навигационных систем ГЛОНАСС/GPS/BeiDou по факту события и/или времени. В случае нарушения целостности корпуса 1 или целостности многоразового элемента 2 пломбирования ЭНП незамедлительно передает в СОПТ сигнал о вскрытии с указанием места и времени несанкционированного воздействия на ЭНП и ее текущее местоположение.

[40]

Таким образом, настоящее изобретение повышает надежность контроля и обеспечивает новые функциональные возможности при запирании железнодорожных грузовых контейнеров и вагонов и иных объектов, подлежащих запиранию и контролю, а также возможность мониторинга сохранности грузов в режиме реального времени и определения состоявшегося факта вскрытия ЭНП.

Как компенсировать расходы
на инновационную разработку
Похожие патенты